Skip Headers
Oracle® Application Server Upgrade and Compatibility Guide
10g Release 2 (10.1.2) for UNIX
Part No. B14090-04
  Go To Documentation Library
Home
Go To Table Of Contents
Contents
Go To Index
Index

Previous
Previous
Next
Next
 

1 Things You Should Know Before Upgrading

This chapter describes basic concepts you should understand before you upgrade from Oracle Application Server Release 2 (9.0.2), Release 2 (9.0.3), or 10g (9.0.4) to Oracle Application Server 10g Release 2 (10.1.2).

This chapter contains the following sections:

1.1 Reviewing Your Current Oracle Application Server Installations

The following sections provide some guidelines for analyzing your current Oracle Application Server configurations so you can select the best possible upgrade process:

1.1.1 Identifying the Oracle Homes to Upgrade

Oracle Application Server is made up of:

  • Oracle Application Server middle-tier installations

  • Oracle Application Server Metadata Repository installations

  • Oracle Application Server Identity Management installations

You deploy and run your applications on Oracle Application Server middle tiers. The OracleAS Metadata Repository and OracleAS Identity Management installations provide the infrastructure services that are used by the middle tiers. Infrastructure services can be shared by one or more middle tiers.

In most cases, your Oracle Application Server environment consists of multiple middle-tier installations and one or more OracleAS Metadata Repository installations and one OracleAS Identity Management installation. The middle-tier, OracleAS Metadata Repository, and OracleAS Identity Management installations exist in multiple Oracle homes and across multiple hosts.

As a result, when you upgrade to a new version of Oracle Application Server, you must upgrade multiple Oracle homes, including the middle-tier Oracle homes, as well as any Infrastructure Oracle homes you have installed.

1.1.2 Reviewing Your Current OracleAS Infrastructure Configuration

Most importantly, the process you use to upgrade your Oracle Application Server installations varies depending on how you installed and configured your OracleAS Infrastructure services. Specifically, the OracleAS Metadata Repository and OracleAS Identity Management can be in a single Oracle home or in separate Oracle homes.

For the purposes of upgrade, the following list describes the typical OracleAS Infrastructure configurations:

  • Figure 1-1 illustrates a configuration where the OracleAS Metadata Repository and OracleAS Identity Management are in the same Oracle home.

    This configuration is the result of selecting the Identity Management and OracleAS Metadata Repository installation type during the Oracle Application Server installation procedure. This configuration was the only OracleAS Infrastructure installation type available for Release 2 (9.0.2) and one of three OracleAS Infrastructure installation types available in Oracle Application Server 10g (9.0.4).

    This configuration is referred to as a colocated Infrastructure because both the OracleAS Metadata Repository and OracleAS Identity Management are located in the same Oracle home.

  • Figure 1-2 illustrates a configuration where the OracleAS Metadata Repository and OracleAS Identity Management are installed in separate Oracle homes.

    This configuration is the direct result of installing the OracleAS Metadata Repository installation type in one Oracle home and OracleAS Identity Management in a different Oracle home. This configuration was added as an option to the Oracle Application Server 10g (9.0.4) installation procedure.

    This configuration is referred to as a non-colocated Infrastructure because the OracleAS Metadata Repository and the OracleAS Identity Management are not in the same Oracle home.

Figure 1-1 Colocated Infrastructure - OracleAS Metadata Repository and OracleAS Identity Management in the Same Oracle Home -

Description of Figure 1-1  follows
Description of "Figure 1-1 Colocated Infrastructure - OracleAS Metadata Repository and OracleAS Identity Management in the Same Oracle Home - "

Figure 1-2 Non-Colocated Infrastructure - OracleAS Metadata Repository and OracleAS Identity Management in Separate Oracle Homes

Description of Figure 1-2  follows
Description of "Figure 1-2 Non-Colocated Infrastructure - OracleAS Metadata Repository and OracleAS Identity Management in Separate Oracle Homes"

1.1.3 Determining Whether Your Database is a Seed Database or OracleAS Metadata Repository Creation Assistant Database

As you begin the upgrade process, it is important to know how your OracleAS Metadata Repository was installed into your database. Specifically, consider the following to determine the type of OracleAS Metadata Repository database you will be upgrading. Each type of OracleAS Metadata Repository database is upgraded differently:

  • If you used the Oracle Application Server installation procedure to create a new database for the OracleAS Metadata Repository, you can use Oracle Universal Installer to install Oracle Application Server 10g Release 2 (10.1.2) and upgrade the database automatically.

    This type of OracleAS Metadata Repository database is referred to as a seed database, because the database was created automatically by the Oracle Application Server installation procedure specifically for hosting the OracleAS Metadata Repository.

  • If you used OracleAS Metadata Repository Creation Assistant to install the OracleAS Metadata Repository in an existing database, you must upgrade the database yourself.

    This type of OracleAS Metadata Repository database is referred to as an OracleAS Metadata Repository Creation Assistant database, because you used OracleAS Metadata Repository Creation Assistant to install the repository in an existing database that you installed and configured yourself.


Note:

This document also describes how to upgrade schemas that are outside of the OracleAS Metadata Repository. These are referred to as schemas in a customer database. For more information, see Section 8.5, "Upgrading Schemas in a Customer Database".

1.2 Summary of the New Oracle Application Server 10g Release 2 (10.1.2) Releases

The following sections briefly describe the new Oracle Application Server 10g Release 2 (10.1.2) releases. Use this information to help you select the release that best meets the needs of your application server environment:

1.2.1 Oracle Application Server 10g Release 2 (10.1.2.0.0)

Oracle Application Server 10g Release 2 (10.1.2.0.0) was the initial release of Oracle Application Server 10g Release 2 (10.1.2). It was distributed to customers in late December, 2004 and provided customers with their first opportunity to install and deploy the new 10g Release 2 (10.1.2) features.

Oracle Application Server 10g Release 2 (10.1.2.0.0) did not include OracleAS Reports Services or OracleAS Forms Services. As a result, there was no upgrade path for the Release 2 (9.0.2) or 10g (9.0.4) OracleAS Reports Services or OracleAS Forms Services components.

1.2.2 Oracle Application Server 10g Release 2 (10.1.2.0.2)

Oracle Application Server 10g Release 2 (10.1.2.0.2) is the follow-on release to 10g Release 2 (10.1.2.0.0). It includes all the features and installation types available in 10g Release 2 (10.1.2.0.0), but also includes OracleAS Reports Services, OracleAS Forms Services, and OracleAS Personalization.

If you are using Release 2 (9.0.2) or 10g (9.0.4) OracleAS Reports Services or OracleAS Forms Services you can upgrade your installations to this release.

Oracle Application Server 10g Release 2 (10.1.2.0.2) provides no new functionality for the components delivered with 10g Release 2 (10.1.2.0.0). As a result, there is no upgrade path from 10g Release 2 (10.1.2.0.0) to 10g Release 2 (10.1.2.0.2).

Note, however, that 10g Release 2 (10.1.2.0.2) does include bug fixes and updates to those components. If you installed 10g Release 2 (10.1.2.0.0), you can obtain those same bug fixes and updates from announced 10g Release 2 (10.1.2.x) patchsets, when they are available from OracleMetaLink.

1.2.3 Oracle Application Server 10g Release 2 (10.1.2.0.1) Standard Edition One

Oracle Application Server Standard Edition One is designed for first-time Oracle Application Server customers who want to take advantage of the features and capabilities of Oracle Application Server in a small-to-medium sized business environment.

The simplified installation procedure provides all the components you need, including an OracleAS Infrastructure, on one host.

Because Standard Edition One is designed for first-time Oracle Application Server customers, there is no upgrade path to Standard Edition One.

In addition, Standard Edition One includes the new Oracle Instant Portal, which provides instant portals for secure publishing and content sharing, right out of the box.

1.2.4 Oracle Application Server 10g Release 2 (10.1.2.x) Patchsets

If you have installed Oracle Application Server 10g Release 2 (10.1.2.0.0) or Oracle Application Server Standard Edition One, monitor OracleMetaLink for patchsets that provide the latest bug fixes and updates.

Patches to the Oracle Application Server releases are available from OracleMetaLink:

http://metalink.oracle.com/

1.2.5 Summary of the Components Available with Each 10g Release 2 (10.1.2) Release

Table 1-1 identifies the components available with each of the Oracle Application Server 10g Release 2 (10.1.2) releases.

Note that the 10g Release 2 (10.1.2.x) patchset is not included in the table because no additional components are added to the Oracle home when you apply the patch. The patchset is applied only to components that are already installed in the Oracle home.

Table 1-1 Components Available in Each Oracle Application Server 10g Release 2 (10.1.2) Release


10.1.2.0.0 10.1.2.0.2 Standard Edition One

Oracle HTTP Server


Yes

Yes

Yes

Oracle Application Server Containers for J2EE


Yes

Yes

Yes

OracleAS Web Cache


Yes

Yes

Yes

OracleAS Portal


Yes

Yes

Yes

Oracle Instant Portal

No

Yes

Yes

OracleAS Wireless


Yes

Yes

No

OracleAS Forms Services


No

Yes

No

OracleAS Reports Services


No

Yes

No

OracleBI Discoverer


No

Yes

No

Oracle Workflow


Yes

Yes

No

OracleAS Personalization


No

Yes

No

OracleAS Integration B2B


Yes

Yes

No

Oracle BPEL Process Analytics


No

Yes

No

Oracle BPEL Process Manager


No

Yes

No


1.3 Introduction to the Upgrade Tools

Oracle Application Server 10g Release 2 (10.1.2) provides several tools to help you upgrade your Oracle Application Server installations to the latest version. Each tool has a specialized role in upgrading a component or in accomplishing a key step in the upgrade process.

Table 1-2 introduces the Upgrade tools you will use to upgrade your Oracle Application Server installations.

Table 1-2 Summary of the Oracle Application Server Upgrade Tools

Upgrade Tool Description

OracleAS Upgrade Assistant

Use the OracleAS Upgrade Assistant to upgrade your middle tier installations.

The OracleAS Upgrade Assistant is installed with every middle tier installation. After you install a new middle tier Oracle home, you can use the OracleAS Upgrade Assistant in the new Oracle home to upgrade your data and configuration files from the original, source Oracle home.

Oracle Universal Installer

Oracle Universal Installer is the application you use to install Oracle Application Server, as well as most other Oracle software products.

When you install an Oracle Application Server 10g Release 2 (10.1.2) Infrastructure component, the installation procedure checks to see if you have installed a previous version of the OracleAS Infrastructure. If a previous version is found, Oracle Universal Installer prompts you to upgrade the OracleAS Infrastructure installation

Metadata Repository Upgrade Assistant (MRUA)

MRUA is the tool you use to upgrade the Oracle Application Server component schemas in the OracleAS Metadata Repository, except the OracleAS Identity Management schemas.

MRUA is distributed on the separate OracleAS Metadata Repository Upgrade Assistant and Utilities CD–ROM, which is part of the Oracle Application Server 10g Release 2 (10.1.2) CD Pack. You run MRUA directly from the OracleAS Metadata Repository Upgrade Assistant and Utilities CD–ROM.

Oracle Application Server Backup and Recovery Tool or other backup utilities

For middle tiers and seed databases, you can use the Oracle Application Server Backup and Recovery Tool to perform backups. The Backup and Recovery Tool is described in the Oracle Application Server Administrator's Guide.

For OracleAS Metadata Repository Creation Assistant databases, see the Oracle Database documentation for the platform and version of the database that hosts your OracleAS Metadata Repository.

For example, if you are using a Oracle9i (9.0.1.3) database, see Oracle9i Backup and Recovery Concepts in the Oracle9i Documentation Library, which is available on the Oracle Technology Network (OTN):

http://www.oracle.com/technology/documentation/

1.4 Upgrade Rules to Follow

The following sections describe the basic rules you must follow as you determine a plan for upgrading each of your Oracle Application Server components:

1.4.1 You Cannot Upgrade or Expand from Oracle Application Server 10g Release 2 (10.1.2.0.0) to 10g Release 2 (10.1.2.0.2)

If you have already installed or upgraded to Oracle Application Server 10g Release 2 (10.1.2.0.0), you cannot upgrade your 10g Release 2 (10.1.2.0.0) Oracle homes to 10g Release 2 (10.1.2.0.2).


See Also:

Section 1.2, "Summary of the New Oracle Application Server 10g Release 2 (10.1.2) Releases" for a complete roadmap to the Oracle Application Server 10g Release 2 (10.1.2) releases

Similarly, you cannot expand a 10g Release 2 (10.1.2.0.0) Oracle home to a larger 10g Release 2 (10.1.2.0.2) Oracle home. For example, if you installed a 10g Release 2 (10.1.2.0.0) Portal and Wireless Oracle home, you cannot expand that Oracle home to 10g Release 2 (10.1.2.0.2) Business Intelligence and Forms.

Note, however, that while you cannot upgrade or expand your existing 10g Release 2 (10.1.2.0.0) installations to 10g Release 2 (10.1.2.0.2), you can install 10g Release 2 (10.1.2.0.2) middle tiers against an existing 10g Release 2 (10.1.2.0.0) Infrastructure. For more information, see Chapter 2, "Understanding Version Compatibility".

1.4.2 Upgrade All Components to the Same Version

Your ultimate goal should be to upgrade all of your Oracle Application Server installations to the same version—in this case, Oracle Application Server 10g Release 2 (10.1.2). Running all your Oracle Application Server instances at the same version level is not mandatory; however, doing so will make it easier to manage, troubleshoot, and maintain your J2EE applications and your Oracle Application Server components.

If you choose to maintain previous versions of the Oracle Application Server, you must consider which combinations of versions are supported.

1.4.3 Middle Tiers Must Be Upgraded Before the OracleAS Metadata Repository

As you begin the process of upgrading your Oracle Application Server environment to 10g Release 2 (10.1.2), you must upgrade your application server instances in the proper order. Specifically, you must start by upgrading your middle tier installations or, if you are using 10g (9.0.4), you can start by upgrading your OracleAS Identity Management installation. However, you cannot upgrade the OracleAS Metadata Repository until the middle tiers that depend upon the repository have been upgraded first.

If you upgrade your OracleAS Metadata Repository first, you will not be able to use your middle tier installations, which depend upon a compatible OracleAS Metadata Repository. In other words, your OracleAS Metadata Repository cannot be a higher version then your middle tier installations.

1.5 Typical Upgrade Scenarios

The following sections describe the Upgrade process for three typical middle tier and OracleAS Infrastructure configurations:

1.5.1 Upgrading a Standalone Middle Tier

Table 1-3 provides an overview of the tools and procedures you use to upgrade a J2EE and Web Cache installation that is not using any OracleAS Infrastructure services.

Table 1-3 Tools and Process for Upgrading a Standalone J2EE and Web Cache Oracle Home

Task Task Description Upgrade Tool

1

Back up the middle tier Oracle home before beginning the upgrade procedures.

Oracle Application Server Backup and Recovery Tool or other backup utilities

For more information, see Section 3.1, "Backup Strategies Before Upgrade".

2

Install a new Oracle Application Server 10g Release 2 (10.1.2) J2EE and Web Cache installation in a new Oracle home on the same host, using the same user account that was used to install the source Oracle home.

Oracle Universal Installer


3

Upgrade configuration data and applications from the Release 2 (9.0.2), Release 2 (9.0.3), or 10g (9.0.4) source Oracle home to the 10g Release 2 (10.1.2) destination Oracle home.

OracleAS Upgrade Assistant


4

Optionally, decommission and deinstall the source Oracle home.

Oracle Universal Installer



1.5.2 Upgrading Multiple Middle Tiers and a Colocated Infrastructure

This section describes the high-level steps required to upgrade multiple middle tier Oracle homes that use a single Oracle home for the OracleAS Metadata Repository and OracleAS Identity Management.

You can start the upgrade process by upgrading the middle tiers first, or, if you are upgrading from 10g (9.0.4), you can start by upgrading OracleAS Identity Management first.

For more information, see the following sections:

1.5.2.1 Starting with the Middle Tiers and a Colocated Infrastructure

Table 1-4 provides an overview of the steps you must perform when upgrading your middle tiers and then your OracleAS Metadata Repository and OracleAS Identity Management.

Table 1-4 Tools and Process for Upgrading a Colocated Infrastructure - Middle Tiers First

Step Step Description Upgrade Tools

1

Back up the middle tier Oracle homes and the colocated Infrastructure Oracle home.

Oracle Application Server Backup and Recovery Tool or other backup utilities

For more information, see Section 3.1, "Backup Strategies Before Upgrade".

2

Upgrade Middle Tiers

See Section 1.5.1, "Upgrading a Standalone Middle Tier" for an overview of the middle-tier upgrade steps and tools.

3

Upgrade the OracleAS Metadata Repository database and upgrade the OracleAS Identity Management schemas

Oracle Universal Installer

After selecting the installation type, select the option to upgrade the selected OracleAS Metadata Repository and OracleAS Identity Management Oracle home.

4

Upgrade the OracleAS Metadata Repository Component Schemas

Metadata Repository Upgrade Assistant


5

Optionally, decommission and deinstall source Oracle homes

Oracle Universal Installer



1.5.2.2 Starting with 10g (9.0.4) OracleAS Identity Management in a Colocated Infrastructure

Table 1-5 provides an overview of the steps you must perform when upgrading your OracleAS Identity Management, and then the middle tiers and the OracleAS Metadata Repository.

Note that this procedure of starting with OracleAS Identity Management is supported only when you are upgrading from 10g (9.0.4).

Table 1-5 Tools and Process for Upgrading a Colocated Infrastructure - OracleAS Identity Management First

Step Step Description Upgrade Tools

1

Back up the middle tier Oracle homes and the colocated Infrastructure Oracle home.

Oracle Application Server Backup and Recovery Tool or other backup utilities

For more information, see Section 3.1, "Backup Strategies Before Upgrade".

2

Upgrade the OracleAS Metadata Repository database and upgrade the OracleAS Identity Management schemas

Oracle Universal Installer

After selecting the installation type, select the option to upgrade the selected OracleAS Metadata Repository and OracleAS Identity Management Oracle home.

3

Upgrade Middle Tiers

See Section 1.5.1, "Upgrading a Standalone Middle Tier" for an overview of the middle-tier upgrade steps and tools.

4

Upgrade the OracleAS Metadata Repository Component Schemas

MRUA


5

Optionally, decommission and deinstall source Oracle homes

Oracle Universal Installer



1.5.3 Upgrading Multiple Middle Tiers and a 10g (9.0.4) Non-Colocated Infrastructure

This section describes the high-level steps required to upgrade multiple middle tier Oracle homes that use separate Oracle homes for the OracleAS Metadata Repository and OracleAS Identity Management. Non-colocated infrastructure were introduced in 10g (9.0.4), so this procedure applies only to upgrades from 10g (9.0.4).

You can start the upgrade process by upgrading the middle tiers first, or you can start by upgrading OracleAS Identity Management first.

For more information, see the following sections:

1.5.3.1 Starting with the Middle Tiers and a 10g (9.0.4) Non-Colocated Infrastructure

Table 1-6 provides an overview of the steps you must perform when upgrading your middle tiers and then your OracleAS Metadata Repository and OracleAS Identity Management.

Table 1-6 Tools and Process for Upgrading a Non-Colocated Infrastructure - Middle Tiers First

Step Step Description Upgrade Tools

1

Back up the middle tier Oracle homes, the OracleAS Identity Management Oracle home, and the OracleAS Metadata Repository Oracle home, including the OracleAS Metadata Repository database.

Oracle Application Server Backup and Recovery Tool or other backup utilities

For more information, see Section 3.1, "Backup Strategies Before Upgrade".

2

Upgrade Middle Tiers

See Section 1.5.1, "Upgrading a Standalone Middle Tier" for an overview of the middle-tier upgrade steps and tools.

3

Upgrade the database in the OracleAS Metadata Repository Oracle home.

Depends upon whether or not the database is a seed database or a OracleAS Metadata Repository Creation Assistant database:

  • If it is a seed database, use Oracle Universal Installer

    After selecting the OracleAS Metadata Repository installation type, select the option to upgrade the selected OracleAS Metadata Repository Oracle home.

  • If it is a OracleAS Metadata Repository Creation Assistant database, use the database installation procedure and Database Upgrade Assistant (DBUA)

4

Upgrade OracleAS Identity Management and the OracleAS Identity Management schemas.

Oracle Universal Installer

After selecting the Identity Management installation type, select the option to upgrade the selected OracleAS Identity Management Oracle home.

5

Upgrade the OracleAS Metadata Repository Component Schemas

MRUA


6

Optionally, decommission and deinstall source Oracle homes

Oracle Universal Installer



1.5.3.2 Starting with OracleAS Identity Management in a 10g (9.0.4) Non-Colocated Infrastructure

Table 1-7 provides an overview of the steps you must perform when upgrading your OracleAS Identity Management, and then the middle tiers and the OracleAS Metadata Repository.

Table 1-7 Tools and Process for Upgrading a Non-Colocated Infrastructure - OracleAS Identity Management First

Step Step Description Upgrade Tools

1

Back up the middle tier Oracle homes, the OracleAS Identity Management Oracle home, and the OracleAS Metadata Repository Oracle home, including the OracleAS Metadata Repository database.

Oracle Application Server Backup and Recovery Tool or other backup utilities

For more information, see Section 3.1, "Backup Strategies Before Upgrade".

2

Upgrade the database in the OracleAS Metadata Repository Oracle home.

Depends upon whether or not the database is a seed database or a OracleAS Metadata Repository Creation Assistant database:

  • If it is a seed database, use Oracle Universal Installer

    After selecting the installation type, select the option to upgrade the selected OracleAS Metadata Repository Oracle home.

  • If it is a OracleAS Metadata Repository Creation Assistant database, use the database installation procedure and Database Upgrade Assistant (DBUA).

    For more information, see Section 7.1.5, "Upgrading an OracleAS Metadata Repository Creation Assistant Database".

3

Upgrade OracleAS Identity Management and the OracleAS Identity Management schemas.

Oracle Universal Installer

After selecting the OracleAS Identity Management installation type, select the option to upgrade the selected OracleAS Identity Management Oracle home.

4

Upgrade Middle Tiers

See Section 1.5.1, "Upgrading a Standalone Middle Tier" for an overview of the middle-tier upgrade steps and tools.

5

Upgrade the OracleAS Metadata Repository Component Schemas

MRUA


6

Optionally, decommission and deinstall source Oracle homes

Oracle Universal Installer



1.6 Upgrade Paths Organized by Installation Type

Each time you install or upgrade an instance of Oracle Application Server—regardless of whether you install a middle tier or an OracleAS Infrastructure—you select an installation type. When you upgrade your Oracle Application Server installations, you must be sure to upgrade each installation to a compatible 10g Release 2 (10.1.2) installation type.

The following sections describe the supported upgrade paths for each of the Release 2 (9.0.2), Release 2 (9.0.3), and 10g (9.0.4) installation types you might have installed. Use this information to select the correct installation type when you are installing Oracle Application Server 10g Release 2 (10.1.2) in preparation for an upgrade:

1.6.1 Middle Tier Upgrade Paths

The following sections describe the upgrade paths for middle-tier installations:

1.6.1.1 Upgrading From Release 2 (9.0.2) Middle-Tier Installation Types

Table 1-8 shows the Release 2 (9.0.2) middle-tier installation types and the corresponding compatible 10g Release 2 (10.1.2) installation types.

Table 1-8 Compatible 10g Release 2 (10.1.2) Middle-Tier Installation Types for Release 2 (9.0.2) Upgrades

Release 2 (9.0.2) Installation Type Compatible 10g Release 2 (10.1.2) Installation Types

J2EE and Web Cache

J2EE and Web Cache

Portal and Wireless

Portal and Wireless

Business Intelligence and Forms

Business Intelligence and Forms

Forms and Reports ServicesFoot 1 

Unified Messaging

Business Intelligence and Forms

Forms and Reports ServicesFootref 1


Footnote 1 Installed from a separate Oracle Forms and Reports Services CD–ROM. Note that the Forms and Reports Services installation will not be associated with an OracleAS Infrastructure; however, you can later configure the resulting installation to use an OracleAS Infrastructure.

1.6.1.2 Upgrading From Release 2 (9.0.3) Middle-Tier Installation Types

Oracle Application Server Release 2 (9.0.3) supported only the J2EE and Web Cache installation type. As a result, you can upgrade Release 2 (9.0.3) Oracle homes to 10g Release 2 (10.1.2) J2EE and Web Cache installations only.

1.6.1.3 Upgrading From 10g (9.0.4) Middle-Tier Installation Types

Table 1-9 shows the 10g (9.0.4) middle-tier installation types and the corresponding compatible 10g Release 2 (10.1.2) installation types.

Table 1-9 Compatible 10g Release 2 (10.1.2) Middle-Tier Installation Types for 10g (9.0.4) Upgrades

10g (9.0.4) Installation Type Compatible 10g Release 2 (10.1.2) Installation Types

J2EE and Web Cache

J2EE and Web Cache

Portal and Wireless

Portal and Wireless

Business Intelligence and Forms

Business Intelligence and Forms

Forms and Reports ServicesFoot 1 

Forms and Reports ServicesFootref 1

Forms and Reports ServicesFootref 1


Footnote 1 Installed from a separate Oracle Forms and Reports Services CD–ROM. Note that the Forms and Reports Services installation will not be associated with an OracleAS Infrastructure; however, you can later configure the resulting installation to use an OracleAS Infrastructure.

1.6.2 Infrastructure Upgrade Paths

As described in the following sections, the OracleAS Infrastructure installation types available for Oracle Application Server Release 2 (9.0.2) were different than those available for Oracle Application Server 10g (9.0.4):

1.6.2.1 Upgrading From Release 2 (9.0.2) Infrastructure Installation Types

The Release 2 (9.0.2) installation procedure offered only one OracleAS Infrastructure installation type, which installed the OracleAS Metadata Repository and the OracleAS Identity Management components (Oracle Internet Directory and OracleAS Single Sign-On).

As a result, when you use Oracle Universal Installer and the 10g Release 2 (10.1.2) installation procedure to upgrade your Release 2 (9.0.2) Infrastructure Oracle home, you must select the OracleAS Identity Management and OracleAS Metadata Repository installation type.

Oracle Universal Installer will then perform the necessary procedures to install the new 10g Release 2 (10.1.2) Infrastructure, upgrade your OracleAS Infrastructure database, and the OracleAS Infrastructure components.

You can then use the Metadata Repository Upgrade Assistant to upgrade the schemas in the upgraded OracleAS Metadata Repository database.


Note:

After you run Oracle Universal Installer to upgrade the Release 2 (9.0.2) OracleAS Metadata Repository database and the Release 2 (9.0.2) OracleAS Identity Management components, you will be temporarily in an unsupported configuration. As a result, you must continue with the upgrade and run the Metadata Repository Upgrade Assistant before your upgraded Oracle Application Server environment is functional.

For more information, see Section 1.7, "Understanding Transitional, Stable, and Unsupported Configurations".


1.6.2.2 Upgrading From 10g (9.0.4) Infrastructure Installation Types

Table 1-10 shows the 10g (9.0.4) infrastructure installation types and the corresponding compatible 10g Release 2 (10.1.2) installation types.

Selecting a compatible 10g Release 2 (10.1.2) installation type will cause Oracle Universal Installer to identify the existing 10g (9.0.4) installation and provide you with the option of upgrading the existing Oracle home to the new 10g Release 2 (10.1.2) Oracle home.

Table 1-10 Compatible 10g Release 2 (10.1.2) Infrastructure Installation Types for 10g (9.0.4) Upgrades

10g (9.0.4) Installation Type Compatible 10g Release 2 (10.1.2) Installation Types

Identity Management and OracleAS Metadata Repository

Identity Management and OracleAS Metadata Repository

Identity Management

Identity Management

OracleAS Metadata Repository

OracleAS Metadata Repository



1.6.3 A Note About Expanding or Changing an Installation Type

You can expand to a larger middle tier installation type. For example, you can expand a J2EE and Web Cache middle tier to a Portal and Wireless middle tier.

However, the act of expanding your installation type must be treated as a separate task from upgrading to a new version of Oracle Application Server.

Specifically, to expand a middle tier in conjunction with an upgrade:

  1. Upgrade the existing middle tier to a compatible installation type.

  2. Verify that the upgrade was successful.

  3. Use the instructions in "Expanding a Middle Tier" in the Oracle Application Server Installation Guide to expand the middle tier.


    Note:

    You cannot expand a 10g Release 2 (10.1.2.0.0) Oracle home to a larger 10g Release 2 (10.1.2.0.2) middle tier. For example, if you installed a 10g Release 2 (10.1.2.0.0) Portal and Wireless Oracle home, you cannot expand that Oracle home to a 10g Release 2 (10.1.2.0.2) Business Intelligence and Forms Oracle home.

1.7 Understanding Transitional, Stable, and Unsupported Configurations

As you begin to upgrade your Oracle Application Server installations, you will temporarily transition to configurations that consist of multiple versions of the Oracle Application Server. For example, at some point during the upgrade of your Oracle Application Server installations:

During the upgrade process, it is important to understand that each configuration you encounter falls into one of several configuration types. Those configuration types are described in Table 1-11.

Table 1-11 Summary of Transitional, Stable, and Unsupported Upgrade Configurations

Configuration Purpose and Expectations Definition and Examples

Transitional

Transitional configurations are functional and can be used by your application server clients.

However, transitional configurations are supported only as short-term configurations. Transitional configurations should be maintained only while you are performing the overall upgrade process.

A configuration is transitional when at least one of the middle tiers has been upgraded and is now running a version of Oracle Application Server that is different than the one used by the OracleAS Metadata Repository.

For example, a typical transitional configuration includes multiple middle tiers that have been upgraded to Oracle Application Server 10g Release 2 (10.1.2), but the OracleAS Metadata Repository is running Oracle Application Server 10g (9.0.4).

Stable

Stable configurations can be maintained in a production environment for a period of time without any serious performance or management issues.

However, your ultimate goal—in order to implement an environment that is easier to manage and to maintain—should be to continue the upgrade process until you have implemented a Final configuration.

A configuration is stable when the middle tier and OracleAS Metadata Repository are at the same version.

For example, a typical stable configuration might include an OracleAS Identity Management installation that has been upgraded to Oracle Application Server 10g Release 2 (10.1.2). However, the middle tier instances and the OracleAS Metadata Repository are still running 10g (9.0.4).

Unsupported

Unsupported configurations are not expected to be functional. Users cannot connect to the middle tiers; if they can connect, the middle tiers will likely generate errors when connecting to the OracleAS Metadata Repository.

Typically, a configuration is unsupported when the OracleAS Metadata Repository is upgraded before the middle tiers that depend upon it.

For example, in a typical unsupported configuration, the OracleAS Metadata Repository is running Oracle Application Server 10g Release 2 (10.1.2) and the middle tiers that use the OracleAS Metadata Repository are still running Release 2 (9.0.2), Release 2 (9.0.3), or 10g (9.0.4).


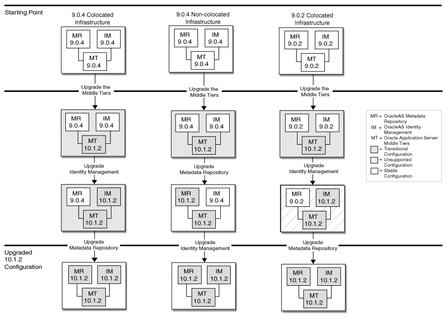
Figure 1-3 shows the typical upgrade paths you can use to:

The figure shows how you can encounter transitional, stable, and unsupported configurations during the upgrade process. Your ultimate goal is to upgrade all the Oracle Application Server components so they represent a final configuration where all components are running Oracle Application Server 10g Release 2 (10.1.2).


Note:

Figure 1-3 is not meant to show all the possible upgrade paths for a particular configuration. Instead, it shows three common upgrade paths and the interim configurations you will encounter as you upgrade all the Oracle Application Server components that you support.

Figure 1-3 Typical Stable, Transitional, and Unsupported Configurations When Upgrading to 10g Release 2 (10.1.2)

Description of Figure 1-3  follows
Description of "Figure 1-3 Typical Stable, Transitional, and Unsupported Configurations When Upgrading to 10g Release 2 (10.1.2)"

Note that the only unsupported configuration shown in Figure 1-3 occurs while upgrading a Release 2 (9.0.2) colocated Infrastructure. This unsupported configuration occurs because Oracle Universal Installer automatically upgrades the database to Oracle Database 10g.

Because the Release 2 (9.0.2) OracleAS Metadata Repository is not compatible with the Oracle Database 10g database, the configuration is unsupported. However, after you use the Metadata Repository Upgrade Assistant to upgrade the OracleAS Metadata Repository and its component schemas to 10g Release 2 (10.1.2), the resulting configuration is supported and stable.

1.8 Additional Upgrade Scenarios

If you have applications or configuration elements whose upgrade requirements are not addressed by the 10g Release 2 (10.1.2) installation procedure, OracleAS Upgrade Assistant, or by MRUA, you may use one of the following alternative upgrade paths:

1.9 Verifying Support for Third-Party Products

Before you upgrade to Oracle Application Server 10g Release 2 (10.1.2), be sure to consider the implications of the upgrade on any third-party software you are using with the Oracle Application Server components.

Specifically, be sure to check with your third-party vendors to be sure the third-party software you are using is certified to work with Oracle Application Server 10g Release 2 (10.1.2) and its components.

Note, in particular, that Oracle Application Server 10g Release 2 (10.1.2) will likely require an upgrade of the Oracle database used to host your OracleAS Metadata Repository, and that Oracle Application Server 10g Release 2 (10.1.2) provides updated versions of many Oracle Application Server components.