ヘッダをスキップ
Oracle® WebLogic Communication Services インストール ガイド
11g リリース 1 (11.1.1)
B55507-01
  目次
目次
索引
索引

戻る
戻る
 
次へ
次へ
 

5 Oracle WebLogic Communication Services のコンフィグレーション

この章では、Oracle WebLogic Server Configuration Wizard を使用して、Oracle WebLogic Communication Services をさまざまなトポロジでインストールしてコンフィグレーションする方法について説明します。

コンフィグレーションする必要があるのは、この章で説明する以下のいずれかのトポロジのみです。OWLCS オールインワン管理対象サーバをインストールする場合は、該当する節の操作のみ実行してください。エンタープライズ デプロイメント トポロジをコンフィグレーションするには、該当する節の手順に従ってください。

この章は以下の節で構成されています。

5.1 オールインワン管理対象サーバのコンフィグレーション

前述の章で説明したインストールが完了すると、インストーラが終了し、クイックスタート ツールが起動します。

図 5-1 OWLCS オールインワン管理対象サーバ

図 5-1 の説明
「図 5-1 OWLCS オールインワン管理対象サーバ」の説明

オールインワン管理対象サーバをコンフィグレーションするには、次の手順に従います。

  1. [Start the configuration wizard] リンクをクリックして、Oracle WebLogic Server Configuration Wizard を起動します。ウィザードが起動し、[ようこそ] 画面が表示されます。

  2. [ようこそ] 画面で、[新しい WebLogic ドメインの作成] を選択します。

  3. [次へ] をクリックします。[ドメイン ソースの選択] 画面が表示されます。

  4. [ドメイン ソースの選択] 画面で、次の手順を実行します。

    • [Generate a domain configured automatically to support the following products] を選択します。

    • [Oracle WebLogic Communication Services - 11.1.1.0 (as11gr1wlcs1)] をチェックします。その他に必要なコンポーネントは、自動的に選択されているコンポーネントです。

  5. [次へ] をクリックします。[管理ユーザ名とパスワードのコンフィグレーション] 画面が表示されます。

  6. [管理ユーザ名とパスワードのコンフィグレーション] 画面で、以下の情報を入力します。

    • ユーザ名の選択 (例 : weblogic)

    • ユーザ パスワードの選択

    • ユーザー パスワードの確認入力

    • 説明 (例 : このユーザはデフォルトの管理者です)

  7. [次へ] をクリックします。[Configure Server Start Mode and JDK] 画面が表示されます。

  8. [Configure Server Start Mode and JDK] 画面 (図 5-2) で、起動モードと JVM を選択します (プロダクション デプロイメントの場合は、プロダクション モードと JRockit をお勧めします)。

    図 5-2 サーバの起動モードおよび JDK のコンフィグレーション

    図 5-2 の説明
    「図 5-2 サーバの起動モードおよび JDK のコンフィグレーション」の説明

  9. [次へ] をクリックします。[Configure JDBC Component Schema] 画面が表示されます。

  10. [Configure JDBC Component Schema] 画面で、すべてのコンポーネント スキーマをチェックし、共通のデータベース情報 ([Schema Owner] を除くすべてのフィールド) を入力します。[Schema Owner] は、データ ソースをチェックして 1 つずつ入力します。次に例を示します。

    表 5-1 スキーマ オーナー

    コンポーネント スキーマ schema_owner

    User Messaging Service

    <prefix>_orasdpm

    Location Service

    <prefix>_orasdpls

    Subscriber Data Service

    <prefix>_orasdpsds

    Presence

    <prefix>_orasdpxdms

    OWSM MDS Schema

    <prefix>_mds


  11. [次へ] をクリックします。[Test Component Schema] 画面が表示されます。

  12. [Test Component Schema] 画面では、すべてのデータ ソース接続がテストされます。エラーがある場合は再度確認します。エラーがない場合は、[次へ] をクリックします。[Configuration Summary] 画面が表示されます。

  13. [Configuration Summary] 画面で、[作成] をクリックします。

  14. [完了] をクリックします。

5.1.1 あらかじめコンフィグレーションされているマシン レルムの使用

OWLCS は、example.com というレルムであらかじめコンフィグレーションされています。このレルムを使用する場合は、example.com がローカル IP を参照するようにマシンのホスト ファイルを変更してください。これにより、サーバは example.com をルックアップして解決できます。ファイルの絶対パスは以下のとおりです。

UNIX : /etc/hosts

Windows : C:\WINDOWS\system32\drivers\etc\hosts

ただし、別のレルムを使用する場合 (これが一般的な状況です) は、レルムを変更する必要があります。レルムの変更手順については、節 5.1.2「example.com からのレルムの変更」を参照してください。

5.1.2 example.com からのレルムの変更

用意されているサンプルのレルム (example.com) は、実行するデプロイメントのレルムとドメインを反映するように変更する必要があります。以下の変更をレルムとドメインに対して行ってください。

  • SIP Server

    1. コンソールにログインします (例 : http://weblogic.example.com:7001/console)。

    2. 左側のナビゲーション ペインにある [SipServer] リンクをクリックします。

    3. [コンフィグレーション|全般] タブで、[ドメイン エリアス:] までスクロールして、選択するレルム (例 : myrealm.com) を入力します。

  • ダイジェスト認証

    1. コンソールにログインします (例 : http://weblogic.example.com:7001/console)。

    2. 左側のナビゲーション ペインにある [Security Realms] をクリックします。

    3. [myRealm] をクリックします。

    4. [プロバイダ] タブをクリックします。

    5. [DigestIdentityAsserter] をクリックします。

    6. [Provider Specific] タブをクリックします。

    7. DigestRealmName 属性までスクロールして、適切なレルム (例 : myrealm.com) を選択します。

  • Aggregation Proxy

    1. 節 5.3.5「UNIX で MBean を変更するための JConsole の起動」の手順に従って JConsole を起動します。

      $DOMAIN_HOME は、使用しているドメインのディレクトリ ($MW_HOME/user_projects/domains/base_domain) です。<管理サーバ ホスト> はサーバをインストールしたマシンのホスト名、<管理サーバ ポート> は管理サーバがリスンするポートです。
      

      このガイドの例では、<管理サーバ ポート> は 7001 です。

    2. [MBeans] タブをクリックします。

    3. AggregationProxy MBean の次の MBean 属性の値を変更します。

      Realm = <企業名>

  • Third-Party Call Control のための P アサートされた ID URI

    1. 節 5.3.5「UNIX で MBean を変更するための JConsole の起動」の手順に従って、マシン 1 で次のパラメータを使用して JConsole を起動します。

      $DOMAIN_HOME は、使用しているドメインのディレクトリ ($MW_HOME/user_projects/domains/base_domain) です。<管理サーバ ホスト> はサーバをインストールしたマシンのホスト名、<管理サーバ ポート> は管理サーバがリスンするポートです。
      

      このガイドの例では、<管理サーバ ポート> は 7001 です。

    2. [MBeans] タブをクリックします。

    3. ThirdPartyCall MBean の次の MBean 属性の値を変更します。

      PAssertedIdentityURI=sip:tpcc.user@<使用するレルム>

    新しいレルムでマシンをコンフィグレーションします。

    • UNIX : /etc/hosts

    • Windows : C:\WINDOWS\system32\drivers\etc\hosts

5.1.3 管理サーバの起動

管理サーバを起動するには、次の手順に従います。

  1. MW_HOME/user_projects/domains/base_domain/bin に移動します。

  2. 次のコマンドを実行します。

    UNIX : ./startWebLogic.sh

    Windows : startWebLogic.cmd

5.1.4 管理対象サーバの起動

管理対象サーバを起動するには、次の手順に従います。

  1. 新しいターミナルを開きます。

  2. MW_HOME/user_projects/domains/base_domain/bin に移動します。

  3. 次のコマンドを実行します。

    UNIX : ./startManagedWebLogic.sh wlcs_server1

    Windows : startManagedWebLogic.cmd wlcs_server1

  4. 管理者のユーザ名とパスワードを入力します。

<Server started in RUNNING mode>」というコンソール メッセージが表示されて管理対象サーバが実行されていることを確認してください。プロダクション モードでは、起動時に資格を入力する必要があります。

5.1.5 テスト ユーザのプロビジョニング

インストールが成功したかどうかを確認するには、いくつかのテスト ユーザを作成し、Oracle Communicator を使用して OWLCS をテストする必要があります。

  1. sash を起動します。

    • UNIX : $DOMAIN_HOME/bin/launch_sash.sh -p 8001

    • Windows : $DOMAIN_HOME/bin/launch_sash.cmd -p 8001


      注意 :

      デフォルトでは、管理対象サーバはポート 8001 を使用します。他のポートをコンフィグレーションしている場合は、代わりにそのポートを使用してください。

  2. 次のコマンドを実行してユーザをプロビジョニングします。alice はユーザ名に置き換え、example.com は使用するレルム (例 : yourcompany.com) に置き換えてください。パスワードを入力します。

    identity add privateId=alice publicId=sip:alice@yourcompany.com role="Location Service" realm=yourcompany.com password=yourpassword

5.1.6 インストールのテスト

インストールをテストするには、次の手順に従います。

  1. ダウンロードした EXE ファイルを実行して Oracle Communicator をインストールします。

  2. 前述の手順に従って OWLCS でテスト ユーザをプロビジョニングします (例 : sip:alice@yourcompany.com)。

  3. sip:alice@yourcompany.com 用の Oracle Communicator アカウントを作成します。

  4. Oracle Communicator にログインします。ログイン ポップアップが表示されたら、無視してください。

  5. 左上にあるメニュー ボタン ([Settings]) をクリックします。

  6. [Preferences] を選択します。

  7. [Network] タブをクリックします。

  8. [Use a proxy server] をチェックして、[アドレス] フィールドにロード バランサのホストの標準名を入力します。

  9. [XDMS Host] についても同じ操作を行います。XDMS ポートがロード バランサ http プールの HTTP リスン ポートであることを確認してください。

  10. [OK] をクリックします。

  11. Oracle Communicator を再起動してログインします。

  12. 以前に選択したユーザ名とパスワードを入力します。[Presence] ステータスを登録および変更できる場合、インストールは成功です。

別のユーザのアカウントを同様に作成し、そのユーザをメンバーとして最初のユーザに追加できます。User1 が User2 にインスタント メッセージを送信したり、互いのプレゼンスを確認したりできます。

5.1.7 ロギング

すべてのログは、MW_HOME/user_projects/domains/base_domain/servers/wlcs_server1/logs/wlcs_server1-diagnostic.log にある 1 つのファイルに (サーバごとに) 書き込まれます。

5.2 オールインワン管理サーバのコンフィグレーション

Communication Services のインストールの最後の画面で [はい] をクリックした場合は、以下の手順 1 をスキップしてください。[いいえ] をクリックした場合は、以下の手順 1 も実行してください。

図 5-3 OWLCS オールインワン管理サーバ

図 5-3 の説明
「図 5-3 OWLCS オールインワン管理サーバ」の説明

オールインワン管理サーバをコンフィグレーションするには、次の手順に従います。

  1. [Start the configuration wizard] リンクをクリックして、Oracle WebLogic Server Configuration Wizard を起動します。ウィザードが起動し、[ようこそ] 画面が表示されます。

  2. [ようこそ] 画面で、[新しい WebLogic ドメインの作成] を選択します。

  3. [次へ] をクリックします。[ドメイン ソースの選択] 画面が表示されます。

  4. [ドメイン ソースの選択] 画面で、[Base this domain on an existing template] を選択します。[参照] をクリックしてテンプレート ファイル oracle.communications.allinoneadmin_template_11.1.1.jar を探します。

  5. [次へ] をクリックします。[Specify Domain Name and Location] 画面が表示されます。

  6. [次へ] をクリックします。[管理ユーザ名とパスワードのコンフィグレーション] 画面が表示されます。

  7. [管理ユーザ名とパスワードのコンフィグレーション] 画面で、「admin_username」および「admin_password」と入力します。

  8. [次へ] をクリックします。[Configure Server Start Mode and JDK] 画面が表示されます。

  9. [Configure Server Start Mode and JDK] 画面 (図 5-4) で、起動モードと Java VM を選択します。

    図 5-4 サーバの起動モードおよび JDK のコンフィグレーション

    サーバの起動モードのコンフィグレーション画面
    「図 5-4 サーバの起動モードおよび JDK のコンフィグレーション」の説明

  10. [次へ] をクリックします。[Configure JDBC Component Schema] 画面が表示されます。

  11. [Configure JDBC Component Schema] 画面で、すべてのコンポーネント スキーマをチェックし、共通のデータベース情報 ([Schema Owner] を除くすべてのフィールド) を入力します。[Schema Owner] は、データ ソースをチェックして 1 つずつ入力します。次に例を示します。

    表 5-2 スキーマ オーナー

    コンポーネント スキーマ schema_owner

    User Messaging Service

    <prefix>_orasdpm

    Location Service

    <prefix>_orasdpls

    Subscriber Data Service

    <prefix>_orasdpsds

    Presence

    <prefix>_orasdpxdms

    OWSM MDS Schema

    <prefix>_mds


  12. [次へ] をクリックします。[Test Component Schema] 画面が表示されます。

  13. [Test Component Schema] 画面では、すべてのデータ ソース接続がテストされます。エラーがある場合は再度確認します。エラーがない場合は、[次へ] をクリックします。[Configuration Summary] 画面が表示されます。

  14. [Configuration Summary] 画面で、[作成] をクリックします。

  15. [完了] をクリックします。

5.2.1 あらかじめコンフィグレーションされているマシン レルムの使用

OWLCS は、example.com というレルムであらかじめコンフィグレーションされています。このレルムを使用する場合は、example.com がローカル IP を参照するようにマシンのホスト ファイルを変更してください。これにより、サーバは example.com をルックアップして解決できます。ファイルの絶対パスは以下のとおりです。

UNIX : /etc/hosts

Windows : C:\WINDOWS\system32\drivers\etc\hosts

ただし、別のレルムを使用する場合 (これが一般的な状況です) は、レルムを変更する必要があります。レルムの変更手順については、節 5.2.2「example.com からのレルムの変更」を参照してください。

5.2.2 example.com からのレルムの変更

用意されているサンプルのレルム (example.com) は、実行するデプロイメントのレルムとドメインを反映するように変更する必要があります。以下の変更をレルムとドメインに対して行ってください。

  • SIP Server

    1. コンソールにログインします (例 : http://weblogic.example.com:7001/console)。

    2. 左側のナビゲーション ペインにある [SipServer] リンクをクリックします。

    3. [コンフィグレーション|全般] タブで、[ドメイン エリアス:] までスクロールして、選択するレルム (例 : myrealm.com) を入力します。

  • ダイジェスト認証

    1. コンソールにログインします (例 : http://weblogic.example.com:7001/console)。

    2. 左側のナビゲーション ペインにある [Security Realms] をクリックします。

    3. [myRealm] をクリックします。

    4. [プロバイダ] タブをクリックします。

    5. [DigestIdentityAsserter] をクリックします。

    6. [Provider Specific] タブをクリックします。

    7. DigestRealmName 属性までスクロールして、適切なレルム (例 : myrealm.com) を選択します。

  • Aggregation Proxy

    1. UNIX で MBean を変更するための JConsole の起動」の手順に従って JConsole を起動します。

      $DOMAIN_HOME は、使用しているドメインのディレクトリ ($MW_HOME/user_projects/domains/base_domain) です。<管理サーバ ホスト> はサーバをインストールしたマシンのホスト名、<管理サーバ ポート> は管理サーバがリスンするポートです。
      

      このガイドの例では、<管理サーバ ポート> は 7001 です。

    2. [MBeans] タブをクリックします。

    3. AggregationProxy MBean の次の MBean 属性の値を変更します。

      Realm = <企業名>

  • Third-Party Call Control のための P アサートされた ID URI

    1. 節 5.3.5「UNIX で MBean を変更するための JConsole の起動」の手順に従って、マシン 1 で次のパラメータを使用して JConsole を起動します。

      $DOMAIN_HOME は、使用しているドメインのディレクトリ ($MW_HOME/user_projects/domains/base_domain) です。<管理サーバ ホスト> はサーバをインストールしたマシンのホスト名、<管理サーバ ポート> は管理サーバがリスンするポートです。
      

      このガイドの例では、<管理サーバ ポート> は 7001 です。

    2. [MBeans] タブをクリックします。

    3. ThirdPartyCall MBean の次の MBean 属性の値を変更します。

      PAssertedIdentityURI=sip:tpcc.user@<使用するレルム>

    新しいレルムでマシンをコンフィグレーションします。

    • UNIX : /etc/hosts

    • Windows : C:\WINDOWS\system32\drivers\etc\hosts

5.2.3 管理サーバの起動

管理サーバを起動するには、次の手順に従います。

  1. MW_HOME/user_projects/domains/base_domain/bin に移動します。

  2. 次のコマンドを実行します。

    UNIX : ./startWebLogic.sh

    Windows : startWebLogic.cmd

<Server started in RUNNING mode>」というコンソール メッセージが表示され、管理サーバが実行されていることを確認してください。プロダクション モードでは、起動時に資格を入力する必要があります。

5.2.4 テスト ユーザのプロビジョニング

インストールが成功したかどうかを確認するには、いくつかのテスト ユーザを作成し、Oracle Communicator を使用して OWLCS をテストする必要があります。

  1. sash を起動します。

    • UNIX : $DOMAIN_HOME/bin/launch_sash.sh

    • Windows : $DOMAIN_HOME/bin/launch_sash.cmd


      注意 :

      デフォルトでは、管理対象サーバはポート 7001 を使用します。他のポートをコンフィグレーションしている場合は、代わりにそのポートを使用してください。

  2. 次のコマンドを実行してユーザをプロビジョニングします。alice はユーザ名に置き換え、example.com は使用するレルム (例 : yourcompany.com) に置き換えてください。パスワードを入力します。

    identity add privateId=alice publicId=sip:alice@yourcompany.com role="Location Service" realm=yourcompany.com password=yourpassword

5.2.5 インストールのテスト

インストールをテストするには、次の手順に従います。

  1. ダウンロードした EXE ファイルを実行して Oracle Communicator をインストールします。

  2. 前述の手順に従って OWLCS でテスト ユーザをプロビジョニングします (例 : sip:alice@yourcompany.com)。

  3. sip:alice@yourcompany.com 用の Oracle Communicator アカウントを作成します。

  4. Oracle Communicator にログインします。ログイン ポップアップが表示されたら、無視してください。

  5. 左上にあるメニュー ボタン ([Settings]) をクリックします。

  6. [Preferences] を選択します。

  7. [Network] タブをクリックします。

  8. [Use a proxy server] をチェックして、[アドレス] フィールドにロード バランサのホストの標準名を入力します。

  9. [XDMS Host] についても同じ操作を行います。XDMS ポートがロード バランサ http プールの HTTP リスン ポートであることを確認してください。

  10. [OK] をクリックします。

  11. Oracle Communicator を再起動してログインします。

  12. 以前に選択したユーザ名とパスワードを入力します。[Presence] ステータスを登録および変更できる場合、インストールは成功です。

別のユーザのアカウントを同様に作成し、そのユーザをメンバーとして最初のユーザに追加できます。User1 が User2 にインスタント メッセージを送信したり、互いのプレゼンスを確認したりできます。

5.2.6 ロギング

すべてのログは、MW_HOME/user_projects/domains/base_domain/servers/AdminServer/logs/AdminServer-diagnostic.log にある 1 つのファイルに (サーバごとに) 書き込まれます。

5.3 OWLCS エンタープライズ デプロイメントのコンフィグレーション

この節では、OWLCS の高可用性インストールを完了し、コンフィグレーションを行う方法について説明します。エンタープライズ デプロイメント トポロジは、OWLCS の高可用性デプロイメント ソリューションです。

5.3.1 エンタープライズ デプロイメント トポロジについて

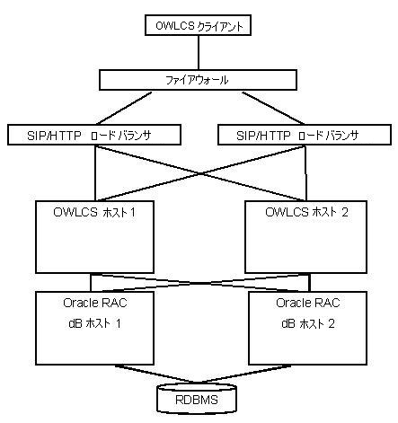
エンタープライズ デプロイメント トポロジでは高可用性をサポートします。フェイルオーバの際に、ロード バランサは、機能している (使用可能な) ノードにトラフィックを移行することができます。図 5-5 に示すように、各ノード内には 3 つのドメイン (wlcs_sipinfrawlcs_services、および wlcs_presence) があります。これらはそれぞれ SIP Infrastructure、Services、および Presence の各コンポーネントに対応します。wlcs_sipinfra1 enginewlcs_sipinfra2 replica の間では、状態のレプリケーション (2 つの管理対象サーバ間での状態情報の共有) がサポートされています。一方のノードが停止した場合は、状態情報がもう一方のノードにレプリケートされて保存されるため、既存の要求と新しい要求の処理をもう一方のノードで継続することができます。

図 5-5 エンタープライズ デプロイメント トポロジ

図 5-5 の説明
「図 5-5 エンタープライズ デプロイメント トポロジ」の説明

5.3.2 前提条件

使用する環境が以下の前提条件を満たしているかどうかを確認してください。

  • Oracle RAC 環境に Oracle RDBMS がインストールされ、実行されている。サポート対象のバージョンは 11.1.0.7 と 10.2.0.4 です。『Oracle Clusterware Installation Guide 11g Release 1 (11.1.)』、『Oracle Real Application Clusters: For 11g Release 1 (11.1)』、および『Oracle Real Application Clusters Installation Guide 11g Release 1』を参照してください。

  • 2 台のマシンに OWLCS をインストールできる。

  • ロード バランサを使用して SIP トラフィックと HTTP トラフィックをルーティングできる。

5.3.3 Oracle WebLogic Communication Services のインストール

Oracle WebLogic Communication Services のインストールは、以下の節で説明する複数のインストール タスクで構成されています。

5.3.3.1 RCU を使用したデータベース スキーマの作成

この節では、リポジトリ作成ユーティリティ (RCU) を使用してデータベース スキーマを作成する方法について説明します。


注意 :

データベース スキーマをすでに作成している場合は、この節の手順をスキップできます。作成済みのスキーマを再利用することができます。この手順のデータ ソースのコンフィグレーションでデータベース情報を入力するときには、同じスキーマ プレフィックスを使用してください。

この手順をスキップする場合は、OWLCS で必要なすべてのコンポーネントのスキーマ (PresenceUser MessagingSubscriber Data ServiceLocation Service、および OWSM MDS Schema) を作成済みであることを確認してください。


RCU を使用してデータベース スキーマを作成するには、次の手順に従います。

  1. 次のどちらかのコマンドを使用して RCU を実行します。

    • UNIX : <rcuHome>/bin/rcu

    • Windows : <rcuHome>\BIN\rcu.bat

      これで、RCU のインストール ウィザードが起動します。

  2. [ようこそ] 画面で、[次へ] をクリックします。

  3. [Step 1 of 7 : Create Repository] で、[作成]、[次へ] の順に選択します。

  4. [Step 2 of 7 : Database Connection Details] で、データベースの詳細を入力し、[次へ] をクリックします。


    注意 :

    いずれか 1 つの RAC ホストの詳細を指定し、サービス名として DataBase を使用してください。


    注意 :

    通常、ユーザは UTF-8 エンコーディングを使用するようにコンフィグレーションされているデータベース サーバを使用します。UTF-8 エンコーディングを使用するようにコンフィグレーションされているデータベース サーバを使用しない場合は、データベースがデフォルトで UTF-8 形式を使用していないことを示す警告メッセージが表示されます。[Ignore] をクリックしてインストールを続行します。

  5. [Step 3 of 7 : Components] で、次の手順を実行します。

    • [Create a new prefix] を選択し、スキーマ プレフィックス (OWLCS など) を選択します。


      注意 :

      このスキーマ プレフィックスは書き留めておいてください。後でインストールの際に使用する必要があります。

    • [WebLogic Communication Services] の前にあるチェック ボックスをチェックします。OWLCS とそれに付随するコンポーネント (Metadata Services、Presence、SIP Infrastructure Subscriber Data Services SIP Infrastructure Location Service、および User Messaging Service) が自動的に選択されます。これらの 5 つのコンポーネントが選択されていることを確認してから続行してください。いずれかのコンポーネントが選択されていない場合は、手動で選択してください。完了したら、[OK] をクリックします。

  6. [Step 4 of 7 : Schema Passwords] で、次の手順を実行します。

    • [Use same passwords for all schemas] を選択します。

    • 指定のフィールドにパスワードを入力し、確認のためにもう一度同じパスワードを入力します。

    • [次へ] をクリックします。

  7. [Step 5 of 7 : Map Tablespaces] で、次の手順を実行します。

    • このインストールでは、[次へ] をクリックします。リポジトリの作成通知が表示されます。

    • [OK] をクリックします。テーブルスペースが作成され、進捗状況がポップアップ通知に表示されます。

  8. [Step 6 of 7 : Summary] で、[作成] をクリックします。スキーマが作成されます。[Completion Summary] 画面が表示されます。

  9. [Step 7 of 7 : Completion Summary] で、[Close] をクリックします。

5.3.3.2 Oracle WebLogic Communication Services 基本プラットフォームのインストール

Oracle WebLogic Communication Services 基本プラットフォームは、Oracle WebLogic Server および SIP Server で構成されています。Oracle WebLogic Communication Services 基本プラットフォームをインストールするには、次の手順に従います。

  1. 次のどちらかのコマンドを実行します。

    • Linux : owlcs10310_linux32.bin

    • Microsoft Windows : owlcs10310_win32.exe

    これで、インストール ウィザードが起動し、[ようこそ] 画面が表示されます。

  2. [ようこそ] 画面で、[次へ] をクリックします。

  3. [Choose Middleware Home Directory] 画面で、次の手順を実行します。

    • [Create a New Middleware Home] を選択します。

    • ミドルウェア ホームの絶対パスを入力します。


      注意 :

      ミドルウェア ホーム ディレクトリは、OWLCS 基本プラットフォームのインストール用のルート ディレクトリです。このガイドでは、ミドルウェア ホーム ディレクトリを MW_HOME と表記します。MW_HOME または $MW_HOME と表記されている場合は、ミドルウェア ホーム ディレクトリの絶対パスを表します。

    • [次へ] をクリックします。

  4. [Register for Security Updates] 画面で、次の手順を実行します。

    • セキュリティの問題に関する更新を受信するための電子メール アドレスと My Oracle Support のパスワード (推奨) を入力します。[次へ] をクリックします。

    • My Oracle Support からセキュリティの更新を受信するには、チェック ボックスを選択して My Oracle Support のパスワードを入力します。詳細については、http://www.oracle.com/support/policies.html を参照してください。

  5. [Choose Install Types] 画面で、次の手順を実行します。

    • [Typical] インストールを選択します。

    • [次へ] をクリックします。

  6. [Choose Product Installation Directories] 画面で、次の手順を実行します。

    • インストール先を変更することはできますが、Oracle Corporation では、可能なかぎりデフォルトのインストール先を使用することをお勧めします。

    • [次へ] をクリックします。

  7. [Choose Shortcut Location] 画面 (Microsoft Windows のみ) で、次の手順を実行します。

    • All Users スタート メニュー フォルダを選択します。

    • [次へ] をクリックします。

  8. [Installation Summary] 画面で、[次へ] をクリックします。

  9. [Installation Complete] 画面で、[次へ] をクリックします。

5.3.3.3 OWLCS コンポーネントのインストール

Oracle WebLogic Communication Services (各ドメインの SIP Infrastructure、Services、および Presence の各コンポーネントを含む) をインストールするには、次の手順に従います。

  1. インストール メディアの OWLCS ディレクトリまたはステージングされたインストール ディレクトリに移動し、使用しているオペレーティング システムに応じて、次のどちらかのコマンドを実行します。

    • UNIX : owlcs/Disk1/runInstaller

    • Windows : owlcs\Disk1\setup.exe

  2. JRE/JDK の場所の指定を求められたら、「<ミドルウェア ホームの絶対パス>/jdk160_11」と入力します。


    注意 :

    ここでインストール プロセスの実行に使用する Java VM は、実行時に OWLCS で使用される Java VM とは関係ありません。ここで Sun JDK を選択しても、実行時に JRockit を使用することができます。

  3. [ようこそ] 画面で、[次へ] をクリックします。[Prerequisites Checklist] が表示されます。

  4. [Prerequisites Checklist] 画面で、各前提条件の [Status] カラムにチェック マークが表示されていることを確認します。エラーの通知が表示されている場合は、問題を修正 (オペレーティング システムと Service Pack が適切かどうか、十分なメモリがあるかどうかを確認) してから、[Continue] をクリックします。

  5. [次へ] をクリックします。[Specify Installation Location] 画面が表示されます。次の場所を入力します (またはドロップダウン メニューから選択します)。

    • Oracle ミドルウェア ホーム : <Oracle ミドルウェア ホームの絶対パス>

    • Oracle ホーム ディレクトリ : as11gr1wlcs


      注意 :

      Oracle ミドルウェア ホーム ディレクトリの下位にある Oracle ホーム ディレクトリは、OWLCS コンポーネントがインストールされる場所です。

  6. [次へ] をクリックします。[Installation Summary] 画面が表示されます。

  7. [Installation Summary] 画面で、[Install] をクリックします。[Installation Complete] 画面が表示されます。

  8. [Installation Complete] 画面で、[Finish] をクリックします。

    これでインストーラが終了し、Oracle WebLogic Configuration Wizard の起動を求めるダイアログが表示されます。[はい] をクリックします。


    注意 :

    [いいえ] を選択した場合は、以下のコマンドで Configuration Wizard を起動できます。
    • Microsoft Windows : MW_HOME\as11gr1wlcs\common\bin\config.cmd

    • UNIX : $MW_HOME/as11gr1wlcs/common/bin/config.sh


5.3.3.3.1 OWLCS SIP Infrastructure ドメインのインストール

起動した WebLogic Configuration Wizard を使用して OWLCS SIP Infrastructure ドメインをインストールするには、次の手順に従います。

  1. [ようこそ] 画面で、[新しい WebLogic ドメインの作成] を選択し、[次へ] をクリックします。

  2. [ドメイン ソースの選択] 画面で、次の手順を実行します。

    • [Base this domain on an existing template] を選択します。

    • 次の場所に移動します。

      $MW_HOME/as11gr1wlcs1/common/templates/application。ここで、oracle.communications.edgsipinfra_template_11.1.1.jar を選択します。

      [Open] をクリックします。[次へ] をクリックします。

  3. [Specify Domain Name and Location] 画面で、[次へ] をクリックします。

  4. [管理ユーザ名とパスワードのコンフィグレーション] 画面で、ユーザ名とパスワードを選択します。

  5. [Configure Server Start Mode and JDK] 画面で、次の手順を実行します。

    • 起動モードと JVM を選択します (プロダクション デプロイメントの場合は、プロダクション モードと JRockit をお勧めします)。[次へ] をクリックします。

  6. [Configure selected component schemas as RAC] をチェックします。

  7. [次へ] をクリックします。

  8. [Configure RAC Multi Data Source Component Schema] 画面で、次の手順を実行します。

    • すべてのマルチ データ ソース スキーマを選択します。サービス名とパスワードを入力します。

    • [Add] ボタンをクリックしてデータベース ホストを追加し、[Host Name]、[Instance Name]、および [ポート] の各フィールドに入力します。

    • すべてのマルチ データ ソース スキーマの選択を解除します。一度に 1 つのスキーマをチェックして、ユーザ名を入力します。次に例を示します。

    マルチ データ ソース スキーマ schema_owner
    Location Service <prefix>_orasdpls
    Subscriber Data Service <prefix>_orasdpsds
    OWSM MDS Schema <prefix>_mds


    注意 :

    ここで示すプレフィックスは、節 5.3.3.1「RCU を使用したデータベース スキーマの作成」で作成したプレフィックスを指します。

  9. [Test Component Schema] 画面では、すべてのデータ ソース接続がテストされます。エラーがある場合は再度確認します。エラーがない場合は、[次へ] をクリックします。

  10. [Select Advanced Configuration] 画面で、[Managed Servers, Clusters and Machines] を選択し、[次へ] をクリックします。

  11. [管理対象サーバのコンフィグレーション] 画面で、[次へ] をクリックします。

  12. [SIP データ層管理対象サーバ パーティションのコンフィグレーション] 画面で、[次へ] をクリックします。

  13. [SIP データ層の管理対象サーバのパーティションへの割り当て] 画面で、[次へ] をクリックします。

  14. [クラスタのコンフィグレーション] 画面で、[次へ] をクリックします。

  15. [マシンのコンフィグレーション] 画面で、次の手順を実行します。

    • [Add] を 2 回クリックして 2 台のマシン (new_Machine_1 および new_Machine_2) を追加します。

    • 両方のマシンの [Node manager listen address] を [All Local Addresses] に設定します。

    • [次へ] をクリックします。

  16. [サーバのマシンへの割り当て] 画面で、次の手順を実行します。

    • AdminServerwlsc_sipinfra1、および wlcs_sipinfrastate1new_Machine_1 に割り当てます。

    • wlcs_sipinfra2wlcs_sipinfrastate2new_Machine_2 に割り当てます。

    • [次へ] をクリックします。

  17. [Configuration Summary] 画面で、[作成] をクリックします。

  18. [完了] をクリックします。

    Configuration Wizard が終了します。

5.3.3.3.2 OWLCS Services ドメインのインストール

OWLCS Services ドメインをインストールするには、次の手順に従います。

  1. Configuration Wizard を実行します。

    • Microsoft Windows : $MW_HOME\as11gr1wlcs1\common\bin\config.cmd

    • UNIX : $MW_HOME/as11gr1wlcs1/common/bin/config.sh

  2. [ようこそ] 画面で、[新しい WebLogic ドメインの作成] を選択し、[次へ] をクリックします。

  3. [ドメイン ソースの選択] 画面で、次の手順を実行します。

    • [Base this domain on an existing template] を選択します。

    • 次の場所に移動します。

      $MW_HOME/as11gr1wlcs1/common/templates/application

    • 次のファイルを選択します。

      oracle.communications.edgservices_template_11.1.1.jar

    • [Open] をクリックします。[次へ] をクリックします。

  4. [Specify Domain Name and Location] 画面で、[次へ] をクリックします。

  5. [管理ユーザ名とパスワードのコンフィグレーション] 画面で、ユーザ名とパスワードを選択します。

  6. [Configure Server Start Mode and JDK] 画面で、起動モードと JVM を選択します (プロダクション デプロイメントの場合は、プロダクション モードと JRockit をお勧めします)。

  7. [Configure JDBC Component Schema] 画面で、[Configure selected component schemas as RAC] をチェックします。

  8. [次へ] をクリックします。

  9. [Configure RAC Multi Data Source Component Schema] 画面で、次の手順を実行します。

    • すべてのマルチ データ ソース スキーマを選択します。サービス名とパスワードを入力します。

    • [Add] ボタンをクリックしてデータベース ホストを追加し、[Host Name]、[Instance Name]、および [ポート] の各フィールドに入力します。

    • すべてのマルチ データ ソース スキーマの選択を解除します。一度に 1 つのスキーマをチェックして、ユーザ名を入力します。次に例を示します。

    マルチ データ ソース スキーマ schema_owner
    Location Service <prefix>_orasdpls
    Subscriber Data Service <prefix>_orasdpsds
    OWSM MDS Schema <prefix>_mds


    注意 :

    ここで示すプレフィックスは、節 5.3.3.1「RCU を使用したデータベース スキーマの作成」で作成したプレフィックスを指します。

  10. [Test Component Schema] 画面では、すべてのデータ ソース接続がテストされます。エラーがある場合は再度確認します。エラーがない場合は、[次へ] をクリックします。

  11. [Select Advanced Configuration] 画面で、[Managed Servers, Clusters and Machines] を選択し、[次へ] をクリックします。

  12. [管理対象サーバのコンフィグレーション] 画面で、[次へ] をクリックします。

  13. [SIP データ層管理対象サーバ パーティションのコンフィグレーション] 画面で、[次へ] をクリックします。

  14. [クラスタのコンフィグレーション] 画面で、[次へ] をクリックします。

  15. [マシンのコンフィグレーション] 画面で、次の手順を実行します。

    • [Add] を 2 回クリックして 2 台のマシン (new_Machine_1 および new_Machine_2) を追加します。

    • 両方のマシンの [Node manager listen address] を [All Local Addresses] に設定します。

    • [次へ] をクリックします。

  16. [サーバのマシンへの割り当て] 画面で、次の手順を実行します。

    • AdminServerwlcs_services1new_Machine_1 に割り当てます。

    • wlcs_services2new_Machine_2 に割り当てます。

    • [次へ] をクリックします。

  17. [Configuration Summary] 画面で、[作成] をクリックします。

  18. [完了] をクリックします。

    Configuration Wizard が終了します。

5.3.3.3.3 OWLCS Presence ドメインのインストール

OWLCS Presence ドメインをインストールするには、次の手順に従います。

  1. Configuration Wizard を実行します。

    • Microsoft Windows : $MW_HOME\as11gr1wlcs1\common\bin\config.cmd

    • UNIX : $MW_HOME/as11gr1wlcs1/common/bin/config.sh

  2. [ようこそ] 画面で、[新しい WebLogic ドメインの作成] を選択します。[次へ] をクリックします。

  3. [ドメイン ソースの選択] 画面で、次の手順を実行します。

    • [Base this domain on an existing template] を選択します。

    • 次のテンプレートを探します。

      $MW_HOME/as11gr1wlcs1/common/templates/application。ここで、oracle.communications.edgpresence_template_11.1.1.jar を選択します。

      [Open] をクリックします。[次へ] をクリックします。

  4. [Specify Domain Name and Location] 画面で、[次へ] をクリックします。

  5. [管理ユーザ名とパスワードのコンフィグレーション] 画面で、ユーザ名とパスワードを選択します。

  6. [Configure Server Start Mode and JDK] 画面で、起動モードと JVM を選択します (プロダクション デプロイメントの場合は、プロダクション モードと JRockit をお勧めします)。[次へ] をクリックします。

  7. [Configuring JDBC Data Sources] 画面で、[Configure selected component schemas as RAC] をチェックします。

  8. [次へ] をクリックします。

  9. [Configure RAC Multi Data Source Component Schema] 画面で、次の手順を実行します。

    • すべてのマルチ データ ソース スキーマを選択します。サービス名とパスワードを入力します。

    • [Add] ボタンをクリックしてデータベース ホストを追加し、[Host Name]、[Instance Name]、および [ポート] の各フィールドに入力します。

    • すべてのマルチ データ ソース スキーマの選択を解除します。一度に 1 つのスキーマをチェックして、ユーザ名を入力します。次に例を示します。

    マルチ データ ソース スキーマ schema_owner
    Location Service <prefix>_orasdpls
    Subscriber Data Service <prefix>_orasdpsds
    Presence <prefix>_orasdpxdms
    OWSM MDS Schema <prefix>_mds


    注意 :

    ここで示すプレフィックスは、節 5.3.3.1「RCU を使用したデータベース スキーマの作成」で作成したプレフィックスを指します。

  10. [Test Component Schema] 画面では、すべてのデータ ソース接続がテストされます。エラーがある場合は再度確認します。エラーがない場合は、[次へ] をクリックします。

  11. [Select Advanced Configuration] 画面で、[Managed Servers, Clusters and Machines] を選択し、[次へ] をクリックします。

  12. [管理対象サーバのコンフィグレーション] 画面で、[次へ] をクリックします。

  13. [SIP データ層管理対象サーバ パーティションのコンフィグレーション] 画面で、[次へ] をクリックします。

  14. [クラスタのコンフィグレーション] 画面で、[次へ] をクリックします。

  15. [マシンのコンフィグレーション] 画面で、次の手順を実行します。

    • [Add] を 2 回クリックして 2 台のマシン (new_Machine_1 および new_Machine_2) を追加します。

    • 両方のマシンの [Node manager listen address] を [All Local Addresses] に設定します。

    • [次へ] をクリックします。

  16. [サーバのマシンへの割り当て] 画面で、次の手順を実行します。

    • AdminServerwlcs_presence1new_Machine_1 に割り当てます。

    • wlcs_presence2new_Machine_2 に割り当てます。

    • [次へ] をクリックします。

  17. [Configuration Summary] 画面で、[作成] をクリックします。

  18. [完了] をクリックします。

5.3.3.4 マシン 2 でのインストールの実行

以下の手順をマシン 2 についても繰り返します。


注意 :

MW_HOME パスは、マシン 1 で使用したパスとまったく同じものを使用してください。

たとえば、マシン 1 の MW_HOME が /home/owlcsuser/mw_home の場合は、マシン 2 の MW_HOME も同じ /home/owlcsuser/mw_home にする必要があります。


5.3.3.5 ロード バランサのコンフィグレーション

ネットワーク トラフィックのルーティングはロード バランサを使用して行います。ロード バランサは、HTTP トラフィックと SIP トラフィックの両方をルーティングする必要があります。そのためには、コンフィグレーションが必要です。この節では、適切なコンフィグレーションのための仮想ホストおよびポートのプロパティについて詳しく説明します。

5.3.3.5.1 HTTP プール

2 つの HTTP プールをコンフィグレーションします。これらはロード バランサでコンフィグレーションされ、2 台の Communication Server マシン上のポート 80018011 に割り当てられます。前者は SIPInfra コンテナの場所です。後者は、Oracle WebCenter などの外部クライアント アプリケーションで使用される Services コンテナの場所です。

5.3.3.5.2 主要な SIP プール

主要な SIP プールは、Oracle Communicator を含む、外部ネットワーク上の SIP クライアントによって使用されます。この SIP プールでは、TCP と UDP の両方をサポートする必要があります。

5.3.3.5.3 Presence SIP プール

Presence SIP プールは、Presence Server にアクセスするために使用される SIP プールです。この SIP プールは、UDP と TCP の両方をサポートし、内部的にのみ使用可能である必要があります。

5.3.3.5.4 仮想サーバとロード バランサのコンフィグレーション

上記のプールをサポートするようにロード バランサと仮想サーバをコンフィグレーションします。表 5-3 は、推奨設定を示しています。

表 5-3 ロード バランサ用の仮想サーバ

名前 リスン ポート メンバー Transport モニタ 外部/内部

LBR_SI

80

マシン 1 : 8001 マシン 2 : 8001

HTTP

HTTP

外部

LBR_SVC

8011

マシン 1 : 8011 マシン 2 : 8011

HTTP

HTTP

外部

LBR_MSIP_T

5060

マシン 1 : 5060 マシン 2 : 5060

TCP

SIP

外部

LBR_MSIP_U

5060

マシン 1 : 5060 マシン 2 : 5060

UDP

SIP

外部

LBR_PSIP_T

5070

マシン 1 : 5070 マシン 2 : 5070

TCP

SIP

内部

LBR_PSIP_U

5070

マシン 1 : 5070 マシン 2 : 5070

UDP

SIP

内部


表 5-3 で使用されている列見出しは以下のとおりです。

  • 名前 -- 各仮想サーバは、ロード バランサにバインドされた仮想ホスト名を使用してコンフィグレーションする必要があります。表 5-3 に示す名前は例にすぎません。

  • リスン ポート -- 仮想ホスト名のためのロード バランサ上の推奨されるリスン ポート (トラフィックの送信先のポートではなくリスン専用)。

  • メンバー -- 特定の仮想サーバがトラフィックを送信するマシン名およびポート。推奨されるロード バランシングの方法はラウンドロビンです。

  • 転送 -- 通信に使用される転送メカニズム (TCP または UDP)。

  • モニタ -- ヘルス モニタを HTTP または SIP に設定して、使用できないノードを検出することができます。

  • 外部/内部 -- 外部または内部を選択します。外部の場合は、外部クライアントからこの仮想ホストおよびポートにアクセスできるようにする必要があります。

5.3.3.5.5 永続性

LBR_SVC 仮想サーバについてのみ永続性をコンフィグレーションします。これにより、既存のクライアントは同じホストに転送されます。アクティブなクッキー ベースのメカニズムが推奨されます。

5.3.3.6 サーバの起動

サーバは次の順序で起動する必要があります。

  1. マシン 1 で、次に示すように、wlcs_sipinfra ドメインおよび wlcs_services ドメインの管理サーバを起動します。

    • wlcs_sipinfra domains/wlcs_sipinfra/startWeblogic.sh

    • wlcs_services domains/wlcs_services/startWeblogic.sh

  2. マシン 2 で、次に示すように、wlcs_presence ドメインの管理サーバを起動します。

    • domains/wlcs_presence/startWeblogic.sh

  3. マシン 1 で、wlcs_sipinfrastate1 domains/wlcs_sipinfra/bin/startManagedWeblogic.sh wlcs_sipinfrastate1 を起動します。

  4. マシン 2 で、wlcs_sipinfrastate2 domains/wlcs_sipinfra/bin/startManagedWeblogic.sh wlcs_sipinfrastate2 <マシン 1 のホスト名:7001> を起動します。

  5. マシン 1 で、次に示すように、すべてのエンジンを起動します。

    • wlcs_sipinfra1 domains/wlcs_sipinfra/bin/startManagedWeblogic.sh wlcs_sipinfra1

    • wlcs_services1 domains/wlcs_services/startManagedWeblogic.sh wlcs_services1

    • wlcs_presence1 domains/wlcs_presence/startManagedWeblogic.sh wlcs_presence1 <マシン 2 のホスト名:7003>

  6. マシン 2 で、次に示すように、すべてのエンジンを起動します。

    • wlcs_sipinfra2 domains/wlcs_sipinfra/startManagedWeblogic.sh wlcs_sipinfra2 <マシン 1 のホスト名:7001>

    • wlcs_services2 domains/wlcs_services/startManagedWeblogic.sh wlcs_services2 <マシン 1 のホスト名:7002>

    • wlcs_presence2 domains/wlcs_presence/startManagedWeblogic.sh wlcs_presence2

<Server started in RUNNING mode>」というコンソール出力が表示されたら、プロセスは完了です。


注意 :

プロダクション モードで JRockit を使用している場合 (顧客環境) は、管理サーバと管理対象サーバの両方を起動するときに資格を入力する必要があります。


注意 :

OWLCS は、example.com というレルムであらかじめコンフィグレーションされています。レルムを別の値に変更する場合は、節 5.3.3.7「example.com からのレルムの変更」を参照してください。

5.3.3.7 example.com からのレルムの変更

用意されているサンプルのレルム (example.com) は、実行するデプロイメントのレルムとドメインを反映するように変更する必要があります。以下の変更をレルムとドメインに対して行ってください。

  • SIP Server

    1. wlcs_sipinfra domain を管理するための Administration Console にログインします。wlcs_sipinfra ドメイン用の Administration Console は、http://<マシンのホスト 1>:7001/console にあります。

    2. 左側のナビゲーション ペインにある [SipServer] リンクをクリックします。

    3. [コンフィグレーション|全般] タブで、[ドメイン エリアス:] までスクロールして、選択するレルム (例 : myrealm.com) を入力します。

  • ダイジェスト認証

    1. wlcs_sipinfra domain の Administration Console にログインします。Administration Console には http://<マシン 1 のホスト>:7001/console からアクセスできます。

    2. 左側のナビゲーション ペインにある [Security Realms] をクリックします。

    3. [myRealm] をクリックします。

    4. [プロバイダ] タブをクリックします。

    5. [DigestIdentityAsserter] をクリックします。

    6. [Provider Specific] タブをクリックします。

    7. DigestRealmName 属性までスクロールして、適切なレルム (例 : myrealm.com) を選択します。


    注意 :

    wlcs_services ドメインと wlcs_presence ドメインについて、上記の手順 1 ~ 7 を繰り返します。wlcs_services ドメインの Admin Console には http://<マシン 1 のホスト>:7002/consolewlcs_presence ドメインの Admin Console には http://<マシン 2 のホスト>:7003/console からアクセスできます。

  • Aggregation Proxy のレルム

    1. 節 5.3.5「UNIX で MBean を変更するための JConsole の起動」の手順に従って、マシン 1 で次のパラメータを使用して JConsole を起動します。

      $DOMAIN_HOME : wlcs_sipinfra ドメイン ディレクトリの絶対パス。
      

      次に例を示します。

      $MW_HOME/user_projects/domains/wlcs_sipinfra/
      <管理サーバ ホスト> : マシン 1 のホスト名
      <管理サーバ ポート> : wlcs_sipinfra ドメインの管理サーバのリスン ポート
      

      このガイドの例では、<管理サーバ ポート> は 7001 です。

    2. [MBeans] タブをクリックします。

    3. oracle.sdp.presence ノードを展開します。

    4. oracle.sdp.presence の下にあるサブツリーで、AggregationProxy ノードを展開します。

    5. AggregationProxy の下にあるサブツリーで、AggregationProxy ノードを展開します。

    6. AggregationProxy の下にあるサブツリーで、wlcs_sipinfra1wlcs_sipinfra2 を展開します。

    7. wlcs_sipinfra1 の下にあるサブツリーで、AggregationProxy ノードを展開します。

    8. wlcs_sipinfra2 の下にあるサブツリーについても同じ操作を繰り返します。

    9. AggregationProxy の下にあるサブツリーで、wlcs_sipinfra1 ノードの下にある Attributes ノードを展開します。wlcs_sipinfra2 の下にあるサブツリーについても同じ操作を繰り返します。

    10. Attributes の下にあるサブツリーで、次の属性を変更します。

      Realm = <企業名>

    11. wlcs_sipinfra2 の下にあるサブツリーについても同じ操作を繰り返します。

  • Third-Party Call Control のための P アサートされた ID URI

    1. UNIX で MBean を変更するための JConsole の起動」の手順に従って、マシン 1 で次のパラメータを使用して JConsole を起動します。

      $DOMAIN_HOME : wlcs_sipinfra ドメイン ディレクトリの絶対パス。
      

      次に例を示します。

      $MW_HOME/user_projects/domains/wlcs_sipinfra/
      <管理サーバ ホスト> : マシン 1 のホスト名
      <管理サーバ ポート> : wlcs_sipinfra ドメインの管理サーバのリスン ポート
      

      このガイドの例では、<管理サーバ ポート> は 700 です。

    2. [MBeans] タブをクリックします。

    3. oracle.sdp.thirdpartycall ノードを展開します。

    4. oracle.sdp.thirdpartycall の下にあるサブツリーで、ThirdPartyCall ノードを展開します。

    5. ThirdPartyCall の下にあるサブツリーで、wlcs_sipinfra1wlcs_sipinfra2 を展開します。

    6. wlcs_sipinfra1 の下にあるサブツリーで、ThirdPartyCall ノードを展開します。

    7. wlcs_sipinfra2 の下にあるサブツリーについても同じ操作を繰り返します。

    8. ThirdPartyCall の下にあるサブツリーで、wlcs_sipinfra1 ノードの下にある Attributes ノードを展開します。wlcs_sipinfra2 の下にあるサブツリーについても同じ操作を繰り返します。

    9. Attributes の下にあるサブツリーで、次の属性を変更します。

      PAssertedIdentityURI=sip:tpcc.user@<企業名>

    10. wlcs_sipinfra2 の下にあるサブツリーについても同じ操作を繰り返します。

5.3.3.8 Oracle WebLogic Communication Services のコンフィグレーション

以下の手順は、Oracle WebLogic Communication Services のコンフィグレーションを示しています。

5.3.3.8.1 デフォルト アプリケーション ルータ (DAR) のコンフィグレーション

デフォルト アプリケーション ルータ (DAR) をコンフィグレーションするには、次の手順に従います。

wlcs_sipinfra の DAR のコンフィグレーション

wlcs_sipinfra の DAR をコンフィグレーションするには、次の手順に従います。

  1. wlcs_sipinfra ドメインに対応する管理サーバのコンソール アプリケーションをブラウザで開きます。次に例を示します。

    http://<マシン 1 のホスト>:7001/console

  2. 左側の [Domain Structure] ナビゲーション ペインで、[SIP サーバ] をクリックします。

  3. [アプリケーション ルータ] タブをクリックします。

  4. プロダクション モードでインストールを行った場合は、[Lock & edit] ボタンをクリックして変更を行います。

  5. [AR コンフィグレーション データ] フィールドに以下の行を追加します。

    PUBLISH: ("authproxy", "DAR:From", "TERMINATING", "", "NO_ROUTE", "0"), ("userdispatcher", "DAR:From", "TERMINATING", "sip:127.0.0.1:5070;transport=TCP;lr", "ROUTE", "1")
    SUBSCRIBE: ("authproxy", "DAR:From", "TERMINATING", "", "NO_ROUTE", "0"), ("userdispatcher", "DAR:From", "TERMINATING", "sip:127.0.0.1:5070;transport=TCP;lr", "ROUTE", "1")
    REGISTER: ("proxyregistrar", "DAR:From", "TERMINATING", "", "NO_ROUTE", "0")
    
  6. [Save] をクリックします。

  7. プロダクション モードでインストールを行った場合は、変更の完了後に [Activate Changes] をクリックします。

wlcs_services の DAR のコンフィグレーション

wlcs_services の DAR をコンフィグレーションするには、次の手順に従います。

  1. wlcs_services ドメインに対応する管理サーバのコンソール アプリケーションをブラウザで開きます。次に例を示します。

    http://<マシン 1 のホスト>:7002/console

  2. 左側の [Domain Structure] ナビゲーション ペインで、[SIP サーバ] をクリックします。

  3. [アプリケーション ルータ] タブをクリックします。

  4. プロダクション モードでインストールを行った場合は、[Lock & edit] ボタンをクリックして変更を行います。

  5. 既存の AR コンフィグレーション データを削除して、[AR コンフィグレーション データ] フィールドに以下の行を追加します。

    PUBLISH: ("userdispatcher", "DAR:From", "TERMINATING", "", "NO_ROUTE", "0")
    SUBSCRIBE: ("userdispatcher", "DAR:From", "TERMINATING", "", "NO_ROUTE", "0)
    
  6. [Save] をクリックします。

  7. プロダクション モードでインストールを行った場合は、変更の完了後に [Activate Changes] をクリックします。

wlcs_presence の DAR のコンフィグレーション

wlcs_presence の DAR をコンフィグレーションするには、次の手順に従います。

  1. wlcs_presence ドメインに対応する管理サーバのコンソール アプリケーションをブラウザで開きます。次に例を示します。

    http://<マシン 2 のホスト>:7003/console

  2. 左側の [Domain Structure] ナビゲーション ペインで、[SIP サーバ] をクリックします。

  3. [アプリケーション ルータ] タブをクリックします。

  4. プロダクション モードでインストールを行った場合は、[Lock & edit] ボタンをクリックして変更を行います。

  5. 既存の AR コンフィグレーション データを削除して、[AR コンフィグレーション データ] フィールドに以下の行を追加します。

    OPTIONS: ("optionsresponder", "DAR:From", "TERMINATING", "", "NO_ROUTE", "0")
    PUBLISH: ("presence", "DAR:From", "TERMINATING", "", "NO_ROUTE", "0")
    SUBSCRIBE:  ("presence", "DAR:From", "TERMINATING", "", "NO_ROUTE", "0")
    
  6. [Save] をクリックします。

  7. プロダクション モードでインストールを行った場合は、変更の完了後に [Activate Changes] をクリックします。

5.3.3.8.2 XCAP のコンフィグレーション

XCAP をコンフィグレーションするには、次の手順に従います。

  1. 節 5.3.5「UNIX で MBean を変更するための JConsole の起動」の手順に従って、マシン 2 で次のパラメータを使用して JConsole を起動します。

    $DOMAIN_HOME : wlcs_presence ドメイン ディレクトリの絶対パス。例 : $MW_HOME/user_projects/domains/wlcs_presence/
    <管理サーバ ホスト> : マシン 1 のホスト名
    <管理サーバ ポート>: wlcs_presence ドメインの管理サーバのリスン ポート
    

    このガイドの例では、<管理サーバ ポート> は 7003 です。

  2. [MBeans] タブをクリックします。

  3. oracle.sdp.presence ノードを展開します。

  4. oracle.sdp.presence の下にあるサブツリーで、XDMS ノードを展開します。

  5. XDMS の下にあるサブツリーで、XCAPConfig を展開します。

  6. XCAPConfig の下にあるサブツリーで、wlcs_presence1wlcs_presence2 を展開します。

  7. wlcs_presence1 の下にあるサブツリーで、XCAPConfig ノードを展開します。wlcs_presence2 の下にあるサブツリーについても同じ操作を繰り返します。

  8. XCAPConfig の下にあるサブツリーで、wlcs_presence1 ノードの下にある Attributes ノードを展開します。wlcs_presence2 の下にあるサブツリーについても同じ操作を繰り返します。

  9. Attributes の下にあるサブツリーで、PublicXCAPRootUrl をクリックして値を次のように変更します。

    http://<wlcs_services を参照するロード バランサの HTTP プール>/userdispatcher
    

    <wlcs_services を参照するロード バランサの HTTP プール> の名前は、表 5-3 の一覧から派生します。

  10. wlcs_presence2 の下にあるサブツリーについても同じ操作を繰り返します。

  11. Attributes の下にあるサブツリーで、PublicContentServerRootUrl をクリックして値を次のように変更します。

    http://<wlcs_services を参照するロード バランサの HTTP プール>/userdispatcher
    
  12. wlcs_presence2 の下にあるサブツリーについても同じ操作を繰り返します。

5.3.3.8.3 Presence のコンフィグレーション

Presence をコンフィグレーションするには、次の手順に従います。

  1. 節 5.3.5「UNIX で MBean を変更するための JConsole の起動」の手順に従って、マシン 2 で次のパラメータを使用して JConsole を起動します。

    $DOMAIN_HOME : wlcs_presence ドメイン ディレクトリの絶対パス。例 : $MW_HOME/user_projects/domains/wlcs_presence/
    <管理サーバ ホスト> : マシン 1 のホスト名
    <管理サーバ ポート>: wlcs_presence ドメインの管理サーバのリスン ポート
    
    
    

    このガイドの例では、<管理サーバ ポート> は 7003 です。

  2. [MBeans] タブをクリックします。

  3. oracle.sdp.presence ノードを展開します。

  4. oracle.sdp.presence の下にあるサブツリーで、Presence ノードを展開します。

  5. Presence の下にあるサブツリーで、Presence ノードを展開します。

  6. Presence の下にあるサブツリーで、wlcs_presence1wlcs_presence2 を展開します。

  7. wlcs_presence1 の下にあるサブツリーで、Presence ノードを展開します。wlcs_presence2 の下にあるサブツリーについても同じ操作を繰り返します。

  8. XCAPConfig の下にあるサブツリーで、wlcs_presence1 ノードの下にある Attributes ノードを展開します。wlcs_presence2 の下にあるサブツリーについても同じ操作を繰り返します。

  9. Attributes の下にあるサブツリーで、PresRulesXCAPUri をクリックして値を次のように変更します。

    sip:<ロード バランサのプレゼンスの SIP プール>;transport=TCP;lr
    

    <ロード バランサのプレゼンスの SIP プール> の名前は、表 5-3 の一覧から派生します。

  10. wlcs_presence2 の下にあるサブツリーについても同じ操作を繰り返します。

  11. Attributes の下にあるサブツリーで、PIDFManipulationXCAPUri をクリックして値を次のように変更します。

    sip:<ロード バランサのプレゼンスの SIP プール>;transport=TCP;lr
    

    <ロード バランサのプレゼンスの SIP プール> の名前は、表 5-3 の一覧から派生します。

  12. wlcs_presence2 の下にあるサブツリーについても同じ操作を繰り返します。

5.3.3.8.4 Aggregation Proxy のコンフィグレーション

Aggregation Proxy をコンフィグレーションするには、次の手順に従います。

  1. 節 5.3.5「UNIX で MBean を変更するための JConsole の起動」の手順に従って、マシン 1 で次のパラメータを使用して JConsole を起動します。

    $DOMAIN_HOME : wlcs_sipinfra ドメイン ディレクトリの絶対パス。例 : $MW_HOME/user_projects/domains/wlcs_sipinfra/
    <管理サーバ ホスト> : マシン 1 のホスト名
    <管理サーバ ポート>: wlcs_sipinfra ドメインの管理サーバのリスン ポート
    

    このガイドの例では、<管理サーバ ポート> は 7001 です。

  2. [MBeans] タブをクリックします。

  3. oracle.sdp.presence ノードを展開します。

  4. oracle.sdp.presence の下にあるサブツリーで、Aggregation Proxy ノードを展開します。

  5. Aggregation Proxy の下にあるサブツリーで、Aggregation Proxy を展開します。

  6. Presence の下にあるサブツリーで、wlcs_sipinfra1wlcs_sipinfra2 を展開します。

  7. wlcs_sipinfra1 の下にあるサブツリーで、Aggregation Proxy ノードを展開します。wlcs_sipinfra2 の下にあるサブツリーについても同じ操作を繰り返します。

  8. Aggregation Proxy の下にあるサブツリーで、wlcs_sipinfra1 ノードの下にある Attributes ノードを展開します。wlcs_sipinfra2 の下にあるサブツリーについても同じ操作を繰り返します。

  9. Attributes の下にあるサブツリーで、次の属性を変更します。

    XCAPHost: 127.0.0.1
    XCAPPort: 8011 (http listening port of wlcs_services1(2) managed servers)
    XCAPRoot: /userdispatcher
    ContentHost: 127.0.0.1
    ContentPort: 8011 (http listening port of wlcs_services1(2) managed servers)
    ContentRoot: /userdispatcher
    
  10. wlcs_sipinfra2 の下にあるサブツリーについても同じ操作を繰り返します。

5.3.3.8.5 Web サービス

Web サービスをコンフィグレーションするには、次の手順に従います。

  1. 節 5.3.5「UNIX で MBean を変更するための JConsole の起動」の手順に従って、マシン 1 で次のパラメータを使用して JConsole を起動します。

    $DOMAIN_HOME : wlcs_services ドメイン ディレクトリの絶対パス。例 : $MW_HOME/user_projects/domains/wlcs_services/
    <管理サーバ ホスト> : マシン 1 のホスト名
    <管理サーバ ポート>: wlcs_services ドメインの管理サーバのリスン ポート
    
    
    

    このガイドの例では、<管理サーバ ポート> は 7002 です。

  2. [MBeans] タブをクリックします。

  3. oracle.sdp.presence ノードを展開します。

  4. oracle.sdp.presence の下にあるサブツリーで、PresenceWebService ノードを展開します。

  5. PresenceWebService の下にあるサブツリーで、PresenceConsumerWebService を展開します。

  6. Presence の下にあるサブツリーで、wlcs_presence1wlcs_presence2 を展開します。

  7. wlcs_presence1 の下にあるサブツリーで、PresenceConsumerWebService ノードを展開します。wlcs_presence2 の下にあるサブツリーについても同じ操作を繰り返します。

  8. PresenceConsumerWebService の下にあるサブツリーで、wlcs_presence1 ノードの下にある Attributes ノードを展開します。wlcs_presence2 の下にあるサブツリーについても同じ操作を繰り返します。

  9. Attributes の下にあるサブツリーで、次の変更を行います。

    SIPOutboundProxy: sip:127.0.0.1:5070;transport=TCP;lr
    
  10. wlcs_presence2 の下にあるサブツリーについても同じ操作を繰り返します。

  11. PresenceWebService の下にあるサブツリーで、PresenceSupplierWebService を展開します。

  12. PresenceSupplierWebService の下にあるサブツリーで、wlcs_presence1wlcs_presence2 を展開します。

  13. wlcs_presence1 の下にあるサブツリーで、PresenceSupplierWebService ノードを展開します。wlcs_presence2 の下にあるサブツリーについても同じ操作を繰り返します。

  14. PresenceConsumerWebService の下にあるサブツリーで、wlcs_presence1 ノードの下にある Attributes ノードを展開します。wlcs_presence2 の下にあるサブツリーについても同じ操作を繰り返します。

  15. Attributes の下にあるサブツリーで、次の属性を変更します。

    SIPOutboundProxy: sip:127.0.0.1:5070;transport=TCP;lr
    PublicXCAPRootUrl: http://127.0.0.1:8011/userdispatcher/
    
  16. wlcs_presence2 の下にあるサブツリーについても同じ操作を繰り返します。

5.3.3.8.6 User Dispatcher のコンフィグレーション

User Dispatcher をコンフィグレーションするには、次の手順に従います。

  1. wlcs_services サーバ (wlcs_services ドメイン、wlcs_services1、wlcs_services2 の管理サーバ) をすべて停止します。

  2. マシン 1 で、$MW_HOME/user_projects/domains/wlcs_services/config/communications/userdispatcher に移動します。

  3. このディレクトリにある 3 つのファイルを以下のように編集します。

    • presence-pool.xml

      <attribute name="Servers" type="java.util.List">
       sip:<wlcs_presence1 インスタンスの IP アドレス>:<wlcs_presence1 の SIP ポート>;transport=TCP;lr,
       sip:<wlcs_presence2 インスタンスの IP アドレス>:<wlcs_presence2 の SIP ポート>;transport=TCP;lr
      </attribute>
      
    • xdm-http-pool.xml

      <attribute name="Servers" type="java.util.List">
       http:<wlcs_presence1 インスタンスの IP アドレス>:<wlcs_presence1 の HTTP ポート>/services,
       http:<wlcs_presence2 の IP アドレス>:<wlcs_presence2 の HTTP ポート>/services
      </attribute>
      
    • xdm-sip-pool.xml

      <attribute name="Servers" type="java.util.List">
       sip:<wlcs_presence1 インスタンスの IP アドレス>:<wlcs_presence1 の SIP ポート>;transport=TCP;lr,
       sip:<wlcs_presence2 インスタンスの IP アドレス>:<wlcs_presence2 の SIP ポート>;transport=TCP;lr
      </attribute>
      
  4. wlcs_services サーバを再起動します。

5.3.3.9 テスト ユーザのプロビジョニング

インストールが成功したかどうかを確認するには、いくつかのテスト ユーザを作成し、Oracle Communicator を使用して OWLCS をテストする必要があります。

  1. マシン 1 で sash を起動します。

    • UNIX : $DOMAIN_HOME/bin/launch_sash.sh -p 8001

    • Windows : $DOMAIN_HOME/bin/launch_sash.cmd -p 8001


      注意 :

      $DOMAIN_HOME は任意のドメイン ホーム (wlcs_sipinfrawlcs_serviceswlcs_presence) です。デフォルトでは、wlcs_sipinfra1 または 2 の管理対象サーバはポート 8001 を使用します。他のポートをコンフィグレーションしている場合は、代わりにそのポートを使用してください。

  2. 次のコマンドを実行してユーザをプロビジョニングします。alice はユーザ名に置き換え、example.com は使用するレルム (例 : yourcompany.com) に置き換えてください。

    identity add privateId=alice publicId=sip:alice@yourcompany.com role="Location Service" realm=yourcompany.com password=welcome1

5.3.4 インストールのテスト

インストールをテストするには、次の手順に従います。

  1. Oracle Communicator を Windows マシンにダウンロードします。

  2. ダウンロードした EXE ファイルを実行して Oracle Communicator をインストールします。

  3. 前述の手順に従って OWLCS でテスト ユーザをプロビジョニングします (例 : sip:alice@yourcompany.com)。

  4. sip:alice@yourcompany.com 用の Oracle Communicator アカウントを作成します。

  5. Oracle Communicator にログインします。ログイン ポップアップが表示されたら、無視してください。

  6. 左上にあるメニュー ボタン ([Settings]) をクリックします。

  7. [Preferences] を選択します。

  8. [Network] タブをクリックします。

  9. [Use a proxy server] をチェックして、[アドレス] フィールドにロード バランサのホストの標準名を入力します。

  10. [XDMS Host] についても同じ操作を行います。XDMS ポートがロード バランサ http プールの HTTP リスン ポートであることを確認してください。

  11. [OK] をクリックします。

  12. Oracle Communicator を再起動してログインします。

  13. 以前に選択したユーザ名とパスワードを入力します。[Presence] ステータスを登録および変更できる場合、インストールは成功です。

別のユーザのアカウントを同様に作成し、そのユーザをメンバーとして最初のユーザに追加できます。User1 が User2 にインスタント メッセージを送信したり、互いのプレゼンスを確認したりできます。

5.3.5 UNIX で MBean を変更するための JConsole の起動

JConsole を起動して、この章で説明されている変更を行うには、次の手順に従います。

  1. ターミナル ウィンドウで「bash」と入力して bash シェルに変更します。

  2. source $DOMAIN_HOME/bin/setDomainEnv.sh

  3. 次のように入力して JConsole を起動します。JAVA_HOMEJDK 1.6 を指します。

    $JAVA_HOME/bin/jconsole -J-Djava.class.path=$JAVA_HOME/lib/jconsole.jar:$JAVA_HOME/lib/tools.jar:$WLS_HOME/lib/wljmxclient.jar -J-Djmx.remote.protocol.provider.pkgs=weblogic.management.mbeanservers.domainruntime
    
  4. [Remote Process] をクリックします。

  5. IIOP が有効であることを確認し、IIOP 経由で管理サーバに接続するためのユーザ名とパスワードをコンフィグレーションします。次のように指定します。

    1. コンソールの起動 : http://<管理サーバ ホスト>:<管理サーバ ポート>/console

    2. コンソールへのログイン : 管理サーバのユーザ名とパスワードを入力

  6. 左側の [Domain Structure] ペインの [Environment] にあるツリーを展開します。[サーバ] をクリックします。

  7. [Admin Server] をクリックします。

  8. [Protocols] タブを選択します。

  9. [IIOP] タブを選択します。

  10. [Enable IIOP] がチェックされていることを確認します。

  11. [Advanced] リンクをクリックして [Advanced] のオプションを展開します。

  12. デフォルトの IIOP ユーザ名は <管理サーバのユーザ名> です。

  13. デフォルトの IIOP パスワードは <管理サーバのパスワード> です。

  14. デフォルトの IIOP パスワードである <管理サーバのパスワード> を確認のためにもう一度入力します。

  15. [Save] ボタンをクリックします。

    (プロダクション モードの場合) 左上にある [Activate Changes] ボタンをクリックします。

  16. 管理サーバおよび対応する管理対象サーバを再起動します。

  17. 次の接続文字列を使用して、ドメインのランタイム MBean サーバに接続します。

    service:jmx:rmi:///jndi/iiop://<管理サーバ ホスト>:<管理サーバ ポート>/weblogic.management.mbeanservers.domainruntime
    
  18. 管理サーバに接続するためのユーザ名とパスワードを入力します。

5.3.6 ロギング

すべてのログは、$MW_HOME/user_projects/domains/<ドメイン>/servers/<サーバ>/logs/<サーバ名>-diagnostic.log にある 1 つのファイルに (サーバごとに) 書き込まれます。

5.4 OWLCS コンポーネントのアンインストール

Windows で一部またはすべてのコンポーネントをアンインストールするには :

  1. [スタート|すべてのプログラム|Oracle WebLogic Communication Services 11g Home 1|Uninstall] を選択します。[ようこそ] 画面が表示されます。

  2. [次へ] をクリックします。

  3. アンインストールするコンポーネントを選択します。

  4. [次へ] をクリックします。これでアンインストールが完了します。

  5. [完了] をクリックします。

UNIX で一部またはすべてのコンポーネントをアンインストールするには :

  1. 次のスクリプトを実行します。

    ./MW_HOME/wlserver_10.3/uninstall/uninstall.sh
    
  2. アンインストール ウィザードの指示に従います。

  3. MW_HOME ディレクトリを手動で削除します。

    rm -rf MW_HOME