This chapter describes how to use fault handling in a BPEL process. Fault handling allows a BPEL process service component to handle error messages or other exceptions returned by outside web services, and to generate error messages in response to business or runtime faults. You can also define a fault management framework to catch faults and perform user-specified actions defined in a fault policy file.
This chapter includes the following sections:
Section 11.6, "Getting Fault Details with the getFaultAsString XPath Extension Function"
Section 11.10, "Using a Scope Activity to Manage a Group of Activities"
Section 11.11, "Re-executing Activities in a Scope Activity with the Replay Activity"
Section 11.12, "Using Compensation After Undoing a Series of Operations"
For additional information on creating fault handling in a SOA composite application, see the Fusion Order Demo application.
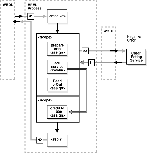
Fault handlers define how the BPEL process service component responds when web services return data other than what is normally expected (for example, returning an error message instead of a number). An example of a fault handler is where the web service normally returns a credit rating number, but instead returns a negative credit message.
Figure 11-1 provides an example of how a fault handler sets a credit rating variable to -1000.
The code segment in Example 11-1 defines the fault handler for this operation in the BPEL file:
Example 11-1 Fault Handler Definition
<faultHandlers>
<catch faultName="services:NegativeCredit" faultVariable="crError">
<assign name="crin">
<copy>
<from expression="-1000">
</from>
<to variable="input" part="payload"
query="/autoloan:loanApplication/autoloan:creditRating"/>
</copy>
</assign>
</catch>
</faultHandlers>
The faultHandlers tag contains the fault handling code. Within the fault handler is a catch activity, which defines the fault name and variable, and the copy instruction that sets the creditRating variable to -1000.
When you select web services for the BPEL process service component, determine the possible faults that may be returned and set up a fault handler for each one.
This section identifies the standard faults for BPEL 1.1 and BPEL 2.0.
This section identifies the standard faults for BPEL 1.1. Unless otherwise noted below, the Business Process Execution Language for Web Services Specification defines the following standard faults in the namespace of http://schemas.xmlsoap.org/ws/2003/03/business-process/:
bindingFault (BPEL extension fault defined in http://schemas.oracle.com/bpel/extension)
conflictingReceive
conflictingRequest
correlationViolation
forcedTermination
invalidReply
joinFailure
mismatchedAssignmentFailure
remoteFault (BPEL extension fault defined in http://schemas.oracle.com/bpel/extension)
repeatedCompensation
selectionFailure
uninitializedVariable
Standard faults are defined as follows:
Typeless, meaning they do not have associated messageTypes
Not associated with any Web Services Description Language (WSDL) message
Caught without a fault variable:
<catch faultName="bpws:selectionFailure">
The following list specifies the standard faults defined within the WS-BPEL specification. All standard fault names are qualified with the standard WS-BPEL namespace.
ambiguousReceive
completionConditionFailure
conflictingReceive
conflictingRequest
correlationViolation
invalidBranchCondition
invalidExpressionValue
invalidVariables
joinFailure
mismatchedAssignmentFailure
missingReply
missingRequest
scopeInitializationFailure
selectionFailure
subLanguageExecutionFault
uninitializedPartnerRole
uninitializedVariable
unsupportedReference
xsltInvalidSource
xsltStylesheetNotFound
In BPEL 2.0, the order of precedence for catching faults thrown without associated data is as follows:
If there is a catch activity with a matching faultName value that does not specify a faultVariable attribute, the fault is sent to the identified catch activity.
Otherwise, if there is a catchAll activity, the fault is sent to the catchAll fault handler.
Otherwise, the fault is processed by the default fault handler.
In BPEL 2.0, the order of precedence for catching faults thrown with associated data is as follows:
If there is a catch activity with a matching faultName value that does not specify a faultVariable attribute, the fault is sent to the identified catch activity.
If the fault data is a WSDL message type in which the following exists:
The message contains a single part defined by an element.
There exists a catch activity with a matching faultName value that has a faultVariable whose associated faultElement QName matches the QName of the runtime element data of the single WSDL message part.
Then, the fault is sent to the identified catch activity with the faultVariable initialized to the value in the single part's element.
Otherwise, if there is a catch activity with a matching faultName value that does not specify a faultVariable attribute, the fault is sent to the identified catch activity. In this case, the fault value is not available from within the fault handler, but is available to the rethrow activity.
Otherwise, if there is a catch construct without a faultName attribute that has a faultVariable whose type matches the type of the runtime fault data, then the fault is sent to the identified catch activity.
Otherwise, if the fault data is a WSDL message type in which the message contains a single part defined by an element and there exists a catch activity without a faultName attribute that has a faultVariable whose associated faultElement's QName matches the QName of the runtime element data of the single WSDL message part, the fault is sent to the identified catch activity with the faultVariable initialized to the value in the single part's element.
Otherwise, if there is a catchAll activity, the fault is sent to the catchAll fault handler.
Otherwise, the fault is handled by the default fault handler.
A BPEL fault has a fault name called a Qname (name qualified with a namespace) and a possible messageType. There are two categories of BPEL faults:
Business faults
Runtime faults
Business faults are application-specific faults that are generated when there is a problem with the information being processed (for example, when a social security number is not found in the database). A business fault occurs when an application executes a throw activity or when an invoke activity receives a fault as a response. The fault name of a business fault is specified by the BPEL process service component. The messageType, if applicable, is defined in the WSDL. A business fault can be caught with a faultHandler using the faultName and a faultVariable.
<catch faultName="ns1:faultName" faultVariable="varName">
Runtime faults are the result of problems within the running of the BPEL process service component or web service (for example, data cannot be copied properly because the variable name is incorrect). These faults are not user-defined, and are thrown by the system. They are generated if the process tries to use a value incorrectly, a logic error occurs (such as an endless loop), a Simple Object Access Protocol (SOAP) fault occurs in a SOAP call, an exception is thrown by the server, and so on.
Several runtime faults are automatically provided. These faults are included in the http://schemas.oracle.com/bpel/extension namespace. These faults are associated with the messageType RuntimeFaultMessage. The WSDL file shown in Example 11-2 defines the messageType:
Example 11-2 messageType Definition
<?xml version="1.0" encoding="UTF-8" ?> <definitions name="RuntimeFault" targetNamespace="http://schemas.oracle.com/bpel/extension" xmlns:xsd="http://www.w3.org/2001/XMLSchema" xmlns="http://schemas.xmlsoap.org/wsdl/"> <message name="RuntimeFaultMessage"> <part name="code" type="xsd:string" /> <part name="summary" type="xsd:string" /> <part name="detail" type="xsd:string" /> </message> </definitions>
If a faultVariable (of messageType RuntimeFaultMessage) is used when catching the fault, the fault code can be queried from the faultVariable, along with the fault summary and detail.
A bindingFault is thrown inside an activity if the preparation of the invocation fails. For example, the WSDL of the process fails to load. A bindingFault is not retryable. This type of fault usually must be fixed by human intervention.
A remoteFault is also thrown inside an activity. It is thrown because the invocation fails. For example, a SOAP fault is returned by the remote service.
Oracle SOA Suite provides a generic fault management framework for handling faults in BPEL processes. If a fault occurs during runtime in an invoke activity in a process, the framework catches the fault and performs a user-specified action defined in a fault policy file associated with the activity. If a fault results in a condition in which human intervention is the prescribed action, you perform recovery actions from Oracle Enterprise Manager Fusion Middleware Control Console. The fault management framework provides an alternative to designing a BPEL process with catch activities in scope activities.
This section provides an overview of the components that comprise the fault management framework.
The fault management framework catches all faults (business and runtime) for an invoke activity.
A fault policy file defines fault conditions and their corresponding fault recovery actions. Each fault condition specifies a particular fault or group of faults, which it attempts to handle, and the corresponding action for it. A set of actions is identified by an ID in the fault policy file.
A set of conditions invokes an action (known as fault policy).
A fault policy bindings file associates the policies defined in the fault policy file with the following:
SOA composite applications
BPEL process and Oracle Mediator service components
Reference binding components for BPEL process and Oracle Mediator service components
The framework looks for fault policy bindings in the same directory as the composite.xml file of the SOA composite application or in a remote location identified by two properties that you set.
Note:
A fault policy configured with the fault management framework overrides any fault handling defined in catch activities of scope activities in the BPEL process. The fault management framework can be configured to rethrow the fault handling back to the catch activities.The fault policy file (fault-policies.xml) and fault policy bindings file (fault-bindings.xml) are placed in either of the following locations:
In the same directory as the composite.xml file of the SOA composite application.
In a different location that is specified with two properties that you add to the composite.xml file. This option is useful if a fault policy must be used by multiple SOA composite applications. This option overrides any fault policy files that are included in the same directory as the composite.xml file. Example 11-3 provides details about these two properties. In this example, the fault policy files are placed into the SOA Metadata Service (MDS) shared area.
See Chapter 22, "Using Oracle Mediator Error Handling" for details about Oracle Mediator fault handling capabilities.
This section describes how to design a fault policy.
Note:
The Facades API enables you to programmatically perform the abort, retry (with a success action), continue, rethrow, and replay recovery options. For information, see Oracle Fusion Middleware Infrastructure Management Java API Reference for Oracle SOA Suite.A fault policy bindings file associates the policies defined in a fault policy file with the SOA composite application or the component (service component or reference binding component). The framework attempts to identify a fault policy binding in the following order:
Reference binding component defined in the composite.xml file.
BPEL process or Oracle Mediator service component defined in the composite.xml file.
SOA composite application defined in the composite.xml file.
During the resolution process, if no action is found that matches the condition, the framework assumes that resolution failed and moves to the next resolution level.
For example, assume an invoke activity faults with faultname="abc". There is a policy binding specified in the fault-binding.xml file:
SOA composite application binds to policy-id-1
BPEL process or Oracle Mediator service component or reference binding component binds to policy-id-2
In the fault-bindings.xml file, the following bindings are also specified:
SOA composite application binds to policy-id-3
Reference binding component or service component binds to policy-id-4
The fault management framework behaves as follows:
First match the resolve binding (in this case, policy-id-2).
If the fault resolution fails, go to the next possible match (policy-id-4).
If the fault resolution fails, go to the next possible match (policy-id-3).
If the fault resolution fails, go to the next possible match (in this case, policy-id-1).
If the fault resolution still fails, the fault is sent to the BPEL fault catch activity.
Create a fault policy file (for example, named fault-policies.xml). This file includes condition and action sections for performing specific tasks.
Place the file in the same directory as the composite.xml file or place it in a different location and define the oracle.composite.faultPolicyFile property. Example 11-4 provides details.
Define the condition section of the fault policy file.
Note the following details about the condition section:
This section provides a condition based on faultName.
Multiple conditions may be configured for a faultName.
Each condition has one test section (an XPath expression) and one action section.
The test section (XPath expression) is evaluated for the fault variable available in the fault.
The action section has a reference to the action defined in the same file.
You can only query the fault variable available in the fault.
The order of condition evaluation is determined by the sequential order in the document.
Table 11-1 provides examples of condition section use in the fault policy file. All actions defined in the condition section must be associated with an action in the action section.
Table 11-1 Use of the condition Section in the Fault Policy File
| Condition Example | Fault Policy File Syntax |
|---|---|
|
This condition is checking a fault variable for An |
<condition> <test>$fault.code="WSDLReading Error" </test> <action ref="ora-terminate"/> </condition> |
|
No |
<condition> <action ref="ora-rethrow"/> </condition> |
|
If the |
<faultName > . . . </faultName> |
Define the action section of the fault policy file. Note that validation of fault policy files is done during deployment. If you change the fault policy, you must redeploy the SOA composite application that includes the fault policy.
Table 11-2 provides several examples of action section use in the fault policy file. You can provide automated recovery actions for some faults. In all recovery actions except retry and human intervention, the framework performs the actions synchronously.
Table 11-2 Use of action Section in the Fault Policy File
| Recovery Actions | Fault Policy File Syntax |
|---|---|
|
Retry: Provides the following actions for retrying the activity.
Note: Exponential back off indicates the next retry attempt is scheduled at |
<Action id="ora-retry">
<Retry>
<retryCount>3</retryCount>
<retryInterval>2</retryInterval>
<exponentialBackoff/>
<retryFailureAction ref="ora-java"/>
<retrySuccessAction ref="ora-java"/>
</Retry>
</Action>
Note the following details:
|
|
Human Intervention: Causes the current activity to stop processing. You can now go to Oracle Enterprise Manager Fusion Middleware Control Console and perform manual recovery actions on this instance. |
<Action id="ora-human-intervention"> <humanIntervention/></Action> |
|
Terminate Process: Terminates the process |
<Action id="ora-terminate"><abort/></Action> |
|
Java Code: Enables you to execute an external Java class.
For additional information, see Section 11.4.3, "How to Use a Java Action Fault Policy." |
<Action id="ora-java">
<!-- this is user provided custom java
class-->
<javaAction className="mypackage.myClass"
defaultAction="ora-terminate">
<returnValue value="REPLAY"
ref="ora-terminate"/>
<returnValue value="RETRHOW"
ref="ora-rethrow-fault"/>
<returnValue value="ABORT"
ref="ora-terminate"/>
<returnValue value="RETRY" ref="ora-retry"/>
<returnValue value="MANUAL"
ref="ora-human-intervention"/>
</javaAction>
</Action>
|
|
Rethrow Fault: The framework sends the fault to the BPEL fault handlers (catch activities in scope activities). If none are available, the fault is sent up. |
<Action id="ora-rethrow-fault"><rethrowFault/></Action> |
|
Replay Scope: Raises a replay fault. |
<Action id="ora-replay-scope"><replayScope/></Action> |
Note:
The preseeded recovery action tag names (ora-retry, ora-human-intervention, ora-terminate, and so on) are only samples. You can substitute these names with ones appropriate to your environment.Example 11-5 shows a fault policy file with fully-defined condition and action sections.
Notes:
Fault policy file names are not restricted to one specific name. However, they must conform to the fault-policy.xsd schema file.
Example 11-5 provides an example of catching faults based on fault names. You can also catch faults based on message types, or on both:
<fault name="myfault" type="fault:faultType">
Example 11-5 Fault Policy File
<?xml version="1.0" encoding="UTF-8"?>
<faultPolicies xmlns="http://schemas.oracle.com/bpel/faultpolicy"
xmlns:xsi="http://www.w3.org/2001/XMLSchema-instance">
<faultPolicy version="0.0.1" id="FusionMidFaults"
xmlns:env="http://schemas.xmlsoap.org/soap/envelope/"
xmlns:xs="http://www.w3.org/2001/XMLSchema"
xmlns="http://schemas.oracle.com/bpel/faultpolicy"
xmlns:xsi="http://www.w3.org/2001/XMLSchema-instance">
<Conditions>
<faultName xmlns:medns="http://schemas.oracle.com/mediator/faults"
name="medns:mediatorFault">
<condition>
<action ref="MediatorJavaAction"/>
</condition>
</faultName>
<faultName xmlns:bpelx="http://schemas.oracle.com/bpel/extension"
name="bpelx:remoteFault">
<condition>
<action ref="BPELJavaAction"/>
</condition>
</faultName>
<faultName xmlns:bpelx="http://schemas.oracle.com/bpel/extension"
name="bpelx:bindingFault">
<condition>
<action ref="BPELJavaAction"/>
</condition>
</faultName>
<faultName xmlns:bpelx="http://schemas.oracle.com/bpel/extension"
name="bpelx:runtimeFault">
<condition>
<action ref="BPELJavaAction"/>
</condition>
</faultName>
</Conditions>
<Actions>
<!-- Generics -->
<Action id="default-terminate">
<abort/>
</Action>
<Action id="default-replay-scope">
<replayScope/>
</Action>
<Action id="default-rethrow-fault">
<rethrowFault/>
</Action>
<Action id="default-human-intervention">
<humanIntervention/>
</Action>
<Action id="MediatorJavaAction">
<!-- this is user provided class-->
<javaAction className="MediatorJavaAction.myClass"
defaultAction="default-terminate">
<returnValue value="MANUAL" ref="default-human-intervention"/>
</javaAction>
</Action>
<Action id="BPELJavaAction">
<!-- this is user provided class-->
<javaAction className="BPELJavaAction.myAnotherClass"
defaultAction="default-terminate">
<returnValue value="MANUAL" ref="default-human-intervention"/>
</javaAction>
</Action>
</Actions>
</faultPolicy>
</faultPolicies>
Note:
The fault policy file binding file must be namedfault-bindings.xml. This conforms to the fault-bindings.xsd schema file.Create a fault policy binding file (fault-bindings.xml) that associates the policies defined in the fault policy file with the level of fault policy binding you are using (either a SOA composite application or a component (reference binding component or BPEL process or Oracle Mediator service component).
Place the file in the same directory as the composite.xml file or place it in a remote location and define the oracle.composite.faultBindingFile property as shown in Step 2 of Section 11.4.1.2, "Creating a Fault Policy File for Automated Fault Recovery."
Example 11-6 shows a fault policy bindings file that associates the fault policies defined in the fault-policies.xml file with the FusionMidFaults SOA composite application.
Example 11-6 fault-buildings.xml File
<?xml version="1.0" encoding="UTF-8" ?>
<faultPolicyBindings version="0.0.1"
xmlns="http://schemas.oracle.com/bpel/faultpolicy"
xmlns:xsi="http://www.w3.org/2001/XMLSchema-instance">
<composite faultPolicy="FusionMidFaults"/>
<!--<composite faultPolicy="ServiceExceptionFaults"/>-->
<!--<composite faultPolicy="GenericSystemFaults"/>-->
</faultPolicyBindings>
This section provides additional samples of fault policy and fault policy binding files. Example 11-7 shows the fault-policies.xml file contents.
Example 11-7 fault-policies.xml File
<?xml version="1.0" encoding="UTF-8"?>
<faultPolicies xmlns="http://schemas.oracle.com/bpel/faultpolicy">
<faultPolicy version="2.0.1"
id="CRM_ServiceFaults"
xmlns:env="http://schemas.xmlsoap.org/soap/envelope/"
xmlns:xs="http://www.w3.org/2001/XMLSchema"
xmlns="http://schemas.oracle.com/bpel/faultpolicy"
xmlns:xsi="http://www.w3.org/2001/XMLSchema-instance">
<Conditions>
<!-- Fault if wsdlRuntimeLocation is not reachable -->
<faultName xmlns:bpelx="http://schemas.oracle.com/bpel/extension"
name="bpelx:remoteFault">
<condition>
<test>$fault.code="WSDLReadingError"</test>
<action ref="ora-terminate"/>
</condition>
<condition>
<action ref="ora-java"/>
</condition>
</faultName>
<!-- Fault if location port is not reachable-->
<faultName xmlns:bpelx="http://schemas.oracle.com/bpel/extension"
name="bpelx:bindingFault">
<!--ORA-00001: unique constraint violated on insert-->
<condition>
<test>$fault.code="1"</test>
<action ref="ora-java"/>
</condition>
<!--ORA-01400: cannot insert NULL -->
<condition>
<test xmlns:test="http://test">$fault.code="1400"</test>
<action ref="ora-terminate"/>
</condition>
<!--ORA-03220: required parameter is NULL or missing -->
<condition>
<test>$fault.code="3220"</test>
<action ref="ora-terminate"/>
</condition>
<condition>
<action ref="ora-retry-crm-endpoint"/>
</condition>
</faultName>
<!-- Business faults -->
<!-- Fault comes with a payload of error, make sure the name space is
provided here or at root level -->
<faultName xmlns:credit="http://services.otn.com"
name="credit:NegativeCredit">
<!-- you get this fault when SSN starts with 0-->
<condition>
<test>$fault.payload="Bankruptcy Report"</test>
<action ref="ora-human-intervention"/>
<!--action ref="ora-retry"/-->
</condition>
<!-- you get this fault when SSN starts with 1-->
<condition>
<test>$fault.payload="Bankruptcy Report-abort"</test>
<action ref="ora-terminate"/>
</condition>
<!-- you get this fault when SSN starts with 2-->
<condition>
<test>$fault.payload="Bankruptcy Report-rethrow"</test>
<action ref="ora-rethrow-fault"/>
</condition>
<!-- you get this fault when SSN starts with 3-->
<condition>
<test>$fault.payload="Bankruptcy Report-replay"</test>
<action ref="ora-replay-scope"/>
</condition>
<!-- you get this fault when SSN starts with 4-->
<condition>
<test
xmlns:myError="http://services.otn.com">$fault.payload="Bankruptcy
Report-human"</test>
<action ref="ora-human-intervention"/>
</condition>
<!-- you get this fault when SSN starts with 5-->
<condition>
<test>$fault.payload="Bankruptcy Report-java"</test>
<action ref="ora-java"/>
</condition>
</faultName>
</Conditions>
<Actions>
<Action id="ora-retry">
<retry>
<retryCount>3</retryCount>
<retryInterval>2</retryInterval>
<exponentialBackoff/>
<retryFailureAction ref="ora-java"/>
<retrySuccessAction ref="ora-java"/>
</retry>
</Action>
<Action id="ora-retry-crm-endpoint">
<retry>
<retryCount>5</retryCount>
<retryFailureAction ref="ora-java"/>
<retryInterval>5</retryInterval>
<retrySuccessAction ref="ora-java"/>
</retry>
</Action>
<Action id="ora-replay-scope">
<replayScope/>
</Action>
<Action id="ora-rethrow-fault">
<rethrowFault/>
</Action>
<Action id="ora-human-intervention">
<humanIntervention/>
</Action>
<Action id="ora-terminate">
<abort/>
</Action>
<Action id="ora-java">
<!-- this is user provided class-->
<javaAction
className="com.oracle.bpel.client.config.faultpolicy.TestJavaAction"
defaultAction="ora-terminate" propertySet="prop-for-billing">
<returnValue value="REPLAY" ref="ora-terminate"/>
<returnValue value="RETRHOW" ref="ora-rethrow-fault"/>
<returnValue value="ABORT" ref="ora-terminate"/>
<returnValue value="RETRY" ref="ora-retry"/>
<returnValue value="MANUAL" ref="ora-human-intervention"/>
</javaAction>
</Action>
</Actions>
<Properties>
<propertySet name="prop-for-billing">
<property name="user_email_recipient">bpeladmin</property>
<property name="email_recipient">joe@abc.com</property>
<property name="email_recipient">mike@xyz.com</property>
<property name="email_threshold">10</property>
<property name="sms_recipient">+429876547</property>
<property name="sms_recipient">+4212345</property>
<property name="sms_threshold">20</property>
<property name="user_email_recipient">john</property>
</propertySet>
<propertySet name="prop-for-order">
<property name="email_recipient">john@abc.com</property>
<property name="email_recipient">jill@xyz.com</property>
<property name="email_threshold">10</property>
<property name="sms_recipient">+42222</property>
<property name="sms_recipient">+423335</property>
<property name="sms_threshold">20</property>
</propertySet>
</Properties>
</faultPolicy>
<faultPolicy version="2.0.1"
id="Billing_ServiceFaults"
xmlns:env="http://schemas.xmlsoap.org/soap/envelope/"
xmlns:xs="http://www.w3.org/2001/XMLSchema"
xmlns="http://schemas.oracle.com/bpel/faultpolicy"
xmlns:xsi="http://www.w3.org/2001/XMLSchema-instance">
<Conditions>
<faultName>
<condition>
<action ref="ora-manual"/>
</condition>
</faultName>
</Conditions>
<Actions>
<Action id="ora-manual">
<humanIntervention/>
</Action>
</Actions>
</faultPolicy>
</faultPolicies>
Example 11-8 shows the fault-buildings.xml file that associates the fault policies defined in fault-policies.xml.
Example 11-8 Fault Policy Bindings File
<?xml version="1.0" encoding="UTF-8"?>
<faultPolicyBindings version="2.0.1"
xmlns="http://schemas.oracle.com/bpel/faultpolicy"
xmlns:xsi="http://www.w3.org/2001/XMLSchema-instance">
<composite faultPolicy="ConnectionFaults"/>
<component faultPolicy="ServiceFaults">
<name>Component1</name>
<name>Component2</name>
</component>
<!-- Below listed component names use polic CRM_SeriveFaults -->
<component faultPolicy="CRM_ServiceFaults">
<name>HelloWorld</name>
<name>ShippingComponent</name>
<name>AnotherComponent"</name>
</component>
<!-- Below listed reference names and port types use polic CRM_ServiceFaults
-->
<reference faultPolicy="CRM_ServiceFaults">
<name>creditRatingService</name>
<name>anotherReference</name>
<portType
xmlns:credit="http://services.otn.com">credit:CreditRatingService</portType>
<portType
xmlns:db="http://xmlns.oracle.com/pcbpel/adapter/db/insert/">db:insert_
plt</portType>
</reference>
<reference faultPolicy="test1">
<name>CreditRating3</name>
</reference>
</faultPolicyBindings>
If you design a fault policy that uses the action handler for rejected messages, note that only one write action can be performed. Multiple write actions cannot be performed, even if you define multiple rejection handlers, as shown in Example 11-9. In this case, only the first rejection handler defined (for this example, ora-queue) is executed.
Example 11-9 Fault Policy with Multiple Rejection Handlers
<faultName xmlns:rjm="http://schemas.oracle.com/sca/rejectedmessages"
name="rjm:FileIn">
<condition>
<action ref="ora-queue"/>
</condition>
</faultName>
<faultName xmlns:rjm="http://schemas.oracle.com/sca/rejectedmessages"
name="rjm:FileIn">
<condition>
<action ref="ora-file"/>
</condition>
</faultName>
You deploy a fault policy as part of a SOA composite application. After deployment, you can perform the following fault recovery actions from Oracle Enterprise Manager Fusion Middleware Control Console:
Retry the activity
Modify a variable (available to the faulted activity)
Continue the instance (mark the activity as a success)
Rethrow the exception
Abort the instance
Throw a replay scope exception
For additional information, see Oracle Fusion Middleware Administrator's Guide for Oracle SOA Suite and Oracle BPM Suite for the following:
Instructions on executing a fault policy in Oracle Enterprise Manager Fusion Middleware Control Console
Use cases in which you define a fault policy that uses human intervention
Note the following details when using the Java action fault policy:
The Java class provided follows a specific interface. This interface returns a string. Multiple values can be provided for output and fault policy to take after execution.
Additional fault policy can be executed by providing a mapping from the output value (return value) of implemented methods to a fault policy.
If no ReturnValue is specified, the default fault policy is executed, as shown in Example 11-10.
Example 11-10 Java Action Fault Policy
<Action id="ora-java">
<javaAction className="mypackage.myclass"
defaultAction="ora-human-intervention" propertySet="prop-for-billing">
<!--defaultAction is a required attribute, but propertySet is optional-->
<!-- attribute-->
<ReturnValue value="RETRY" ref="ora-retry"/>
<!--value is not nilable attribute & cannot be empty-->
<ReturnValue value="RETRHOW" ref="ora-rethrow-fault"/>
</javaAction>
</Action>
Table 11-3 provides an example of ReturnValue use.
Table 11-3 System Interpretation of Java Action Fault Policy
| Code | Description |
|---|---|
<ReturnValue value="RETRY" ref="ora-retry"/> |
Execute the |
<ReturnValue value="” ref=”ora-rethrow”/> |
Fails in validation. |
<javaAction className="mypackage.myclass" defaultAction="ora-human-intervention"> |
Execute |
<ReturnValue value="RETRY" ref="ora-retry"/> <ReturnValue value="” ref=””/> |
Fails in validation. |
<javaAction className="mypackage.myclass" defaultAction=" ora-human-intervention"> <ReturnValue></ReturnValue> |
Fails in validation. |
To invoke a Java class, you can provide a class that implements the IFaultRecoveryJavaClass interface. IFaultRecoveryJavaClass is included in the fabric-runtime.jar file. The package name is oracle.integration.platform.faultpolicy.
The IFaultRecoveryJavaClass interface has two methods, as shown in Example 11-11.
Example 11-11 implementation of IFaultRecoveryJavaClass
public interface IFaultRecoveryJavaClass
{
public void handleRetrySuccess( IFaultRecoveryContext ctx );
public String handleFault( IFaultRecoveryContext ctx );
}
Note the following details:
handleRetrySuccess is invoked upon a successful retry attempt. The retry policy chains to a Java action on retrySuccessAction.
handleFault is invoked to execute a policy of type javaAction.
Example 11-12 shows the data available with IFaultRecoveryContext:
Example 11-12 Data Available with IFaultRecoveryContext
public interface IFaultRecoveryContext {
/**
* Gets implementation type of the fault.
* @return
*/
public String getType();
/**
* @return Get property set of the fault policy action being executed.
*/
public Map getProperties();
/**
* @return Get fault policy id of the fault policy being executed.
*/
public String getPolicyId();
/**
* @return Name of the faulted partner link.
*/
public String getReferenceName();
/**
* @return Port type of the faulted reference .
*/
public QName getPortType();
}
The service engine implementation of this interface provides more information (for example, Oracle BPEL Process Manager). Example 11-13 provides details.
Example 11-13 Service Engine Implementation of IFaultRecoveryContext
public class BPELFaultRecoveryContextImpl extends BPELXExecLetUtil implements
IBPELFaultRecoveryContext, IFaultRecoveryContext{
...
}
Oracle BPEL Process Manager-specific data is available with IBPELFaultRecoveryContext, as shown in Example 11-14.
Example 11-14 Oracle BPEL Process Manager-Specific Data
public interface IBPELFaultRecoveryContext {
public void addAuditTrailEntry(String message);
public void addAuditTrailEntry(String message, Object detail);
public void addAuditTrailEntry(Throwable t);
/**
* @return Get action id of the fault policy action being executed.
*/
public String getActionId();
/**
* @return Type of the faulted activity.
*/
public String getActivityId();
/**
* @return Name of the faulted activity.
*/
public String getActivityName();
/**
* @return Type of the faulted activity.
*/
public String getActivityType();
/**
* @return Correleation id of the faulted activity.
*/
public String getCorrelationId();
/**
* @return BPEL fault that caused the invoke to fault.
*/
public BPELFault getFault();
/**
* @return Get index value of the instance
*/
public String getIndex(int i);
/**
* @return get Instance Id of the current process instance of the faulted
* activity.
*/
public long getInstanceId();
/**
* @return Get priority of the current process instance of the faulted
* activity.
*/
public int getPriority();
/**
* @return Process DN.
*/
public ComponentDN getProcessDN();
/**
* @return Get status of the current process instance of the faulted
* activity.
*/
public String getStatus();
/**
* @return Get title of the current process instance of the faulted
* activity.
*/
public String getTitle();
public Object getVariableData(String name) throws BPELFault;
public Object getVariableData(String name, String partOrQuery)
throws BPELFault;
public Object getVariableData(String name, String part, String query)
throws BPELFault;
/**
* @param priority
* Set priority of the current process instance of the faulted
* activity.
* @return
*/
public void setPriority(int priority);
/**
* @param status
* Set status of the current process instance of the faulted
* activity.
*/
public void setStatus(String status);
/**
* @param title
* Set title of the current process instance of the faulted
* activity.
* @return
*/
public String setTitle(String title);
public void setVariableData(String name, Object value) throws BPELFault;
public void setVariableData(String name, String partOrQuery, Object value)
throws BPELFault;
public void setVariableData(String name, String part, String query,
Object value) throws BPELFault;
}
Example 11-15 provides an example of javaAction implementation.
Example 11-15 Implementation of a javaAction
public class TestJavaAction implements IFaultRecoveryJavaClass {
public void handleRetrySuccess(IFaultRecoveryContext ctx) {
System.out.println("This is for retry success");
handleFault(ctx);
}
public String handleFault(IFaultRecoveryContext ctx) {
System.out.println("-----Inside handleFault-----\n" + ctx.toString());
dumpProperties(ctx.getProperties());
/* Get BPEL specific context here */
BPELFaultRecoveryContextImpl bpelCtx = (BPELFaultRecoveryContextImpl) ctx;
bpelCtx.addAuditTrailEntry("hi there");
System.out.println("Policy Id" + ctx.getPolicyId());
...
}
When you configure a fault policy to recover instances with the ora-retry action and the number of specified instance retries is exceeded, the instance is marked as open.faulted (in-flight state). The instance remains active.
Marking instances as open.faulted ensures that no instances are lost. You can then configure another fault handling action following the ora-retry action in the fault policy file, such as the following:
Configure an ora-human-intervention action to manually perform instance recovery from Oracle Enterprise Manager Fusion Middleware Control Console.
Configure an ora-terminate action to close the instance (mark it as closed.faulted) and never retry again.
However, if you do not set an action to be performed after an ora-retry action in the fault policy file and the number of instance retries is exceeded, the instance remains marked as open.faulted, and recovery attempts to handle the instance.
For example, if no action is defined in the fault policy file shown in Example 11-16 after ora-retry:
Example 11-16 No Action Defined
<Action id="ora-retry">
<retry>
<retryCount>2</retryCount>
<retryInterval>2</retryInterval>
<exponentialBackoff/>
</retry>
</Action>
The following actions are performed:
The invoke activity is attempted (using the above-mentioned fault policy code to handle the fault).
Two retries are attempted at increasing intervals (after two seconds, then after four seconds).
If all retry attempts fail, the following actions are performed:
A detailed fault error message is logged in the audit trail.
The instance is marked as open.faulted (in-flight state).
The instance is picked up and the invoke activity is re-attempted.
Recovery may also fail. In that case, the invoke activity is re-executed. Additional audit messages are logged.
The fault policy retry action may not execute with multiple faults in the same flow. This may be because the retry count has already been reached for any of the previous faults.
For example, assume you define a fault policy with two fault conditions: fault1 and fault2. For both fault conditions, the retry action is specified with a retry count of three. Assume fault1 occurs and the retry action executes three times. You correct the problem for fault1 by modifying the payload, but ensure that fault2 is to be raised when the instance is resubmitted. You then resubmit the faulted instance using Oracle Enterprise Manager Fusion Middleware Control Console. You expect the second fault condition, fault2, to retry three times according to the fault policy specification. However, this does not occur because the maximum number of retries was already executed for the previous fault1 fault condition.
If you are testing retry actions on adapters with both JCA-level retries for the outbound direction and a retry action in the fault policy file for outbound failures, the JCA-level (or binding level) retries are executed within the fault policy retries. For example, assume you have designed the application shown in Figure 11-2:
You specify the retry parameters shown in Example 11-17 in the composite.xml file:
Example 11-17 Retry Parameters
<property name="jca.retry.count" type="xs:int" many="false" override="may">2</property> <property name="jca.retry.interval" type="xs:int" many="false" override="may">2</property> <property name="jca.retry.backoff" type="xs:int" many="false" override="may">2</property>
In the fault policy file for the EQ reference binding component for the outbound direction, you specify the actions shown in Example 11-18.
If an outbound failure occurs, the expected behavior is for the JCA retries to occur within the fault policy retries. When the first retry of the fault policy is executed, the JCA retry is called. In this example, a JCA retry of 2 with an interval of 2 seconds and exponential back off of 2 is executed for every retry of the fault policy:
Fault policy retry 1:
JCA retry 1 (with 2 seconds interval)
JCA retry 2 (with 4 seconds interval)
Fault policy retry 2:
JCA retry 1 (with 2 seconds interval)
JCA retry 2 (with 4 seconds interval)
Fault policy retry 3:
JCA retry 1 (with 2 seconds interval)
JCA retry 2 (with 4 seconds interval)
Assume you invoke a SOA composite application with a fault policy/binding defined and see a recoverable fault in Oracle Enterprise Manager Fusion Middleware Control Console. After you perform a successful fault recovery retry, note that there is no ora-java option available for selection by default in the After Successful Retry list of the Faults tab of the Instance of process_name page.
This is the expected behavior. For the ora-java option to display, you must explicitly define it in the fault-policies.xml file during design-time. For example, perform the following steps.
Create a fault-policies.xml file in which you explicitly add retrySuccessAction ref="ora-java"/> to the fault-policies.xml file.
<Action id="ora-retry">
<Retry>
<retryCount>3</retryCount>
<retryInterval>2</retryInterval>
<exponentialBackoff/>
<retryFailureAction ref="ora-java"/>
<retrySuccessAction ref="ora-java"/>
</Retry>
</Action>
Deploy the composite and create an instance.
Click the composite instance to invoke the instance trace of the composite.Click the component in which there is a recoverable fault (for example, Oracle BPEL Process Manager, Oracle Mediator, or Oracle BPM).Go to the Faults tab.
Select the Retry option to successfully retry the fault.
If fault recovery is successful, the After Successful Retry list is displayed.
Select the list and note that the ora-java option is now listed.
For more information about recovering from faults in Oracle Enterprise Manager Fusion Middleware Control Console, see Oracle Fusion Middleware Administrator's Guide for Oracle SOA Suite and Oracle BPM Suite.
BPEL runtime faults can be caught as a named BPEL fault. The bindingFault and remoteFault can be associated with a message. This action enables the faultHandler to get details about the faults.
The following procedure shows how to use the provided examples to generate a fault and define a fault handler to catch it. In this case, you modify a WSDL file to generate a fault, and create a catch attribute to catch it.
Import RuntimeFault.wsdl into your process WSDL. RuntimeFault.wsdl is seeded into the MDS from soa.mar inside soa-infra-wls.ear during its deployment.
You may see a copy of soa.mar in the deployed SOA Infrastructure in the Oracle WebLogic Server domain, which is a JAR/ZIP file containing RuntimeFault.wsdl.
Declare a variable with messageType bpelx:RuntimeFaultMessage.
Catch it using the following syntax:
<catch faultName="bpelx:remoteFault" | "bpelx:bindingFault" faultName="varName">
The catchAll activity is provided to catch possible faults. However, BPEL does not provide a method for obtaining additional information about the captured fault. Use the getFaultAsString() XPath extension function to obtain additional information.
Example 11-19 shows how to use this function.
A BPEL application can generate and receive fault messages. The throw activity has three elements: its name, the name of the fault, and the fault variable. The fault thrown by a throw activity is internal to BPEL. You cannot use a throw activity on an asynchronous process to communicate with a client. Throw activity syntax includes the throw name, fault name, and fault variable:
<throw name="delay" faultName="nsPrefix:fault-1" faultVariable="fVar"/>
In the Component Palette, expand BPEL Constructs.
Drag a Throw activity into the designer.
Double-click and define the Throw activity.
Optionally enter a name or accept the default value.
To the right of the Namespace URI field, click the Search icon to select the fault to monitor.
Select the fault in the Fault Chooser dialog, and click OK.
The namespace URI for the selected fault displays in the Namespace URI field. Your fault selection also automatically displays in the Local Part field.
Figure 11-3 provides an example of a completed Throw dialog. This example shows the Throw_Fault_CC_Denied throw activity of the Scope_AuthorizeCreditCard scope activity in the Fusion Order Demo application. This activity throws a fault for orders that are not approved.
Click Apply, then OK.
Example 11-20 shows the throw activity in the .bpel file after design completion. The OrderProcessor process terminates after executing this throw activity.
The rethrow activity rethrows faults originally captured by the immediately enclosing fault handler. Only use the rethrow activity within a fault handler (for example, within catch and catchAll activities). The rethrow activity is used in fault handlers to rethrow the captured fault (that is, the fault name and the fault data (if present) of the original fault). The rethrow activity must ignore modifications to fault data. For example:
If the fault handler modifies fault data and then calls a rethrow activity, the original fault data is rethrown, and not the modified fault data.
If a fault is captured using the functionality that enables message type faults with one part defined using an element to be caught by fault handlers looking for the same element type, then the rethrow activity rethrows the original message type data.
Note:
This activity is supported in BPEL version 2.0 projects.In the Component Palette, expand BPEL Constructs.
Drag a Rethrow activity into the designer.
Double-click and define the Rethrow activity.
Optionally enter a name or accept the default value, as shown in Figure 11-4.
Click Apply, then OK.
When complete, design can look similar to that shown in Figure 11-5.
Figure 11-5 Throw Activity in BPEL Process

Example 11-21 shows the .bpel file after design is complete for a rethrow activity. The rethrow activity is inside a fault handler (catch activity).
Example 11-21 Rethrow Activity
<scope name="scope1"> <faultHandlers> <catch faultName="tns:error" faultVariable="tmpVar" faultElement="tns:fault"> <sequence> <assign> <copy> <from>concat('caught fault: ', $tmpVar)</from> <to>$output.payload</to> </copy> </assign> <rethrow name="Rethrow_1"/> </sequence> </catch> </faultHandlers> <throw faultName="tns:error" faultVariable="fault"/> </scope>
A BPEL process service component can send a fault to another application to indicate a problem, as opposed to throwing an internal fault. In a synchronous operation, the reply activity can return the fault. In an asynchronous operation, the invoke activity performs this function.
The syntax of a reply activity that returns a fault in a synchronous interaction is shown in Example 11-22:
<reply partnerlinke="partner-link-name"
portType="port-type-name"
operation="operation-name"
variable="variable-name" (optional)
faultName="fault-name">
</reply>
Always returning a fault in response to a synchronous request is not very useful. It is better to make the activity part of a conditional branch, in which the first branch is executed if the data requested is available. If the requested data is not available, then the BPEL process service component returns a fault with this information.
For more information, see the following chapters:
Chapter 7, "Invoking a Synchronous Web Service from a BPEL Process" for synchronous interactions
Chapter 10, "Using Conditional Branching in a BPEL Process" for setting up the conditional structure
In an asynchronous interaction, the client does not wait for a reply. The reply activity is not used to return a fault. Instead, the BPEL process service component returns a fault using a callback operation on the same port type that normally receives the requested information, with an invoke activity.
For more information about asynchronous interactions, see Chapter 8, "Invoking an Asynchronous Web Service from a BPEL Process."
A scope activity provides a container and a context for other activities. A scope provides handlers for faults, events, compensation, data variables, and correlation sets. Using a scope activity simplifies a BPEL flow by grouping functional structures. This grouping enables you to collapse them into what appears to be a single element in Oracle BPEL Designer.
Example 11-23 shows a scope named Scope_FulfillOrder from the WebLogic Fusion Order Demo application. This scope invokes the FulfillOrder Oracle Mediator component, which determines the shipping method for the order.
<scope name="Scope_FulfillOrder">
<variables>
<variable name="lFulfillOrder_InputVariable"
messageType="ns17:requestMessage"/>
</variables>
<sequence>
<assign name="Assign_OrderData">
<copy>
<from variable="gOrderInfoVariable"
query="/ns4:orderInfoVOSDO"/>
<to variable="lFulfillOrder_InputVariable"
part="request" query="/ns4:orderInfoVOSDO"/>
</copy>
</assign>
<invoke name="Invoke_FulfillOrder"
inputVariable="lFulfillOrder_InputVariable"
partnerLink="FulfillOrder.FulfillOrder"
portType="ns17:execute_ptt" operation="execute"/>
</sequence>
</scope>
In the Component Palette, expand BPEL Constructs.
Drag a Scope activity into the designer.
Open the scope activity by double-clicking it or by single-clicking the Expand icon.
From the Component Palette, drag and define activities to build the functionality within the scope. Figure 11-6 provides details.
Click OK.
When complete, scope activity design can look as shown in Figure 11-7. This example shows the Scope_AuthorizeCreditCard scope activity of the Fusion Order Demo application.
Figure 11-7 Scope Activity After Design Completion

You can add descriptive notes to scope activities that provide simple descriptions of the functionality of the scope. You can also change the graphical image of scopes. The notes and images display in Oracle BPEL Designer. This helps to make a scope easier to understand.
To add descriptive notes and images to a scope activity:
Perform one of the following steps:
Right-click the scope and select User Documentation.
Double-click the scope and select the User Documentation tab.
The Documentation dialog appears.
In the Comment field, enter a brief description of the functionality of the scope.
In the Image field, click the Search icon to optionally change the graphical image for the scope.
Click OK.
Your changes display in Oracle BPEL Designer, as shown in Figure 11-8.
Figure 11-8 Scope with Descriptive Note and Modified Image

To edit the note, double-click it.
Example 11-24 shows the scope activity in the .bpel file after design completion. The Scope_AuthorizeCreditCard scope activity consists of activities that perform the following actions:
A catch activity for catching faulted orders in which the credit card number is not provided or the credit type is not valid.
A throw activity that throws a fault for orders that are not approved.
An assign activity that takes the credit card type, credit card number, and purchase amount, and assigns this information to the input variable for the CreditCardAuthorizationService service.
An invoke activity that calls a CreditCardAuthorizationService service to retrieve customer information.
A switch activity that checks the results of the credit card validation.
<scope name="Scope_AuthorizeCreditCard">
<variables>
<variable name="lCreditCardInput"
messageType="ns2:CreditAuthorizationRequestMessage"/>
<variable name="lCreditCardOutput"
messageType="ns2:CreditAuthorizationResponseMessage"/>
</variables>
<faultHandlers>
<catch faultName="bpws:selectionFailure">
<sequence>
<assign name="Assign_noCCNumber">
<copy>
<from expression="string('CreditCardCheck - NO
CreditCard')"/>
<to variable="gOrderProcessorFaultVariable"
part="code"/>
</copy>
</assign>
<throw name ="Throw_NoCreditCard"
faultVariable="gOrderProcessorFaultVariable"
faultName="ns9:OrderProcessingFault"/>
</sequence>
</catch>
<catch faultName="ns2:InvalidCredit">
<sequence>
<assign name="Assign_InvalidCreditFault">
<copy>
<from expression="concat(bpws:getVariableData
('gOrderInfoVariable','/ns4:orderInfoVOSDO/
ns4:CardTypeCode'), ' is not a valid
creditcard type')"/>
<to variable="gOrderProcessorFaultVariable"
part="summary"/>
</copy>
<copy>
<from expression="string('CreditCardCheck - NOT VALID')"/>
<to variable="gOrderProcessorFaultVariable"
part="code"/>
</copy>
</assign>
<throw name="Throw_OrderProcessingFault"
faultName="ns9:OrderProcessingFault"
faultVariable="gOrderProcessorFaultVariable"/>
</sequence>
</catch>
</faultHandlers>
<sequence>
<assign name="Assign_CreditCheckInput">
<copy>
<from variable="gOrderInfoVariable"
query="/ns4:orderInfoVOSDO/ns4:OrderTotal"/>
<to variable="lCreditCardInput" part="Authorization"
query="/ns8:AuthInformation/ns8:PurchaseAmount"/>
</copy>
<copy>
<from variable="gOrderInfoVariable"
query="/ns4:orderInfoVOSDO/ns4:CardTypeCode"/>
<to variable="lCreditCardInput" part="Authorization"
query="/ns8:AuthInformation/ns8:CCType"/>
</copy>
<copy>
<from variable="gOrderInfoVariable"
query="/ns4:orderInfoVOSDO/ns4:AccountNumber"/>
<to variable="lCreditCardInput" part="Authorization"
query="/ns8:AuthInformation/ns8:CCNumber"/>
</copy>
</assign>
<invoke name="InvokeCheckCreditCard"
inputVariable="lCreditCardInput"
outputVariable="lCreditCardOutput"
partnerLink="CreditCardAuthorizationService"
portType="ns2:CreditAuthorizationPort"
operation="AuthorizeCredit"/>
<switch name="Switch_EvaluateCCResult">
<case condition="bpws:getVariableData('lCreditCardOutput','status','
/ns8:status') != 'APPROVED'">
<bpelx:annotation>
<bpelx:pattern>status <> approved</bpelx:pattern>
</bpelx:annotation>
<throw name="Throw_Fault_CC_Denied"
faultName="client:OrderProcessorFault"/>
</case>
/switch>
</sequence>
</scope>
Scopes can use a significant amount of CPU and memory and should not be overused. Sequence activities use less CPU and memory and can make large BPEL flows more readable.
If a fault is not handled, it creates a faulted state that migrates up through the application and can throw the entire process into a faulted state. To prevent this from occurring, place the parts of the process that have the potential to receive faults within a scope. The scope activity includes the following fault handling capabilities:
The catch activity works within a scope to catch faults and exceptions before they can throw the entire process into a faulted state. You can use specific fault names in the catch activity to respond in a specific way to an individual fault.
The catchAll activity catches any faults that are not handled by name-specific catch activities.
Example 11-25 shows the syntax for catch and catchAll activities. Assume that a fault named x:foo is thrown. The first catch is selected if the fault carries no fault data. If there is fault data associated with the fault, the third catch is selected if the type of the fault's data matches the type of variable bar. Otherwise, the default catchAll handler is selected. Finally, a fault with a fault variable whose type matches the type of bar and whose name is not x:foo is processed by the second catch. All other faults are processed by the default catchAll handler.
To create a catch activity in a scope:
In the expanded Scope activity, click Add Catch. Figure 11-9 provides details.
This creates a catch activity in the right side of the scope activity.
Double-click the Catch activity.
Optionally enter a name.
To the right of the Namespace URI field, click the Search icon to select the fault.
Select the fault in the Fault Chooser dialog, and click OK.
The namespace URI for the selected fault displays in the Namespace URI field. Your fault selection also automatically displays in the Local Part field.
Figure 11-10 provides an example of a Catch dialog. This example shows the selectionFailure catch activity of the Scope_AuthorizeCreditCard scope activity in the Fusion Order Demo application. This catch activity catches orders in which the credit card number is not provided.
Design additional fault handling functionality.
Click OK.
Figure 11-11 provides an example of two catch activities for the Scope_AuthorizeCreditCard scope activity. The second catch activity catches credit types that are not valid.
Figure 11-11 Catch Activities in the Designer

Example 11-26 shows the catch activity in the .bpel file after design completion. The selectionFailure catch activity catches orders in which the credit card number is not provided and the InvalidCredit catch activity catches credit types that are not valid.
<faultHandlers>
<catch faultName="bpws:selectionFailure">
<sequence>
<assign name="Assign_noCCNumber">
<copy>
<from expression="string('CreditCardCheck - NO CreditCard')"/>
<to variable="gOrderProcessorFaultVariable"
part="code"/>
</copy>
</assign>
<throw name ="Throw_NoCreditCard"
faultVariable="gOrderProcessorFaultVariable"
faultName="ns9:OrderProcessingFault"/>
</sequence>
</catch>
<catch faultName="ns2:InvalidCredit">
<sequence>
<assign name="Assign_InvalidCreditFault">
<copy>
<from expression="concat(bpws:getVariableData
('gOrderInfoVariable','/ns4:orderInfoVOSDO/ns4:CardTypeCode'), '
is not a valid creditcard type')"/>
<to variable="gOrderProcessorFaultVariable"
part="summary"/>
</copy>
<copy>
<from expression="string('CreditCardCheck - NOT VALID')"/>
<to variable="gOrderProcessorFaultVariable"
part="code"/>
</copy>
</assign>
<throw name="Throw_OrderProcessingFault"
faultName="ns9:OrderProcessingFault"
faultVariable="gOrderProcessorFaultVariable"/>
</sequence>
</catch>
</faultHandlers>
There is often a need to use an activity that does nothing. An example is when a fault must be caught and suppressed. In this case, you can use the empty activity to insert a no-op instruction into a business process.
In the Component Palette, expand BPEL Constructs.
Drag an Empty activity into the designer.
Double-click the Empty activity.
The Empty dialog appears, as shown in Figure 11-12.
Optionally enter a name.
Click OK.
The syntax for an empty activity is shown in Example 11-27.
If no catch or catchAll is selected, the fault is not caught by the current scope and is rethrown to the immediately enclosing scope. If the fault occurs in (or is rethrown to) the global process scope, and there is no matching fault handler for the fault at the global level, the process terminates abnormally. This is as though a terminate activity (described in Section 11.13.1, "Stopping a Business Process Instance with the Terminate Activity in BPEL 1.1") had been performed.
You can create a replay activity inside a scope activity to re-execute all of the activities inside the scope.
In the Component Palette, expand Oracle Extensions.
Drag a Replay activity into the designer.
Double-click the Replay activity.
Enter an optional name.
Select the scope to re-execute, as shown in Figure 11-13.
Click Apply, then click OK.
Continue with the design of your scope activity.
When complete, design of the scope activity can look similar to that shown in Figure 11-14.
Figure 11-14 Replay Activity in a Scope Activity

Example 11-28 shows the .bpel file after design is complete for a replay activity in a BPEL project that supports BPEL version 2.0. In BPEL 2.0, the replay activity is wrapped in an extensionActivity element.
<scope name="scope2">
<sequence>
<assign>
<copy>
<from>$counter2 + 1</from>
<to>$counter2</to>
</copy>
</assign>
<scope name="scope3">
<sequence>
<assign>
<copy>
<from>$counter + 1</from>
<to>$counter</to>
</copy>
</assign>
<if>
<condition>$counter = 3</condition>
<empty/>
<else>
<extensionActivity>
<bpelx:replay name="ReplayScope" scope="scope2"/>
</extensionActivity>
</else>
</if>
</sequence>
</scope>
</sequence>
</scope>
In BPEL 1.1, the replay activity is coded as a bpelx extension.
<bpelx:replay name="ReplayScope" scope="Scope2"/>
Compensation occurs when the BPEL process service component cannot complete a series of operations after some have completed, and the BPEL process service component must backtrack and undo the previously completed transactions. For example, if a BPEL process service component is designed to book a rental car, a hotel, and a flight, it may book the car and the hotel and then be unable to book a flight for the right day. In this case, the BPEL flow performs compensation by going back and unbooking the car and the hotel.
In a scope activity, the compensation handler can reverse previously completed process steps. The compensation handler can be invoked after successful completion of its associated scope with either of the following activities.
Compensate activity (in BPEL version 1.1 and 2.0 projects)
This activity causes the compensation handler of all successfully completed and not yet compensated child scopes to be executed in default order.
compensateScope activity (in a BPEL version 2.0 project)
This activity causes the compensation handler of one specific successfully completed scope to be executed.
You can invoke a compensation handler by using the compensate activity, which names the scope for which the compensation is to be performed (that is, the scope whose compensation handler is to be invoked). A compensation handler for a scope is available for invocation only when the scope completes normally. Invoking a compensation handler that has not been installed is equivalent to using the empty activity (it is a no-op). This ensures that fault handlers do not have to rely on state to determine which nested scopes have completed successfully. The semantics of a process in which an installed compensation handler is invoked multiple times are undefined.
The ability to explicitly invoke the compensate activity is the underpinning of the application-controlled error-handling framework of Business Process Execution Language for Web Services Specification. You can use this activity only in the following parts of a business process:
In a fault handler of the scope that immediately encloses the scope for which compensation is to be performed.
In the compensation handler of the scope that immediately encloses the scope for which compensation is to be performed.
For example:
<compensate scope="RecordPayment"/>
If a scope being compensated by name was nested in a loop, the BPEL process service component invokes the instances of the compensation handlers in the successive iterations in reverse order.
If the compensation handler for a scope is absent, the default compensation handler invokes the compensation handlers for the immediately enclosed scopes in the reverse order of the completion of those scopes.
The compensate form, in which the scope name is omitted in a compensate activity, explicitly invokes this default behavior. This is useful when an enclosing fault or compensation handler must perform additional work, such as updating variables or sending external notifications, in addition to performing default compensation for inner scopes. The compensate activity in a fault or compensation handler attached to the outer scope invokes the default order of compensation handlers for completed scopes directly nested within the outer scope. You can mix this activity with any other user-specified behavior except for the explicit invocation of the nested scope within the outer scope. Explicitly invoking compensation for such a scope nested within the outer scope disables the availability of default-order compensation.
To create a compensate activity:
In the Component Palette, expand BPEL Constructs.
Drag a Compensate activity into the designer
Double-click the Compensate activity.
Select a scope activity in which to invoke the compensation handler, as shown in Figure 11-15.
Click Apply, then OK.
If an invoke activity has a compensation handler defined inline, then the name of the activity is the name of the scope to be used in the compensate activity. The syntax is shown in Example 11-29:
The compensateScope activity is used to start compensation on a specified inner scope that has already completed successfully. This activity must only be used from within a fault handler, another compensation handler, or a termination handler.
When you create a compensateScope activity, you select a target that must refer to the immediately-enclosed scope. The scope must include a fault handler or compensation handler.
Note:
This activity is supported in BPEL 2.0 projects.To create a compensateScope activity:
In the Component Palette, expand BPEL Constructs.
Drag a CompensateScope activity into the designer
Double-click the CompensateScope activity.
Select a specific scope activity in which to invoke the compensation handler. Figure 11-16 provides details.
Click Apply, then OK.
Example 11-30 shows the .bpel file after design is complete for a compensateScope activity. The compensateScope activity is defined in a catchall fault handler. The scope in which to invoke the compensation handler is defined.
Example 11-30 compensateScope Activity
<scope name="ScopeAssignCreditRating">
<faultHandlers>
<catchAll>
<compensateScope target="ScopeAssignScreditRating2" />
</catchAll>
</faultHandlers>
<sequence>
<scope name="ScopeAssignScreditRating2">
<compensationHandler>
<!-- undo work -->
</compensationHandler>
<!-- do some work -->
</scope>
<!-- do more work -->
<!-- a fault is thrown here; results of ScopeAssignScreditRating2 must be undone -->
</sequence>
</scope>
You can stop a business process instance with either of the following activities:
Terminate activity (in a BPEL version 1.1 project)
Exit activity (in a BPEL version 2.0 project)
The terminate activity immediately terminates the behavior of a business process instance within which the terminate activity is performed. All currently running activities must be terminated as soon as possible without any fault handling or compensation behavior. The terminate activity does not send any notifications of the status of a BPEL process service component. If you are going to use the terminate activity, first program notifications to the interested parties.
To create a terminate activity:
In the Component Palette in Oracle JDeveloper, expand BPEL Constructs.
Drag a Terminate activity into the designer. Figure 11-17 provides an example.
Double-click the terminate activity.
Optionally enter a name.
Click OK.
The syntax for the terminate activity is shown in Example 11-31. This stops the business process instance.
You can use the exit activity to immediately end all currently running activities on all parallel branches without involving any termination handling, fault handling, or compensation handling mechanisms. This activity is useful for environments in which there may not be a reasonable way for dealing with unexpected, severe failures.
Note:
Any open conversations are also impacted by the exit activity. For example, other partners interacting with the process may wait for a response that never arrives.In the Component Palette, expand BPEL Constructs.
Drag an Exit activity into the section of your BPEL process in which you want to execute the exit activity.
Double-click the Exit activity, as shown in Figure 11-18.
Optionally enter a name.
Click Apply, then OK.
When complete, the exit activity in a BPEL process appears similar to that shown in Figure 11-19.
Figure 11-19 Exit Activity in a BPEL Process

Example 11-32 shows the .bpel file after design is complete for an exit activity.
<sequence>
<!-- receive input from requestor -->
<receive name="receiveInput" partnerLink="client" portType="tns:Test"
operation="process" variable="input" createInstance="yes"/>
<assign>
<copy>
<from>$input.payload</from>
<to>$output.payload</to>
</copy>
</assign>
<!-- respond output to requestor -->
<reply name="replyOutput" partnerLink="client"
portType="tns:Test" operation="process" variable="output"/>
<exit/>
</sequence>
You can specify an assertion condition that is executed upon receipt of a callback message in request-response invoke activities, receive activities, reply activities, and onMessage branches of pick and scope activities. The assertion specifies an XPath expression that, when evaluated to false, causes a BPEL fault to be thrown from the activity. This condition provides an alternative to creating a potentially large number of switch, assign, and throw activities after a partner callback.
Note:
The assertion condition is only available in BPEL projects that support BPEL version 1.1The assertion condition is specified as a nested extension element. Example 11-33 provides details.
Example 11-33 Assertion Condition
<invoke | receive | onMessage>
standard-elements
<bpelx:postAssert name="ncname"? expression="boolean-expr" faultName="QName"+
message="generic-expr"+/> *
</invoke | receive | onMessage>
The bpelx:postAssert extension specifies the XPath expression to evaluate upon receipt of a callback message from a partner. If the assertion expression returns a false boolean value, the specified fault is thrown from the activity. If the assertion expression returns a true boolean value, no fault is thrown and the activities following the invoke activity, receive activity, or the onMessage branch of pick and scope activities are executed as in a normal BPEL process flow.
The bpelx:preAssert or bpelx:postAssert extension is similar to the Java assert statement. In Java, if the assert expression does not evaluate to true, an error is reported by the JVM. Similarly, the expression in the bpelx:preAssert or bpelx:postAssert extension must evaluate to true; otherwise, the specified fault is thrown.
For example, with the invoke activity shown in Example 11-34, if the XPath expression specified in the assertion condition returns false, the NegativeCredit fault is thrown.
<scope>
<faultHandlers>
<catch faultName="services:NegativeCredit" faultVariable="crError">
<empty/>
</catch>
</faultHandlers>
<sequence>
<invoke name="invokeCR" partnerLink="creditRatingService"
portType="services:CreditRatingService" operation="process"
inputVariable="crInput" outputVariable="crOutput">
<bpelx:postAssert name="negativeCredit"
expression="$crOutput.payload/tns:rating > 0"
faultName="services:NegativeCredit" message="'Negative
Credit'" />
</invoke>
</sequence>
</scope>
The optional name attribute for bpelx:preAssert or bpelx:postAssert is used while creating the audit trail event message. The name in this instance enables you to identify the assertion element in case multiple assertions are specified. If no name attribute is specified, the line number of the assertion element in the BPEL file may be used.
Depending upon the activity, you can specify when to execute a condition by clicking the Add icon in the Assertions tab of invoke, receive, reply, and onMessage branches of pick and scope activities, and selecting either Pre Assert or Post Assert. Based on your selection, the following bpelx extensions are used:
bpelx:preAssert: If you select Pre Assert, the condition is executed before the invoke or reply activity send out the outbound message.
bpelx:postAssert: If you select Post Assert, the condition is executed after an invoke activity, receive activity, or onMessage branch receives the inbound message.
Example 11-35 shows multiple bpelx:postAssert extensions in a receive activity:
Example 11-35 bpelx:postAssert Extension in a Receive Activity
<receive name="Receive_1" createInstance="no"
variable="Receive_1_processResponse_InputVariable"
partnerLink="AsyncBPELService"
portType="ns1:AsyncBPELServiceCallback"
bpelx:for="'PT10S'"
operation="processResponse">
<bpelx:postAssert name="assert1" expression="true()" message="'assert
true failed'" faultName="client:fault1"/>
<bpelx:postAssert name="assert2" expression="false()" message="'assert
false failed'" faultName="client:fault2"/>
</receive>
Example 11-36 shows multiple bpelx:preAssert extensions in an invoke activity:
Example 11-36 bpelx:preAssert Extension in a Invoke Activity
<invoke name="Invoke_1" inputVariable="Invoke_1_process_InputVariable"
outputVariable="Receive_1_processResponse_InputVariable"
partnerLink="SyncBPELService" portType="ns1:SyncBPELService"
operation="process">
<bpelx:preAssert name="assert1" expression="true()" message="'assert true
failed'"/>
<bpelx:preAssert name="assert2"
expression="bpws:getVariableData('counter') = 3" message="concat('The value of
counter is ', $counter)"/>
For information on using the Assertions tab, see Section 11.14.8, "How to Create Assertion Conditions."
You can specify the faultName and message attributes of the bpelx:postAssert element, as shown in Example 11-37.
Example 11-37 faultName and message Attributes
<invoke | receive | onMessage>
standard-elements
<bpelx:postAssert name="ncname"? expression="boolean-expr" faultName="QName"+
message="generic-expr"+/> *
</invoke | receive | onMessage>
If you do not specify the faultName attribute, the fault defaults to bpelx:postAssertFailure. If the message attribute is not specified, the message value defaults to the name of the activity.
<bpelx:postAssert expression="boolean-expr" />
The specified fault is thrown whenever the assertion condition evaluates to false. Analysis is performed on the faultName QName to ensure that it properly resolves to a fault that has been defined in the partner WSDL portType. The message expression is a general expression that can evaluate to any XPath value type (string, number, or boolean). If a nonstring value is returned, the string equivalent of the value is used.
You can nest multiple assertions in receive activities, invoke activities, and the onMessage branch of pick and scope activities, with evaluation of the assertions continuing in the order in which they were declared until an expression evaluates to false. Example 11-38 provides details.
Example 11-38 Nesting Multiple Assertions
<invoke name="invokeCR" partnerLink="creditRatingService"
portType="services:CreditRatingService" operation="process"
inputVariable="crInput" outputVariable="crOutput">
<bpelx:postAssert name="negativeCredit" expression="$crOutput.payload/tns:rating >
0"
faultName="services:NegativeCredit" message="'Negative Credit'"
/>
<bpelx:postAssert name="insufficientCredit"
expression="$crOutput.payload/tns:rating > 600"
faultName="services:InsufficientCredit" message="'Insufficient
Credit'" />
</invoke>
In Example 11-38, the assertion with the expression that checks that the response credit rating is greater than zero is evaluated first. Table 11-4 describes the assertion behavior.
| If The Credit Rating For The Returned Response Is... | Then... |
|---|---|
|
Less than zero |
The |
|
Greater than or equal to zero |
The assertion is correct and the second assertion is evaluated. |
|
Less than 600 |
The |
|
Greater than or equal to 600 |
The assertion is correct and no fault is thrown from the invoke activity. |
Any number of assertions can be nested. For no fault to be thrown from the activity, all assertions specified must evaluate to true.
This construct enables you to apply multiple levels of validation on an incoming payload, similar to if...else if...else statements in Java.
To enable a fault to always be thrown regardless of validation logic, the assertion expression can be specified as false(). This is similar to the else construct in Java.
You can also use built-in and custom XPath functions and $variable references within the assertion condition. Example 11-39 provides several examples.
Example 11-39 Built-in and Custom XPath Functions
<bpelx:postAssert expression="bpws:getVariableData( 'crOutput', 'payload', '/tns:rating' ) > 0" ... /> <bpelx:postAssert expression="custom:validateRating()" ... /> <bpelx:postAssert xmlns:fn='http://www.w3.org/2005/xpath-functions' expression="fn:false()" ... />
If an error is thrown by the XPath expression evaluation, the error is wrapped with a BPEL fault and thrown from the activity.
Faults that are thrown from a request-response invoke activity, receive activity, or onMessage branch of a pick or scope activity because of a failed assertion evaluation can be caught and handled by BPEL's fault policy framework. The fault policy framework enables you to specify the action to take whenever a fault (business or system) is thrown from an invoke activity. For example:
Retry of the invocation with exponential backoff
Execution of custom Java classes
Replay of the immediate scope containing the invoke activity
Review of the activity by an administrator and the permitting of manual editing of variables
Faults that are not caught and handled within a BPEL process flow are thrown from a BPEL component if the component WSDL declares the fault on the operation. If the fault is not declared on the operation, the fault is converted into a FabricInvocationException, which is a runtime fault. This fault can be caught by any caller components (including BPEL components), but the fault type is no longer the one originally thrown (however, the fault message string still retains traces of the original fault message).
For more information about fault policies, see Section 11.4, "Using the Fault Management Framework."
Each assertion condition that is evaluated causes an event to be logged to the instance audit trail. The event indicates whether the assertion passed or failed (for failure, the fault name and message are printed). The event also includes the name attribute specified in the assertion element; if no name attribute is provided, the line number of the assertion element in the BPEL process flow is used. The assertion condition printed in the audit event helps identify the assertion and better enables debugging of the flow.
If the assertion condition XPath expression does not evaluate to an XML schema boolean type, a bpelx:postAssertFailure fault is thrown from the activity. An event in the instance audit trail is also logged indicating the error. Example 11-40 provides details.
Example 11-40 Throwing a bpelx:assertFailure Fault
<bpelx:postAssert expression="bpws:getVariableData( 'crOutput', 'payload', '/tns:rating' ) > 0" ... /> <bpelx:postAssert expression="custom:validateRating()" ... /> <bpelx:postAssert xmlns:fn='http://www.w3.org/2005/xpath-functions' expression="fn:false()" ... />
Analysis of the assertion expression is performed by the BPEL compiler and errors are reported if an expression does not evaluate to an XML schema boolean type. For custom XPath functions, this type of analysis is not performed.
You can also create assertion conditions in a standalone assert activity in BPEL 1.1. The assertion specifies an XPath expression that, when evaluated to false, causes a BPEL fault to be thrown from the activity.
The bpelx:assert extension implements assertions in the standalone assert activity:
<bpelx:assert name="Assert1" expression="string" message="string"/>
For information on using the standalone assert activity, see Section 11.14.8, "How to Create Assertion Conditions."
You can create assertion conditions in the following activities:
In invoke activities, receive activities, reply activities, and OnMessage branches
In standalone assert activities
To create assertion conditions in invoke activities, receive activities, reply activities, and OnMessage branches:
In the SOA Composite Editor, double-click the version 1.1 BPEL process service component.
In the Component Palette, expand BPEL Constructs.
Drag a Receive activity, Invoke activity, Pick activity, or Scope activity into the designer.
Expand the Receive, Invoke, or onMessage branch of the Pick or Scope activity.
Click the Assertions tab.
Click the Add icon.
Select when to execute the condition.
Pre Assert: If selected, the condition is executed before the invoke or reply activity send out the outbound message.
Post Assert: If selected, the condition is executed after an invoke activity, receive activity, or onMessage branch receives the inbound message.
Based on your selection, the Pre Assert or Post Assert dialog is displayed.
Specify values for the assertion condition, as shown in Figure 11-20. For this example, Post Assert was selected for an assertion condition on a receive activity.
Select the Fault QName to be thrown by clicking the Search icon and selecting an existing fault from the Fault Chooser dialog. You can also provide your own values for the Namespace URI and Local Part fields of the fault. If you do not specify anything for the Fault QName, then a bpelx:assertFailure fault is thrown.
When complete, click OK to return to the Assertions tab of the activity. The completed assertion condition is displayed, as shown in Figure 11-21.
Click Apply, then OK.
To create an assertion condition in standalone assert activities:
In the SOA Composite Editor, double-click the version 1.1 BPEL process service component.
In the Component Palette, expand BPEL Constructs.
Drag an Assert activity into the designer.
Expand the Assert activity.
To the right of the Expression field, click the XPath Expression Builder icon.
Create an expression.
When complete, click OK.
The Assert dialog looks as shown in Figure 11-22.
Click Apply, then OK.
You can disable assertions in either of two ways:
By setting the System MBean Browser property DisableAsserts to true in Oracle Enterprise Manager Fusion Middleware Control Console.
By setting bpel.config.disableAsserts to true in the composite.xml file of the SOA composite application, as shown in Example 11-41.
For more information about setting System MBean Browser properties, see Oracle Fusion Middleware Administrator's Guide for Oracle SOA Suite and Oracle BPM Suite.
The code segment in the .bpel file defines the specific operation after design completion.
For Example 11-42, the bpelx:assert condition in the invoke activity, when evaluated to false (for example, a credit rating of 0 is submitted), returns a Negative Credit message. If the condition evaluates to true, no fault is thrown from the invoke activity and the remaining activities in the BPEL process flow are executed normally.
Example 11-42 Assertion Condition in an Invoke Activity
<invoke name="callbackClient" partnerLink="internalwarehouseservice_client"
portType="client:InternalWarehouseServiceCallback" operation="processResponse"
inputVariable="outputVariable">
<bpelx:assert name="negativeCredit"
expression="$crOutput.payload/tns:rating > 0"
message="Negative Credit"/>
</invoke>
In Example 11-43, the bpelx:assert condition in the standalone assert activity, when evaluated to false, returns a got assertion failure on true expression message. If the condition evaluates to true, no fault is thrown from the assert activity and the remaining activities in the BPEL process flow are executed normally.