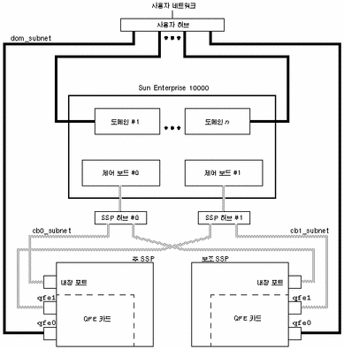
다음 테이블과 그림은 보조 SSP 네트워크 구성을 설명합니다.
표 2-4 보조 SSP 네트워크 구성| 서브넷 | 이름 | 설명 |
|---|---|---|
| 1차 | 도메인 서브넷 또는 dom_subnet | SSP와 도메인 모두 |
| 2차 | 제어 보드 서브넷 0 또는 cb0_subnet | SSP와 첫 번째 제어 보드 모두 |
| 3차 | 제어 보드 서브넷 1 또는 cb1_subnet | SSP와 두 번째 제어 보드 모두 |

그림 2-3에서 Sparcstation 5에 대한 주 SSP와 보조 SSP의 내장 포트는 le0이고 Sun Ultra 5에 대한 내장 포트는 hme0입니다.
이 프로시저는 앞에서 설명한 3가지 구성 중 하나를 사용하여 SSP 네트워크를 구성하는 방법을 제공합니다.
SSP에 로그인하여 root 역할을 담당합니다.
root 역할로 admin_low 레이블에서 다음 단계를 수행합니다.
/etc/hostname.* 구성 파일을 작성합니다.
네트워크 컨트롤러를 볼 필요가 있는 경우 ifconfig -a를 사용합니다.
예를 들어, QuadFastEthernetTM(QFE) 카드, 모델 1049A를 두 개의 서브넷, 세 개의 서브넷을 사용한 네트워크 구성 또는 Sun Ultra 5의 보조 SSP 네트워크 구성에서 사용하는 경우 다음과 같은 파일이 필요합니다.
/etc/hostname.qfe0 - 현재 SSP 호스트 이름을 포함합니다. 이것은 1차 서브넷인 dom_subnet을 구성합니다.
/etc/hostname.hme0 - ssp_hostname-hme0을 포함합니다. 이것은 2차 서브넷인 cb0_subnet을 구성합니다.
/etc/hostname.qfe1 - ssp_hostname-qfe1을 포함합니다. 이것은 3차 서브넷인 cb1_subnet을 구성합니다.
| 파일 이름 | 파일 내용 |
|---|---|
| /etc/hostname.qfe0 | xf4-ssp |
| /etc/hostname.hme0 | xf4-ssp-hme0 |
| /etc/hostname.qfe1 | xfe-ssp-qfe1 |
defaultrouter 파일의 내용을 1차 네트워크 인터페이스의 IP 주소로 설정합니다.
ssp# echo primary_network_IP_address > /etc/defaultrouter
이름 서비스 hosts 레지스트리를 수동으로 갱신하여 제어 보드(들)와 도메인 및 SSP와 같은 기타 호스트의 호스트 이름과 IP 주소를 포함시킵니다.
이 때 NIS+(Network Information Service), /etc/hosts 파일 또는 DNS(Domain Name Service)가 함께 갱신됩니다.
다음은 /etc/hosts 파일을 수정한 전형적인 예입니다.
# Internet host table 127.0.0.1 localhost 0.0.0.0 tsol_default # Entries for dom_subnet. www.xxx.yyy.zzz domain1_hostname www.xxx.yyy.zzz domain2_hostname ... www.xxx.yyy.zzz domainn_hostnname(n is the number of domains) # # Entries on both ssp's. # NOTE : On the spare SSP, make sure "loghost" # belongs to the spare. # www.xxx.yyy.zzz main_ssp_hostname loghost www.xxx.yyy.zzz spare_ssp_hostname # # The next three entries need to be on cb0_subnet. # www.xxx.yyy.zzz main_ssp_hostname-hme0 www.xxx.yyy.zzz spare_ssp_hostname-hme0 www.xxx.yyy.zzz cb0_hostname # # The next three entries need to be on cb1_subnet. # www.xxx.yyy.zzz main_ssp_hostname-qfe1 www.xxx.yyy.zzz spare_ssp_hostname-qfe1 www.xxx.yyy.zzz cb1_hostname
다음은 주 SSP의 /etc/hosts 파일에 대한 예제입니다. 이 예제에서 SSP는 다음과 같이 구성됩니다.
xf4 및 xf4-b3은 호스트 도메인입니다.
xf4-ssp는 주 SSP이고 xf4-ssp1은 보조 SSP입니다.
xf4-cb0 및 xf4-cb1은 두 제어 보드의 호스트 이름입니다.
#/etc/hosts # 127.0.0.1 localhost 0.0.0.0 tsol_default #dom_subnet (www.xxx.49.zzz). The 49 subnet # 129.153.49.8 xf4 129.153.49.9 xf4-b3 129.153.49.113 xf4-ssp loghost 129.153.49.114 xf4-ssp1 # #cb0_subnet (www.xxx.151.zzz). The 151 subnet # 129.153.151.113 xf4-ssp-hme0 129.153.151.114 xf4-ssp1-hme0 129.153.151.123 xf4-cb0 # #cb1_subnet (www.xxx.152.zzz). The 152 subnet # 129.153.152.113 xf4-ssp-qfe1 129.153.152.114 xf4-ssp1-qfe1 129.153.152.127 xf4-cb1
/etc/hosts 파일은 /etc/inet/hosts 파일로 연결됩니다.
네트워크에서 도메인을 부팅하려면 SSP와 호스트 도메인은 동일한 서브넷에 있어야 합니다.
이름 서비스 ethers 레지스트리를 수동으로 갱신하여 도메인(들), SSP(들) 및 제어 보드(들)의 이더넷 주소를 포함시킵니다.
NIS+ 또는 /etc/ethers 파일을 갱신해야 합니다. 예를 들면 다음과 같습니다.
08:00:20:ac:5b:ba xf4-ssp 08:00:20:b0:64:78 xf4-ssp1 00:00:be:a6:55:88 xf4 00:00:be:a6:6f:89 xf4-b3 00.00.be.01.00.1e xf4-cb0 00.00.be.01.00.57 xf4-cb1
제어 보드(들)의 이더넷 주소는 각 제어 보드 앞에 있습니다.
tnrhdb(4) 파일을 갱신하여 SSP(들), 도메인(들), 제어 보드(들) 그리고 인터페이스(들)의 템플리트를 표시합니다.
NIS+ tnrhdb 테이블이나 /etc/security/tsol/tnrhdb 파일을 갱신해야 합니다. E10000이 다음과 같이 구성되는 경우를 예로 들 수 있습니다.
| 주 SSP | xf4-ssp (129.153.49.113) |
| Trusted Solaris 7 운영 환경을 실행 중입니다. | |
| 인터페이스 | xf4-ssp-hme0 (129.153.151.113) |
| xf4-ssp-qfe1 (129.153.152.113) | |
| 보조 SSP | xf4-ssp1 (129.153.49.114) |
| Trusted Solaris 7 운영 환경을 실행 중입니다. | |
| 인터페이스 | xf4-ssp1-hme0 (129.153.151.114) |
| xf4-ssp1-qfe1 (129.153.152.114) | |
| 도메인1 | xf4 (129.153.49.8) |
| Trusted Solaris 7 운영 환경을 실행 중입니다. | |
| 도메인2 | xf4-b3 (129.153.49.9) |
| Solaris 7 운영 환경을 실행 중입니다. | |
| 제어 보드 | xf4-cb0 (129.153.151.123) |
| xf4-cb1 (129.153.152.127) |
tnrhdb 파일이나 NIS+ 테이블에는 다음과 같은 항목이 있습니다.
# /etc/security/tsol/tnrhdb # # Assume that template unlab and tsol is defined in the tnrhtp database. # 127.0.0.1:tsol 0.0.0.0:unlab 129.153.49.113:tsol 129.153.151.113:tsol 129.153.152.113:tsol 129.153.49.114:tsol 129.153.151.114:tsol 129.153.152.114:tsol 129.153.49.8:tsol 129.153.49.9:unlab 129.153.151.123:unlab 129.153.152.127:unlab
SSP가 통신해야 하는 다른 Solaris나 Trusted Solaris 시스템이 있는 경우, 적합한 템플리트를 사용하여 SSP에 이들을 표시해야 합니다. 이렇게 하려면 /etc/security/tsol/tnhdb 파일에 추가 항목이 필요합니다.
사이트 구성에 따라, 템플리트를 통해 새롭게 설치된 SSP와 통신을 할 수 있도록 다른 Trusted Solaris 시스템의 tnrhdb 파일을 갱신해야 할 수도 있습니다.
/etc/inet/netmasks 파일을 갱신합니다.
넷마스크 파일에 /etc/inet 파일에서 사용된 모든 네트워크 번호에 대한 넷마스크가 없는 경우입니다.
예를 들어, /etc/hosts 파일이 제어 보드를 다음과 같이 정의하는 경우
10.100.100.100 ctrl_brd_0 10.100.101.100 ctrl_brd_1/etc/inet/netmasks 파일에는 다음과 같은 항목이 있어야 합니다.
10.100.0.0 255.255.255.0
모든 워크스테이션에서 원격으로 루트 역할에 로그인할 수 있도록 /etc/default/login 파일을 갱신합니다.
다음과 같이 /etc/default/login 파일에서 CONSOLE=/dev/console 줄을 주석으로 처리합니다.
#CONSOLE=/dev/console |
원격 로그인에 대한 요구 사항은 Trusted Solaris Administrator's Procedures의 "Remote Administration Options"에서 자세하게 설명합니다.
주 SSP와 보조 SSP에서 /etc/nsswitch.conf 파일을 편집합니다.
로컬 구성 파일을 사용하는 경우 /etc/nsswitch.conf 파일에 있는 행은 다음 예제와 비슷합니다.
hosts: files ethers: files netmasks: files bootparams: files netmasks: files tnrhtp: files tnrhdb: files tsoluser: files tsolprof: files
NIS+에서 파일에 있는 행은 다음 예제와 비슷합니다.
hosts: files nisplus ethers: files nisplus netmasks: files nisplus bootparams: files nisplus tnrhtp: nisplus files tnrhdb: nisplus files tsoluser: nisplus files tsolprof: files nisplus
이름 서버 정보(NIS+)는 네트워크 구성마다 다릅니다.
SSP를 재부팅합니다.