This appendix describes how Solaris Bandwidth Manager processes events such as changes to policy information in the directory.
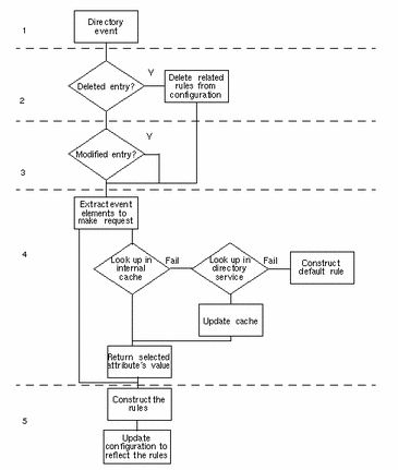
When policy information in the directory is modified, an event is sent to the policy agent. The policy agent updates the rules in the current configuration to match the modified policy information, as shown in Figure B-1.

Stage 1: The directory event is received by the event dispatcher component of the policy agent.
Stage 2: If the event indicates that a policy entry has been deleted, the information in the event is used to find the related rules and delete them from the current configuration.
Stage 3: For an entry that has been modified, rules relating to information no longer present in the entry are deleted from the current configuration.
Stage 4: For a new entry and for new information in a modified entry, the event is analyzed to see whether it contains the complete rules to be added to the configuration. If it does not, the policy agent searches the internal cache. If the rules are not held in the cache, the policy agent sends a request to the directory service. If the response from the directory service contains the rules, they are stored in the cache.
Stage 5: The rule information extracted from the event, the cache, or the directory service is used to construct the new rules to be added to the current configuration. The policy agent updates the current configuration. If no rule information has been found, the default rule is added to the current configuration, if it is not already present.