This appendix describes the AXF, Oracle E-Business Suite, and Oracle PeopleSoft configuration tables used for the Imaging solution. It describes AXF commands and web user interface tools such as the Task List and Task Viewer, and provides example implementations.
This appendix covers the following topics:
Section A.4, "Oracle E-Business Suite Forms Tables For the Imaging Solution"
Section A.5, "Oracle PeopleSoft Tables For the Imaging Solution"
This section describes the following AXF tables.
Note:
Running an AXF and an Oracle BPM Worklist session at the same time can result in the session first opened ending. For example, launching an AXF session with an Oracle BPM Worklist session open ends the BPM Worklist session.This conflict occurs because console session information is retained in browser cookies whose names are domain specific, but default to the same initial value. To prevent this conflict, set cookie names unique for each domain. To set cookie names, use the console on the advanced section of the Domain Configuration/General page.
Note:
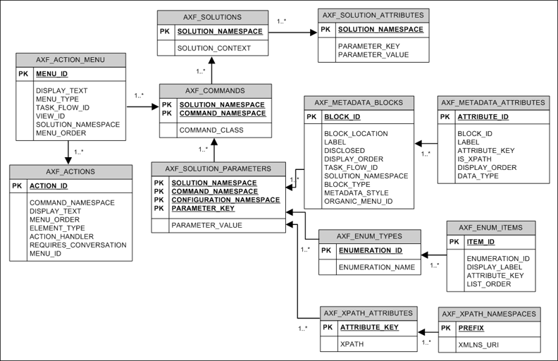
If modifying AXF table values in a running system, either execute Clear DB Cache from the Driver page or restart the AXF application within the Application Server for the changes to take effect. For information about the Driver page, see "Verifying the AXF Installation with HelloWorld" in Oracle WebCenter Content Installation Guide.The diagram that follows displays the AXF configuration tables and their relationships.
| AXF Table | Description |
|---|---|
| AXF_SOLUTIONS Table | Define AXF solutions, and general parameters for infrastructure, services, and solutions. |
| AXF_COMMANDS Table | Define AXF commands within solutions. |
| AXF_SOLUTION_PARAMETERS Table | Define parameters for AXF commands and AXF web tools. |
| AXF_ACTION_MENU Table | Define task action pane itself and links in the pane. |
| AXF_METADATA_BLOCKS Table, | Define optional sections, such as Summary, Comments, and dynamic data tables in the Task Viewer. |
| AXF_ENUM_TYPES Table, | Define enumeration pickers and their values. |
| AXF_XPATH_ATTRIBUTES Table, | Define XPATH attributes for payload elements. |
The AXF_SOLUTIONS table defines the solutions used by AXF. It links to the AXF_COMMANDS Table through the SOLUTION_NAMESPACE column.

This example table shows the AXF solutions defined. Each of the solutions uses AxfCommandMediator as its solution implementation.
Table A-2 Example AXF_SOLUTIONS Table
| SOLUTION_NAMESPACE | SOLUTION_CONTEXT |
|---|---|
|
InvoiceProcessing |
ejb.AxfCommandMediator#oracle.imaging.axf.service.AxfCommandMediatorRemote |
|
AccountDistributionApproval |
ejb.AxfCommandMediator#oracle.imaging.axf.service.AxfCommandMediatorRemote |
|
SupplierMaintenance |
ejb.AxfCommandMediator#oracle.imaging.axf.service.AxfCommandMediatorRemote |
|
RequestInvoiceInformation |
ejb.AxfCommandMediator#oracle.imaging.axf.service.AxfCommandMediatorRemote |
|
AccountDistribution |
ejb.AxfCommandMediator#oracle.imaging.axf.service.AxfCommandMediatorRemote |
|
InvoiceApproval |
ejb.AxfCommandMediator#oracle.imaging.axf.service.AxfCommandMediatorRemote |
|
Rescan |
ejb.AxfCommandMediator#oracle.imaging.axf.service.AxfCommandMediatorRemote |
This table defines general attributes for use by infrastructure, services, or solutions. For example, use this table to define error message addresses, connections, and conversation timeout settings.

Table A-3 Column Description for AXF_SOLUTION_ATTRIBUTES Table
| Column | Description |
|---|---|
|
SOLUTION_NAMESPACE |
Specifies the solution namespace that uses this parameter. |
|
PARAMETER_KEY |
Name of the parameter. Used when retrieving the parameter value from the database. Parameters include:
|
|
PARAMETER_VALUE |
Value of the parameter. |
This example table sets solution attributes for the Invoice Processing solution.
Table A-4 Example AXF_SOLUTION_ATTRIBUTES Table
| SOLUTION_NAMESPACE | PARAMETER_KEY | PARAMETER_VALUE |
|---|---|---|
|
InvoiceProcessing |
BPEL_CONNECTION |
axfconnection |
|
InvoiceProcessing |
CONNECTION_PROVIDER |
oracle.imaging.axf.servicemodules.bpel.workflow.AxfWorkflowServiceModule |
|
InvoiceProcessing |
USE_AUTOTASK_LOCKING |
TRUE |
|
InvoiceProcessing |
TASKLIST_RANGESIZE |
10 |
Use this table to define AXF commands and their java classes for each solution. Note that you configure each command's parameters in the AXF_SOLUTION_PARAMETERS Table.

Table A-5 Column Description for AXF_COMMANDS Table
| Column | Description |
|---|---|
|
SOLUTION_NAMESPACE |
The name of the solution, as defined in the AXF_SOLUTIONS Table. |
|
COMMAND_NAMESPACE |
Defines the unique name of the command within the solution. |
|
COMMAND_CLASS |
The fully qualified class name in which the command is defined. This class is loaded and the execute() method representing the command is executed. For information about a specific task, see the specific task listed in Section A.3. |
This example shows commands defined for the Invoice Processing solution.
Fields not shown: SOLUTION_NAMESPACE=InvoiceProcessing
Table A-6 Example AXF_COMMANDS Table
| COMMAND_CLASS | COMMAND_NAMESPACE |
|---|---|
|
oracle.imaging.axf.commands.bpel.AutotaskCommand |
AutoOpenTask |
|
oracle.imaging.axf.commands.bpel.ReleaseTaskCommand |
ReleaseTask |
|
oracle.imaging.axf.commands.bpel.ReleaseTaskCommand |
SkipTask |
|
oracle.imaging.axf.commands.bpel.CompleteTaskCommand |
AccountDistributionComplete |
|
oracle.imaging.axf.commands.bpel.CompleteTaskCommand |
AssignProcessingGroupComplete |
|
oracle.imaging.axf.commands.bpel.CompleteTaskCommand |
CompleteInvoice |
|
oracle.imaging.axf.commands.bpel.CompleteTaskCommand |
DeleteInvoice |
|
oracle.imaging.axf.commands.bpel.CompleteTaskCommand |
DuplicateInvoice |
|
oracle.imaging.axf.commands.bepl.CompleteTaskCommand |
Hold |
|
oracle.imaging.axf.commands.bpel.CompleteTaskCommand |
InvoiceApprovalComplete |
|
oracle.imaging.axf.commands.bpel.CompleteTaskCommand |
RequestInformationComplete |
|
oracle.imaging.axf.commands.bpel.CompleteTaskCommand |
RescanComplete |
|
oracle.imaging.axf.commands.bpel.CompleteTaskCommand |
SpecialistExceptionComplete |
|
oracle.imaging.axf.commands.bpel.CompleteTaskCommand |
SupplierMaintenance |
|
oracle.imaging.axf.commands.bpel.CompleteTaskCommand |
SupplierMaintenanceComplete |
|
oracle.imaging.axf.commands.bpel.OpenTaskCommand |
OpenTask |
|
oracle.imaging.axf.commands.bpel.UpdateTaskFromProcedureCommand |
RetrieveUserList |
|
oracle.imaging.axf.commands.bpel.UpdateTaskCommand |
AttachSupplemental |
|
oracle.imaging.axf.commands.bpel.UpdateTaskCommand |
SaveInvoice |
|
oracle.imaging.axf.commands.system.RedirectCommand |
AccountDistributionEdit |
|
oracle.imaging.axf.commands.system.RedirectCommand |
AssignProcessingGroupEdit |
|
oracle.imaging.axf.commands.system.RedirectCommand |
EditComments |
|
oracle.imaging.axf.commands.system.RedirectCommand |
InvoiceApprovalEdit |
|
oracle.imaging.axf.commands.system.RedirectCommand |
RequestInformationEdit |
|
oracle.imaging.axf.commands.system.RedirectCommand |
RescanEdit |
|
oracle.imaging.axf.commands.system.RedirectCommand |
SearchIPM |
|
oracle.imaging.axf.commands.system.RedirectCommand |
SpecialistExceptionEdit |
|
oracle.imaging.axf.commands.system.RedirectCommand |
StartInvoiceProcessing |
|
oracle.imaging.axf.commands.system.RedirectCommand |
SupplierMaintenanceEdit |
|
oracle.imaging.axf.commands.system.TerminateConversationCommand |
TerminateConversation |
This table defines command parameters for the solution, AXF commands, and AXF web tools.

Table A-7 Column Description for AXF_SOLUTION_PARAMETERS Table
| Column | Description |
|---|---|
|
SOLUTION_NAMESPACE |
Identifies the solution namespace, as defined in the AXF_SOLUTIONS Table. |
|
COMMAND_NAMESPACE |
Specifies the command name, as defined in the AXF_COMMANDS Table. |
|
CONFIGURATION_NAMESPACE |
Used to implement the command. Specify the complete package name of the implementation class. This namespace path provides the physical Java class to instantiate. The namespace also differentiates commands within the same solution namespace. |
|
PARAMETER_KEY |
Specifies the parameter key to use in the AXF command. For parameter details, see the specific command or web tool: Web Tools: AXF Commands: |
|
PARAMETER_VALUE |
Specifies the value of the parameter key. (For parameter details, see the specific AXF command or web tool.) If the value has an XPATH: prefix, the attribute value comes from the AXF_XPATH_ATTRIBUTES Table. |
This example defines the StartInvoiceProcessing command for the Invoice Processing solution. The first row specifies that the task list be displayed, using the RedirectCommand and corresponding URL. The remaining rows call the task list (in the CONFIGURATION_NAMESPACE column) and define its behavior.
Fields not shown: SOLUTION_NAMESPACE=InvoiceProcessing
Table A-8 Example AXF_SOLUTION_PARAMETERS Table for StartInvoiceProcessing Command
Use this table to insert and customize an action menu on an AXF web page such as the Task Viewer or Task List screen. A common use is to display a Task Actions pane in the Task Viewer for users to click action links related to the displayed task, as shown in Figure A-2. Use the AXF_ACTIONS Table to define a specified menu's actions.

Table A-9 Column Description for AXF_ACTION_MENU Table
| Column | Description |
|---|---|
|
MENU_ID |
Specifies a primary key to the AXF_ACTIONS Table, identifying the menu in which to place menu actions. |
|
DISPLAY_TEXT |
Specifies the pane's title (for example, Task Actions, Shortcuts, or Re-Assignments). |
|
MENU_TYPE |
Specifies where on the screen the menu is displayed and its type. (LEFT_SIDEBAR displays a side pane leftmost on the screen.) |
|
TASK_FLOW_ID |
Specifies the active task flow with which to associate the menu. For example, to add a side menu to a task list display, specify a value of |
|
VIEW_ID |
(Reserved for future use.) |
|
SOLUTION_NAMESPACE |
Identifies the AXF solution, as defined in the AXF_SOLUTIONS Table. |
|
MENU_ORDER |
Defines the order in which the menu is displayed when multiple menus are set for display. |
This table defines the task actions used in an AXF solution. You can display action menus on AXF web pages such as the Task Viewer page (see Section A.2.3) or a Task List (see Section A.2.2). This table links to the AXF_COMMANDS Table.

Table A-11 Column Description for AXF_ACTIONS Table
| Column | Description |
|---|---|
|
DISPLAY_TEXT |
Specifies the name of the action (link, for example) in the pane. |
|
COMMAND_NAMESPACE |
Specifies the command called as a result of the action, as defined in the AXF_COMMANDS Table. |
|
MENU_ORDER |
Specifies the display order of the action in the pane. |
|
ELEMENT_TYPE |
Specifies how to render the action on the page, where LINK displays an HTML link. |
|
ACTION_HANDLER |
Determines who/what handles the action. COMMAND is the currently available handler. Note: If left (null), this value defaults to COMMAND. |
|
REQUIRES_CONVERSATION |
Specifies whether the action requires a conversation ID to already be initialized. |
|
MENU_ID |
Specifies the ID from the AXF_ACTION_MENU Table and defines the menu in which the action is displayed. |
|
ACTION_ID |
Defines the action's unique numeric identifier. |
|
USE_POPUP |
Reserved for future use. |
The tables that follow provide an example AXF_ACTIONS Table.
Fields not shown in Table A-12:
ACTION_HANDLER=COMMAND
REQUIRES_CONVERSATION=TRUE
Table A-12 Example AXF_ACTIONS Table
| DISPLAY_TEXT | COMMAND_NAMESPACE | MENU_ORDER | ELEMENT_TYPE | MENU_ID | ACTION_ID |
|---|---|---|---|---|---|
|
Invoice Approval |
InvoiceApprovalEdit |
1 |
LINK |
0 |
AXF_ACTIONS_SEQ.NEXTVAL |
|
Return to Task List |
ReleaseTask |
0 |
LINK |
0 |
AXF_ACTIONS_SEQ.NEXTVAL |
|
Skip Task |
SkipTask |
0 |
LINK |
0 |
AXF_ACTIONS_SEQ.NEXTVAL |
|
Complete Invoice |
CompleteTask |
0 |
LINK |
0 |
AXF_ACTIONS_SEQ.NEXTVAL |
This table defines the XPATH attributes used in the AXF framework. This XPATH is mainly defined for payload elements.

Table A-13 Column Description for AXF_XPATH_ATTRIBUTES Table
| Column | Description |
|---|---|
|
ATTRIBUTE_KEY |
Attribute key referenced in the Parameter Value column in the AXF_SOLUTION_PARAMETERS Table. |
|
XPATH |
XPATH expression used to locate the value in the payload. |
This example follows an XPATH attribute specified for an AssignProcessingGroupEdit command in the AXF_SOLUTION_PARAMETERS table. The PARAMETER_VALUE column contains an XPATH: prefix, indicating that the attribute value comes from the AXF_XPATH_ATTRIBUTES table.
Fields not shown: SOLUTION_NAMESPACE=InvoiceProcessing
Table A-14 Example AXF_SOLUTION_PARAMETERS Table
| COMMAND_NAMESPACE | CONFIGURATION_NAMESPACE | PARAMETER_KEY | PARAMETER_VALUE |
|---|---|---|---|
|
AssignProcessingGroupEdit |
oracle.imaging.axf.web.EnumerationPicker |
ATTRIBUTE_NAME |
XPATH:InvoiceProcessing_ProcessingGroup |
In the AXF_XPATH_ATTRIBUTES table that follows, the corresponding XPATH column displays the XPATH expression used to locate the value in the payload.
Table A-15 Example AXF_XPATH ATTRIBUTES Table
| ATTRIBUTE_KEY | XPATH |
|---|---|
|
InvoiceProcessing_ProcessingGroup |
//task:processingGroup |
In the AXF_NAMESPACES table that follows, the XMLNS_URI column displays where within the XML file to locate the processingGroup task information.
The following table defines the namespaces used for the XPATH attributes. It links to the AXF_XPATH_ATTRIBUTES Table.

Table A-18 Example AXF_XPATH_NAMESPACES Table
| Prefix | XMLNS_URI |
|---|---|
|
task |
http://xmlns.oracle.com/bpel/workflow/task |
|
documentContent |
http://xmlns.oracle.com/imaging/axf/documentContentTypes |
|
solution |
http://xmlns.oracle.com/imaging/axf/solutionTypes |
|
invoiceProcessing |
http://xmlns.oracle.com/imaging/axf/InvoiceProcessing |
|
xml |
http://www.w3.org/XML/1998/namespace |
This section covers the following topics:
After initial configuration of an imaging solution (using a solution accelerator or the tables described in this appendix), you can use the Solution Editor in Imaging to quickly make changes to the web tools. For information about the Solution Editor, see "Solutions Editor Page" in Oracle WebCenter Content Administrator's Guide for Imaging.
For example, use the Solution Editor for such tasks as:
Changing the profiles (BPEL views) available to users in the Task List
Changing the task actions available to users in the Task Viewer
Changing the metadata items and bottom panel tabs displayed in the Task Viewer
Specifying the enumeration values available for specified enumerations on the Enumeration Picker page
The AXF Task List web tool is a reusable web interface for displaying human workflow tasks controlled by an AXF solution.

The Profile list uses standard BPEL views to restrict the task list view based on user/group, BPEL Process versions, and BPEL payload attribute values. Use the BPM Worklist application to create views and share them with other users or groups. Use the Imaging Solution Editor's General tab to edit the profile list, assign a default profile, and identify the uses of comment blocks within the solution. For more information, see "Solutions Editor Page: General Tab" in Oracle WebCenter Content Administrator's Guide for Imaging.
Users can select a task from the table by clicking its View Task link, which retrieves the workflow task from a specified BPEL server and process, claims it and displays it in the Task Viewer. After users complete the selected task, they return to the Task List. You can configure the number of tasks to return in the Task List at a time.
When autotask mode is selected, the AXF solution automatically claims and opens tasks as users complete them, until all of a user's tasks have been processed or the user chooses to stop processing tasks by returning to the Task List. Users activate autotask mode by clicking Auto Task.
Users can release an assigned task by clicking the Release button. The task is then released back into the pool of available tasks. If the user clicks Release but did not previously acquire the selected task, a message indicates that the task cannot be released.
Users can sort tasks by clicking a column heading. They can also search for specific tasks using the Search field. For details, see the Oracle WebCenter User's Guide for Application Adapters.
Table A-19 Task List Parameters in AXF_SOLUTION_PARAMETERS Table
| Parameter | Description |
|---|---|
|
CMD_OPEN_TASK_BUTTON |
Specify a COMMAND_NAMESPACE to execute when a user clicks the View Task link on the Task List web page. |
|
CMD_AUTO_TASK_BUTTON |
Specify a COMMAND_NAMESPACE to execute when a user clicks the Auto Task button on the Task List web page. |
|
NO_OF_LINES |
Specify the maximum number of tasks to display before displaying multiple pages. To configure the number of tasks to return in the Task List, use the TASKLIST_RANGESIZE parameter in the AXF_SOLUTION_ATTRIBUTES Table. |
|
VIEW_LIST |
Specify the list of views (defined in the Human workflow system) displayed to users in the Profile field. |
|
DEFAULT_VIEW |
Specify the default profile. If used with the VIEW_LIST parameter, this value must also be listed in the VIEW_LIST value. |
This example defines the StartInvoiceProcessing command for the Invoice Processing solution. The first row uses the Redirect Command to display the task list. The remaining rows define the task list's behavior.
Fields not shown: SOLUTION_NAMESPACE=InvoiceProcessing
Table A-20 Example Task List Parameters in AXF_SOLUTION_PARAMETERS Table
| COMMAND_NAMESPACE | CONFIGURATION_NAMESPACE | PARAMETER_KEY | PARAMETER_VALUE |
|---|---|---|---|
|
StartInvoiceProcessing |
oracle.imaging.axf.commands.bpel.RedirectCommand |
REDIRECT_URL |
taskflow://WEB-INF/taskflows/axf-tasklist-tfd.xml#axf-tasklist-tfd |
|
StartInvoiceProcessing |
oracle.imaging.axf.web.backing.TaskList |
CMD_OPEN_TASK_BUTTON |
OpenTask |
|
StartInvoiceProcessing |
oracle.imaging.axf.web.backing.TaskList |
CMD_AUTO_TASK_BUTTON |
AutoOpenTask |
|
StartInvoiceProcessing |
oracle.imaging.axf.web.backing.TaskList |
DEFAULT_VIEW |
(null) |
|
StartInvoiceProcessing |
oracle.imaging.axf.web.backing.TaskList |
SHOW_INBOX |
FALSE |
|
StartInvoiceProcessing |
oracle.imaging.axf.web.backing.TaskList |
VIEW_LIST |
North Invoice Processing Group, South Invoice Processing Group, East Invoice Processing Group, West Invoice Processing Group, My Holds, Exceptions |
The AXF Task Viewer web tool is a reusable web interface that displays the content associated with a Human Workflow Task. In a typical configuration, a business user displays the Task Viewer on one monitor, and keys values shown in the image into a business application on another monitor.
Once configured, use the Imaging Solution Editor to make the following changes to the Task Viewer:
Edit the display label of the Action menu, define the menu item order, hide or display menu items and edit menu item labels, as described in "Solutions Editor Page: Actions Tab" in Oracle WebCenter Content Administrator's Guide for Imaging.
Edit the metadata block label, change the metadata item order, hide or display metadata items, edit metadata item labels, and change the dynamic data table table (bottom panel) display, as described in "Solutions Editor Page: Task Viewer Tab" in Oracle WebCenter Content Administrator's Guide for Imaging.
You can also customize the web page through database configuration.

Users view image documents in the Image Viewer pane, using either the basic or advanced Imaging viewer mode. The Task Viewer uses the Imaging viewer tool to render image documents.
If configured, users can select actions in the side Task Actions pane, which invoke a solution's AXF commands. You enable the Task Actions pane in the AXF_ACTION_MENU Table, configure the action links to invoke AXF commands in the AXF_ACTIONS Table, and the commands themselves in the AXF_COMMANDS Table. If autotask mode is selected, users disable it by returning to the Task List, typically by clicking a Return to Task List link in the Task Actions pane.
If configured, users can view a Summary section that displays metadata values about the task. You configure these items for display in the AXF_METADATA_BLOCKS Table and AXF_METADATA_ATTRIBUTES Table. You can also configure the section's title and the task payload values displayed.
If configured, users can view a Comments section that displays comment fragments and provides icons for displaying full comments or adding them for the task. You configure comments for display in the AXF_METADATA_BLOCKS Table.
If configured, users can view a dynamic data table (bottom tabs) from the BPEL payload XML, such as General Ledger lines for an invoice processing solution. You configure the table in the AXF_METADATA_BLOCKS Table and its data lines in the AXF_METADATA_ATTRIBUTES Table. For more information, see Section 5.4.10.
You configure the Task Viewer in the following tables:
This table defines the task viewer itself and its sections for display on the Task Viewer page.

Table A-21 Column Description for AXF_METADATA_BLOCKS Table
| Column | Description |
|---|---|
|
BLOCK_ID |
Identifies the row in the database. Links to the AXF_METADATA_ATTRIBUTES Table. |
|
BLOCK_LOCATION |
Specifies where the block displays on the Task Viewer page. LEFT_SIDEBAR displays a left sidebar pane. |
|
LABEL |
Defines the pane's label (for example, Summary or Comments). |
|
DISCLOSED |
Specify TRUE to display the block in expanded form. If you specify FALSE, the item is displayed but collapsed. |
|
DISPLAY_ORDER |
Specifies the order in which the block is displayed. |
|
TASK_FLOW_ID |
Specifies the task flow on which to display the metadata block (for example, axf-taskviewer-tfd or axf-tasklist-tfd). |
|
SOLUTION_NAMESPACE |
Specifies the AXF solution name. |
|
BLOCK_TYPE |
Specifies the type of values contained in the block (for example, METADATA or COMMENT). |
|
METADATA_STYLE |
Specifies how metadata is used. You can specify Specify To configure a dynamic table, the following values must be specified: BLOCK_LOCATION = BLOCK_TYPE = METADATA_STYLE = |
|
ORGANIC_MENU_ID |
Reserved for future use. |
This table displays the Summary and Comments section on the Task Viewer page.
Columns not shown: DISCLOSED=TRUE
ORGANIC_MENU_ID=null
Table A-22 Example AXF_METADATA_BLOCKS Table
| BLOCK_ID | BLOCK_LOCATION | LABEL | DISPLAY_ORDER | TASK_FLOW_ID | SOLUTION_NAMESPACE | BLOCK_TYPE | METADATA_STYLE |
|---|---|---|---|---|---|---|---|
|
1 |
LEFT_SIDEBAR |
Summary |
1 |
axf-taskviewer-tfd |
InvoiceProcessing |
METADATA |
null |
|
2 |
LEFT_SIDEBAR |
Comments |
2 |
axf-taskviewer-tfd |
InvoiceProcessing |
COMMENT |
null |
|
3 |
BOTTOM_PANEL |
GL Lines |
3 |
axf-taskviewer-tfd |
InvoiceProcessing |
METADATA |
TABLE |
This table defines the labels and values to show in metadata sections specified in the AXF_METADATA_BLOCKS Table. It also defines how attribute values are retrieved for display using XPath attributes.

Table A-23 Column Description for AXF_METADATA_ATTRIBUTES Table
| Column | Description |
|---|---|
|
BLOCK_ID |
References the AXF_METADATA_BLOCKS Table in which to display metadata labels and values. |
|
ATTRIBUTE_ID |
Primary key for the metadata attribute. |
|
LABEL |
Specifies the metadata label displayed to users in the metadata section (for example, Status in a Summary section). When a dynamic data table is specified, this label becomes a column header. |
|
ATTRIBUTE_KEY |
This attribute is updated in the BPEL task when a user clicks the OK button on the Task Viewer page. The attribute value is either a system attribute name (see Section A.3.6.2) or prefixed with XPATH, which uses the XPath table to find the value. Only XPATH is supported for a dynamic data table. If the IS_XPATH value is TRUE, the attribute_key value comes from the AXF_XPATH_ATTRIBUTES Table and is the XPATH to update the value in the task payload. |
|
IS_XPATH |
If TRUE, the attribute value comes from the XPATH in the BPEL payload. If FALSE, the value comes from system attributes or flex field attributes. |
|
DISPLAY_ORDER |
Specifies the order in which the metadata label/value display in the metadata section. For a dynamic data table, specifies the column order. |
|
DATA_TYPE |
Specifies the metadata item's data type (for example, String). This value must be STRING for a dynamic data table. |
Table A-24 defines metadata labels and values displayed in a Task Viewer's Summary section, as shown in Figure A-2. For another example, see Section 5.4.10, "Configuring or Disabling a Dynamic Data Table."
Columns not shown:
DATA_TYPE=String
Table A-24 Example AXF_METADATA_ATTRIBUTES Table for Summary Section
| BLOCK_ID | ATTRIBUTE_ID | LABEL | ATTRIBUTE_KEY | IS_XPATH | DISPLAY_ORDER |
|---|---|---|---|---|---|
|
1 |
1 |
Status |
InvoiceProcessing_Status |
TRUE |
0 |
|
1 |
2 |
Exception Code |
InvoiceProcessing_ExceptionCode |
TRUE |
1 |
|
1 |
3 |
Processing Group |
InvoiceProcessing_ProcessingGroup |
TRUE |
2 |
|
1 |
4 |
Invoice Number |
InvoiceProcessing_InvoiceNumber |
TRUE |
3 |
|
1 |
5 |
Supplier Name |
InvoiceProcessing_SupplierName |
TRUE |
4 |
|
1 |
6 |
Supplier Site |
InvoiceProcessing_SupplierSiteName |
TRUE |
5 |
The Comments pane enables users to view and enter comments related to the human task during the transaction's processing. You configure comments in the AXF_METADATA_BLOCKS Table. Also see Section 1.2.4.5, "About Comments."
You can specify whether the Comments field is displayed on the General tab of Imaging's Solution Editor, as described in "Solutions Editor Page: General Tab" in Oracle WebCenter Content Administrator's Guide for Imaging. You can display comments on the Task Viewer, Identity Picker, and Enumeration Picker screens.

The Enumeration Picker web tool enables users to select a choice from a list of values configured in AXF tables. For example, the Enumeration Picker shown in the graphic that follows displays a Processing Group dropdown field containing North, South, East, and West values.

After the user selects a value, the value is updated into the BPEL payload before the configured command executes, typically a command to return to the Task Viewer or to complete the command.
You configure the Enumeration Picker in the following tables:
Define configuration parameters for the picker in the AXF_SOLUTION_PARAMETERS table (see Table A-25).Define the picker in the AXF_ENUM_TYPES Table.
Define the picker's values in the AXF_ENUM_ITEMS Table.
After configuring enumerations, you can edit them in Imaging's Solution Editor. On the Enumeration tab, add, delete, and reorder enumerations, or specify their available values, as described in "Solutions Editor Page: Enumerations Tab" in Oracle WebCenter Content Administrator's Guide for Imaging.
Table A-25 Enumeration Picker Parameters in AXF_SOLUTION_PARAMETERS Table
| Parameter | Description |
|---|---|
|
LOV_REFERENCE |
This list of values reference links to the AXF_ENUM_TYPES Table, whose ID value links to the AXF_ENUM_ITEMS Table, where all picker values are stored. |
|
ATTRIBUTE_NAME |
This attribute is updated in the BPEL task when a user clicks the OK button on the Enumeration Picker web page. The attribute value is a constant; see Section A.3.6.2, "System Attributes." If the value has an XPATH: prefix, the value comes from the AXF_XPATH_ATTRIBUTES Table and it is the XPATH to update the value in the task payload. |
|
CMD_ON_CANCEL |
Specify the command (COMMAND_NAMESPACE) to execute when a user clicks the Cancel button on the Enumeration Picker page. |
|
CMD_ON_OK |
Specify the command (COMMAND_NAMESPACE) to execute when a user clicks the OK button on the Enumeration Picker page. |
|
ATTRIBUTE_LABEL |
Specify the label name to display on the web page for attributes to be updated in the BPEL task. |
|
DEFAULT_VALUE |
Specify a default value for the picker. If no default is specified, a blank value displays. |
|
DEFAULT_ALWAYS |
Specify TRUE to always show the value specified in the DEFAULT_VALUE parameter when displaying the Enumeration Picker, even if another value was previously selected. Otherwise, specify FALSE. |
This example shows an enumeration picker referenced for selecting the processing group.
Fields not shown: SOLUTION_NAMESPACE=InvoiceProcessing
Table A-26 Example Enumeration Picker Parameters in AXF_SOLUTIONS Table
| COMMAND_NAMESPACE | CONFIGURATION_NAMESPACE | PARAMETER_KEY | PARAMETER_VALUE |
|---|---|---|---|
|
AssignProcessingGroupEdit |
oracle.imaging.axf.web.backing.EnumerationPicker |
LOV_REFERENCE |
ProcessingGroups |
|
AssignProcessingGroupEdit |
oracle.imaging.axf.web.backing.EnumerationPicker |
ATTRIBUTE_LABEL |
Processing Group |
|
AssignProcessingGroupEdit |
oracle.imaging.axf.web.backing.EnumerationPicker |
CMD_ON_OK |
AssignProcessingGroupComplete |
|
AssignProcessingGroupEdit |
oracle.imaging.axf.web.backing.EnumerationPicker |
ATTRIBUTE_NAME |
XPATH:InvoiceProcessing_ProcessingGroup |
|
AssignProcessingGroupEdit |
oracle.imaging.axf.web.backing.EnumerationPicker |
CMD_ON_CANCEL |
OpenTask |
|
AssignProcessingGroupEdit |
oracle.imaging.axf.web.backing.EnumerationPicker |
DEFAULT_VALUE |
North |
|
AssignProcessingGroupEdit |
oracle.imaging.axf.web.backing.EnumerationPicker |
DEFAULT_ALWAYS |
FALSE |
This table defines Enumeration Pickers.

Table A-27 Column Description for AXF_ENUM_TYPES Table
| Column | Description |
|---|---|
|
ENUMERATION_ID |
Specify an ID for the enumeration picker. |
|
ENUMERATION_NAME |
Specify a name for the enumeration picker configuration. |
This example defines enumeration pickers for the Invoice Processing solution. You define each picker's items in the AXF_ENUM_ITEMS Table.
This table defines a specified Enumeration Picker's values.

Table A-29 Column Description for AXF_ENUM_ITEMS Table
| Columns | Description |
|---|---|
|
ENUMERATION_ID |
Specify the picker's ID, as defined in the AXF_ENUM_TYPES Table. |
|
ITEM_ID |
Specify an ID for the picker item. |
|
DISPLAY_LABEL |
Specify the item name to display in the picker field. |
|
ATTRIBUTE_KEY |
Specify the literal value to store in the payload. This value is often the same as the DISPLAY_LABEL's value, but can differ. |
|
LIST_ORDER |
Specify the order in which to list the value in the picker field. |
This example defines the items for the ProcessingGroups, SupplierMaintenanceCodes, SpecialistExceptionCodes, and RescanCodes enumeration pickers defined in the AXF_ENUM_TYPES Table.
Table A-30 Example AXF_ENUM_ITEMS Table
| ENUMERATION_ID | ITEM_ID | DISPLAY_LABEL | ATTRIBUTE_KEY | LIST_ORDER |
|---|---|---|---|---|
|
1 |
1 |
North |
North |
1 |
|
1 |
2 |
South |
South |
2 |
|
1 |
3 |
East |
East |
3 |
|
1 |
4 |
West |
West |
4 |
|
2 |
5 |
No Supplier |
No Supplier |
1 |
|
2 |
6 |
No Supplier Site |
No Supplier Site |
2 |
|
3 |
7 |
Duplicate Invoice |
Duplicate Invoice |
1 |
|
3 |
8 |
Invalid Invoice Number |
Invalid Invoice Number |
2 |
|
3 |
9 |
No PO |
No PO |
3 |
|
3 |
10 |
Invalid PO |
Invalid PO |
4 |
|
3 |
11 |
PO Overbill |
PO Overbill |
5 |
|
4 |
12 |
Poor Image Quality |
Poor Image Quality |
1 |
|
4 |
13 |
Pages Out of Order |
Pages Out of Order |
2 |
|
4 |
14 |
Pages Missing |
Pages Missing |
3 |
|
4 |
15 |
Other |
Other |
4 |
The Identity Picker web tool enables users to select one or more users or groups from an identity store configured for BPEL. Typically, a related action is taken after choosing an identity; for example, a task is assigned or delegated. The action to take after selecting an identity is configured in the AXF_SOLUTION_PARAMETERS Table.
Note:
The command updates the task payload when the user clicks OK. The BPEL process is responsible for using this information to delegate the task.
Table A-31 Identity Picker Parameters in AXF_SOLUTION_PARAMETERS Table
| Parameter Key | Description |
|---|---|
|
CMD_ON_CANCEL |
Specify the command (COMMAND_NAMESPACE) to execute when a user clicks the Cancel button on the Identity Picker page. |
|
CMD_ON_OK |
Specify the command (COMMAND_NAMESPACE) to execute when a user clicks the OK button on the Identity Picker page. |
|
IDENTITY_FILTER |
Define how the identity picker searches, where:
Note: Specify USER or GROUP for a command. To allow both search types, create an additional command that uses the other type to open the identity picker. For example, you might create AssignByGroup and AssignByUser commands. |
|
IDENTITY_FILTER_ATTRIBUTE |
Define a wildcard search for the identity picker, where:
Note: A null value for this parameter results in an asterisk added to the start and end of search values (the default setting). |
|
IDENTITY_ATTRIBUTE |
This attribute is updated in the BPEL task when a user clicks OK on the Identity Picker page. The Attribute value is a constant as defined under System Attributes; see Section A.3.6.2. If the value has an XPATH: prefix, then the value comes from the AXF_XPATH_ATTRIBUTES Table and it is the XPATH to update the value in the task payload. |
This example shows an InvoiceApprovalEdit command that searches for user information stored in BPEL, and updates the BPEL task using an XPATH variable.
Fields not shown: SOLUTION_NAMESPACE=InvoiceProcessing
Table A-32 Example Identity Picker Parameters in AXF_SOLUTION_PARAMETERS table
| COMMAND_NAMESPACE | CONFIGURATION_NAMESPACE | PARAMETER_KEY | PARAMETER_VALUE |
|---|---|---|---|
|
InvoiceApprovalEdit |
oracle.imaging.axf.web.backing.IdentityPicker |
IDENTITY_FILTER |
USER |
|
InvoiceApprovalEdit |
oracle.imaging.axf.web.backing.IdentityPicker |
IDENTITY_FILTER_ATTRIBUTE |
NONE |
|
InvoiceApprovalEdit |
oracle.imaging.axf.web.backing.IdentityPicker |
CMD_ON_CANCEL |
OpenTask |
|
InvoiceApprovalEdit |
oracle.imaging.axf.web.backing.IdentityPicker |
IDENTITY_ATTRIBUTE |
XPATH:InvoiceProcessing_InvoiceApprovalAssignment |
|
InvoiceApprovalEdit |
oracle.imaging.axf.web.backing.IdentityPicker |
CMD_ON_OK |
InvoiceApprovalComplete |
The AXF Account Distribution Coding Form is a reusable web interface for entering and selecting detailed account distribution information for an invoice. Figure A-3 shows the coding form used for non-PO invoices needing line item information. In this case, authorized users access this screen from an Account Distribution task list, then key in account distribution codes.
Important Points About the Account Distribution Coding Form
The coding form is available for Oracle E-Business Suite only.
The coding form performs lookups against the Oracle E-Business Suite system. A JDBC Data Source must be set up on the Oracle WebCenter Imaging WebLogic Managed Server to enable the lookups. Refer to the solution accelerator documentation for information on setting up this JDBC Data Source.
The coding form is invoked via a solution accelerator, as described in Section 5.2. To use the coding form, you must deploy and configure a solution, along with supporting AXF commands and solution parameters.
The buttons in the upper right portion of the form (Approve, Reject, Re-Assign, Save, Cancel, and Open Invoice) are configurable via the AXF tables.
The sections listed below provide general configuration information for the coding form.
Section A.2.6.1, "AXF_LOOKUPS Script for Coding Form Lookup Elements"
Section A.2.6.2, "Example Account Distribution Coding Form Solution"
Section A.2.6.3, "Example Supporting Commands for the Account Distribution Coding Form"
Section A.2.6.4, "Example OpenTask and AutoOpenTask Commands"
The AXF_LOOKUPS.sql script creates lookup elements for the coding form. You must execute it as the APPS user in the Oracle E-Business Suite database under the APPS schema.
The script is located at one of the following locations, depending on Oracle E-Business Suite release:
MW_HOME/ECM_HOME/axf/adapters/ebs/R11/
MW_HOME/ECM_HOME/axf/adapters/ebs/R12/
Execute the script by entering:
@AXF_LOOKUPS.sql
Table A-33 illustrates an example solution for Account Distribution.
Table A-33 Example AXF_SOLUTIONS Table for Account Distribution Coding Form
| SOLUTION_NAMESPACE | SOLUTION_CONTEXT |
|---|---|
|
AccountDistribution |
ejb.AxfCommandMediator#oracle.imaging.axf.service.AxfCommandMediatorRemote |
Table A-34 lists example AXF commands that support the Account Distribution coding form solution.
Table A-34 Example AXF_COMMANDS Table for Account Distribution Coding Form
| SOLUTION_NAMESPACE | COMMAND_CLASS | COMMAND_NAMESPACE | Description |
|---|---|---|---|
|
AccountDistribution |
oracle.imaging.axf.commands.bpel.CompleteTaskCommand |
AccountDistributionApprove |
Creates a command for the coding form's Approve button. |
|
AccountDistribution |
oracle.imaging.axf.commands.bpel.ReleaseTaskCommand |
AccountDistributionCancel |
Creates a command for the coding form's Cancel button. |
|
AccountDistribution |
oracle.imaging.axf.commands.bpel.CompleteTaskCommand |
AccountDistributionReject |
Creates a command for the coding form's Reject button. |
|
AccountDistribution |
oracle.imaging.axf.commands.bpel.CompleteTaskCommand |
AccountDistributionRequestInfo |
Creates a command for the coding form's Request Information button. |
|
AccountDistribution |
oracle.imaging.axf.commands.system.RedirectCommand |
AssignUser |
Creates a command for the coding form's Re-Assign button. |
|
AccountDistribution |
oracle.imaging.axf.commands.bpel.CompleteTaskCommand |
AssignUserComplete |
Creates a command to redirect users to the Identity Picker. |
|
AccountDistribution |
oracle.imaging.axf.commands.bpel.AutotaskCommand |
AutoOpenTask |
Creates a command for the autotask operation on the Task List. |
|
AccountDistribution |
oracle.imaging.axf.commands.bpel.OpenTaskCommand |
OpenTask |
Creates an OpenTask command link on the Task List. |
|
AccountDistribution |
oracle.imaging.axf.commands.system.RedirectCommand |
StartAccountDistribution |
Creates a command to redirect users from the Task List to the coding form. |
Options for the OpenTask and AutoOpenTask commands are configured for the coding form's solution. Table A-35 shows an example of OpenTask options.
Fields not shown: SOLUTION_NAMESPACE and COMMAND_NAMESPACE
Table A-35 Example AXF_SOLUTION_PARAMETERS Table for Account Distribution Coding Form
| CONFIGURATION_NAMESPACE | PARAMETER_KEY | PARAMETER_VALUE | Description |
|---|---|---|---|
|
oracle.imaging.axf.web.backing.Coding |
CMD_APPROVE |
AccountDistributionApprove |
COMMAND_NAMESPACE to execute when a user clicks the coding form's Approve button. |
|
oracle.imaging.axf.web.backing.Coding |
CMD_CANCEL |
AccountDistributionCancel |
COMMAND_NAMESPACE to execute when a user clicks the coding form's Cancel button. |
|
oracle.imaging.axf.web.backing.Coding |
CMD_REASSIGN |
AssignUser |
COMMAND_NAMESPACE to execute when a user clicks the coding form's Re-Assign button. |
|
oracle.imaging.axf.web.backing.Coding |
CMD_REJECT |
AccountDistributionReject |
COMMAND_NAMESPACE to execute when a user clicks the coding form's Reject button. |
|
oracle.imaging.axf.web.backing.Coding |
CMD_REQUEST_INFO |
AccountDistributionRequestInfo |
COMMAND_NAMESPACE to execute when a user clicks the coding form's Request Information button. |
|
oracle.imaging.axf.web.backing.Coding |
DISABLE_PROJECT |
FALSE |
A flag to disable the Project lookups box on the coding form. |
|
oracle.imaging.axf.web.backing.Coding |
READ_ONLY |
TRUE |
Specify if users can enter and edit values on the coding form (FALSE, the default) or view them as read-only values (TRUE). |
AXF commands include:
Note:
You can also deploy custom commands and chained commands to execute through AXF. See Section 5.4.8, "Deploying Custom Commands" and Section 5.4.9, "Configuring Chained Commands and Web Tools."This command acquires a task from BPEL (human work flow) for a given task ID; the specific task is likely selected from the task list. If the task can be acquired by the user, the command obtains the details of the task and displays the specified web page.
Table A-36 lists configuration parameters for this command. Use these parameters in the AXF_SOLUTION_PARAMETERS Table to configure commands.
Table A-36 Parameters for OpenTask Command
| Parameter Key | Description |
|---|---|
|
TASK_VIEW_URL |
This task flow is returned in the response command upon executing this command. The value for the TASK_VIEW_URL parameter uses one of the following strings to represent task flows. Each string can be thought of as a special URL where taskflow: is the protocol instead of http.
|
This command displays autotask mode, in which a new human workflow task is automatically claimed for the user. Also see Section 5.4.4.
Use the parameters in the AXF_SOLUTION_PARAMETERS Table to configure Autotask commands.
Table A-38 Autotask Command Parameters in AXF_SOLUTION_PARAMETERS Table
| Parameter Key | Description |
|---|---|
|
TASK_VIEW_URL |
Task flow returned in the response command upon executing this command. |
|
CMD_ON_NO_TASKS |
COMMAND_NAMESPACE to execute when there are no tasks. |
|
BPEL_TRY_AUTO |
Time in milliseconds between attempts to obtain the next task from the Human workflow system. |
This example uses the Autotask command to automatically claim tasks and display them in the Task Viewer for the Invoice Processing solution.
Fields not shown: SOLUTION_NAMESPACE=InvoiceProcessing
Table A-39 Autotask Command Parameters in AXF_SOLUTION_PARAMETERS Table
| COMMAND_NAMESPACE | CONFIGURATION_NAMESPACE | PARAMETER_KEY | PARAMETER_VALUE |
|---|---|---|---|
|
AutoOpenTask |
oracle.imaging.axf.commands.bpel.AutotaskCommand |
TASK_VIEW_URL |
taskflow://WEB-INF/taskflows/axf-taskviewer-tfd.xml#axf-taskviewer-tfd |
|
AutoOpenTask |
oracle.imaging.axf.commands.bpel.AutotaskCommand |
CMD_ON_NO_TASKS |
StartInvoiceProcessing |
|
AutoOpenTask |
oracle.imaging.axf.commands.bpel.AutotaskCommand |
BPEL_TRY_AUTO |
3000 |
The Release Task command releases a human workflow task. You can configure this command with actions to execute after it is complete, using CMD_AUTOTASK_ON and CMD_AUTOTASK_OFF parameters.
Table A-40 lists configuration parameters for this command. Use these parameters in the AXF_SOLUTION_PARAMETERS Table to configure commands.
Fields not shown: SOLUTION_NAMESPACE=InvoiceProcessing
Table A-41 Example Release Task Commands in AXF_SOLUTION_PARAMETERS Table
| COMMAND_NAMESPACE | CONFIGURATION_NAMESPACE | PARAMETER_KEY | PARAMETER_VALUE |
|---|---|---|---|
|
SkipTask |
oracle.imaging.axf.commands.bpel.ReleaseTaskCommand |
CMD_AUTOTASK_OFF |
StartInvoiceProcessing |
|
SkipTask |
oracle.imaging.axf.commands.bpel.ReleaseTaskCommand |
CMD_AUTOTASK_ON |
AutoTaskOpen |
|
ReleaseTask |
oracle.imaging.axf.commands.bpel.ReleaseTaskCommand |
CMD_AUTOTASK_OFF |
StartInvoiceProcessing |
|
ReleaseTask |
oracle.imaging.axf.commands.bpel.ReleaseTaskCommand |
CMD_AUTOTASK_ON |
StartInvoiceProcessing |
The Complete Task command updates the list of attributes and outcome for a specified task in the human task workflow. This command also takes the parameters defined for the Update Task Command.
In addition, the Complete Task command can update BPEL payload attribute values using request parameters to the command. You can also configure this command with actions to execute after it is complete, using CMD_AUTOTASK_ON and CMD_AUTOTASK_OFF parameters.
Table A-42 lists configuration parameters for this command. Use these parameters in the AXF_SOLUTION_PARAMETERS Table to configure commands.
Table A-42 CompleteTask Command Parameters
| Parameter Key | Description |
|---|---|
|
OUTCOME |
Specify the outcome defined for the human work flow system. APPROVE and REJECT are available by default in any BPEL process; the process designer can create others. |
|
CMD_AUTOTASK_ON |
Specify the command (COMMAND_NAMESPACE) to execute when AUTOTASK mode is on. |
|
CMD_AUTOTASK_OFF |
Specify the command (COMMAND_NAMESPACE) to execute when AUTOTASK mode is off. |
Fields not shown: SOLUTION_NAMESPACE=InvoiceProcessing
Table A-43 Example Complete Task Command in AXF_SOLUTION_PARAMETERS Table
| COMMAND_NAMESPACE | CONFIGURATION_NAMESPACE | PARAMETER_KEY | PARAMETER_VALUE |
|---|---|---|---|
|
DeleteInvoice |
oracle.imaging.axf.commands.bpel.CompleteTaskCommand |
CMD_AUTOTASK_OFF |
StartInvoiceProcessing |
|
DeleteInvoice |
oracle.imaging.axf.commands.bpel.CompleteTaskCommand |
CMD_AUTOTASK_ON |
AutoOpenTask |
|
DeleteInvoice |
oracle.imaging.axf.commands.bpel.CompleteTaskCommand |
OUTCOME |
DELETE_INVOICE |
The Redirect command redirects the browser to an AXF web tool or other external URL. The request parameters valid for internal URLs only include:
CID (Conversation ID)
PID (ParameterSet ID)
Store any user defined request parameters as part of the PID.
The command returns the URL in the response command.
Table A-44 lists configuration parameters for this command. Use these parameters in the AXF_SOLUTION_PARAMETERS Table to configure commands.
Table A-44 RedirectCommand Parameters
| Parameter Key | Description |
|---|---|
|
REDIRECT_URL |
This URL is returned in the response command upon executing this command. It is either:
|
|
EXTERNAL |
If this has a value of TRUE, then the redirect page does not have a CID and PID appended to it. The re-direct URL is an external Web site and all request parameters are appended in the URL. |
Fields not shown: SOLUTION_NAMESPACE=InvoiceProcessing
Table A-45 Example Redirect Command in AXF_SOLUTION_PARAMETERS Table
| COMMAND_NAMESPACE | CONFIGURATION_NAMESPACE | PARAMETER_KEY | PARAMETER_VALUE |
|---|---|---|---|
|
StartInvoiceProcessing |
oracle.imaging.axf.commands.system.RedirectCommand |
EXTERNAL |
FALSE |
|
StartInvoiceProcessing |
oracle.imaging.axf.commands.system.RedirectCommand |
REDIRECT_URL |
taskflow://WEB-INF/taskflows/axf-tasklist-tfd.xml#axf-tasklist-tfd |
The Update Task command can update one of the following: the list of attributes in the BPEL task, values in the XML payload using XPATH, or system attributes. (For an XPATH example, see Section A.3.6.3.)
You can create your own parameter keys for the Update Task command and use either a system attribute or an XPATH for the parameter value. AXF searches the request parameters and finds all the values that match the parameter keys (besides outcome), and pulls parameter keys for the list of attributes to use in that task payload.
To update a non-payload attribute in the BPEL task, use a system attribute from those listed in Section A.3.6.2. For example, the UpdateTask command can take the value of outcome (defined as PARAMETER_KEY) from the request parameter and update the OUTCOME (defined as PARAMETER_VALUE) attribute value in the task.
| System Attributes |
|---|
| ACQUIREDBY |
| APPROVERS |
| ASSIGNEDDATE |
| ASSIGNEDGROUP //Cannot be updated |
| ASSIGNEDUSER //Cannot be updated |
| CREATEDATE |
| CREATOR |
| DATEATTRIBUTE1-DATEATTRIBUTE5 |
| EXPIREDDATE |
| ENDDATE |
| FORMATTRIBUTE1-FORMATTRIBUTE5 |
| FROMUSER |
| NUMBERATTRIBUTE1-NUMBERATTRIBUTE5 |
| OUTCOME |
| OWNERGROUP |
| OWNERUSER |
| PRIORITY |
| STATE |
| TASKID |
| TASKNUMBER //Cannot be updated |
| TITLE |
| TASKDEFINITIONNAME |
| TEXTATTRIBUTE1-TEXTATTRIBUTE10 |
| UPDATEDBY |
| URLATTRIBUTE1 - URLATTRIBUTE5 |
This example shows two attributes updated by the same comand_namespace, UpdateHelloBPEL. For more information about HelloBPEL, see "Verifying the AXF Installation with HelloBpel" in Oracle WebCenter Content Installation Guide.
Fields not shown: SOLUTION_NAMESPACE=HelloBPEL
Table A-47 Example UpdateTaskCommand Parameters in AXF_SOLUTION_PARAMETERS Table
| COMMAND_NAMESPACE | CONFIGURATION_NAMESPACE | PARAMETER_KEY | PARAMETER_VALUE |
|---|---|---|---|
|
UpdateHelloBPEL |
oracle.imaging.axf.commands.bpel.UpdateTaskCommand |
String1 |
XPATH:HelloBPEL_String1 |
|
UpdateHelloBPEL |
oracle.imaging.axf.commands.bpel.UpdateTaskCommand |
String2 |
XPATH:HelloBPEL_String2 |
The Update Task From Procedure command calls a stored pl/sql procedure using a specified data source and updates the task payload using XPATH. See Section A.3.7.2 for an example implementation and Section A.3.7.3 for an example stored pl/sql procedure.
Table A-48 Parameters for UpdateTaskFromProcedure Command
| Parameter Key | Description |
|---|---|
|
XPATH_DATASTRING |
Specifies an XPATH variable contained in the AXF_XPATH_ATTRIBUTES Table that refers to the XPATH where the list of returned data is stored. |
|
XPATH_MESSAGESTRING |
Specify an XPATH variable to allow the UpdateFromStoredProcedure function to write data to the BPEL payload for communicating basic status or error codes encountered during execution of the function (axfretrieveuserlist). |
|
CMD_NO_DATA |
Specifies the command to execute if no results return from the pl/sql function. |
|
CMD_DATA |
Specifies the command to execute if results return from the pl/sql function. |
|
CMD_ERROR |
Specifies the command to execute if an error is returned from the pl/sql function. |
|
JNDI_DS |
Specifies the name of the JNDI data source, configured on the Application Server, to use for execution of the pl/sql function. |
|
PLSQL_PROC |
Specifies the name of the pl/sql function to call. |
This example uses the Update Task From Procedure command to call a stored pl/sql procedure called AXFRETRIEVEUSERLIST using a data source (EBSDS). AXFRETRIEVEUSERLIST retrieves the invoice ID, queries for the invoice amount for that transaction, and based on that amount, returns a set of users for invoice approval.
Table A-49 AXF_SOLUTIONS Table for UpdateTaskFromProcedureCommand Example
| SOLUTION_NAMESPACE | SOLUTION_CONTEXT |
|---|---|
|
InvoiceProcessing |
ejb.AxfCommandMediator#oracle.imaging.axf.service.AxfCommandMediatorRemote |
Table A-50 AXF_COMMANDS Table for UpdateTaskFromProcedureCommand Example (Fields not shown: SOLUTION_NAMESPACE=InvoiceProcessing)
| COMMAND_CLASS | COMMAND_NAMESPACE |
|---|---|
|
oracle.imaging.axf.commands.bpel.UpdateTaskFromProcedureCommand |
RetrieveUserList |
Table A-51 AXF_SOLUTION_PARAMETERS Table for UpdateTaskFromProcedureCommand Example (Fields not shown: SOLUTION_NAMESPACE=InvoiceProcessing)
| COMMAND_NAMESPACE | CONFIGURATION_NAMESPACE | PARAMETER_KEY | PARAMETER_VALUE |
|---|---|---|---|
|
RetrieveUserList |
oracle.imaging.axf.commands.bpel. |
XPATH_DATASTRING |
XPATH:InvoiceProcessing_InvoiceApprovalAssignment |
|
RetrieveUserList |
oracle.imaging.axf.commands.bpel. |
XPATH_MESSAGESTRING |
<INSERT: an XPATH variable to use for communicating status through the payload> |
|
RetrieveUserList |
oracle.imaging.axf.commands.bpel. |
CMD_DATA |
InvoiceApprovalEdit |
|
RetrieveUserList |
oracle.imaging.axf.commands.bpel.UpdateTaskFromProcedureCommand |
CMD_NO_DATA |
CompleteInvoice |
|
RetrieveUserList |
oracle.imaging.axf.commands.bpel.UpdateTaskFromProcedureCommand |
CMD_ERROR |
StartInvoiceProcessing |
|
RetrieveUserList |
oracle.imaging.axf.commands.bpel.UpdateTaskFromProcedureCommand |
JNDI_DS |
jdbc/EBSDS |
|
RetrieveUserList |
oracle.imaging.axf.commands.bpel.UpdateTaskFromProcedureCommand |
PLSQL_PROC |
AXFRETRIEVEUSERLIST |
In the AXF_XPATH_ATTRIBUTES table that follows, the corresponding XPATH column displays the XPATH expression used to locate the value in the payload.
Table A-52 AXF_XPATH ATTRIBUTES Table for UpdateTaskFromProcedureCommand Example
| ATTRIBUTE_KEY | XPATH |
|---|---|
|
InvoiceProcessing_InvoiceApprovalAssignment |
//task:InvoiceApprovalAssignment |
In the AXF_NAMESPACES table that follows, the XMLNS_URI column displays where within the XML file to locate the InvoiceApprovalAssignment task information.
The pl/sql procedure that follows loads the xml into the DOM, retrieves the invoice ID, queries for the invoice amount for that transaction, and based on that amount, returns a set of users.
create or replace FUNCTION axfretrieveuserlist(xmlPayload IN VARCHAR2, pDataString OUT VARCHAR2, pMsgString OUT VARCHAR2) RETURN INTEGER IS
v_node xmldom.DOMNode;
v_node2 xmldom.DOMNode;
v_nl xmldom.DOMNodeList;
v_doc xmldom.DOMDocument;
v_elem xmldom.DOMElement;
v_parser xmlparser.Parser;
invoiceID VARCHAR2(256);
invoiceAmount NUMBER(8,2);
userList VARCHAR2(256);
rtnCode INTEGER;
BEGIN
rtnCode := 0; -- execute CMD_NO_DATA
-- rtnCode := -1; -- execute CMD_ERROR
pmsgstring := ''; -- empty msg string
v_parser := xmlparser.newParser;
xmlparser.parseBuffer(v_parser, xmlPayload);
v_doc := xmlparser.getDocument(v_parser);
xmlparser.freeParser(v_parser);
-- Retrieve the invoice ID
v_nl := xmldom.getElementsByTagName(v_doc, 'invoiceID');
v_node := xmldom.item(v_nl, 0);
v_node2 := xmldom.getFirstChild(v_node);
invoiceID := xmldom.getNodeValue(v_node2);
-- Retrieve Invoice Amount for given invoice id
select INVOICE_AMOUNT into invoiceAmount from ap_invoices_all where INVOICE_ID = invoiceid;
if invoiceamount > 10000 then
pdatastring := 'jlondon';
rtnCode := 1; -- execute CMD_DATA
pmsgstring := 'Additional approval required due to invoice amount.';
else
pdatastring := 'jcooper,mtwain';
rtnCode := 1; -- execute CMD_DATA
pmsgstring := 'No further approval is required.';
end if;
RETURN rtnCode;
END;
Follow these steps to use this example.
Modify this procedure to retrieve the specific pieces of data from the payload you would like. The only requirement is that the pl/sql function you create must take a VARCHAR2, set up two VARCHAR2 out parameters, and return an INTEGER. The name of the function is in the AXF configuration.
Install the stored procedure on the Oracle E-Business Suite database instance. The procedure must be run as the Apps user.
On the AXF instance and as the AXF user, run the following command to update the AXF_ACTIONS table to insert the new RetrieveUserList Command into the execution path:
UPDATE AXF_ACTION SET COMMAND_NAMESPACE = 'RetrieveUserList' where DISPLAY_TEXT = 'Invoice Approval' and COMMAND_NAMESPACE = 'ValidateInvoiceApprovalEdit'
The Terminate Conversation Command is used by an external client to terminate a conversation with AXF.
The Validate Task command validates BPEL system attribute data or BPEL payload data, and based on validation results, executes a subsequent command.
Table A-54 lists configuration parameters for this command. Use these parameters in the AXF_SOLUTION_PARAMETERS Table to configure commands.
Table A-54 ValidateTaskCommand Parameters
| Parameter Key | Description |
|---|---|
|
ATTRIBUTE_TO_VALIDATE |
Specifies the attribute in the BPEL task to validate. This can be either a system attribute or a payload attribute. If specifying a payload attribute, use a prefix value of XPATH: and reference a value from the AXF_XPATH_ATTRIBUTES Table. |
|
REGULAR_EXPRESSION |
Defines a standard Regular Expression for validating the specified attribute. |
|
CMD_ON_PASS |
Specifies the command to execute after this command, if the validation is successful. |
|
CMD_ON_FAIL |
Specifies the command to execute after this command if the validation fails. |
|
FAIL_MESSAGE |
Specifies the message to display if the validation fails. |
The following configuration validates that the invoice has been saved (Invoice Transaction ID is not 0). If it is 0, the command reports the error message specified in the FAIL_MESSAGE parameter. For steps to add a validation, see Section 5.4.7.
Fields not shown: SOLUTION_NAMESPACE=InvoiceProcessing
Table A-55 Example ValidateTask Command in AXF_SOLUTION_PARAMETERS Table
| COMMAND_NAMESPACE | CONFIGURATION_NAMESPACE | PARAMETER_KEY | PARAMETER_VALUE |
|---|---|---|---|
|
ValidateTransactionID |
oracle.imaging.axf.commands.bpel.ValidateTaskCommand |
ATTRIBUTE_TO_VALIDATE |
XPATH:InvoiceProcessing_TransactionID |
|
ValidateTransactionID |
oracle.imaging.axf.commands.bpel.ValidateTaskCommand |
CMD_ON_PASS |
CompleteInvoice |
|
ValidateTransactionID |
oracle.imaging.axf.commands.bpel.ValidateTaskCommand |
REGULAR_EXPRESSION |
[^0] |
|
ValidateTransactionID |
oracle.imaging.axf.commands.bpel.ValidateTaskCommand |
FAIL_MESSAGE |
Please save the transaction before completing the task. |
Configuring AXF for Oracle E-Business Suite requires configuring AXF-related tables in Oracle E-Business Suite. This section covers the following topics:
Section A.4.1, "About the Oracle E-Business Suite AXF Tables For the Imaging Solution"
Section A.4.2, "AXF_CONFIGS Table (Oracle E-Business Suite)"
Section A.4.3, "AXF_COMMANDS Table (Oracle E-Business Suite)"
Section A.4.4, "AXF_COMMAND_PARAMETERS Table (Oracle E-Business Suite)"
Section A.4.5, "AXF_PROPERTIES Table (Oracle E-Business Suite)"
Note:
The Oracle E-Business Suite imaging solution is supported for Forms-based applications only, not OAF applications.The following diagram shows how the tables used by the Oracle E-Business Suite system in AXF solutions are related.

Use the AXF_CONFIGS table to enable the AXF solution on various Oracle E-Business Suite Forms. This table provides a fine level of granularity when selecting which Forms to AXF-enable, up to the Data Block level.
Form events are automatically invoked when an action is performed on an Oracle E-Business Suite Form. The AXF_CUSTOM.pll makes all events available, such as POST-INSERT, for customization. You can decide which events to use, and how and when to use them.
When an action occurs, the customized code launches the specified solution and command configured for the event. In the case where the same form is being reused, such as Invoice Entry and Invoice Query, FORMFUNCTION and DATABLOCKNAME uniquely identify each Form.
Note:
You can enable all datablocks on a form rather than a specific datablock, by specifyingAXF_DEFAULT for the DATABLOCKNAME parameter. This allows AXF to be notified whenever a POST-INSERT event occurs for the form, regardless of its datablock. Note, however, that setting the DATABLOCKNAME parameter to AXF_DEFAULT enables specified ZOOM or SPECIAL commands on all screens related to the form. (Set ZOOM and SPECIAL commands in the AXF_COMMANDS Table.)Table A-56 Column Description for AXF_CONFIGS Table
| Column Name | Description |
|---|---|
|
FORMID |
Specifies the primary key of the table. |
|
FORMFUNCTION |
Distinguishes each Oracle E-Business Suite Form based on the form's functionality. |
|
SOLUTIONENDPOINT |
Specifies a URL to AXF. This value should start as |
|
ENTITYNAME |
Used by the attachment functionality as a unique name, which links attachments to the correct Forms. |
|
LOGENABLED |
Enables or disables the log for the specified form. Specify one of the following:
|
|
DATABLOCKNAME |
Specify the data block on the form to enable. Note that you can also specify A Form may be reused by Oracle E-Business Suite (for example, Invoice Entry and Invoice Query); the FORMFUNCTION and DATABLOCKNAME together uniquely identify each form. |
This example defines that the entire Invoices Form is AXF-enabled. (Without the first row, the INV_SUM_FOLDER Data Block of the Invoices Form would be enabled.)
The last row in this example table shows the paperclip attachment feature enabled, by disabling the Managed Attachments solution. For more information, see Section 5.4.11.
Fields not shown: LOGENABLED=YES
Table A-57 Example AXF_CONFIGS Table
Use the AXF_COMMANDS table to describe the actions to take based on user activity. This table works with the AXF_CONFIGS Table (Oracle E-Business Suite).
Table A-58 Column Description for AXF_COMMANDS Table
| Column Name | Description |
|---|---|
|
FORMID |
Links to the AXF_CONFIGS Table (Oracle E-Business Suite). |
|
EVENTID |
Primary key of the table. |
|
EVENTNAME |
Name of the Event command to invoke (for example, ZOOM, POST-INSERT). |
|
DISPLAYMENU |
Displays text of the menu for the command. |
|
COMMANDNAMESPACE |
Request command to pass to the back-end when the menu is selected. |
|
REQUIRESCONVERSATION |
Indicates if the command requires a valid conversation or not. |
|
SORTBY |
Order in which to display the menu. |
|
SOLUTIONNAMESPACE |
Name of the solution. |
|
MENUTYPE |
Specify the menu type to display to users in Oracle E-Business Suite. You can choose:
|
|
SPECIAL |
Create new menu entries by entering a unique number for the Special type menu, where:
(Consult the Oracle E-Business Suite Documentation for further information.) |
|
RESPONSIBILITY |
Reserved for future use. |
This example shows two commands invoked from the Zoom menu (Attach Supplemental and Process Invoices). Each command is listed twice because the commands enable the same functionality, but on two different screens.
In addition, the solution has been configured to invoke the SaveInvoice command during the POST-INSERT event, which specifies that whenever an action inserts a new Oracle E-Business Suite transaction record, the integration automatically invokes the SaveInvoice command on the back-end, performing the actions associated with the command. Note that POST-INSERT is not called by a subsequent save of the same transaction record in Oracle E-Business Suite.
Fields not shown: SOLUTION_NAMESPACE=InvoiceProcessing, SPECIAL=(null), RESPONSIBILITY=(null)
Table A-59 Example AXF_COMMANDS Table
| EVENTID | FORMID | EVENTNAME | DISPLAYMENU | COMMANDNAMESPACE | REQUIRESCONVERSATION | SORTBY | MENUTYPE |
|---|---|---|---|---|---|---|---|
|
16 |
1 |
ZOOM |
Attach Supplemental |
AttachSupplemental |
YES |
2 |
ZOOM |
|
14 |
6 |
ZOOM |
Attach Supplemental |
AttachSupplemental |
YES |
2 |
ZOOM |
|
13 |
6 |
ZOOM |
Process Batch Invoices |
StartInvoiceProcessing |
NO |
1 |
ZOOM |
|
10 |
1 |
ZOOM |
Process Invoices |
StartInvoiceProcessing |
NO |
1 |
ZOOM |
|
11 |
1 |
POST-INSERT |
(null) |
SaveInvoice |
YES |
0 |
(null) |
|
15 |
6 |
POST-INSERT |
(null) |
SaveInvoice |
YES |
0 |
(null) |
Use the AXF_COMMAND_PARAMETERS table to define the information sent for each defined command. Each command may require or omit a different set of parameters.
Table A-60 Column Description for AXF_COMMAND_PARAMETERS Table
| Column | Description |
|---|---|
|
PARAMETERID |
Defines a unique ID for the parameter. |
|
EVENTID |
Defines a unique ID for the event. Comes from the AXF_COMMANDS Table (Oracle E-Business Suite). |
|
PARAMETERNAME |
The name of the parameter to pass. |
|
DATASOURCENAME |
Data Source for the parameter value. You can specify Data or Constant. |
|
DATABLOCKNAME |
Data Block of the Form from which the value is fetched. |
|
FIELDNAME |
Field Name in the form from which the value is fetched. |
|
CONSTANTVALUE |
A constant value for the parameter. |
The example that follows contains two parameters sent for EventID 2: a constant value (InvoicesByVendor) and a data value (VENDOR_NAME) in the INVOICES_QF Data Block.
The COMPLETE command requires that a conversation be established between Oracle E-Business Suite and AXF. A Conversation is a session unique ID that allows communication between Oracle E-Business Suite and AXF Framework.
If a command requires a separate window to open, then Oracle E-Business Suite opens another instance of the browser. Users may then take additional steps in the newly created window.
Table A-61 Example AXF_COMMAND_PARAMETERS Table
| PARAMETERID | EVENTID | PARAMETERNAME | DATASOURCENAME | DATABLOCKNAME | FIELDNAME | CONSTANTVALUE |
|---|---|---|---|---|---|---|
|
1 |
2 |
SearchName |
CONSTANT |
(null) |
(null) |
InvoicesByVendor |
|
2 |
2 |
VendorName |
DATA |
INVOICES_QF |
VENDOR_NAME |
(null) |
|
18 |
11 |
InvoiceTransactionID |
DATA |
INV_SUM_FOLDER |
INVOICE_ID |
(null) |
|
21 |
14 |
InvoiceTransactionID |
DATA |
INV_SUM_FOLDER |
INVOICE_ID |
(null) |
|
20 |
15 |
InvoiceTransactionID |
DATA |
INV_SUM_FOLDER |
INVOICE_ID |
(null) |
|
22 |
16 |
InvoiceTransactionID |
DATA |
INV_SUM_FOLDER |
INVOICE_ID |
(null) |
Use the AXF_PROPERTIES table to define properties for an AXF integration with Oracle E-Business Suite.
Table A-62 Column Description for AXF_PROPERTIES Table
| Column | Description |
|---|---|
|
PROPNAME |
Specifies properties to use. Properties include:
|
|
PROPVALUE |
Specifies the property's value. |
Configuring the adapter for Oracle PeopleSoft requires configuring AXF-related tables in Oracle PeopleSoft. For more information, see Section 3.5.
This section covers the following topics:
The following diagram shows how the tables used by the Oracle PeopleSoft system in AXF solutions are related.

Note:
All AXF table fields require non-null values. You can include a space for fields that do not apply.Use the PS_AXF_CONFIG table to enable the AXF solution on various Oracle PeopleSoft components. This table provides a fine level of granularity when selecting which pages and components to AXF-enable.
Events are automatically invoked when an action is performed on an Oracle PeopleSoft page. The AXF_PS_Integration project component catches PRE- and POST- save events and makes them available for customization. You can decide which events to use and how and when to use them.
Table A-64 Column Description for PS_AXF_CONFIG Table
| Column Name | Description |
|---|---|
|
AXF_CONFIG_ID |
Specifies the primary key of the table. |
|
AXF_COMPONENT_NAME |
Specifies the name of the Oracle PeopleSoft component being enabled. |
|
AXF_CONNECT_NAME |
Specifies the Oracle PeopleSoft Integration Broker Connection name (service operation to call), as defined in the Oracle PeopleSoft Integration Broker administration interface. The default service operation is AXF_EXECUTE. You can set up and use other connections. |
|
AXF_VERSION |
Specifies the AXF version of the connection. Available values include:
|
Use the PS_AXF_COMMANDS table to describe the actions to take based on user activity. This table works with the PS_AXF_CONFIG Table.
Table A-66 Column Description for PS_AXF_COMMANDS Table
| Column Name | Description |
|---|---|
|
AXF_CMDS_ID |
Specifies the primary key of the table, used to identify the unique command. |
|
AXF_CONFIG_ID |
Specifies the foreign key to the PS_AXF_CONFIG Table, which associates this unique command with a particular page and component. |
|
AXF_EVENT_NAME |
Specifies the event being executed. The AXF_EVENT_NAME corresponds to the subpage that is incorporated into an existing Oracle PeopleSoft page, such as the button, link, or menu that is added to an Oracle PeopleSoft page to invoke AXF functionality such as the Image Viewer or Task List. For more information, see Section 3.3. Available options include:
|
|
AXF_SELECT_LABEL |
Defines the name displayed on the page for the selection field. This is used only with the COMBO event. |
|
AXF_DISPLAY_NAME |
Defines the name of the button or link to display on the Oracle PeopleSoft screen. |
|
AXF_SOL_NAMESPC |
Identifies the solution namespace for the command to execute. |
|
AXF_CMD_NAMESPC |
Identifies the command namespace for the command to execute. |
|
AXF_PSFT_ROLE |
Identifies the Oracle PeopleSoft roles with access to the command. It is a comma-delimited list with each role enclosed in single quotes (for example, 'Role1','Role2','Role3'). |
|
AXF_SORT_ORDER |
Specifies the order of items displayed in a selection field. Sort order applies to selection fields only. |
|
AXF_REQ_CONV |
Specifies if a conversation is required to this command before execution. For example, execution of the UpdateTask command requires a conversation be running in order for the user to select a current task. |
This example shows two commands added to an invoice processing page. One inserts a button that when clicked initiates invoice processing. The other inserts a link that when clicked initiates a search of Imaging for duplicate invoices.
In addition, the solution has been configured to invoke the SaveInvoice command during the SAVE_POST_CHANGE event, which specifies that whenever an action inserts a new Oracle PeopleSoft transaction record, the integration automatically invokes the SaveInvoice command on the back-end, performing the actions associated with the command. Note that SAVE_POST_CHANGE is not called by a subsequent save of the same transaction record in Oracle PeopleSoft.
You must specify an Oracle PeopleSoft Role in the AXF_PSFT_ROLE field to give permissions to use the commands. If a person does not have proper permissions to use the commands, the commands do not display. If the commands display but do not function, this indicates that the commands are not properly configured.
Fields not shown: AXF_SELECT_LABEL=(null), AXF_SORT_ORDER=1, AXF_REQ_CONV=N
Table A-67 Example PS_AXF_COMMANDS Table
| AXF_CMDS_ID | AXF_CONFIG_ID | AXF_EVENT_NAME | AXF_DISPLAY_NAME | AXF_SOL_NAMESPC | AXF_CMD_NAMESPC | AXF_PSFT_ROLE |
|---|---|---|---|---|---|---|
|
1 |
1 |
AXF_BUTTON_1 |
Start Invoice Processing |
InvoiceProcessing |
StartInvoiceProcessing |
'Employee' |
|
2 |
1 |
AXF_LINK_1 |
Search For Duplicates |
InvoiceInquiry |
SearchIPM |
'Employee' |
|
3 |
1 |
SAVE_POST_CHANGE |
(null) |
InvoiceProcessing |
SaveInvoice |
'Employee' |
Use the PS_AXF_COMMAND_PARAMS table to specify the information sent for each defined command. Each command may require or omit a different set of parameters.
Table A-68 Column Description for AXF_COMMAND_PARAMETERS Table
| Column | Description |
|---|---|
|
AXF_CMDS_PARAMS_ID |
Specifies the primary key of the table. |
|
AXF_CMDS_ID |
Specifies the foreign key to the PS_AXF_COMMANDS Table, which associates the unique parameter with a specific command. |
|
AXF_PARAM_NAME |
Defines the parameter name. |
|
AXF_DATASOURCE |
Specifies where the parameter value is retrieved.
|
|
AXF_RECORD_NAME |
Identifies the record of the field in the Oracle PeopleSoft page to use as the target value to retrieve when AXF_DATASOURCE is set to DATA. |
|
AXF_FIELD_NAME |
Used as the target value when AXF_DATASOURCE is set to DATA. |
|
AXF_CONSTANT_VALUE |
Used as the constant value when AXF_DATASOURCE is set to CONSTANT. |
The example that follows contains three parameters sent for AXF_CMDS_ID 2: a constant value (SearchName) and two data values (INVOICENUMBER and InvoiceTransactionID).
Table A-69 Example PS_AXF_COMMAND_PARAMS Table
| AXF_CMDS_PARAMS_ID | AXF_CMDS_ID | AXF_PARAM_NAME | AXF_DATASOURCE | AXF_RECORD_NAME | AXF_FIELD_NAME | AXF_CONSTANT_VALUE |
|---|---|---|---|---|---|---|
|
1 |
2 |
SearchName |
CONSTANT |
(null) |
(null) |
SearchByInvoiceID |
|
2 |
2 |
INVOICENUMBER |
DATA |
VCHR_HDR_QV |
INVOICE_ID |
(null) |
|
3 |
3 |
InvoiceTransactionID |
DATA |
VCHR_HDR_QV |
VOUCHER_ID |
(null) |
Use the PS_AXF_PROPERTIES table to define properties for an AXF integration with Oracle PeopleSoft. See Section 5.4.12, "Resizing Oracle PeopleSoft Popup Solution Windows."
Table A-70 Column Description for PS_AXF_PROPERTIES Table
| Column | Description |
|---|---|
|
AXF_PROPNAME |
Specifies properties to use. Properties include:
|
|
AXF_PROPVALUE |
Specifies the property's value. |