This chapter contains these topics:
From Accounts Payable (G04), choose Automatic Payment Processing
From Automatic Payment Processing (G0413), choose Create Payment Groups
Before you can write payments, you must create payment groups. When you create payment groups, the system separates vouchers that have similar information, such as the same bank account and payment instrument. This allows the system to process similar vouchers in the same way. You use the payment groups when you review and write payments.
This is a DREAM Writer program.
You run Create Payment Groups once for each payment cycle. The program typically creates more than one payment group. Each payment group contains information that determines how the group will be processed, including:
Bank account
Payment instrument
Output queue
Each payment group also contains control information that determines which program to use for:
Payments
Registers
Attachments
Debit statements
If you need to include additional vouchers in a payment group, you can undo the group, approve those vouchers for payment, and rerun the program. The system displays payment groups after you write them until you undo them or update them to the A/P ledger.
The Create Payment Group program allows you to summarize document information on the pay stub or attachment by Document Only as well the default summarization by document and due date.
When you create payment groups, the system:
Selects vouchers with a pay status of A (approved).
Creates payment groups for all selected vouchers by grouping vouchers with the following common information:
Bank account
Payment instrument
Currency code
Business unit (optional)
Company (optional)
After the system creates payment groups, each group also has the following information in common:
Version ID
User
Creation date
Output queue
Assigns each payment group a "next status" of WRT (write).
Changes the pay status of selected vouchers from A to # (payment in-process).
Creates worktables to use in writing payments:
A/P Payment Control Group table (F04571). Contains a single header record for each payment group with information about that group of payments.
A/P Payment Header table (F04572). Contains a record for each payment within a group. These records are the actual payments that will be written and updated to the F0413 file through the Work With Payment Groups program.
A/P Payment Detail table (F04573). Contains a record for each voucher pay item within a payment. This is the information that will be printed on the payment stub and updated to the F0414 file through the Work With Payment Groups program..
Prints a Payment Group Edit report that shows vouchers that are selected for payment.
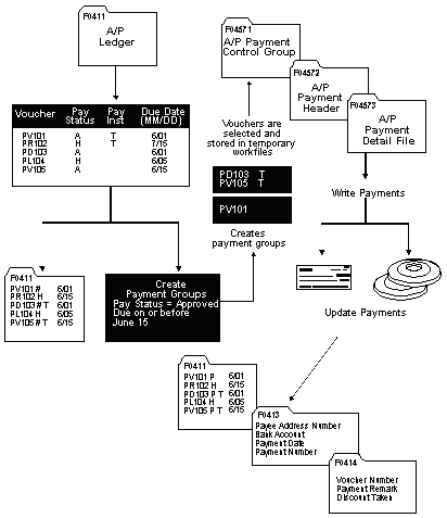
The following graphic shows the system process for creating payment groups:
Figure 28-1 Process to Create Payment Groups

Verify that you set up suppliers with the correct payment instrument.
Calculate withholding, or set the processing options for this program to automatically calculate withholding.
Make changes to vouchers, if necessary. You cannot change vouchers that are included in a payment group; you will need to remove the voucher from the group in order to make changes.
Approve vouchers for payment.
When you create payment groups, the system generates this report, which shows the vouchers that are selected for payment. You can use this report to review vouchers and payment groups.
See sample report below.
You set the currency processing method you want to use for payments with a processing option:
Bank Account Monetary Unit
Voucher Domestic Currency
Voucher Foreign Currency
Current Domestic Amount
You can also use a processing option to override the bank account. Two multi-currency considerations exist for overriding the bank account:
The monetary bank account must have the same currency as the transaction.
The bank account's company currency must be the same as the foreign or domestic currency of the transaction.
The following examples describe these methods.
When you use the Bank Account Monetary Unit method, you pay in the currency of the bank account. A gain/loss might be calculated. For example:
Company base currency = USD
Monetary bank account = EUR
| Voucher Number | Domestic | Foreign |
|---|---|---|
| PV1 | USD | EUR |
Because the monetary bank account is EUR, choosing this method results in paying the foreign amount of the voucher (EUR).
When you use the Voucher Domestic Currency method, you pay the domestic amount of the voucher. No gain/loss is calculated. For example:
Company base currency = USD
| Voucher Number | Domestic | Foreign |
|---|---|---|
| PV1 | USD | EUR |
| PV2 | USD |
When you choose this method you pay the domestic USD amount for both vouchers.
When you use the Voucher Foreign Currency method, you pay the foreign transaction amount of the voucher. A gain/loss might be calculated.
Example 1:
Company base currency = USD
| Voucher Number | Domestic | Foreign |
|---|---|---|
| PV1 | USD | EUR |
Example 2:
Company base currency = GBP
| Voucher Number | Domestic | Foreign |
|---|---|---|
| PV2 | GBP | EUR |
When you choose this method you pay the foreign EUR amount for both vouchers.
When you use the Current Domestic Amount method, you pay the current domestic amount of the voucher. A gain/loss might be calculated. For example:
Company base currency = EUR
Transaction currency = USD
| Voucher Number | Domestic | Foreign | Exchange Rate |
|---|---|---|---|
| PV1 | 5,000 EUR | 1,000 USD | 5.0 |
When you pay this voucher, the exchange rate has changed:
| Voucher Number | Domestic | Foreign | Exchange Rate |
|---|---|---|---|
| PK1 | 6,000 EUR | 1,000 USD | 6.0 |
Choosing this method results in payment of 6,000 EUR. The system calculates a 1,000 EUR loss on the transaction.