This chapter covers the following topics:
This chapter explains how to use Supply Chain Planning for multi-org projects in an Oracle Project Manufacturing environment.
Note: This chapter discusses the planning features of Advanced Supply Chain Planning. Oracle Supply Chain Planning is also supported.
With Oracle Advanced Supply Chain Planning (ASCP), you can generate plans that include the entire supply chain. In a single step you can schedule and plan material and distribution requirements for multiple organizations, or centrally plan the entire enterprise. You can also include customer and supplier inventories in the ASCP process. Common material requirements can be included if desired.
Oracle ASCP lets you plan finished products, as well as intermediate assemblies and purchased items, for all facilities in your supply chain. Material plans for feeder plants and distribution centers automatically consider requirements originating from any number of other facilities. You can load planned order demand from multiple using-organizations into the master schedule of supplying organizations.
Release to Oracle's Purchasing and Work in Process applications permits multi-organizational execution of procurement and manufacturing plans for the project. Oracle's Purchasing and Order Management applications provide the vehicle for moving supply between multiple organizations. Procurement, manufacturing, and distribution activity is always visible to ASCP. Cost transactions incurred across multiple organizations can be accumulated to a single project.
Along with the other features found in the Oracle Applications, Supply Chain Projects allows you to accomplish the following project-oriented activities:
Determine a sourcing strategy for your project supply chain and apply it to all your items.
Simultaneously plan project and common material requirements of multiple organizations in your supply chain.
Use the Advanced Supply Chain Planner Workbench to analyze project-specific supply and demand records across multiple organizations.
Consider project-specific supply and demand from customer and supplier inventories in your material plans.
View project-oriented exception messages for a consolidated supply chain material plan.
Initiate project-specific inter-organization supply via internal requisitions and internal sales orders.
Collect all project related material, resource and overhead costs via Oracle Projects.
Note: Use of Supply Chain Projects assumes a thorough knowledge of Oracle Advanced Supply Chain Planning, Order Management, Purchasing, Inventory, Costing, and other Project Manufacturing features. It also assumes a complete setup of all necessary inter-organization relationships within these applications. For more information on these applications, see their respective user's guides.
The following are the major steps necessary for successful execution of Supply Chain Projects:
Note: The steps below reflect the basic flow, however, individuals steps may be executed in a different sequence than those listed. Depending upon the individual scenario, some steps may be executed several times before executing another or some steps may be omitted completely.
.
| # | Step | Description | Implementation Notes |
|---|---|---|---|
| 1 | GENERAL | Supply Chain Projects is only supported within a given Set of Books. | Supply Chain Projects is only supported for those organizations that reside within a given Set of Books. |
| 2 | Set up Project-specific data | Set up Project Control Level within Organization Parameters. | It is advised that the Project Control Level be the same within each of the organizations to be used in the supply chain. Otherwise, unpredictable and/or confusing results may be experienced in the plan as supply and demand for different control levels cross organizational boundaries. |
| 3 | Define Project and any related budgets and agreements. | ||
| 4 | Define project specific cost groups to maintain item cost by project. | Ensure that a cost group is completely defined for each organization to be used in the supply chain. Note: Although the Cost Group can be set as multi-org, the set up of account numbers and default WIP Accounting Class must be accomplished for each organization. |
|
| 5 | Link Cost Group, WIP Accounting Class and Project. | Ensure that these links are set for each organization to be used in the supply chain. | |
| 6 | Set up supply chain | Create all necessary DRP, MDS, MPS and/or MRP names and related data. | |
| 7 | Create all necessary Sourcing Rules and related Assignment Sets for inter-organization demand and/or specific vendors. | ||
| 8 | Execute Supply Chain Planning | Ensure that all appropriate Sales Orders are entered. | If desired, a Sales Order demand class can be established to represent a project or group of projects and then added to the Sales Order. Load/Copy/Merge of Sales Orders to MDS/MPS can be restricted to a specific demand class (for example, project). |
| 9 | Load/Copy/Merge data to appropriate MDS and/or MPS plan(s). | ||
| 10 | Launch the appropriate plan(s). | ||
| 11 | Review and Manage Plan(s). | Manage exception messages. | |
| 12 | Release appropriate WIP Jobs. | ||
| 13 | Release appropriate Purchase Requisitions. | ||
| 14 | Release appropriate Internal Requisitions. | ||
| 15 | Initiate internal supply orders | Import internal requisitions for the Destination Organization. | Internal requisitions are NOT included in Project Commitments. |
| 16 | Create internal sales orders for the Source Organization. | In order for Internal Sales Orders to be visible to the Supply Chain plan, they must be included in the MDS or MPS via Load/Copy/Merge. | |
| 17 | Procure materials | Create purchase orders to vendors. | |
| 18 | Receive purchase orders from vendors to component inventory. | ||
| 19 | Manufacture sub-assemblies | Issue project and common materials to WIP. | |
| 20 | Apply resources and appropriate overheads. | ||
| 21 | Execute any outside processing. | ||
| 22 | Complete to sub-assembly inventory. | ||
| 23 | Execute interorganization transfers | Ship internal sales orders from the Source Organization. | Direct transfers between organizations (for example, NOT utilizing In-Transit) are not available for Project Manufacturing materials. |
| 24 | Receive internal requisitions to appropriate inventory of the Destination Organization. | Upon receipt by the Destination Organization, all elemental costs are either combined into a single MATERIAL cost or handled as individual elements, depending on the setup option. | |
| 25 | MANUFACTURE final assemblies | Essentially the same steps as 19-22 above. Complete to appropriate inventory. | |
| 26 | Ship assemblies | Ship the completed assemblies to customer(s) and/or appropriate distribution points. | |
| 27 | Collect and analyze project costs | Collect costs from each organization. | |
| 28 | Analyze costs via Oracle Projects. | ||
| 29 | INVOICE customer | If appropriate, interface Project costs and invoice customer. |
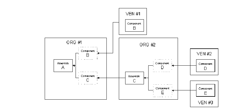
The following graphic illustrates assembly components and their sources.

| Assembly/Component | Sourcing |
|---|---|
| A | Produced in Organization #1 |
| B | Purchased from Vendor #1 |
| C | Internally acquired from Organization #2 Produced in Organization #2 |
| D | Purchased from Vendor #2 |
| E | Purchased from Vendor #3 |