Utilization is a change in the Facility Available Amount. Whenever a contract is booked using a particular Line Code, then the respective line/main line’s Available Amount should be altered in Oracle FLEXCUBE ELCM.
All utilization transactions maybe captured in their own external systems or through the ‘Utilization Transaction’ screen. The utilization details for each transaction taken place in the external product processor have to be sent to Oracle FLEXCUBE ELCM via Gateway online Inbound or Gateway Batch Inbound process.
Following utilizations transactions allowed by Oracle FLEXCUBE ELCM:
Each of the above utilization transactions (apart from Query transaction) has the following sub transactions:
This chapter contains the following sections:
The process wherein a facility is given to a customer and is utilized by the customer is called a Utilization Process. Utilization Process is termed as a New Utilization when the customer utilizes his facility in a new transaction.
A New Utilization Transaction can arise from any kind of transaction like Loan input, Letter of credit input, Bill/Collection input, foreign exchange deal input etc.
New utilization involves the following actions:
This section contains the following topics:
New Utilization process increases the Utilization Amount and decreases the Available Amount for the associated Liability, Facility, or Exposure. If the Liability Facility, Sector Facility Or Country Facility has an associated Main Line then the utilization will reflect at all the parent levels.
Following data are input for a New Utilization transaction.
| Sl No | Field Name | Data Type (size) | Remarks | Mandatory | |||||
|---|---|---|---|---|---|---|---|---|---|
| 1 | Source | AlphaNumeric(35) | Indicates the product processor name from where the transaction has been originated. This field will be as part of Header section (Source Code) | Yes | |||||
| 2 | TxnID | AlphaNumeric(50) | Indicates the Transaction Id of the message. Transaction Id should be unique across the system. This information is captured as part of header. | Yes | |||||
| 3 | Action | Alphabet (10) | Indicates the transaction type. This field will be as part of Header section (operation Code) | Yes | |||||
| 4 | Utilization Branch | AlphaNumeric (3) | Indicates the transaction branch. This field will be as part of Header section (Branch code). | Yes | |||||
| 5 | External Reference Number | AlphaNumeric(50) | Specifies the product processor reference number | Yes | |||||
| 6 | Customer Number | AlphaNumeric(11) | Specifies the Customer Number of the utilization transaction. Customer Number entered should be valid Customer Number in Oracle FLEXCUBE ELCM system. | Yes | |||||
| 7 | Liability Number | AlphaNumeric(11) | Specifies the Liability Number of the utilization transaction. Liability Number entered should be valid Liability Number in Oracle FLEXCUBE ELCM system. | Yes | |||||
| 8 | Facility Code | AlphaNumeric(9) | Specifies the Facility Code of the utilization transaction. Facility Code entered should be valid Facility Code in Oracle FLEXCUBE ELCM system. | No | |||||
| 9 | Facility Serial Number | Numeric (2) | Specifies the Facility Serial number of the utilization transaction | No | |||||
| 10 | Utilization Amount | Numeric | Indicates the Utilization Amount | Yes | |||||
| 11 | Utilization Currency | AlphaNumeric (3) | Indicated the currency of the utilization transaction. Currency code entered should be valid currency code in Oracle FLEXCUBE ELCM system. | Yes | |||||
| 12 | Utilization Product | Alphabet (10) | Indicates External product code of the utilization transaction | No | |||||
| 13 | Tenor Basis | Alphabet (1) | Indicates the tenor bases of the transaction | No | |||||
| 14 | Tenor | Numeric | Indicates the tenor of the transaction | No | |||||
| 15 | Maturity Date | Date | Specifies the maturity date of the transaction | No | |||||
| 16 | Matured Amount | Numeric | Specifies the maturity amount of the transaction | No | |||||
| 17 | Matured | Alphabet (1) | Indicates whether transaction is matured or Not. | No | |||||
| 18 | Uncollected Amount | Numeric | Specifies the uncollected amount of the transaction | No | |||||
| 19 | Amount Tag | Alphabet (20) | Indicates the type of the component of the transaction. | No | |||||
| 20 | Module | Alphabet (10) | Indicates the module of the transaction | No | |||||
| 21 | Transaction Initiated Date | Date | Indicates the date and time when the transaction was entered in product processor. | Yes | |||||
| 22 | Value Date | Date | Specifies the Value date of the transaction. If value is not passed then system will default to Oracle FLEXCUBE ELCM present branch date. | No | |||||
| 23 | Authorization Status | Alphabet (1) | Indicates whether transaction should be authorized online or not. Possible values are “A” (Authorize online) and “U” (upload transaction as unauthorized). Default value is U | No | |||||
| 24 | Force Authorization | Alphabet (1) | Indicates whether transaction should ignore the overrides occurred in the process or not. Possible values “Y” (force authorize) and “N” (not force authorized). Default value is “N” | No | |||||
| 25 | User ID | AlphaNumeric(11) | Specifies valid Oracle FLEXCUBE ELCM user id, who is performing the operation. This field will be as part of Header section (User ID) | Yes | |||||
| 26 | Simulate | Alphabet(1) | Indicates if the transaction should be used only for simulation. Possible Values ‘Y’ (simulate) and ‘N’ (actual transaction). Default value is ‘N’ | No | |||||
| 27 | Block Reference Number | Alphanumeric(50) | Specifies a valid block number for a facility. If liability and facility details for new utilization and the facility match, the earmarked amount corresponding to the block maintained for the facility is made available for the new utilization. | No |
Apart from the mandatory checks, system performs the following validations:
System raises overrides for the following actions
As part of the Utilization Transaction process, Oracle FLEXCUBE ELCM provides the Credit Exception Management feature. This process will be executed in the following case.
Inputted Transaction Amount Crosses Specified Limit
At facility maintenance level, you can specify what would be the Maximum Transaction amount, which can be processed without any RISK department approval. If the transaction amount is greater than the specified amount then system passes this transaction to Multi Authorization stage.
Example
Assume that facility has been maintained with following details
Liability No : TATA
Facility Name : PERLOAN
Facility Sl No : 1
Facility currency : INR
Limit amount : 1,00,000.00
Utilized amount : 0
Available amount : 1,00,000.00
Max transaction amount : 10,000.00
Max breach amount : 1,20,000.00
If the utilization amount is greater than 10,000.00 (INR) then the system passes these transactions to Multi authorization stage.
For more details, refer the section Credit Exception Management in the Process Flows document.
Inputted Transaction Amount Crosses the Breached Limit
At Facility Maintenance, you can specify a Maximum Breach Amount above which necessary approval is required from RISK department. If the transaction has been breached, i.e. the utilized and the breached amount are greater than the specified breached amount, then the system passes this transaction to Multi authorization stage.
In the above example, if the utilized amount is greater than 1,20,000.00 then the system passes these transactions to Multi Authorization stage. If the utilized amount is between 1,00,000 and 1,20,000 then the system throws an override.
Note
If transaction is Force Authorized then the system will upload the transaction as authorized and the system will send the information to RISK department. RISK department can’t reject this transaction.
For more details, refer the section Credit Exception Management in the Process Flows document.
A New Utilization transaction can be entered as Authorized Online or Unauthorized. If the transaction is not authorized online, then Oracle FLEXCUBE ELCM provides the facility to authorize the inputted transaction.
Apart from the Gate Way header information, Authorization process will require following the information.
| Sl No | Field Name | Data Type (size) | Remarks | Mandatory | |||||
|---|---|---|---|---|---|---|---|---|---|
| 1 | Utilization Reference Number | AlphaNumeric (16) | Specifies Oracle FLEXCUBE ELCM utilization reference number. | No | |||||
| 2 | External Reference Number | AlphaNumeric(50) | If the product processor does not have Oracle FLEXCUBE ELCM utilization reference number then it should pass the product processor reference number. | Yes | |||||
| 3 | AmountTag | AlphaNumeric(20) | Amount tag would be required when there are multiple utilization for the same reference number. This tag would indicate which component needs to be authorized. | No |
A New Utilization Transaction can be inputted as Authorized Online or Unauthorized. If transaction is not authorized online, then Oracle FLEXCUBE ELCM provides the facility to delete the inputted transaction.
Apart from the Gate Way header information, delete process would require the following information.
| Sl No | Field Name | Data Type (size) | Remarks | Mandatory | |||||
|---|---|---|---|---|---|---|---|---|---|
| 1 | Utilization Reference Number | AlphaNumeric (16) | Specifies Oracle FLEXCUBE ELCM utilization reference number. | No | |||||
| 2 | External Reference Number | AlphaNumeric(50) | If the product processor does not have Oracle FLEXCUBE ELCM utilization reference number then it should pass the product processor reference number. | Yes | |||||
| 3 | AmountTag | AlphaNumeric(20) | Amount tag would be required when there are multiple utilization for the same reference number. This tag would indicate which component needs to be deleted. | No |
This feature of gateway will allow the external system to rollback previous inputted transaction in Oracle FLEXCUBE ELCM. This feature will be supported in Gateway Inbound (online), information required as part of Technical undo is also Transaction Id of the previous transaction.
Note
As part of technical undo transaction information related to header needs to be passed and in body only previous Transaction ID needs to be passed.
Refer the Gateway Maintenance user manual for more details.
Increase/Decrease utilization transaction would be used to modify the utilization amount of the transaction. This transaction will be used when customer is making payment for the loan or when the loan amount is modified.
Apart from the GW header information, system requires following information.
| Sl No | Field Name | Data Type (size) | Remarks | Mandatory | |||||
|---|---|---|---|---|---|---|---|---|---|
| 1 | Utilization Reference Number | AlphaNumeric (16) | Specifies Oracle FLEXCUBE ELCM utilization reference number. | No | |||||
| 2 | External Reference Number | AlphaNumeric(50) | If the product processor does not have Oracle FLEXCUBE ELCM utilization reference number then it should pass the product processor reference number. | Yes | |||||
| 3 | AmountTag | AlphaNumeric(20) | Amount tag would be required when there are multiple utilization for the same reference number. This tag would indicate which component needs to be modified. | No | |||||
| 10 | Modified Utilization Amount | Numeric | Indicates the Increase/Decrease Utilization Amount | Yes | |||||
| 11 | Utilization Currency | AlphaNumeric (3) | Indicated the currency of the utilization transaction. Currency code entered should be valid currency code in Oracle FLEXCUBE ELCM system. | No | |||||
| 21 | Transaction Initiated Date | Date | Indicates the date and time when the transaction was entered in product processor. | Yes | |||||
| 22 | Value Date | Date | Specifies the Value date of the transaction. | No | |||||
| 23 | Authorization Status | Alphabet (1) | Indicates whether transaction should be authorized online or not. Possible values are “A” (Authorize online) and “U” (upload transaction as unauthorized). Default value is U | No | |||||
| 24 | Force Authorization | Alphabet (1) | Indicates whether transaction should ignore the overrides occurred in the process or not. Possible values “Y” (force authorize) and “N” (not force authorized). Default value is “N” | No | |||||
| 25 | Simulate | Alphabet(1) | Indicates if the transaction should be used only for simulation. Possible Values ‘Y’ (simulate) and ‘N’ (actual transaction). Default value is ‘N’ | No |
This section contains the following topics:
Apart from the mandatory checks, system performs the following validations
Other processing would be same as New Utilization Process.
Alter Utilization is used to modify the entire utilization transaction details. As part of Alter Utilization the external system should give the entire latest utilization details. Oracle FLEXCUBE ELCM will internally reverse previous transaction and upload alter utilization as the new utilization.
Example
Assume that loan has been created in the external system. As a part of loan creation, new utilization has been uploaded in Oracle FLEXCUBE ELCM. When loan parameters like product code, tenor of loan, customer etc. has to be changed then the loan transaction will be modified and subsequently Alter Utilization needs to be passed to the Oracle FLEXCUBE ELCM system.
Increase/decrease utilization would only modify only the utilization amount.
This section contains the following topics:
Oracle FLEXCUBE ELCM will internally reverse the previous transaction and upload Alter Utilization as a new utilization. New Utilization process will increase the utilization amount and decrease the available amount for the associated liability, liability facility, sector facility and country facility.
If the liability facility, sector facility or country facility has an associated Main Line then the utilization will be recored at all the parent levels.
Following data will be captured for a Alter Utilization transaction.
| Sl No | Field Name | Data Type | Remarks | Mandatory | |||||
|---|---|---|---|---|---|---|---|---|---|
| 1 | Source | AlphaNumeric(35) | Indicates the product processor name from where the transaction has been originated. This field will be as part of Header section (Source Code) | Yes | |||||
| 2 | TxnID | AlphaNumeric(50) | Indicates the Transaction Id of the message. Transaction Id should be unique across the system. This information is captured as part of header. | Yes | |||||
| 3 | Action | Alphabet (10) | Indicates the transaction type. This field will be as part of Header section (operation Code) | Yes | |||||
| 4 | Utilization Branch | AlphaNumeric (3) | Indicates the transaction branch. This field will be as part of Header section (Branch code). | Yes | |||||
| 5 | External Reference Number | AlphaNumeric(50) | Specifies the product processor reference number | Yes | |||||
| 6 | Customer Number | AlphaNumeric(11) | Specifies the Customer Number of the utilization transaction. Customer Number entered should be valid Customer Number in Oracle FLEXCUBE ELCM system. | Yes | |||||
| 7 | Liability Number | AlphaNumeric(11) | Specifies the Liability Number of the utilization transaction. Liability Number entered should be valid Liability Number in Oracle FLEXCUBE ELCM system. | Yes | |||||
| 8 | Facility Code | AlphaNumeric(9) | Specifies the Facility Code of the utilization transaction. Facility Code entered should be valid Facility Code in Oracle FLEXCUBE ELCM system. | Yes | |||||
| 9 | Facility Serial Number | Numeric (2) | Specifies the Facility Serial number of the utilization transaction | Yes | |||||
| 10 | Utilization Amount | Numeric | Indicates the Utilization Amount | Yes | |||||
| 11 | Utilization Currency | AlphaNumeric (3) | Indicated the currency of the utilization transaction. Currency code entered should be valid currency code in Oracle FLEXCUBE ELCM system. | Yes | |||||
| 12 | Utilization Product | Alphabet (10) | Indicates External product code of the utilization transaction | No | |||||
| 13 | Tenor Basis | Alphabet (1) | Indicates the tenor bases of the transaction | No | |||||
| 14 | Tenor | Numeric | Indicates the tenor of the transaction | No | |||||
| 15 | Maturity Date | Date | Specifies the maturity date of the transaction | No | |||||
| 16 | Matured Amount | Numeric | Specifies the maturity amount of the transaction | No | |||||
| 17 | Matured | Alphabet (1) | Indicates whether transaction is matured or Not. | No | |||||
| 18 | Uncollected Amount | Numeric | Specifies the uncollected amount of the transaction | No | |||||
| 19 | Amount Tag | Alphabet (20) | Indicates the type of the component of the transaction. | No | |||||
| 20 | Module | Alphabet (10) | Indicates the module of the transaction | No | |||||
| 21 | Transaction Initiated Date | Date | Indicates the date and time when the transaction was entered in product processor. | Yes | |||||
| 22 | Value Date | Date | Specifies the Value date of the transaction. If value is not passed then system will default to Oracle FLEXCUBE ELCM present branch date. | No | |||||
| 23 | Authorization Status | Alphabet (1) | Indicates whether transaction should be authorized online or not. Possible values are “A” (Authorize online) and “U” (upload transaction as unauthorized). Default value is U | No | |||||
| 24 | Force Authorization | Alphabet (1) | Indicates whether transaction should ignore the overrides occurred in the process or not. Possible values “Y” (force authorize) and “N” (not fore authorized). Default value is “N” | No | |||||
| 25 | User ID | AlphaNumeric(11) | Specifies valid Oracle FLEXCUBE ELCM user id, who is performing the operation. This field will be as part of Header section (User ID) | Yes | |||||
| 26 | Simulate | Alphabet(1) | Indicates if the transaction should be used only for simulation. Possible Values ‘Y’ (simulate) and ‘N’ (actual transaction). Default value is ‘N’ | No |
Reverse Utilization transaction is used to reverse an authorized utilization transaction. This is used when user/customer wants to close the transaction.
This section contains the following topics:
Apart from the Gate Way header information, the system requires following information.
| Sl No | Field Name | Data Type (size) | Remarks | Mandatory | |||||
|---|---|---|---|---|---|---|---|---|---|
| 1 | Utilization Reference Number | AlphaNumeric (16) | Specifies Oracle FLEXCUBE ELCM utilization reference number. | No | |||||
| 2 | External Reference Number | AlphaNumeric(50) | If the product processor does not have Oracle FLEXCUBE ELCM utilization reference number then it should pass the product processor reference number. | Yes | |||||
| 3 | AmountTag | AlphaNumeric(20) | Amount tag would be required when there are multiple utilization for the same reference number. This tag would indicate which component needs to be modified. | No | |||||
| 10 | Modified Utilization Amount | Numeric | Indicates the Increase/Decrease Utilization Amount | Yes | |||||
| 11 | Utilization Currency | AlphaNumeric (3) | Indicated the currency of the utilization transaction. Currency code entered should be valid currency code in Oracle FLEXCUBE ELCM system. | No | |||||
| 21 | Transaction Initiated Date | Date | Indicates the date and time when the transaction was entered in product processor. | Yes | |||||
| 22 | Value Date | Date | Specifies the Value date of the transaction. | No | |||||
| 23 | Authorization Status | Alphabet (1) | Indicates whether transaction should be authorized online or not. Possible values are “A” (Authorize online) and “U” (upload transaction as unauthorized). Default value is U | No | |||||
| 24 | Force Authorization | Alphabet (1) | Indicates whether transaction should ignore the overrides occurred in the process or not. Possible values “Y” (force authorize) and “N” (not fore authorized). Default value is “N” | No | |||||
| 25 | Simulate | Alphabet(1) | Indicates if the transaction should be used only for simulation. Possible Values ‘Y’ (simulate) and ‘N’ (actual transaction). Default value is ‘N’ | No |
Apart from the mandatory checks, system performs the following validations:
Other processing will be same as New Utilization Process.
Set Balance Transaction will be used when an external system processes the Utilization Transactions and then during EOD or some point of time the final balance of the utilization transaction is given to the Oracle FLEXCUBE ELCM system.
Oracle FLEXCUBE ELCM system will update the balance of the utilization transaction and subsequent difference in the utilization amount will be updated at liability, facility, sector and country levels. If there facility, sector and country has a main line associated with it, then the system will update the utilization details in all the main lines.
Apart from the Gate Way header information, system requires following information.
| Sl No | Field Name | Data Type (size) | Remarks | Mandatory | |||||
|---|---|---|---|---|---|---|---|---|---|
| 1 | Utilization Reference Number | AlphaNumeric (16) | Specifies Oracle FLEXCUBE ELCM utilization reference number. | No | |||||
| 2 | External Reference Number | AlphaNumeric(50) | If the product processor does not have Oracle FLEXCUBE ELCM utilization reference number then it should pass the product processor reference number. | Yes | |||||
| 3 | AmountTag | AlphaNumeric(20) | Amount tag would be required when there are multiple utilization for the same reference number. This tag would indicate which component needs to be modified. | No | |||||
| 10 | Modified Utilization Amount | Numeric | Indicates the Increase/Decrease Utilization Amount | Yes | |||||
| 11 | Utilization Currency | AlphaNumeric (3) | Indicated the currency of the utilization transaction. Currency code entered should be valid currency code in Oracle FLEXCUBE ELCM system. | No | |||||
| 21 | Transaction Initiated Date | Date | Indicates the date and time when the transaction was entered in product processor. | Yes | |||||
| 22 | Value Date | Date | Specifies the Value date of the transaction. | No | |||||
| 23 | Authorization Status | Alphabet (1) | Indicates whether transaction should be authorized online or not. Possible values are “A” (Authorize online) and “U” (upload transaction as unauthorized). Default value is U | No | |||||
| 24 | Force Authorization | Alphabet (1) | Indicates whether transaction should ignore the overrides occurred in the process or not. Possible values “Y” (force authorize) and “N” (not fore authorized). Default value is “N” | No | |||||
| 25 | Simulate | Alphabet(1) | Indicates if the transaction should be used only for simulation. Possible Values ‘Y’ (simulate) and ‘N’ (actual transaction). Default value is ‘N’ | No |
Apart from the mandatory checks, system performs the following validations:
Other processing will be same as New Utilization Process.
A Query Utilization transaction can be performed on all the Contracts. Here on query only the consolidated information about the contract will be provided.
Apart from the Gate Way header information, Query process will require following the information.
| Sl No | Field Name | Data Type (size) | Remarks | Mandatory | |||||
|---|---|---|---|---|---|---|---|---|---|
| 1 | Utilization Reference Number | AlphaNumeric (16) | Specifies Oracle FLEXCUBE ELCM utilization reference number. | No | |||||
| 2 | External Reference Number | AlphaNumeric(50) | If the product processor does not have Oracle FLEXCUBE ELCM utilization reference number then it should pass the product processor reference number. | Yes | |||||
| 3 | AmountTag | AlphaNumeric(20) | Amount tag would be required when there are multiple utilization for the same reference number. This tag would indicate which component needs to be authorized. | No | |||||
| 4 | Simulate | Alphabet(1) | Indicates if the transaction should be used only for simulation. Possible Values ‘Y’ (simulate) and ‘N’ (actual transaction). Default value is ‘N’ | No |
Mature Transaction will be used to set the mature amount for that the specified contract Utilization Transactions and then the amount specified will be treated as the matured amount for that contract.
Oracle FLEXCUBE ELCM system will update the mature amount of the utilization transaction. Apart from the Gate Way header information, system requires following information.
| Sl No | Field Name | Data Type (size) | Remarks | Mandatory | |||||
|---|---|---|---|---|---|---|---|---|---|
| 1 | Utilization Reference Number | AlphaNumeric (16) | Specifies Oracle FLEXCUBE ELCM utilization reference number. | No | |||||
| 2 | External Reference Number | AlphaNumeric(50) | If the product processor does not have Oracle FLEXCUBE ELCM utilization reference number then it should pass the product processor reference number. | Yes | |||||
| 3 | AmountTag | AlphaNumeric(20) | Amount tag would be required when there are multiple utilization for the same reference number. This tag would indicate which component needs to be modified. | No | |||||
| 10 | Modified Utilization Amount | Numeric | Indicates the Increase/Decrease Utilization Amount | Yes | |||||
| 11 | Utilization Currency | AlphaNumeric (3) | Indicated the currency of the utilization transaction. Currency code entered should be valid currency code in Oracle FLEXCUBE ELCM system. | No | |||||
| 21 | Transaction Initiated Date | Date | Indicates the date and time when the transaction was entered in product processor. | Yes | |||||
| 22 | Value Date | Date | Specifies the Value date of the transaction. | No | |||||
| 23 | Authorization Status | Alphabet (1) | Indicates whether transaction should be authorized online or not. Possible values are “A” (Authorize online) and “U” (upload transaction as unauthorized). Default value is U | No | |||||
| 24 | Force Authorization | Alphabet (1) | Indicates whether transaction should ignore the overrides occurred in the process or not. Possible values “Y” (force authorize) and “N” (not fore authorized). Default value is “N” | No |
All utilization requests explained above can also be raised through the ‘Limit Utilization’ screen.
You can invoke the ‘Limit Utilization’ screen by typing ‘GEDUTILS’ in the field at the top right corner of the Application tool bar and clicking the adjoining arrow button.

Note
The limit utilization feature explained in this section will be available only if the Enterprise Limits and Collateral Management module has been set up in standalone mode. In case of embedded or hybrid setups, you will not be able to invoke this screen.
Utilisation Branch
Specify the branch where the utilization request should be processed. The adjoining option list contains all the branches maintained in the system. Select the appropriate one.
User Reference Number
Specify a unique reference number for the transaction.
Transaction Module
Specify the module for the transaction. The adjoining option list contains all the modules in the system. Select the appropriate one.
Transaction Date
Specify the date for the transaction.
Simulate
Check this box to indicate that the details for the transaction being entered should be used only for simulation and not stored permanently within the system. After a simulated transaction has been successfully put through, the system will display the utilized amount for the facility and the for the liability.
Customer Number
Specify a valid customer number for the transaction. The adjoining option list contains all the customers maintained in the system. Select the appropriate one.
Utilisation Amount
Specify the amount for the utilization transaction.
Utilisation Currency
Specify the currency for the amount entered. The adjoining option list contains all the currencies maintained in the system. Select the appropriate one.
Utilisation Product
Specify the product for the transaction. The adjoining option list contains all the relevant products. Select the appropriate one.
Uncollected Amount
Specify the amount that has not yet been collected from the customer.
Tenor Basis
Check this box to indicate that the utilization should be tracked tenor wise for the facility. You can specify the basis on which it is to be tracked in the ‘Tenor’ field.
Tenor
Enter the basis on which tenor tracking should be done for the utilization. You need to have checked the ‘Tenor Basis’ option before you can specify the basis here.
Maturity Date
Specify the date on which the transaction matures.
Amount Tags
Specify the component type for the transaction. The adjoining option list contains all the relevant tags. Select the appropriate one.
Remarks
Enter any additional remarks that you wish to maintain for this transaction. You can enter up to 255 characters.
Value Date
Specify the value date for the transaction.
Line Code
Specify the line code to be used for the transaction. The adjoining option list contains all the line codes allowed. Select the appropriate one.
Facility Block Reference Number
During a new utilization, you can specify a valid block reference number to increase the amount in a facility. On the basis of the block reference number, the system validates if the liability and facility details of the new utilization and the existing facility for which the block has been maintained match. If there is a match, it increases the amount available under the facility by unblocking the corresponding amount block for the facility and making it available for use by the new utilization.
Click the ‘Exposures’ button. In the screen that is displayed, you can specify the transaction exposures that the system should track while processing utilization requests. The system defaults the customer exposures.

The Oracle FLEXCUBE Enterprise Limits and Collateral Management (hereafter referred to as Oracle FLEXCUBE ELCM) system receives Utilization Transactions (or contracts) from different external product processing systems. These external systems include Loans systems, Treasury systems, Trade and Finance systems and others. The bulk of the contract details will remain with these external systems and the only the details required for processing will be sent to Oracle FLEXCUBE ELCM.
During such Utilization Transactions, mismatch of details between the external product processor and Oracle FLEXCUBE ELCM may occur. To handle such mismatches, the Oracle FLEXCUBE ELCM system features an EOD Reconciliation Process to bring both system in sync by the end of the day.
EOD Reconciliation Process
As part of the EOD Reconciliation Process, an inbound transaction process happens wherein each product processor generates a batch file containing details pertaining to all the utilization requests for the day. The Oracle FLEXCUBE ELCM system will process these batch files as part of EOD batch operation and perform the reconciliation process.
The “Manual/System” parameter will specify whether the mismatched transaction should be handled manually by the user or the system should perform the reconciliation process
The system will read all the batch files for reconciliation and perform a comparison of all the transaction that has been performed in the product process with the utilization transactions performed in Oracle FLEXCUBE ELCM.
The following table shows the possible types of the mismatch.
| Transaction Status in Product Processor/Oracle FLEXCUBE | Corresponding Utilization status in Oracle FLEXCUBE ELCM | Resulting Oracle FLEXCUBE ELCM Action | |||
|---|---|---|---|---|---|
| Not Saved | Saved | Reversal | |||
| Saved | Not saved | Upload |
The above mentioned Oracle FLEXCUBE ELCM action is performed only if the system parameter has been set to ’System’.
Viewing Mismatch Summary
You can view in the mismatch Summary screen all the counter transactions that has been performed by Oracle FLEXCUBE ELCM for handling the mismatches. The summary also indicates whether the counter transactions have succeeded or failed.
For failed transactions, the reason for failure will be shown. You will have to take manual action in case of failed transactions.
You can modify the utilization amount of the transaction through the ‘Utilization Increase And Decrease’ screen. This transaction can be used when customer is making payment for the loan or when the loan amount is modified.
You can invoke the ‘Utilization Increase and Decrease’ screen by typing ‘GEDUTNID’ in the field at the top right corner of the Application tool bar and clicking the adjoining arrow button.

Note
The feature explained in this section will be available only if the Enterprise Limits and Collateral Management module has been set up in standalone mode. In case of embedded or hybrid setups, you will not be able to invoke this screen.
Utilization Reference No
Specify the reference number for the utilization that you wish to modify. The adjoining option list contains all the utilizations in the system. Select the appropriate one. The system displays the user reference number, the utilization currency and the amount tag.
Utilization Amount
Enter the amount by which you wish to modify the utilization.
Action
Indicate the operation for the utilization – whether you would like to increase or decrease the utilization amount.
The ‘Limit Utilization’ screen will be displayed when you click on the ‘Details’ button where you can view the details of the original utilization request.
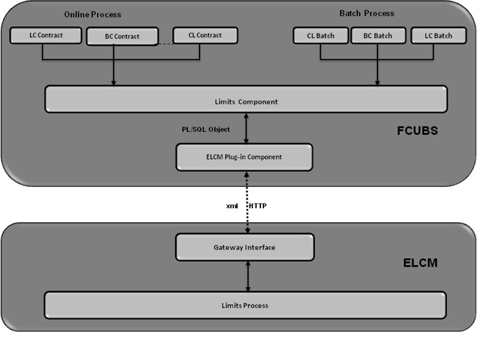
If you link an Oracle FLEXCUBE transaction to a facility, then based on the event of transaction corresponding, you need to process limits related data in Enterprise Limits and Collateral Management (ELCM) systems.
During processing if any error or override occurs in ELCM, then ELCM sends an error or override information to Oracle FLEXCUBE. Later Oracle FLEXCUBE will display the details to you. The Interface between Oracle FLEXCUBE and ELCM is online real time using HTTP and all transaction posted into ELCM is auto authorized. If delete or reversal action is triggered, the system will reverse the transaction in ELCM.
If a contact needs to be tracked under facility, then you have to link the contact to the facility and during transaction processing, Oracle FLXCUBE sends the utilization details to ELCM for processing.
The below diagram briefs the Utilization Transaction Integration Approach flow between Oracle FLEXCUBE and ELCM:

The table below explains the actions you can perform for which Oracle FLEXCUBE hands-off utilization transaction to ELCM:
| Sl. No | Oracle FLEXCUBE Transaction Action | Utilization Transaction Action | |||
|---|---|---|---|---|---|
| 1 | New | New | |||
| 2 | Modify | Modify/ Increase/Decrease | |||
| 3 | Delete | Delete | |||
| 4 | Reverse | Reverse | |||
| 5 | Liquate | Liquate | |||
| 6 | Rollover | Rollover | |||
| 7 | Payment | Decrease |
As part of the contract or transaction process, if a line code is linked to a contract then it is required to track the limits of the linked line. The system exposes limits process as subsystem and any module would interact with Limits subsystem.
The system allows you to trap all the utilization transaction. The system would interface with ELCM Gateway HTTP to upload the utilization transactions in ELCM. Based on the utilization event, the system creates utilization request in ELCM format. It also logs transaction data and status of each utilization transaction.
This section contains the following topics:
You are allowed to link collateral pool as part of contact and upload all collateral pool utilization transactions in ELCM. You can process the following events as part collateral pool utilization:
The system allows you to plug the pool utilization data from Oracle FLEXCUBE and passes to ELCM using ELCM Gateway HTTP/WS communication channel.
The following are the possible transaction status for utilization upload:
Oracle FLEXCUBE sends the utilization transaction to ELCM and while processing this transaction, If ELCM processes it completely, then this transaction would be considered as success. Oracle FLEXCUBE would continue to process remaining contract process.
During transaction process, if transaction is uploaded successfully in ELCM and if any error or overrides (overrides not accepted) occurs in Oracle FLEXCUBE then uploaded transaction is reverted back using technical undo feature of ELCM.
Oracle FLEXCUBE sends the utilization transaction to ELCM and while processing this transaction, if any error occurs, ELCM will send failure status with error details to Oracle FLEXCUBE.
ELCM plug-in updates the transaction error objects which ELCM error code, as part of transaction process. Later Oracle FLEXCUBE checks the error object and subsequently raises error as part of contract process.
As part of the transaction process, if ELCM process is failed then ELCM error details are displayed to the user.
Note
Oracle FLEXCUBE sends the utilization transaction to ELCM and while processing this transaction, if any override occurs, in such cases ELCM would generate override reference number (Multitrip ID) and log override details along with Multitrip ID for further reference. It marks the final transaction status as override and override details only with Multitrip ID is passed to Oracle FLEXCUBE for further processing.
ELCM plug-in would updates override details in Oracle FLEXCUBE error object it also logs the status and Multitrip ID as part of log table, later as part of transaction process Oracle FLEXCUBE checks the error object and subsequently raises transaction status as override.
Note
If overrides occur as part of transaction process, then the system displays the override details to the user. You have an option to accept or reject the overrides.
If the override occurs as part of the request, XML Multitrip ID is also passed and this Multitrip ID is passed to ELCM as part of utilization transaction. As part of the utilization process in ELCM if same (previous transaction) overrides occurs, then it is accepted and the transaction will be saved.
Oracle FLEXCUBE sends the utilization transaction to ELCM and while processing this transaction, if any of the validation requires authorization, then ELCM processes the transaction completely and sends dual auth details and marks the transaction status as Dual auth required.
ELCM plug-in updates dual auth details in error object, later as part of transaction process it updates dual auth details in Oracle FLEXCUBE tables. It updates the Auth status for the dual auth error code as ‘U’ – Unauthorized, if you try to authorize the contract, Oracle FLEXCUBE will check whether contract has any unauthorized dual-auth error code. If yes, the system does not allow contract to be authorized, till all dual-auth error codes are authorized.
In ELCM if any error code requires dual authorization, the system triggers credit exception management process flow. You are allowed to accept or reject the validation (dual-auth) error code. On accept or reject of the validation code, ELCM handoffs these details to JMS queue and ELCM out adapter is used to invoke Oracle FLEXCUBE WS for updating status of dual-auth error code.
All utilization transactions which are uploaded from Oracle FLEXCUBE are auto authorized and if contract or transaction is deleted in Oracle FLEXCUBE then ELCM would trigger the reversal transaction.
Example
Assume the following:
Liability ‘COCACOLA’ is created in ELCM with below details:
Liability Code - COCACOLA
Liability Currency - USD
Overall Limit - 100,000,000
Amount Utilized - 0
Customer ‘C00001’ is created in Oracle FLEXCUBE and Customer ‘C00001’ is linked in ELCM using liability ‘COCACOLA’ using customer liability linkage maintenance. Facility ‘COCALOAN01’ is created in ELCM with below details:
Liability Code - COCACOLA
Facility Code - COCALOAN01
Facility currency - USD
Limit Amount - 0
Amount Utilized - Yes
Revolving Flag - 1,000,000
Loan (CL module) has been inputted for customer ‘C00001’ created in Oracle FLEXCUBE with below details:
Customer No - C00001
Loan currency - USD
Loan Amount - 500,000
Value Date - 01-Mar-2008
Maturity Date - 01-Sept-2008
Facility Code - COCALOAN01
As part of loan processing, Oracle FLEXCUBE sends new utilization transaction to ELCM for the loan. As part of the utilization process ELCM updates utilized amount at facility level and liability level. The Liability details after loan transaction would be as below:
Liability Code - COCACOLA
Liability Currency - USD
Overall Limit - 100,000,000
Amount Utilized - 500,000
The Facility details after loan transaction is as below:
Liability Code - COCACOLA
Facility Code - COCALOAN01
Limit Amount - USD
Facility currency - 1,000,000
Amount Utilized - 500,000
Revolving Flag - Yes
Assume that you have paid the first installment of amount 100,000 (principal) using CL payment screen in Oracle FLEXCUBE and after processing the transaction, the liability and facility details would be as below:
Liability Code - COCACOLA
Liability Currency - USD
Amount Utilized - 100,000,000
Overall Limit - 400,000
Note
Since line linked to loan is revolving, as part payment transaction ELCM would reduce amount utilized.
The facility details after processing the loan transaction is as below:
Liability Code - COCACOLA
Facility Code - COCALOAN01
Facility currency - USD
Limit Amount - 1,000,000
Amount Utilized - 400,000
Revolving Flag - Yes