In today's turbulent markets, financial institutions require a better understanding of their risk-return, while strengthening competitive advantage and enhancing long-term customer value. Oracle Financial Services Analytical Applications (OFSAA) enable financial institutions to measure and meet risk-adjusted performance objectives, cultivate a risk management culture through transparency, lower the costs of compliance and regulation, and improve insight into customer behavior.
OFSAA uses industry-leading analytical methods, shared data models, and applications architecture to enable integrated risk management, performance management, customer insight, and compliance management. OFSAA actively incorporates risk into decision making, enables to achieve a consistent view of performance, promote a transparent risk management culture, and provide pervasive intelligence.
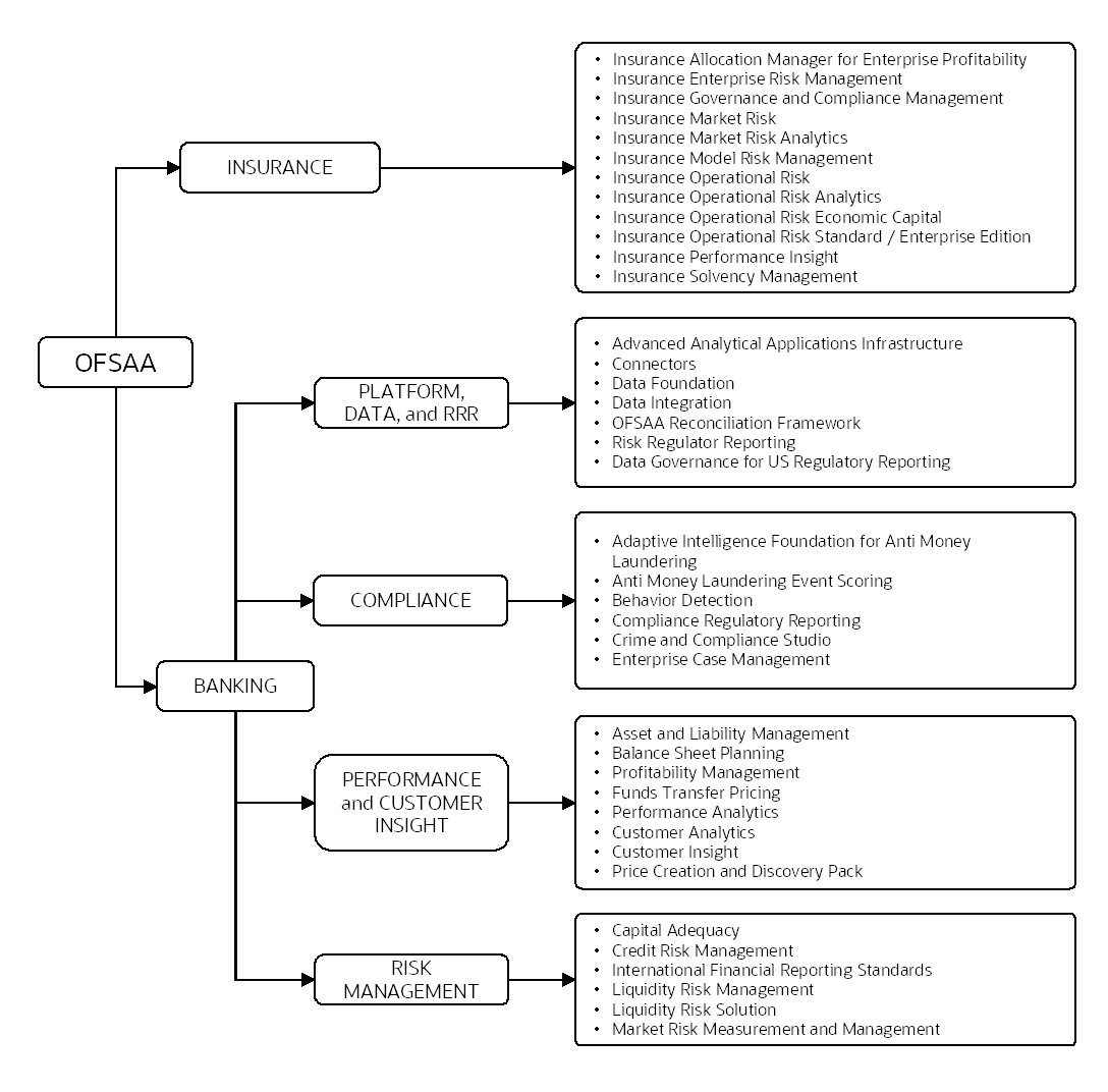
Oracle Financial Services Analytical Applications delivers a comprehensive, integrated suite of financial services analytical applications for both banking and insurance domains.
The following figure depicts the various application packs that are available across the OFSAA Banking and Insurance domains.
Figure 1: OFSAA Application Packs

Topics:
· Oracle Financial Services Analytical Applications Infrastructure (OFS AAI)
Oracle Financial Services Analytical Applications Infrastructure (OFS AAI) powers the Oracle Financial Services Analytical Applications family of products to perform the processing, categorizing, selection, and manipulation of data and information required to analyze, understand and report on specific performance, risk, compliance, and customer insight issues by providing a strong foundation for the entire family of Oracle Financial Services Analytical Applications across the domains of Risk, Performance, Compliance and Customer Insight.
The OFSAA Infrastructure includes frameworks that operate on and with the Oracle Financial Services Analytical Applications Data Model and forms the array of components within the Infrastructure.
The OFSAA Infrastructure components/frameworks are installed as two layers; primarily, the metadata server and Infrastructure services run on one layer, while the UI and presentation logic run on the other. The UI and presentation layer are deployed on any of the supported J2EE Servers.
The following figure depicts the various frameworks and capabilities that make up the OFSAA Infrastructure.
Figure 2: Components of OFSAAI

The current release of the OFSAA Infrastructure supports only the "Single Instance" installation for the Infrastructure components. However, the High Availability (HA) for the Database Server and/ or the Web application server clustering and deployment is supported in this release.
This release supports the Active-Passive model of implementation for OFSAAI components. For more information, see the Oracle Financial Services Analytical Applications Configuration for High Availability Best Practices Guide.
The following figure illustrates the deployment topology of OFSAA application packs.
Figure 3: Logical Architecture Implemented for OFSAA Application Packs

Oracle Insurance Allocation Manager for Enterprise Profitability Application Pack 8.1.1.0.0 Pack includes the following applications:
· Oracle Financial Services Analytical Applications Infrastructure: Oracle Financial Services Analytical Applications Infrastructure (OFS AAI) powers the Oracle Financial Services Analytical Applications family of products to perform the processing, categorizing, selection and manipulation of data and information needed to analyze, understand and report on specific performance, risk, compliance and customer insight issues by providing a strong foundation for the entire family of Oracle Financial Services Analytical Applications across the domains of Risk, Performance, Compliance and Customer Insight.
· Oracle Insurance Allocation Manager for Enterprise Profitability: Oracle Insurance Allocation Manager for Enterprise Profitability enables financial services institutions to calculate profitability by products, channels, segments, and even individual customers. These profitability calculations are adjusted for risk, and they drive Risk-Adjusted Performance Management (RAPM), an imperative for financial services institutions operating in this rapidly evolving and complex industry.
The Oracle Financial Services Analytical Applications Infrastructure Extension (OFS AAIE) Pack adds a set of new advanced features for the 8.1.1.0.0 Release across OFSAA applications. This pack can be installed on an OFSAA instance having one or more OFSAA application packs.
The Oracle Financial Services Analytical Applications Infrastructure Extension Pack includes the following advanced features and functionalities:
· Distributed Processing Capabilities
· Analytic Pipeline and Process models
· Attribution Analysis
· Content Management Interoperability Services
NOTE:
The pack is enabled by the procurement of an additional license. For more information, see the OFS AAIE Release Notes and Installation Guide on the OHC Documentation Library.
Release 8.1.1.0.0 of PFT-INS Pack supports fresh installation and also upgrade from versions 8.1.x.
The following illustration shows the sequence of steps you need to follow to perform the installation.
Figure 4: Installation Flow of OFSAA Application Packs
