1 Introduction
This guide describes how to install or upgrade Oracle Communications Cloud Native Core, Security Edge Protection Proxy (SEPP) in a cloud native environment (OCCNE), and Oracle Cloud Infrastructure (OCI). It also includes information on performing fault recovery for SEPP.
Note:
- This guide covers the installation instructions when Podman is the container platform with Helm as the Packaging Manager. For any other container platform, the operator must use the commands based on their deployed container runtime environment.
kubectlcommands can vary based on the platform deployment. Replacekubectlwith Kubernetes environment-specific command line tool to configure Kubernetes resources through kube-api server. The instructions provided in this document are as per the CNE version of kube-api server.
Caution:
User, computer and applications, and character encoding settings may cause an issue when copy-pasting commands or any content from PDF. PDF reader version also affects the copy-pasting functionality. It is recommended to verify the pasted content especially when the hyphens or any special characters are part of the copied content.
1.1 Overview
SEPP is a key component of the 5G Service Based Architecture. It is a proxy Network Function (NF) which is used for secured communication between Public Land Mobile Network (PLMN) messages.
Note:
The performance and capacity of the SEPP system may vary based on the call model, Feature/Interface configuration, and underlying platform and hardware environment.
For more information about the SEPP architecture, see Oracle Communications Cloud Native Core, Security Edge Protection Proxy User Guide.
1.2 References
- Oracle Communications Cloud Native Core, Cloud Native Environment Installation, Upgrade, and Fault Recovery Guide
- Oracle Communications Cloud Native Core, cnDBTier User Guide
- Oracle Communications Cloud Native Core, cnDBTier Installation, Upgrade, and Fault Recovery Guide
- Oracle Communications Cloud Native Core, Operations Services Overlay Installation and Upgrade Guide
- Oracle Communications Cloud Native Core, Data Collector User Guide
- Oracle Communications Cloud Native Core, Security Edge Protection Proxy User Guide
- Oracle Communications Cloud Native Core, Security Edge Protection Proxy REST Specification Guide
- Oracle Communications Cloud Native Core, Security Edge Protection Proxy Troubleshooting Guide
- Oracle Communications Cloud Native Core, Security Edge Protection Proxy Network Impact Report
- Oracle Communications Cloud Native Configuration Console User Guide
- Oracle Communications Cloud Native Configuration Console Installation, Upgrade, and Fault Recovery Guide
- Oracle Communications Cloud Native Core, Automated Test Suite User Guide
- Oracle Communications Cloud Native Core, Certificate Management Installation, Upgrade, and Fault Recovery Guide
- Oracle Communications Cloud Native Core, Certificate Management User Guide
- Oracle Communications Cloud Native Core, OCI Deployment Guide
- Oracle Communications Cloud Native Core, OCI Adaptor User Guide
- Oracle Communications Network Analytics Data Director Installation, Upgrade, and Fault Recovery Guide
- Oracle Communications Cloud Native Core Release Notes
- Oracle Communications Cloud Native Core Licensing Information User Guide
- Oracle Communications Cloud Native Core Solution Upgrade Guide
- Oracle Communications Cloud Native Core Security Guide
1.3 Supported Deployment Models
- Single Cluster, Single Instance (Single SEPP instances on dedicated cnDBTier cluster)
- Single Cluster, Multiple Instances (Multiple SEPP instances on shared cnDBTier cluster)
1.3.1 Single Cluster, Single Instance (Single SEPP Instances on Dedicated cnDBTier Cluster)
This deployment model has dedicated cnDBTier for each SEPP in a cluster.
Figure 1-1 Single Cluster, Single Instance (Single SEPP Instances on Dedicated cnDBTier Cluster)

- Dedicated SEPP and cnDBTier. Only single instance of NF is supported.
- CNC Console shares the cnDBTier with NF.
- Any failure in cnDBTier impacts only that SEPP.
- SEPP and cNDBTier upgrade and rollback are seamless and easy to maintain the compatibility matrix.
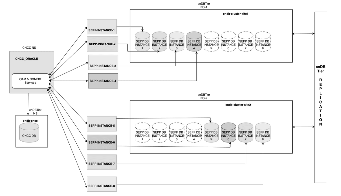
1.3.2 Single Cluster, Multiple Instances (Multiple SEPP Instances on Shared cnDBTier Cluster)
This deployment model allows multiple SEPP instances to be deployed on a shared cnDBTier cluster.
Figure 1-2 Single Cluster, Multiple Instance (multiple SEPP instances on shared cnDBTier cluster)

The deployment model has the following characteristics:
- This approach optimizes resource utilization and can lead to considerable resource efficiency.
- Data access for each SEPP instance is restricted through the use of distinct logins and credentials during deployment.
- 1+1 GR redundancy only is supported with not more than 4 SEPP instances in one cluster
- This deployment model can only be used for SEPP instances deployed on the same CNE cluster.
1.4 Oracle Error Correction Policy
The table below outlines the key details for the current and past releases, their General Availability (GA) dates, and the end dates for the Error Correction Grace Period.
Table 1-1 Oracle Error Correction Policy
| Cloud Native Core Release Number | General Availability (GA) Date | Error Correction Grace Period End Date |
|---|---|---|
| 3.24.3 | October 2024 | October 2025 |
| 3.24.2 | July 2024 | July 2025 |
| 3.24.1 | April 2024 | April 2025 |
| 3.23.4 | December 2023 | December 2024 |
Note:
For the latest patch releases, see their corresponding Oracle Communications Cloud Native Core Release Notes.
For a release, Sev1 and Critical Patch Update (CPU) patches are supported for 12 months. For more information, see Oracle Communications Cloud Native Core and Network Analytics Error Correction Policy.1.5 Oracle Open Source Support Policies
Oracle Communications Cloud Native Core uses open source technology governed by the Oracle Open Source Support Policies. For more information, see Oracle Open Source Support Policies.