8 SCP Interactions with NRF
SCP allows configuration of multiple NRF sets and determines the network topology with all the configured NRF sets.
SCP can register with an NRF instance as per priority and capacity in each configured NRF set. You can configure an SCP profile at the time of deployment. SCP sends NF details for heartbeat with NRF and updates the mate SCP information in the NF profile after the deployment.
SCP subscribes to any NF status change notification for all the 5G NF types with one of the available NRF instances as per priority and capacity in each configured NRF set using NFStatusSubscribe, NFStatusUnsubscribe, and NFStatusNotify service operations of the Nnrf_NFManagement service. NF suspended and deregistered notification removes the detected NF information and updates the routing information as required.
SCP performs periodic 5G NF topology audits with one of the available NRF instances as per priority and capacity in each configured NRF set using the NFListRetrieval and NFProfileRetrieval service operations of the Nnrf_NFManagement service if nnrf-mgmt services is configured for audit, or SCP can learn profiles using the NRF discovery service if nnrf-disc is configured for audit.
SCP maintains servingScope (serving locality) to SCP instance mapping when it gets NF status change notification from NRF for any other SCP instance that can be used for routing or forwarding the service request between SCP instances wherever applicable.
SCP determines all the SCP instances from NF-SetId published in the SCP profile. SCP instances are identified and grouped based on their respective NFSetId published.
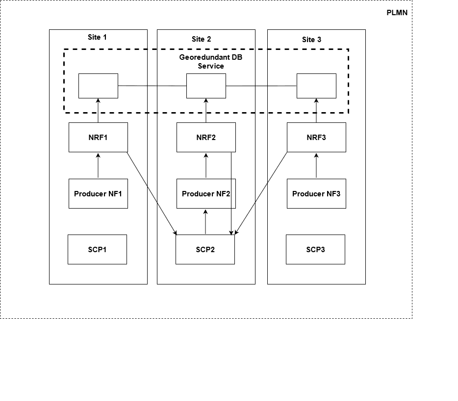
Producer NF Registration Notification from NRF to SCP
The following image is an example of a scenario that describes how SCP receives producer NF registration notifications from NRF instances.
Figure 8-1 Producer NF Registration Notification from NRF to SCP

There are three NRF instances, NRF1, NRF2, and NRF3, which are deployed as georedundant NRFs across three sites, in an NRF set. SCP1 and SCP3 do not establish communication with the corresponding NRF instances such as NRF1 and NRF3. However, SCP2 subscribes with NRF2 for all changes for 5G NF types. When producer NF1, NF2, and NF3 register with NRF1, NRF2, and NRF3, respectively, SCP2 receives notification regarding producer NF1, NF2, and NF3 registration from NRF1, NRF2, and NRF3.
SCP uses the nfStatusNotificationUri callback URI to receive notifications from NRF. nfStatusNotificationUri notifies SCP about registrations, deregistrations, or profile changes of any NF profile. To subscribe to NRF notifications, SCP uses the POST method.
http://<scp-worker FQDN or IP>:<scp-worker
Port>/ocscp/scpc-notification/v1/notification/<nrfRegionSetID>/<nftype>/<UUID>Where,- The FQDN or IP address is determined by the deployment configuration.
- scp-worker Port indicates the service port of SCP-Worker.
- nrfRegionSetID indicates the NRF's region or SetID based on the NRF configuration used during deployment.
- nfType indicates the NF type to which the Subscription is sent.
- UUID is the Universally Unique ID.
nfProfile or partial profiles that is
profileChanges. For more information about
nfStatusNotificationUri, see 3GPP 29.510.
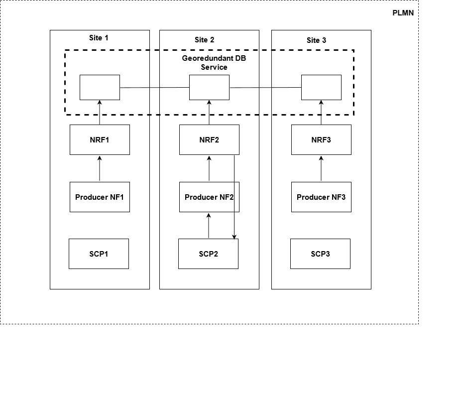
5G NF Topology Audit Response from NRF
The following image is an example of a scenario that describes how SCP receives 5G NF topology audit response from NRF.
Figure 8-2 5G NF Topology Audit Response from NRF

There are three NRF instances, NRF1, NRF2, and NRF3, which are deployed as georedundant NRFs across three sites, in an NRF set. Producer NF1, NF2, and NF3 register with NRF1, NRF2, and NRF3, respectively. SCP1 and SCP3 do not establish communication with the corresponding NRF instances such as NRF1 and NRF3. When SCP2 performs period audit for 5G NF types with NRF2, SCP2 receives audit response from NRF2 with all producer NF1, NF2, and NF3 irrespective of where they are registered.