4.27.2 Processing Buy Participation

The processing of participation buy deals can be illustrated as follows:

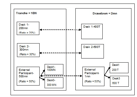
Example continued

Continuing on the previous example, let us assume that bank buys participation from the external participants as shown below.

Figure 4-47 Processing Buy Participation



The SLT position and the agency activities need to be tracked independently for the normal participation and silent participation.

In the LB module the normal and silent participations are handles as follows:
Participant Participation % Tranche Amount Drawdown Amount
Desk1 20% 200mn 400T
Desk2 30% 300mn 600T
External Participant 50% 500mn 1mn
Participant Participation % Tranche Amount Drawdown Amount
Desk1 25% 100mn 200T
Desk3 75% 300mn 600T
Two sets of LB transactions take place, in this case, as given below:
  • Initial transaction with Desk1, Desk2, and External Participant as the participants where bank is the lead agent. Any settlement from the borrower gets propagated to Desk1, Desk2 and External Participant, in this case.
  • In the second transaction, Desk1 and Desk 3 are the participants and bank acts as the dummy lead. All borrower side settlements happen from the External Party who represents Desk1 and Desk3 (silent participants) in the initial agency transaction.

This topic contains following sub-topic: