2 Containerization
This topic describes about the various containerization process.
Docker Registry
A Docker registry is a service for storing and retrieving the Docker images. A registry contains a collection of one or more Docker image repositories. Each image repository contains one or more tagged images. The Docker provides its own registry and the Docker Hub, but users can also use private or third-party registries.
Note:
The user must self register in Oracle Container Registry to access the images located in this registry.Database
The Database is not included inside the Docker and the database feature should be used for High availability.
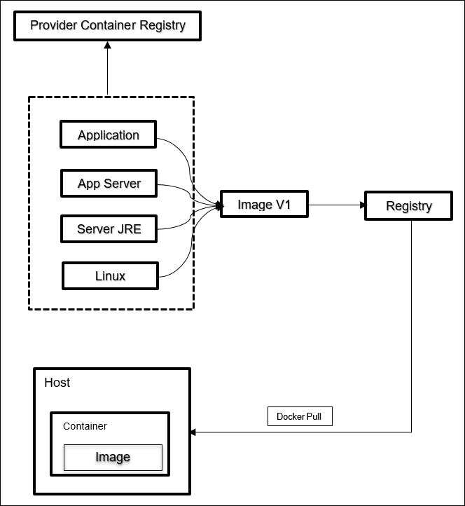
Building Image
The process of building an image is below:
Image Creation
Image layered consists of the following components:
- Operating System Linux from provider Container Registry
- Java Runtime from provider Container Registry
- Application Server from provider Container Registry
- Applications from Oracle Banking Microservice Architecture product installer
Update Image for Patch/Customization
The modified image layered consists of the following components.
Note:
The image needs to be updated from local Container Registry.

