Oracle8i Application Developer's Guide - XML
Release 3 (8.1.7)

Part Number A86030-01

Library

Service

Contents

Index

Go to previous page Go to beginning of chapter Go to next page

Using XSQL Servlet, 11 of 24


XSQL Page Processor in Action

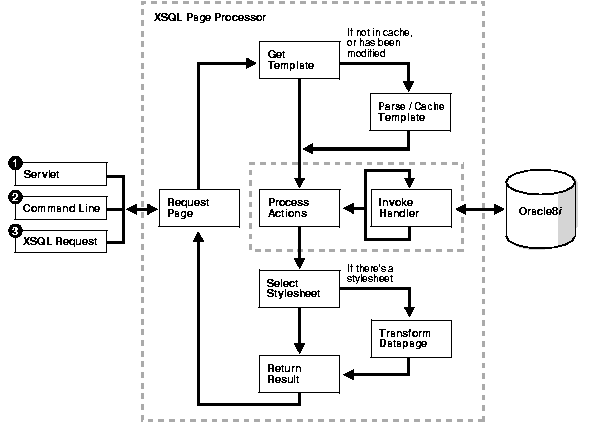
Figure 19-8 describes in detail what goes on inside the XSQL Page Processor when processing a request. See Figure 19-6 for the broad picture.

  1. The XSQL Page Processor is accessed in any of the three ways shown:

    • From a Servlet

    • From the XSQL Command Line

    • From an XSQL Request

The request page template input, "Request Page", is fetched by "get Template".

  1. If the page is not in the XSQL Page Cache (See Figure 19-7, "XSQL Page Processor Architecture"), or if it has been modified, the request page is parsed and cached in the XSQL Page Cache for future use.

    If the page is already in the XSQL Page Cache it is simply fetched from the XQL Page Cache.

  2. The results of the parse are processed for any actions or tasks, if specified in the XSQL Page Template and if applicable.

  3. If the XSQL Page Template includes any ActionHandlers the Action Handler is invoked to further process the actions.

  4. Next it applies the selected stylesheet and transforms the XSQL data Page.

  5. The transformed result is returned to the requester, Servlet, XSQL Command Line, or XSQL Request application.

Figure 19-8 XSQL Page Processor in Action



Go to previous page Go to beginning of chapter Go to next page
Oracle
Copyright © 1996-2000, Oracle Corporation.

All Rights Reserved.

Library

Service

Contents

Index