Skip Headers

PL/SQL Packages and Types Reference
10g Release 1 (10.1)

Part Number B10802-01
Go to Documentation Home
Home
Go to Book List
Book List
Go to Table of Contents
Contents
Go to Index
Index
Go to Master Index
Master Index
Go to Feedback page
Feedback

Go to previous page
Previous
Go to next page
Next
View PDF

27
DBMS_DEBUG

DBMS_DEBUG is a PL/SQL interface to the PL/SQL debugger layer, Probe, in the Oracle server.

This API is primarily intended to implement server-side debuggers and it provides a way to debug server-side PL/SQL program units.


Note:

The term program unit refers to a PL/SQL program of any type (procedure, function, package, package body, trigger, anonymous block, object type, or object type body).


This chapter contains the following topics:


Using DBMS_DEBUG


Overview

To debug server-side code, you must have two database sessions: one session to run the code in debug mode (the target session), and a second session to supervise the target session (the debug session).

The target session becomes available for debugging by making initializing calls with DBMS_DEBUG. This marks the session so that the PL/SQL interpreter runs in debug mode and generates debug events. As debug events are generated, they are posted from the session. In most cases, debug events require return notification: the interpreter pauses awaiting a reply.

Meanwhile, the debug session must also initialize itself using DBMS_DEBUG: This tells it which target session to supervise. The debug session may then call entry points in DBMS_DEBUG to read events that were posted from the target session and to communicate with the target session.

The following subprograms are run in the target session (the session that is to be debugged):

DBMS_DEBUG does not provide an interface to the PL/SQL compiler, but it does depend on debug information optionally generated by the compiler. Without debug information, it is not possible to examine or modify the values of parameters or variables.


Constants

A breakpoint status may have the following value:

Otherwise, the status is a mask of the following values:


Variables

Variable Description

default_timeout

The timeout value (used by both sessions).The smallest possible timeout is 1 second. If this value is set to 0, then a large value (3600) is used.


Types

BACKTRACE_TABLE Type

This type is used by PRINT_BACKTRACE.

TYPE backtrace_table IS TABLE OF program_info INDEX BY BINARY_INTEGER;

BREAKPOINT_INFO Type

This type gives information about a breakpoint, such as its current status and the program unit in which it was placed.

TYPE breakpoint_info IS RECORD
(
   -- These fields are duplicates of 'program_info':
   Name        VARCHAR2(30),
   Owner       VARCHAR2(30),
   DbLink      VARCHAR2(30),
   Line#       BINARY_INTEGER,
   LibunitType BINARY_INTEGER,
   Status      BINARY_INTEGER   -- see breakpoint_status_* in following sections
);

BREAKPOINT_TABLE Type

This type is used by SHOW_BREAKPOINTS.

TYPE breakpoint_table IS TABLE OF breakpoint_info INDEX BY BINARY_INTEGER;

INDEX_TABLE Type

This type is used by GET_INDEXES to return the available indexes for an indexed table.

TYPE index_table IS table of BINARY_INTEGER INDEX BY BINARY_INTEGER;

PROGRAM_INFO Types

This type specifies a program location. It is a line number in a program unit. This is used for stack backtraces and for setting and examining breakpoints. The read-only fields are currently ignored by Probe for breakpoint operations. They are set by Probe only for stack backtraces.

Type Description

EntrypointName

Null, unless this is a nested procedure or function.

LibunitType

Disambiguate among objects that share the same namespace (for example, procedure and package specifications).

See the Libunit Types for more information.

TYPE program_info IS RECORD
(
    -- The following fields are used when setting a breakpoint
    Namespace        BINARY_INTEGER,  -- See 'NAMESPACES' in following sections
    Name             VARCHAR2(30),    -- name of the program unit
    Owner            VARCHAR2(30),    -- owner of the program unit
    Dblink           VARCHAR2(30),    -- database link, if remote
    Line#            BINARY_INTEGER,
    -- Read-only fields (set by Probe when doing a stack backtrace)
    LibunitType      BINARY_INTEGER, 
    EntrypointName   VARCHAR2(30)
);

RUNTIME_INFO Type

This type gives context information about the running program.

TYPE runtime_info IS RECORD
(
    Line#            BINARY_INTEGER,  -- (duplicate of program.line#)
    Terminated       BINARY_INTEGER,  -- has the program terminated?
    Breakpoint       BINARY_INTEGER,  -- breakpoint number
    StackDepth       BINARY_INTEGER,  -- number of frames on the stack
    InterpreterDepth BINARY_INTEGER,  -- <reserved field>
    Reason           BINARY_INTEGER,  -- reason for suspension
    Program          program_info     -- source location
);

VC2_TABLE Type

This type is used by SHOW_SOURCE.

TYPE vc2_table IS TABLE OF VARCHAR2(90) INDEX BY BINARY_INTEGER;

Exceptions

These values are returned by the various functions called in the debug session (SYNCHRONIZE, CONTINUE, SET_BREAKPOINT, and so on). If PL/SQL exceptions worked across client/server and server/server boundaries, then these would all be exceptions rather than error codes.

Value Description

success

Normal termination.

Statuses returned by GET_VALUE and SET_VALUE:

Status Description

error_bogus_frame

No such entrypoint on the stack.

error_no_debug_info

Program was compiled without debug symbols.

error_no_such_object

No such variable or parameter.

error_unknown_type

Debug information is unreadable.

error_indexed_table

Returned by GET_VALUE if the object is a table, but no index was provided.

error_illegal_index

No such element exists in the collection.

error_nullcollection

Table is atomically null.

error_nullvalue

Value is null.

Statuses returned by SET_VALUE:

Status Description

error_illegal_value

Constraint violation.

error_illegal_null

Constraint violation.

error_value_malformed

Unable to decipher the given value.

error_other

Some other error.

error_name_incomplete

Name did not resolve to a scalar.

Statuses returned by the breakpoint functions:

Status Description

error_no_such_breakpt

No such breakpoint.

error_idle_breakpt

Cannot enable or disable an unused breakpoint.

error_bad_handle

Unable to set breakpoint in given program (nonexistent or security violation).

General error codes (returned by many of the DBMS_DEBUG subprograms):

Status Description

error_unimplemented

Functionality is not yet implemented.

error_deferred

No program running; operation deferred.

error_exception

An exception was raised in the DBMS_DEBUG or Probe packages on the server.

error_communication

Some error other than a timeout occurred.

error_timeout

Timout occurred.

Exception Description

illegal_init

DEBUG_ON was called prior to INITIALIZE.

The following exceptions are raised by procedure SELF_CHECK:

Exception Description

pipe_creation_failure

Could not create a pipe.

pipe_send_failure

Could not write data to the pipe.

pipe_receive_failure

Could not read data from the pipe.

pipe_datatype_mismatch

Datatype in the pipe was wrong.

pipe_data_error

Data got garbled in the pipe.


Operational Notes

There are two ways to ensure that debug information is generated: through a session switch, or through individual recompilation.

To set the session switch, enter the following statement:

ALTER SESSION SET PLSQL_DEBUG = true;

This instructs the compiler to generate debug information for the remainder of the session. It does not recompile any existing PL/SQL.

To generate debug information for existing PL/SQL code, use one of the following statements (the second recompiles a package or type body):

ALTER [PROCEDURE | FUNCTION | PACKAGE | TRIGGER | TYPE] <name> COMPILE DEBUG;
ALTER [PACKAGE | TYPE] <name> COMPILE DEBUG BODY;

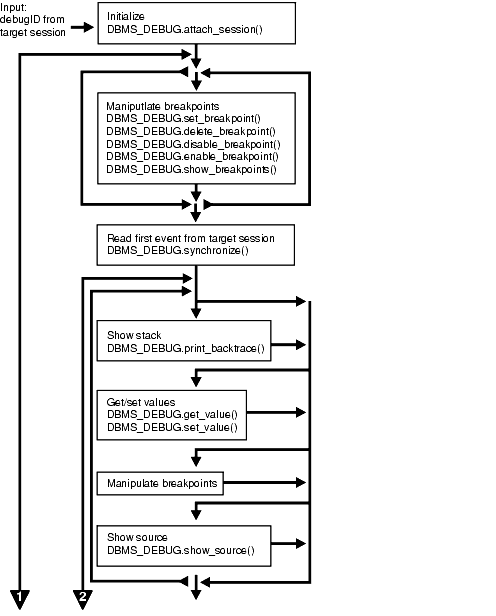
Figure 27-1 and Figure 27-2 illustrate the flow of operations in the session to be debugged and in the debugging session.

Figure 27-1 Target Session

Text description of arpls001.gif follows

Text description of the illustration arpls001.gif

Figure 27-2 Debug Session

Text description of arpls003.gif follows

Text description of the illustration arpls003.gif

Figure 27-3 Debug Session (Cont.)

Text description of arpls004.gif follows

Text description of the illustration arpls004.gif

Control of the Interpreter

The interpreter pauses execution at the following times:

  1. At startup of the interpreter so any deferred breakpoints may be installed prior to execution.
  2. At any line containing an enabled breakpoint.
  3. At any line where an interesting event occurs. The set of interesting events is specified by the flags passed to DBMS_DEBUG.CONTINUE in the breakflags parameter.

Session Termination

There is no event for session termination. Therefore, it is the responsibility of the debug session to check and make sure that the target session has not ended. A call to DBMS_DEBUG.SYNCHRONIZE after the target session has ended causes the debug session to hang until it times out.

Deferred Operations

The diagram suggests that it is possible to set breakpoints prior to having a target session. This is true. In this case, Probe caches the breakpoint request and transmits it to the target session at first synchronization. However, if a breakpoint request is deferred in this fashion, then:

Diagnostic Output

To debug Probe, there are diagnostics parameters to some of the calls in DBMS_DEBUG. These parameters specify whether to place diagnostic output in the RDBMS tracefile. If output to the RDBMS tracefile is disabled, these parameters have no effect.

Common and Debug Session Sections

Common Section

The following subprograms may be called in either the target or the debug session:

Target Session

The following subprograms may be called only in the target session:

Debug Session Section

The following subprograms should be run in the debug session only:

OER Breakpoints

Exceptions that are declared in PL/SQL programs are known as user-defined exceptions. In addition, there are Oracle Errors (OERs) that are returned from the Oracle kernel. To tie the two mechanisms together, PL/SQL provides the exception_init pragma that turns a user-defined exception into an OER, so that a PL/SQL handler may be used for it, and so that the PL/SQL engine can return OERs to the Oracle kernel. As of the current release, the only information available about an OER is its number. If two user-defined exceptions are exception_init'd to the same OER, they are indistinguishable.

Namespaces

Program units on the server reside in different namespaces. When setting a breakpoint, specify the desired namespace.

  1. Namespace_cursor contains cursors (anonymous blocks).
  2. Namespace_pgkspec_or_toplevel contains:
    • Package specifications.
    • Procedures and functions that are not nested inside other packages, procedures, or functions.
    • Object types.
  3. Namespace_pkg_body contains package bodies and type bodies.
  4. Namespace_trigger contains triggers.

Libunit Types

These values are used to disambiguate among objects in a given namespace. These constants are used in PROGRAM_INFO when Probe is giving a stack backtrace.

Breakflags

These are values to use for the breakflags parameter to CONTINUE, in order to tell Probe what events are of interest to the client. These flags may be combined.

Value Description

break_next_line

Break at next source line (step over calls).

break_any_call

Break at next source line (step into calls).

break_any_return

Break after returning from current entrypoint (skip over any entrypoints called from the current routine).

break_return

Break the next time an entrypoint gets ready to return. (This includes entrypoints called from the current one. If interpreter is running Proc1, which calls Proc2, then break_return stops at the end of Proc2.)

break_exception

Break when an exception is raised.

break_handler

Break when an exception handler is executed.

abort_execution

Stop execution and force an 'exit' event as soon as DBMS_DEBUG.CONTINUE is called.

Information Flags

These are flags which may be passed as the info_requested parameter to SYNCHRONIZE, CONTINUE, and GET_RUNTIME_INFO.

Flag Description

info_getStackDepth

Get the current depth of the stack.

info_getBreakpoint

Get the breakpoint number.

info_getLineinfo

Get program unit information.

Reasons for Suspension

After CONTINUE is run, the program either runs to completion or breaks on some line.

Reason Description

reason_none

-

reason_interpreter_starting

Interpreter is starting.

reason_breakpoint

Hit a breakpoint.

reason_enter

Procedure entry.

reason_return

Procedure is about to return.

reason_finish

Procedure is finished.

reason_line

Reached a new line.

reason_interrupt

An interrupt occurred.

reason_exception

An exception was raised.

reason_exit

Interpreter is exiting (old form).

reason_knl_exit

Kernel is exiting.

reason_handler

Start exception-handler.

reason_timeout

A timeout occurred.

reason_instantiate

Instantiation block.

reason_abort

Interpreter is aborting.


Summary of DBMS_DEBUG Subprograms

Table 27-1  DBMS_DEBUG Package Subprograms
Subprogram Description

ATTACH_SESSION Procedure

Notifies the debug session about the target debugID

CONTINUE Function

Continues execution of the target program

DEBUG_OFF Procedure

Turns debug-mode off

DEBUG_ON Procedure

Turns debug-mode on

DELETE_BREAKPOINT Function

Deletes a breakpoint

DELETE_OER_BREAKPOINT Function

Deletes an OER breakpoint

DETACH_SESSION Procedure

Stops debugging the target program

DISABLE_BREAKPOINT Function

Disables a breakpoint

ENABLE_BREAKPOINT Function

Activates an existing breakpoint

EXECUTE Procedure

Executes SQL or PL/SQL in the target session

GET_INDEXES Function

Returns the set of indexes for an indexed table

GET_MORE_SOURCE Procedure

Provides additional source in the event of buffer overflow when using SHOW_SOURCE

GET_LINE_MAP Function

Returns information about line numbers in a program unit

GET_RUNTIME_INFO Function

Returns information about the current program

GET_TIMEOUT_BEHAVIOUR Function

Returns the current timeout behavior

GET_VALUE Function

Gets a value from the currently-running program

INITIALIZE Function

Sets debugID in target session

PING Procedure

Pings the target session to prevent it from timing out

PRINT_BACKTRACE Procedure

Prints a stack backtrace

PRINT_INSTANTIATIONS Procedure

Prints a stack backtrace

PROBE_VERSION Procedure

Returns the version number of DBMS_DEBUG on the server

SELF_CHECK Procedure

Performs an internal consistency check

SET_BREAKPOINT Function

Sets a breakpoint in a program unit

SET_OER_BREAKPOINT Function

Sets an OER breakpoint

SET_TIMEOUT Function

Sets the timeout value

SET_TIMEOUT_BEHAVIOUR Procedure

Tells Probe what to do with the target session when a timeout occurs

SET_VALUE Function

Sets a value in the currently-running program

SHOW_BREAKPOINTS Procedures

Returns a listing of the current breakpoints

SHOW_FRAME_SOURCE Procedure

Fetches the frame source

SHOW_SOURCE Procedures

Fetches program source

SYNCHRONIZE Function

Waits for program to start running

TARGET_PROGRAM_RUNNING Procedure

Returns TRUE if the target session is currently executing a stored procedure, or FALSE if it is not


ATTACH_SESSION Procedure

This procedure notifies the debug session about the target program.

Syntax

DBMS_DEBUG.ATTACH_SESSION (
   debug_session_id  IN VARCHAR2,
   diagnostics       IN BINARY_INTEGER := 0); 

Parameters

Table 27-2 ATTACH_SESSION Procedure Parameters
Parameter Description

debug_session_id

Debug ID from a call to INITIALIZE in target session.

diagnostics

Generate diagnostic output if nonzero.


CONTINUE Function

This function passes the given breakflags (a mask of the events that are of interest) to Probe in the target process. It tells Probe to continue execution of the target process, and it waits until the target process runs to completion or signals an event.

If info_requested is not NULL, then calls GET_RUNTIME_INFO.

Syntax

DBMS_DEBUG.CONTINUE (
   run_info       IN OUT runtime_info,
   breakflags     IN     BINARY_INTEGER,
   info_requested IN     BINARY_INTEGER := NULL)
  RETURN BINARY_INTEGER;

Parameters

Table 27-3 CONTINUE Function Parameters
Parameter Description

run_info

Information about the state of the program.

breakflags

Mask of events that are of interest. See "Breakflags" .

info_requested

Which information should be returned in run_info when the program stops. See "Information Flags".

Return Values

Table 27-4 CONTINUE Function Return Values
Return Description

success

 

error_timeout

Timed out before the program started running.

error_communication

Other communication error.



Caution:

There must be a debug session waiting if immediate is TRUE.


DEBUG_OFF Procedure

This procedure notifies the target session that debugging should no longer take place in that session. It is not necessary to call this function before ending the session.

Syntax

DBMS_DEBUG.DEBUG_OFF;

Usage Notes

The server does not handle this entrypoint specially. Therefore, it attempts to debug this entrypoint.


DEBUG_ON Procedure

This procedure marks the target session so that all PL/SQL is run in debug mode. This must be done before any debugging can take place.

Syntax

DBMS_DEBUG.DEBUG_ON (
   no_client_side_plsql_engine BOOLEAN := TRUE,
   immediate                   BOOLEAN := FALSE); 

Parameters

Table 27-5 DEBUG_ON Procedure Parameters
Parameter Description

no_client_side_plsql_engine

Should be left to its default value unless the debugging session is taking place from a client-side PL/SQL engine.

immediate

If this is TRUE, then the interpreter immediately switches itself into debug-mode, instead of continuing in regular mode for the duration of the call.


DELETE_BREAKPOINT Function

This function deletes a breakpoint.

Syntax

DBMS_DEBUG.DELETE_BREAKPOINT (
   breakpoint IN BINARY_INTEGER)
  RETURN BINARY_INTEGER;

Parameters

Table 27-6 DELETE_BREAKPOINT Function Parameters
Parameter Description

breakpoint

Breakpoint number from a previous call to SET_BREAKPOINT.

Return Values

Table 27-7 DELETE_BREAKPOINT Function Return Values
Return Description

success

 

error_no_such_breakpt

No such breakpoint exists.

error_idle_breakpt

Cannot delete an unused breakpoint.

error_stale_breakpt

The program unit was redefined since the breakpoint was set.


DELETE_OER_BREAKPOINT Function

This function deletes an OER breakpoint.

Syntax

DBMS_DEBUG.DELETE_OER_BREAKPOINT (
   oer  IN PLS_INTEGER) 
RETURN PLS_INTEGER; 

Parameters

Table 27-8 DELETE_OER_BREAKPOINT Function Parameters
Parameter Description

oer

The OER (positive 4-byte number) to delete.


DETACH_SESSION Procedure

This procedure stops debugging the target program. This procedure may be called at any time, but it does not notify the target session that the debug session is detaching itself, and it does not terminate execution of the target session. Therefore, care should be taken to ensure that the target session does not hang itself.

Syntax

DBMS_DEBUG.DETACH_SESSION;  

DISABLE_BREAKPOINT Function

This function makes an existing breakpoint inactive but leaves it in place.

Syntax

DBMS_DEBUG.DISABLE_BREAKPOINT (
   breakpoint IN BINARY_INTEGER)
  RETURN BINARY_INTEGER; 

Parameters

Table 27-9 DISABLE_BREAKPOINT Function Parameters
Parameter Description

breakpoint

Breakpoint number from a previous call to SET_BREAKPOINT.

Return Values

Table 27-10 DISABLE_BREAKPOINT Function Return Values
Returns Description

success

 

error_no_such_breakpt

No such breakpoint exists.

error_idle_breakpt

Cannot disable an unused breakpoint.


ENABLE_BREAKPOINT Function

This function is the reverse of disabling. This enables a previously disabled breakpoint.

Syntax

DBMS_DEBUG.ENABLE_BREAKPOINT (
   breakpoint IN BINARY_INTEGER)
  RETURN BINARY_INTEGER;

Parameters

Table 27-11 ENABLE_BREAKPOINT Function Parameters
Parameter Description

breakpoint

Breakpoint number from a previous call to SET_BREAKPOINT.

Return Values

Table 27-12 ENABLE_BREAKPOINT Function Return Values
Return Description

success

Success.

error_no_such_breakpt

No such breakpoint exists.

error_idle_breakpt

Cannot enable an unused breakpoint.


EXECUTE Procedure

This procedure executes SQL or PL/SQL code in the target session. The target session is assumed to be waiting at a breakpoint (or other event). The call to DBMS_DEBUG.EXECUTE occurs in the debug session, which then asks the target session to execute the code.

Syntax

DBMS_DEBUG.EXECUTE (
   what         IN VARCHAR2,
   frame#       IN BINARY_INTEGER,
   bind_results IN BINARY_INTEGER,
   results      IN OUT NOCOPY dbms_debug_vc2coll,
   errm         IN OUT NOCOPY VARCHAR2);

Parameters

Table 27-13 EXECUTE Procedure Parameters
Parameter Description

what

SQL or PL/SQL source to execute.

frame#

The context in which to execute the code. Only -1 (global context) is supported at this time.

bind_results

Whether the source wants to bind to results in order to return values from the target session.

0 = No

1 = Yes

results

Collection in which to place results, if bind_results is not 0.

errm

Error message, if an error occurred; otherwise, NULL.

Examples

Example 1

This example executes a SQL statement. It returns no results.

DECLARE
   coll sys.dbms_debug_vc2coll; -- results (unused)
   errm VARCHAR2(100);          
BEGIN
   dbms_debug.execute('insert into emp(ename,empno,deptno) ' ||
                      'values(''LJE'', 1, 1)',
                      -1, 0, coll, errm);
END;
Example 2

This example executes a PL/SQL block, and it returns no results. The block is an autonomous transaction, which means that the value inserted into the table becomes visible in the debug session.

DECLARE
   coll sys.dbms_debug_vc2coll;
   errm VARCHAR2(100);
BEGIN
   dbms_debug.execute(
       'DECLARE PRAGMA autonomous_transaction; ' ||
       'BEGIN ' ||
       '   insert into emp(ename, empno, deptno) ' ||
       '   values(''LJE'', 1, 1); ' ||
       ' COMMIT; ' ||
       'END;',
       -1, 0, coll, errm);
END;
Example 3

This example executes a PL/SQL block, and it returns some results.

DECLARE
   coll sys.dbms_debug_vc2coll;
   errm VARCHAR2(100);
BEGIN
   dbms_debug.execute(
      'DECLARE ' ||
      '   pp SYS.dbms_debug_vc2coll := SYS.dbms_debug_vc2coll(); ' ||
      '   x  PLS_INTEGER; ' ||
      '   i  PLS_INTEGER := 1; ' ||
      'BEGIN ' ||
      '   SELECT COUNT(*) INTO x FROM emp; ' ||
      '   pp.EXTEND(x * 6); ' ||
      '   FOR c IN (SELECT * FROM emp) LOOP ' ||
      '      pp(i) := ''Ename: '' || c.ename; i := i+1; ' ||
      '      pp(i) := ''Empno: '' || c.empno; i := i+1; ' ||
      '      pp(i) := ''Job:   '' || c.job;   i := i+1; ' ||
      '      pp(i) := ''Mgr:   '' || c.mgr;   i := i+1; ' ||
      '      pp(i) := ''Sal:   '' || c.sal;   i := i+1; ' ||
      '      pp(i) := null;                   i := i+1; ' ||
      '   END LOOP; ' ||
      '   :1 := pp;' ||
      'END;',
       -1, 1, coll, errm);
   each := coll.FIRST;
   WHILE (each IS NOT NULL) LOOP
      dosomething(coll(each));
      each := coll.NEXT(each);
   END LOOP;
END;

GET_INDEXES Function

Given a name of a variable or parameter, this function returns the set of its indexes, if it is an indexed table. An error is returned if it is not an indexed table.

Syntax

DBMS_DEBUG.GET_INDEXES (
   varname   IN  VARCHAR2,
   frame#    IN  BINARY_INTEGER,
   handle    IN  program_info,
   entries   OUT index_table) 
RETURN BINARY_INTEGER;

Parameters

Table 27-14 GET_INDEXES Function Parameters
Parameter Description

varname

Name of the variable to get index information about.

frame#

Number of frame in which the variable or parameter resides; NULL for a package variable.

handle

Package description, if object is a package variable.

entries

1-based table of the indexes. If non-NULL, then entries(1) contains the first index of the table, entries(2) contains the second index, and so on.

Return Values

Table 27-15 GET_INDEXES Function Return Values
Return Description

error_no_such_object

Either:

- The package does not exist.

- The package is not instantiated.

- The user does not have privileges to debug the package.

- The object does not exist in the package.


GET_MORE_SOURCE Procedure

When source does not fit in the buffer provided by that version of the SHOW_SOURCE Procedures which produce a formatted buffer, this procedure provides additional source.

Syntax

DBMS_DEBUG.GET_MORE_SOURCE (
   buffer          IN OUT VARCHAR2,
   buflen          IN BINARY_INTEGER,
   piece#          IN BINARY_INTEGER);

Parameters

Table 27-16 GET_MORE_SOURCE Procedure Parameters
Parameter Description

buffer

The buffer.

buflen

The length of the buffer.

piece#

A value between 2 and the value returned in the parameter pieces from the call to the relevant version of the SHOW_SOURCE Procedures.

Usage Notes

This procedure should be called only after the version of SHOW_SOURCE that returns a formatted buffer.


GET_LINE_MAP Function

This function finds line and entrypoint information about a program so that a debugger can determine the source lines at which it is possible to place breakpoints.

Syntax

DBMS_DEBUG.GET_LINE_MAP (
   program                IN   program_info,
   maxline                OUT  BINARY_INTEGER,
   number_of_entry_points OUT  BINARY_INTEGER,
   linemap                OUT  RAW)
  RETURN BINARY_INTEGER; 

Parameters

Table 27-17  GET_LINE_MAP Function Parameters
Parameter Description

program

A top-level program unit (procedure / package / function / package body, and so on). Its Namespace, Name, and Owner fields must be initialized, the remaining fields are ignored.

maxline

The largest source code line number in 'program'.

number_of_entry_points

The number of subprograms in 'program'

linemap

A bitmap representing the executable lines of 'program'. If line number N is executable, bit number N MOD 8 will be set to 1 at linemap position N / 8. The length of returned linemap is either maxline divided by 8 (plus one if maxline MOD 8 is not zero) or 32767 in the unlikely case of maxline being larger than 32767 * 8.

Return Values

Table 27-18  GET_LINE_MAP Function Return Values
Return Description

success

A successful completion.

error_no_debug_info

The program unit exists, but has no debug info.

error_bad_handle

No such program unit exists.


GET_RUNTIME_INFO Function

This function returns information about the current program. It is only needed if the info_requested parameter to SYNCHRONIZE or CONTINUE was set to 0.


Note:

This is currently only used by client-side PL/SQL.


Syntax

DBMS_DEBUG.GET_RUNTIME_INFO (
   info_requested  IN  BINARY_INTEGER,
   run_info        OUT runtime_info)
  RETURN BINARY_INTEGER; 

Parameters

Table 27-19 GET_RUNTIME_INFO Function Parameters
Parameter Description

info_requested

Which information should be returned in run_info when the program stops. See "Information Flags".

run_info

Information about the state of the program.


GET_TIMEOUT_BEHAVIOUR Function

This procedure returns the current timeout behavior. This call is made in the target session.

Syntax

DBMS_DEBUG.GET_TIMEOUT_BEHAVIOUR
 RETURN BINARY_INTEGER; 

Parameters

Table 27-20 GET_TIMEOUT_BEHAVIOUR Function Parameters
Parameter Description

oer

The OER (a 4-byte positive number).

Return Values

Table 27-21  GET_TIMEOUT_BEHAVIOUR Function Return Values
Return Description

success

A successful completion.

Information Flags

info_getOerInfo CONSTANT PLS_INTEGER:= 32; 

Usage Notes

Less functionality is supported on OER breakpoints than on code breakpoints. In particular, note that:


GET_VALUE Function

This function gets a value from the currently-running program. There are two overloaded GET_VALUE functions.

Syntax

DBMS_DEBUG.GET_VALUE (
   variable_name  IN  VARCHAR2,
   frame#         IN  BINARY_INTEGER,
   scalar_value   OUT VARCHAR2,
   format         IN  VARCHAR2 := NULL)
RETURN BINARY_INTEGER;

Parameters

Table 27-22 GET_VALUE Function Parameters
Parameter Description

variable_name

Name of the variable or parameter.

frame#

Frame in which it lives; 0 means the current procedure.

scalar_value

Value.

format

Optional date format to use, if meaningful.

Return Values

Table 27-23 GET_VALUE Function Return Values
Return Description

success

A successful completion.

error_bogus_frame

Frame does not exist.

error_no_debug_info

Entrypoint has no debug information.

error_no_such_object

variable_name does not exist in frame#.

error_unknown_type

The type information in the debug information is illegible.

error_nullvalue

Value is NULL.

error_indexed_table

The object is a table, but no index was provided.

This form of GET_VALUE is for fetching package variables. Instead of a frame#, it takes a handle, which describes the package containing the variable.

Syntax

DBMS_DEBUG.GET_VALUE (
   variable_name  IN  VARCHAR2,
   handle         IN  program_info,
   scalar_value   OUT VARCHAR2,
   format         IN  VARCHAR2 := NULL)
RETURN BINARY_INTEGER;

Parameters

Table 27-24 GET_VALUE Function Parameters
Parameter Description

variable_name

Name of the variable or parameter.

handle

Description of the package containing the variable.

scalar_value

Value.

format

Optional date format to use, if meaningful.

Return Values

Table 27-25 GET_VALUE Function Return Values
Return Description

error_no_such_object

Either:

- Package does not exist.

- Package is not instantiated.

- User does not have privileges to debug the package.

- Object does not exist in the package.

error_indexed_table

The object is a table, but no index was provided.

Examples

This example illustrates how to get the value with a given package PACK in schema SCOTT, containing variable VAR:

DECLARE
   handle     dbms_debug.program_info;
   resultbuf  VARCHAR2(500);
   retval     BINARY_INTEGER;
BEGIN
   handle.Owner     := 'SCOTT';
   handle.Name      := 'PACK';
   handle.namespace := dbms_debug.namespace_pkgspec_or_toplevel;
   retval           := dbms_debug.get_value('VAR', handle, resultbuf, NULL);
END;

INITIALIZE Function

This function initializes the target session for debugging.

Syntax

DBMS_DEBUG.INITIALIZE (
   debug_session_id  IN VARCHAR2       := NULL, 
   diagnostics       IN BINARY_INTEGER := 0)
  RETURN VARCHAR2; 

Parameters

Table 27-26 INITIALIZE Function Parameters
Parameter Description

debug_session_id

Name of session ID. If NULL, then a unique ID is generated.

diagnostics

Indicates whether to dump diagnostic output to the tracefile.

0 = (default) no diagnostics

1 = print diagnostics

Return Values

The newly-registered debug session ID (debugID)

Usage Notes

You cannot use DBMS_DEBUG and the JDWP-based debugging interface simultaneously. This call will either fail with an ORA-30677 error if the session is currently being debugged with the JDWP-based debugging interface or, if the call succeeds, any further use of the JDWP-based interface to debug this session will be disallowed.

Calls to DBMS_DEBUG will succeed only if either the caller or the specified debug role carries the DEBUG CONNECT SESSION privilege. Failing that, an ORA-1031 error will be raised. Other exceptions are also possible if a debug role is specified but the password does not match, or if the calling user has not been granted the role, or the role is application-enabled and this call does not originate from within the role-enabling package.

The CREATE ANY PROCEDURE privilege does not affect the visibility of routines through the debugger. A privilege DEBUG for each object has been introduced with a corresponding DEBUG ANY PROCEDURE variant. These are required in order to see routines owned by users other than the session's login user.

Authentication of the debug role and the check for DEBUG CONNECT SESSION privilege will be done in the context of the caller to this routine. If the caller is a definer's rights routine or has been called from one, only privileges granted to the defining user, the debug role, or PUBLIC will be used to check for DEBUG CONNECT SESSION. If this call is from within a definer's rights routine, the debug role, if specified, must be one that has been granted to that definer, but it need not also have been granted to the session login user or be enabled in the calling session at the time the call is made.

The checks made by the debugger after this call is made looking for the DEBUG privilege on individual procedures will be done in the context of the session's login user, the roles that were enabled at session level at the moment this call was made (even if those roles were not available within a definer's rights environment of the call), and the debug role.


PING Procedure

This procedure pings the target session to prevent it from timing out. Use this procedure when execution is suspended in the target session, for example at a breakpoint.

If the timeout_behaviour is set to retry_on_timeout then this procedure is not necessary.

Syntax

DBMS_DEBUG.PING; 

Exceptions

Oracle will display the no_target_program exception if there is no target program or if the target session is not currently waiting for input from the debug session.

Usage Notes

Timeout options for the target session are registered with the target session by calling set_timeout_behaviour.

retry_on_timeout CONSTANT BINARY_INTEGER:= 0;

continue_on_timeout CONSTANT BINARY_INTEGER:= 1;

nodebug_on_timeout CONSTANT BINARY_INTEGER:= 2;

abort_on_timeout CONSTANT BINARY_INTEGER:= 3;


PRINT_BACKTRACE Procedure

This procedure prints a backtrace listing of the current execution stack. This should only be called if a program is currently running.

There are two overloaded PRINT_BACKTRACE procedures.

Syntax

DBMS_DEBUG.PRINT_BACKTRACE (
  listing IN OUT VARCHAR2); 

DBMS_DEBUG.PRINT_BACKTRACE (
  backtrace OUT backtrace_table); 
Table 27-27 PRINT_BACKTRACE Procedure Parameters
Parameter Description

listing

A formatted character buffer with embedded newlines.

backtrace

1-based indexed table of backtrace entries. The currently-running procedure is the last entry in the table (that is, the frame numbering is the same as that used by GET_VALUE). Entry 1 is the oldest procedure on the stack.


PRINT_INSTANTIATIONS Procedure

This procedure returns a list of the packages that have been instantiated in the current session.

Syntax

DBMS_DEBUG.PRINT_INSTANTIATIONS (
   pkgs   IN OUT NOCOPY backtrace_table, 
   flags  IN BINARY_INTEGER); 

Parameters

Table 27-28 PRINT_INSTANTIATIONS Procedure Parameters
Parameter Description

pkgs (OUT)

The instantiated packages

flags

Bitmask of options:

  • 1 - show specs
  • 2 - show bodies
  • 4 - show local instantiations
  • 8 - show remote instantiations (NYI)
  • 16 - do a fast job. The routine does not test whether debug information exists or whether the libunit is shrink-wrapped.

Exceptions

no_target_program - target session is not currently executing

Usage Notes

On return, pkgs contains a program_info for each instantiation. The valid fields are: Namespace, Name, Owner, and LibunitType.

In addition, Line# contains a bitmask of:


PROBE_VERSION Procedure

This procedure returns the version number of DBMS_DEBUG on the server.

Syntax

DBMS_DEBUG.PROBE_VERSION (
   major out BINARY_INTEGER,
   minor out BINARY_INTEGER); 

Parameters

Table 27-29 PROBE_VERSION Procedure Parameters
Parameter Description

major

Major version number.

minor

Minor version number: increments as functionality is added.


SELF_CHECK Procedure

This procedure performs an internal consistency check. SELF_CHECK also runs a communications test to ensure that the Probe processes are able to communicate.

If SELF_CHECK does not return successfully, then an incorrect version of DBMS_DEBUG was probably installed on this server. The solution is to install the correct version (pbload.sql loads DBMS_DEBUG and the other relevant packages).

Syntax

DBMS_DEBUG.SELF_CHECK (
   timeout IN binary_integer := 60);

Parameters

Table 27-30 SELF_CHECK Procedure Parameters
Parameter Description

timeout

The timeout to use for the communication test. Default is 60 seconds.

Exceptions

Table 27-31 SELF_CHECK Procedure Exceptions
Exception Description

OER-6516

Probe version is inconsistent.

pipe_creation_failure

Could not create a pipe.

pipe_send_failure

Could not write data to the pipe.

pipe_receive_failure

Could not read data from the pipe.

pipe_datatype_mismatch

Datatype in the pipe was wrong.

pipe_data_error

Data got garbled in the pipe.

All of these exceptions are fatal. They indicate a serious problem with Probe that prevents it from working correctly.


SET_BREAKPOINT Function

This function sets a breakpoint in a program unit, which persists for the current session. Execution pauses if the target program reaches the breakpoint.

Syntax

DBMS_DEBUG.SET_BREAKPOINT (
   program     IN  program_info,
   line#       IN  BINARY_INTEGER,
   breakpoint# OUT BINARY_INTEGER,
   fuzzy       IN  BINARY_INTEGER := 0,
   iterations  IN  BINARY_INTEGER := 0)
  RETURN BINARY_INTEGER;

Parameters

Table 27-32 SET_BREAKPOINT Function Parameters
Parameter Description

program

Information about the program unit in which the breakpoint is to be set. (In version 2.1 and later, the namespace, name, owner, and dblink may be set to NULL, in which case the breakpoint is placed in the currently-running program unit.)

line#

Line at which the breakpoint is to be set.

breakpoint#

On successful completion, contains the unique breakpoint number by which to refer to the breakpoint.

fuzzy

Only applicable if there is no executable code at the specified line:

0 means return error_illegal_line.

1 means search forward for an adjacent line at which to place the breakpoint.

-1 means search backward for an adjacent line at which to place the breakpoint.

iterations

Number of times to wait before signalling this breakpoint.


Note:

The fuzzy and iterations parameters are not yet implemented.


Return Values

Table 27-33 SET_BREAKPOINT Function Return Values
Return Description

success

A successful completion.

error_illegal_line

Cannot set a breakpoint at that line.

error_bad_handle

No such program unit exists.


SET_OER_BREAKPOINT Function

This function sets an OER breakpoint.

Syntax

DBMS_DEBUG.SET_OER_BREAKPOINT (
   oer  IN PLS_INTEGER) 
RETURN PLS_INTEGER; 

Parameters

Table 27-34 SET_OER_BREAKPOINT Function Parameters
Parameter Description

oer

The OER (positive 4-byte number) to delete.

Return Values

Table 27-35 SET_OER_BREAKPOINT Function Return Values
Return Description

success

A successful completion.

error_no_such_breakpt

No such OER breakpoint exists.


SET_TIMEOUT Function

This function sets the timeout value and returns the new timeout value.

Syntax

DBMS_DEBUG.SET_TIMEOUT (
   timeout BINARY_INTEGER) 
  RETURN BINARY_INTEGER;

Parameters

Table 27-36 SET_TIMEOUT Function Parameters
Parameter Description

timeout

The timeout to use for communication between the target and debug sessions.


SET_TIMEOUT_BEHAVIOUR Procedure

This procedure tells Probe what to do with the target session when a timeout occurs. This call is made in the target session.

Syntax

DBMS_DEBUG.SET_TIMEOUT_BEHAVIOUR (
   behaviour IN PLS_INTEGER); 

Parameters

Table 27-37 SET_TIMEOUT_BEHAVIOUR Procedure Parameters
Parameter Description

behaviour - One of the following:

 

retry_on_timeout

Retry. Timeout has no effect. This is like setting the timeout to an infinitely large value.

continue_on_timeout

Continue execution, using same event flags.

nodebug_on_timeout

Turn debug-mode OFF (in other words, call debug_off) and continue execution. No more events will be generated by this target session unless it is re-initialized by calling debug_on.

abort_on_timeout

Continue execution, using the abort_execution flag, which should cause the program to terminate immediately. The session remains in debug-mode.

Exceptions

unimplemented - the requested behavior is not recognized

Usage Notes

The default behavior (if this procedure is not called) is continue_on_timeout, since it allows a debugger client to reestablish control (at the next event) but does not cause the target session to hang indefinitely.


SET_VALUE Function

This function sets a value in the currently-running program. There are two overloaded SET_VALUE functions.

Syntax

DBMS_DEBUG.SET_VALUE (
   frame#               IN binary_integer,
   assignment_statement IN varchar2) 
  RETURN BINARY_INTEGER;

DBMS_DEBUG.SET_VALUE (
   handle               IN program_info,
   assignment_statement IN VARCHAR2) 
  RETURN BINARY_INTEGER;  

Parameters

Table 27-38 SET_VALUE Function Parameters
Parameter Description

frame#

Frame in which the value is to be set; 0 means the currently executing frame.

handle

Description of the package containing the variable.

assignment_statement

An assignment statement (which must be legal PL/SQL) to run in order to set the value. For example, 'x := 3;'.

Only scalar values are supported in this release. The right side of the assignment statement must be a scalar.

Return Values

Table 27-39 SET_VALUE Function Return Values
Return Description

success

-

error_illegal_value

Not possible to set it to that value.

error_illegal_null

Cannot set to NULL because object type specifies it as 'not null'.

error_value_malformed

Value is not a scalar.

error_name_incomplete

The assignment statement does not resolve to a scalar. For example, 'x := 3;', if x is a record.

error_no_such_object

Either:

- Package does not exist.

- Package is not instantiated.

- User does not have privileges to debug the package.

- Object does not exist in the package.

Usage Notes

In some cases, the PL/SQL compiler uses temporaries to access package variables, and does not guarantee to update such temporaries. It is possible, although unlikely, that modification to a package variable using SET_VALUE might not take effect for a line or two.

Examples

To set the value of SCOTT.PACK.var to 6:

DECLARE
   handle  dbms_debug.program_info;
   retval  BINARY_INTEGER;
BEGIN
   handle.Owner     := 'SCOTT';
   handle.Name      := 'PACK';
   handle.namespace := dbms_debug.namespace_pkgspec_or_toplevel;
   retval           := dbms_debug.set_value(handle, 'var := 6;');
END;

SHOW_BREAKPOINTS Procedures

There are two overloaded procedures that return a listing of the current breakpoints. There are three overloaded SHOW_BREAKPOINTS procedures.

Syntax

DBMS_DEBUG.SHOW_BREAKPOINTS (
   listing    IN OUT VARCHAR2);

DBMS_DEBUG.SHOW_BREAKPOINTS (
   listing    OUT breakpoint_table);

DBMS_DEBUG.SHOW_BREAKPOINTS (
   code_breakpoints  OUT breakpoint_table, 
   oer_breakpoints   OUT oer_table);

Parameters

Table 27-40 SHOW_BREAKPOINTS Procedure Parameters
Parameter Description

listing

A formatted buffer (including newlines) of the breakpoints.

Indexed table of breakpoint entries. The breakpoint number is indicated by the index into the table. Breakpoint numbers start at 1 and are reused when deleted.

code_breakpoints

The indexed table of breakpoint entries, indexed by breakpoint number.

oer_breakpoints

The indexed table of OER breakpoints, indexed by OER.


SHOW_FRAME_SOURCE Procedure

The procedure gets the source code. There are two overloaded SHOW_SOURCE procedures.

Syntax

DBMS_DEBUG.SHOW_FRAME_SOURCE (
   first_line  IN            BINARY_INTEGER,
   last_line   IN            BINARY_INTEGER,
   source      IN OUT NOCOPY vc2_table,
   frame_num   IN            BINARY_INTEGER);

Parameters

Table 27-41 SHOW_FRAME_SOURCE Procedure Parameters
Parameter Description

first_line

Line number of first line to fetch. (PL/SQL programs always start at line 1 and have no holes.)

last_line

Line number of last line to fetch. No lines are fetched past the end of the program.

source

The resulting table, which may be indexed by line#.

frame_num

1-based frame number.

Usage Notes


SHOW_SOURCE Procedures

The procedure gets the source code. There are two overloaded SHOW_SOURCE procedures.

Syntax

DBMS_DEBUG.SHOW_SOURCE (
   first_line  IN   BINARY_INTEGER,
   last_line   IN   BINARY_INTEGER,
   source      OUT  vc2_table);

DBMS_DEBUG.SHOW_SOURCE (
   first_line   IN     BINARY_INTEGER,
   last_line    IN     BINARY_INTEGER,
   window       IN     BINARY_INTEGER,
   print_arrow  IN     BINARY_INTEGER,
   buffer       IN OUT VARCHAR2,
   buflen       IN     BINARY_INTEGER,
   pieces       OUT    BINARY_INTEGER);  

Parameters

Table 27-42 SHOW_SOURCE Procedure Parameters
Parameter Description

first_line

Line number of first line to fetch. (PL/SQL programs always start at line 1 and have no holes.)

last_line

Line number of last line to fetch. No lines are fetched past the end of the program.

source

The resulting table, which may be indexed by line#.

window

'Window' of lines (the number of lines around the current source line).

print_arrow

Nonzero means to print an arrow before the current line.

buffer

Buffer in which to place the source listing.

buflen

Length of buffer.

pieces

Set to nonzero if not all the source could be placed into the given buffer.

Return Values

An indexed table of source-lines. The source lines are stored starting at first_line. If any error occurs, then the table is empty.

Usage Notes

The best way to get the source code (for a program that is being run) is to use SQL. For example:

DECLARE
    info DBMS_DEBUG.runtime_info;
BEGIN
   -- call DBMS_DEBUG.SYNCHRONIZE, CONTINUE,
   -- or GET_RUNTIME_INFO to fill in 'info'
   SELECT text INTO <buffer> FROM all_source
   WHERE owner = info.Program.Owner
     AND name  = info.Program.Name
     AND line  = info.Line#;
END;

However, this does not work for nonpersistent programs (for example, anonymous blocks and trigger invocation blocks). For nonpersistent programs, call SHOW_SOURCE. There are two flavors: one returns an indexed table of source lines, and the other returns a packed (and formatted) buffer.

The second overloading of SHOW_SOURCE returns the source in a formatted buffer, complete with line-numbers. It is faster than the indexed table version, but it does not guarantee to fetch all the source.

If the source does not fit in bufferlength (buflen), then additional pieces can be retrieved using the GET_MORE_SOURCE procedure (pieces returns the number of additional pieces that need to be retrieved).


SYNCHRONIZE Function

This function waits until the target program signals an event. If info_requested is not NULL, then it calls GET_RUNTIME_INFO.

Syntax

DBMS_DEBUG.SYNCHRONIZE (
   run_info       OUT  runtime_info,
   info_requested IN   BINARY_INTEGER := NULL)
  RETURN BINARY_INTEGER;

Parameters

Table 27-43 SYNCHRONIZE Function Parameters
Parameter Description

run_info

Structure in which to write information about the program. By default, this includes information about what program is running and at which line execution has paused.

info_requested

Optional bit-field in which to request information other than the default (which is info_getStackDepth + info_getLineInfo). 0 means that no information is requested at all.

See "Information Flags".

Return Values

Table 27-44 SYNCHRONIZE Function Return Values
Return Description

success

A successful completion.

error_timeout

Timed out before the program started execution.

error_communication

Other communication error.


TARGET_PROGRAM_RUNNING Procedure

This procedure returns TRUE if the target session is currently executing a stored procedure, or FALSE if it is not.

Syntax

DBMS_DEBUG.TARGET_PROGRAM_RUNNING 
  RETURN BOOLEAN;