この章では、Oracle User Messaging Service (UMS) をコンフィグレーションする方法について説明します。
この章には、以下のトピックがあります。
Oracle User Messaging Service は、ユーザおよびデプロイされたアプリケーションの間の双方向の通信を可能にします。主な機能は、以下のとおりです。
さまざまなメッセージング チャネルのサポート - 電子メール、IM (XMPP)、SMS (SMPP)、および Voice を通じてメッセージを送受信できます。ユーザの SOA/WebCenter Worklist にメッセージを配信することもできます。
双方向のメッセージング - アプリケーションからユーザにメッセージが送信されるだけでなく (「発信メッセージング」と呼ばれます)、ユーザがメッセージングによる対話を開始できます (着信メッセージング)。たとえば、ユーザは指定されたアドレスに電子メールまたはテキスト メッセージを送信できます。メッセージは、ユーザに応答したり、ビジネス ロジックに応じて別のプロセスを起動することのできる適切なアプリケーションにルーティングされます。
User Messaging Preferences - エンド ユーザは Web インタフェースを使用して、メッセージングの通知をいつどのように受け取るかを定義できます。アプリケーションでは柔軟性が直ちに向上します。ユーザの電子メール アドレスまたはインスタンス メッセージング クライアントのどちらに送信するかを判断する代わりに、アプリケーションではメッセージを単純にユーザに送信し、ユーザの設定に従って UMS でメッセージがルーティングされるようにできます。
堅牢なメッセージ配信 - UMS はメッセージング ゲートウェイから提供された配信ステータス情報を追跡し、失敗した配信に応答できるよう、それらの情報をアプリケーションで使用できるようにします。また、アプリケーションでは、最初のアドレスへの配信が失敗した場合に備えて、メッセージに対して 1 つまたは複数の「フェイルオーバ」アドレスを指定できます。UMS のフェイルオーバ機能を使用することで、アプリケーション開発者は厄介な再試行ロジックを実装する必要がなくなります。
Fusion Middleware 内の全面的な統合 - UMS は、1 つに統合された双方向のユーザ メッセージング サービスを提供する、他の Fusion Middleware コンポーネントと統合されています。
Oracle BPEL との統合 - Oracle JDeveloper には、メッセージング操作を可能にする組み込みの BPEL アクティビティが含まれています。開発者は目的のアクティビティを任意のワークフローにドラッグ アンド ドロップすることで、メッセージング機能を SOA 複合アプリケーションに追加できます。
Oracle Human Workflow との統合 - UMS によって、Human Workflow エンジンでは電子メールを通じてアクション可能なメッセージをユーザに送信したり、ユーザからの応答を受信することができます。
Oracle BAM との統合 - Oracle BAM では UMS を使用して、モニタ イベントへの応答時に電子メール通知を送信できます。
Oracle WebCenter との統合 - Oracle WebCenter Spaces のアプリケーションを作成する開発者は UMS API を使用できます。この API は、高性能なメッセージングのための標準 Web サービス インタフェースである Parlay X Web Services for Multimedia Messaging バージョン 2.1 の実装です。
Oracle User Messaging Service は、以下の 3 種類のコンポーネントで構成されます。これらのコンポーネントは標準 Java EE アプリケーションであるため、Oracle WebLogic Server が提供する標準ツールを使用して簡単にデプロイおよび管理できます。
UMS サーバ : UMS サーバは、アプリケーションとユーザの間でメッセージ フローのオーケストレーションを行います。サーバでは、クライアント アプリケーションから適切なドライバへの発信メッセージ、および適切なクライアント アプリケーションへの着信メッセージがルーティングされます。また、以前送信されたメッセージのリポジトリを永続的なストア内で管理し、以前送信されたメッセージを配信状態の情報と相関させます。
UMS ドライバ : UMS ドライバは、UMS でサポートされている各種のプロトコルにコンテンツを適合させて、UMS をメッセージング ゲートウェイに接続します。所定のインストールで使用可能なメッセージング チャネルに応じて、ドライバは相互に独立してデプロイまたはアンデプロイできます。
UMS クライアント アプリケーション : UMS クライアント アプリケーションは、メッセージ送受信のビジネス ロジックを実装します。UMS クライアント アプリケーションは、BPEL ワークフローの 1 ステップとしてメッセージを送信する SOA アプリケーション、または Web インタフェースからメッセージを送信できる WebCenter Spaces アプリケーションになる場合があります。
UMS 自身を構成するコンポーネントに加えて、メッセージング環境内の他の主なエンティティとしては、各メッセージング チャネルに必要な外部ゲートウェイがあります。これらのゲートウェイは UMS または Oracle WebLogic Server の一部ではありません。UMS ドライバでは広く普及しているメッセージング プロトコルがサポートされるため、UMS は企業の電子メール サーバや XMPP (Jabber) サーバなどの既存のインフラストラクチャに統合できます。また、UMS は、SMPP または VoiceXML をそれぞれサポートする SMS または Text-To-Speech サービス用の外部プロバイダに接続できます。
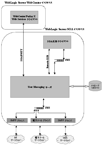
図 11-1 に、Oracle User Messaging Service システムのアーキテクチャを示します。
最大限の柔軟性を実現するため、UMS の各コンポーネントは、個別の Java EE アプリケーションです。このため、これらは相互に独立してデプロイおよび管理されます。たとえば、他のすべてのチャネルでのメッセージの配信に影響を与えずに、特定のドライバを停止し、再度コンフィグレーションできます。
UMS クライアント アプリケーションと UMS サーバの間のやり取りは、Web サービス クライアントの場合は SOAP/HTTP Web サービス リクエスト、または BPEL メッセージング アクティビティの場合は Remote EJB および JMS 呼び出しを通じて行われます。UMS サーバと UMS ドライバの間のやり取りは、JMS キューを通じて行われます。
Oracle UMS サーバおよびドライバは、それぞれの WebLogic Server インスタンス内で、SOA または BAM と共にインストールされます。WebCenter のインストールには、SOA インスタンスにデプロイされたサーバを起動して、UMS クライアント アプリケーションとして機能するために必要なライブラリが含まれます。
Oracle User Messaging Service を使用すると、Oracle JDeveloper を使用して開発され、Oracle WebLogic Server にデプロイされた SOA アプリケーションから送信された通知をユーザが受信できるようになります。
アプリケーション レベルでは、特定の配信チャネル (SMS や電子メールなど) の通知アクティビティが発生します。たとえば、電子メール通知を送信する SOA アプリケーションを作成する場合は、JDeveloper コンポーネント パレットからワークフロー内の適切な場所に「電子メール アクティビティ」コンポーネントをドラッグ アンド ドロップします。アプリケーションは接続した後に、通知を送信します。
Oracle JDeveloper の詳細については、JDeveloper のドキュメントを参照してください。
図 11-2 は、SOA 複合アプリケーションの BPEL プロセスに電子メール アクティビティを追加しているユーザを示します。
ワークフロー参加者が通知を受信および転送できるようにするには、Oracle 11g Enterprise Manager を使用して、ワークフロー アプリケーションをデプロイする同一の Oracle WebLogic Server にある適切なドライバ インスタンスをコンフィグレーションすることで、Oracle User Messaging Service 環境を設定します (図 11-3)。Oracle User Messaging Service には、電子メール、IM、SMS、および音声チャネルを介したメッセージングをサポートするドライバが含まれています。 詳細については、節 11.4「User Messaging Service ドライバのコンフィグレーション」を参照してください。
図 11-3 Oracle Enterprise Manager 11g Fusion Middleware Control

ワークフロー参加者が実際に通知を受信するには、User Messaging Preferences を通じてメッセージにアクセスするために使用するデバイスを登録する必要があります (図 11-4)。
User Messaging Service のコンフィグレーションには、Oracle Enterprise Manager Fusion Middleware Control を使用します。Oracle Enterprise Manager の詳細については、Oracle Enterprise Manager のドキュメントを参照してください。
基本のコンフィグレーション ページを使用して、メッセージング サーバのデプロイメント タイプを設定し (つまり、実行時および管理データの格納方法の選択)、メッセージ フィルタの作成に使用する User Messaging Preferences のビジネス条件を追加 (または削除) します。
サーバの再起動時にエントリとメッセージング ストアの永続化を有効にするには、[Persistent] (デフォルト) を選択します。[Transient] モード (軽量なデプロイメントで推奨される) では、メッセージング ストアに保存されていたデータが再起動後にメッセージング サーバで維持されません。
基本のコンフィグレーション ページでは、User Messaging Preferences でメッセージ フィルタの作成に使用するビジネス条件を追加または削除できます。ビジネス条件を使用したメッセージ フィルタの作成の詳細については、「ビジネス条件の追加」を参照してください。
|
注意 : ビジネス条件はサーバ インスタンスごとに格納されます。複数のインスタンスが存在する場合は (クラスタ内など)、新しいビジネス条件をインスタンスごとに個別に追加する必要があります。 |
User Messaging Preferences にビジネス条件を追加するには :
[追加] をクリックします。
ビジネス条件のわかりやすい名前を入力します。
データ型 (文字列、数値、または日付) を選択します。
[適用] をクリックします。
Oracle User Messaging Service に含まれるドライバは、以下のとおりです。
電子メール ドライバ
SMPP ドライバ
XMPP ドライバ
Worklist ドライバ
プロキシ ドライバ
|
注意 : クラスタ環境で、個別の管理対象サーバ ノード用に複数のメッセージング ドライバを使用する場合は、すべてのドライバを個別にコンフィグレーションする必要があります。UMS メッセージング ドライバのコンフィグレーションはインスタンスごとに行います。1 つのドライバのみをコンフィグレーションしても、コンフィグレーションの値は他のクラスタ ノード上のドライバには設定されません。 |
ドライバをコンフィグレーションするには :
Enterprise Manager Fusion Middleware Control コンソールに管理者としてログインします。
Fusion Middleware フォルダを展開します (図 11-5)。
User Messaging Service のホーム ページに移動します。
[usermessagingserver(soa_server1)] をクリックします。 [Associated Drivers] ページが開きます。
[ローカル] タブを選択して、UMS サーバ インスタンスと共に配置されているドライバにアクセスします。 これらのドライバは、コンフィグレーションが適切であるかどうかに応じて、UMS サーバに登録されている場合と登録されていない場合があります。[すべて] タブには、ドメインにデプロイされ、すべての UMS サーバ インスタンスに登録されているすべてのドライバがリストされます。
リストで電子メール ドライバを探し、横にある [Configure Driver] アイコンをクリックします。
コンフィグレーション ページが表示されます (図 11-7)。
[Driver-Specific Configuration] セクションを必要に応じて展開し、ドライバのパラメータをコンフィグレーションします。詳細については、節 11.4.1.1「ドライバのパラメータについて」を参照してください。
Oracle User Messaging Service ドライバは、メッセージング エンジンによる発信メッセージのルーティングで使用される共通のプロパティ (表 11-1 のリストを参照) を共有します。 一般に、管理者は、ドライバのコスト (Cost)、ドライバの速度 (Speed)、サポートされるキャリア (SupportedCarriers)、サポートされるプロトコル (SupportedProtocols) などのサービス品質プロパティを設定します。 ドライバ開発者は、通常は管理者が変更する必要のない、サポートされる配信タイプ (SupportedDeliveryTypes) やサポートされるコンテンツ タイプ (SupportedContentTypes) などのプロパティをコンフィグレーションします。
|
注意 : SendingQueuesInfo などのプロパティは、高度な使用のために用意されており、高度なデプロイメント トポロジ以外での変更の必要はありません。 |
表 11-1 共通のドライバ プロパティ
| 名前 | 説明 | 必須プロパティ |
|---|---|---|
|
Capability |
メッセージを送受信するドライバの機能を設定します。値は SEND、RECEIVE、および BOTH です。 |
はい |
|
Cost |
ドライバのコスト レベル (0 - 10)。0 は最低、10 は最高です。値がこの範囲内にない場合、コストは 0 と見なされます。 |
いいえ |
|
DefaultSenderAddress |
送信者のデフォルトのアドレス。送信者のアドレスが指定されていないメッセージを送信する場合や、指定された送信者アドレスが送信者リストに含まれておらず、アプリケーションが提供する送信者アドレスの使用がドライバでサポートされていない場合は、ドライバによってこれらのアドレスが使用されます。 |
いいえ |
|
SenderAddresses |
ドライバでサポートされる送信者アドレスのリスト。ドライバで提供される場合、メッセージング エンジンはこれを使用して、メッセージの送信者アドレスと照合することで、送信中のメッセージをドライバにルーティングできます。 |
いいえ |
|
SendingQueuesInfo |
ドライバ送信キューの情報。 |
はい |
|
Speed |
ドライバの速度レベル (0-10。最速は 10)。 |
いいえ |
|
SupportedCarriers |
サポートされているキャリアのカンマ区切りのリスト。 |
いいえ |
|
SupportedContent Types |
ドライバでサポートされているコンテンツ タイプ。 |
はい |
|
SupportedDelivery Types |
ドライバでサポートされている配信タイプ。 |
はい |
|
SupportedProtocols |
サポートされているプロトコルのカンマ区切りのリスト。任意のプロトコルにはアスタリスク (*) を入力します。 |
いいえ |
|
SupportedStatusTypes |
ドライバでサポートされているステータス タイプ。 |
いいえ |
|
SupportsCancel |
メッセージのキャンセル操作をサポートします。 |
いいえ |
|
SupportsReplace |
メッセージの置換操作をサポートします。 |
いいえ |
|
SupportsStatusPolling |
特定のプロトコルでは、以前送信されたメッセージのステータスをチェックするため、リモート ゲートウェイのアクティブなポーリングを実行する必要があります。このプロパティは、このようなステータス ポーリングがドライバでサポートされているかどうかを示します。true に設定すると、メッセージング エンジンでドライバ接続の |
いいえ |
|
SupportsTracking |
メッセージの追跡操作をサポートします。 |
いいえ |
Oracle Enterprise Manager を使用して、機密性を持つドライバ プロパティ (パスワードなど) を資格ストアに安全に保存できます。プロパティにはフラグ [Encoded Credential] でマークが付けられ、カスタム入力フォーム フィールドがあります。
機密性を持つドライバ プロパティを安全に保存するには :
選択したドライバのドライバ コンフィグレーション ページに移動します。
[Driver-Specific Configuration] セクションで、[Encoded Credential] フラグが設定されたプロパティを探します。
資格タイプを選択します (選択した資格タイプに応じて、ユーザ名またはパスワード、あるいはその両方の入力が求められます)。3 つのオプションがあります。
[Indirect password, create new user] (デフォルトのオプション) - ユーザ名と実際のパスワードを指定します。パスワードはユーザ名をキーの一部として使用して、資格ストアに保存されます。キーおよび固定フォルダ (map name) がドライバ デプロイメントの driverconfig.xml に保存されます。
[Indirect password, use existing user] - 資格ストアで既存のユーザ名/キーを選択します (以前に保存したパスワードを参照します)。
[User a clear text password] - 指定したパスワードが driverconfig.xml に直接保存されます。
[適用] をクリックして、変更を保存します。
変更を有効にするには、ドライバ アプリケーションまたはコンテナを再起動します。
ドライバ デプロイメント ディレクトリの driverconfig.xml でパスワードを確認できます。間接的なパスワードのフォーマットは、以下のとおりです。
value="->mapName:keyName" (mapName is the driver target name, and the key is <parameter_name>.<username>)
たとえば、以下は、電子メール ドライバの OutgoingPassword プロパティについての driverconfig.xml 内のサンプル エントリです。
<Property value="->/Farm_base_domain/base_domain/server_soa/usermessagingdriver-email:OutgoingPassword.ouser" encodedCredential="true" type="java.lang.String" mandatory="no" name="OutgoingPassword" description="oracle.sdp.messaging.EmailDriverConfig.outgoingPassword"/>
電子メール ドライバは、メッセージの送信および受信の両方を行います (つまり、Capability プロパティはデフォルトで BOTH に設定されています)。 電子メール ドライバは SMTP 上でメッセージを送信し、IMAP または POP3 を使用してメッセージを受信します。
この節では、電子メール ドライバの相互運用性の機能について説明します。
電子メール ドライバは、POP3、IMAP4、および SMTP の各プロトコルと互換性があります。
電子メール ドライバには、以下の機能があります。
自動的な接続の再試行
メッセージ送信用の SMTP
メッセージ受信用の IMAP4 および POP3 (ポーリングを使用)
高度なスケーラビリティ
メッセージの損失および複製の防止
表 11-2 に示すゲートウェイのベンダとバージョンが検証されています。
これらの共通のドライバ プロパティは、発信メッセージをルーティングする際にエンジンによって使用されるこのドライバの機能を示しています。一部のプロパティはドライバ開発者によって設定され、通常は変更の必要はありません。ただし、ルーティングの動作を変更するために管理者が変更できるものもあります。SendingQueuesInfo などのプロパティは、高度な使用のために用意されており、高度なデプロイメント トポロジ以外での変更の必要はありません。これらのプロパティに関する完全な説明と使用可能な値については、DriverConfigPropertyNames の javadoc を参照してください。
表 11-3 共通の電子メール プロパティ
| 名前 | 説明 | 必須 | デフォルト値 |
|---|---|---|---|
|
InstanceName |
インスタンス名 (内部使用のみ) |
はい |
Email-Driver |
|
Capability |
メッセージの送受信の機能 |
はい |
Both |
|
SupportedDeliveryTypes |
サポートされている配信タイプ |
はい |
|
|
SupportedContentTypes |
サポートされているコンテンツ タイプ |
はい |
text/plain、text/html、multipart/mixed、multipart/alternative、multipart/related |
|
SupportedStatusTypes |
サポートされているステータス タイプ |
いいえ |
DELIVERY_TO_GATEWAY_SUCCESS、DELIVERY_TO_GATEWAY_FAILURE、USER_REPLY_ACKNOWLEDGEMENT_SUCCESS、USER_REPLY_ACKNOWLEDGEMENT_FAILURE |
|
Cost |
コスト |
いいえ |
N/A |
|
Speed |
速度 |
いいえ |
N/A |
|
SupportedCarriers |
サポートされているキャリア |
いいえ |
N/A |
|
Supported Protocols |
サポートされているプロトコル |
いいえ |
N/A |
|
SupportsCancel |
メッセージのキャンセル操作をサポートします |
いいえ |
False |
|
SupportsReplace |
メッセージの置換操作をサポートします |
いいえ |
False |
|
SupportsTracking |
メッセージの追跡操作をサポートします |
いいえ |
False |
|
SupportsStatusPolling |
メッセージのステータス ポーリング操作をサポートします |
いいえ |
False |
|
SenderAddresses |
送信者のアドレス |
いいえ |
N/A |
|
DefaultSenderAddress |
デフォルトの送信者アドレス |
いいえ |
N/A |
|
SendingQueuesInfo |
ドライバ送信キューの情報 |
はい |
OraSDPM/QueueConnectionFactory:OraSDPM/Queues/OraSDPMDriverDefSndQ1 |
これらのプロパティはこのドライバに固有であり、通常は、リモート ゲートウェイへのアクセスのコンフィグレーションと、特定のプロトコルまたはチャネルに固有の動作に関連付けられています。
表 11-4 カスタム電子メール プロパティ
| 名前 | 説明 | 必須 | デフォルト値 |
|---|---|---|---|
|
MailAccessProtocol |
電子メール受信のプロトコル。使用可能な値は IMAP および POP3 です。ドライバ インスタンスで電子メールの受信がサポートされている場合にのみ必要です。 |
いいえ |
IMAP |
|
RetryLimit |
この値は、何らかの理由で接続が失われた場合に着信メール サーバへの接続を再試行する回数を指定します。デフォルト値は -1 です。これは、無制限の再試行回数を示します。 |
いいえ |
N/A |
|
MailDelFreq |
削除されたメッセージが完全に消去される間隔。秒単位で表され、デフォルト値は 300 秒です。負の値はメッセージが消去されないことを示します。POP3 プロトコルの場合、メッセージは処理された後に消去されます。 |
いいえ |
600 |
|
AutoDelete |
この値は、メッセージが処理された後にドライバが削除のマークを付ける必要があるかどうかを示します。この値には true または false を指定できます。デフォルト値は false です。POP3 プロトコルの場合、メッセージは常に、処理された直後に削除されます。 |
いいえ |
True |
|
CheckMailFreq |
メール サーバからメッセージを取得する間隔。秒単位で表され、デフォルト値は 5 秒です。 |
いいえ |
30 |
|
ReceiveFolder |
ドライバがメッセージをポーリングするフォルダの名前。デフォルト値は INBOX です。 |
いいえ |
INBOX |
|
OutgoingMailServer |
SMTP サーバの名前。 電子メールの送信が必要な場合にのみ必須です。 |
いいえ |
N/A |
|
OutgoingMailServerPort |
SMTP サーバのポート番号。 通常は 25 です。 |
いいえ |
25 |
|
OutgoingMailServerTLS |
SMTP サーバへの通信に TLS 暗号化を使用するかどうか。 |
いいえ |
False |
|
OutgoingDefaultFromAddr |
デフォルトの FROM アドレス (発信メッセージで指定されていない場合)。 |
いいえ |
N/A |
|
OutgoingUsername |
SMTP 認証で使用するユーザ名。SMTP サーバで SMTP 認証がサポートされている場合にのみ必要です。 |
いいえ |
N/A |
|
OutgoingPassword |
SMTP 認証で使用するパスワード。SMTP サーバで SMTP 認証がサポートされている場合にのみ必要です。 |
いいえ |
N/A |
|
IncomingMailServer |
着信メール サーバのホスト名。ドライバ インスタンスで電子メールの受信がサポートされている場合にのみ必要です。 |
いいえ |
N/A |
|
IncomingMailServerPort |
IMAP4 (143 または 993) サーバまたは POP3 (110 または 995) サーバのポート番号。 |
いいえ |
N/A |
|
IncomingMailServerSSL |
IMAP4 または POP3 サーバへの接続で SSL を有効にするかどうか。 |
いいえ |
False |
|
IncomingMailIDs |
ユーザ名に対応する電子メール アドレス。各電子メール アドレスはカンマで区切られ、ユーザ名リスト内の対応するユーザ名に相当するリスト内の場所に存在している必要があります。ドライバ インスタンスで電子メールの受信がサポートされている場合にのみ必要です。 |
いいえ |
N/A |
|
IncomingUserIDs |
ドライバ インスタンスがポーリングするメール アカウントのユーザ名のリスト。それぞれの名前はカンマで区切る必要があります (foo,bar など)。ドライバ インスタンスで電子メールの受信がサポートされている場合にのみ必要です。 |
いいえ |
N/A |
|
IncomingUserPasswords |
ユーザ名に対応するパスワードのリスト。各パスワードはカンマで区切られ、ユーザ名リスト内の対応するユーザ名に相当するリスト内の場所に存在している必要があります。ドライバ インスタンスで電子メールの受信がサポートされている場合にのみ必要です。 |
いいえ |
N/A |
|
IncomingProcessingChunkSize |
メッセージ ポーリングごとに処理されるメッセージの最大数。 |
いいえ |
100 |
これらのプロパティは、メッセージの配信に関連し、クライアント API を通じて指定されます。表 11-5 は、これらのプロパティがプロトコルまたはドライバの実装で使用されるかどうかを示します。
SMPP (Short Message Peer-to-Peer) は、最も普及している GSM SMS プロトコルの 1 つです。User Messaging Service には、ショート メッセージの送信および受信の両方の機能を持つドライバとして SMPP プロトコルの組み込みの実装が含まれています。送信機能が有効な場合、SMPP ドライバは送信者として、SMS-C (Short Message Service Center) への 1 つの TCP 接続を開きます。ドライバの受信機能が有効な場合は、受信者として、SMS-C への別の接続を開きます。ドライバと SMS-C の間のすべての通信に必要なのは、2 つの TCP 接続 (両方ともドライバによって開始される) だけです。
|
注意 : SMPP ドライバは SMPP プロトコル バージョン 3.4 を実装し、このバージョンをサポートする SMS-C への接続のみがサポートされます。 |
この節では、SMPP ドライバの相互運用性の機能について説明します。
SMPP ドライバは、SMPP v3.4 プロトコルと互換性があります。
SMPP ドライバには、以下の機能があります。
自動的な接続の再試行
ファイアウォール通過の HTTP プロキシ
認証コンフィグレーション
コンフィグレーション可能なチャンク サイズ
一括送信
エンコーディング : UCS2、IA5、GSM_DEFAULT
優先順位の設定
コンフィグレーション可能なウィンドウ サイズ
プレーン テキスト コンテンツのみ
表 11-6 に示すゲートウェイ ベンダが検証されています。
これらの共通のドライバ プロパティは、発信メッセージをルーティングする際にエンジンによって使用されるこのドライバの機能を示しています。一部のプロパティはドライバ開発者によって設定され、通常は変更の必要はありません。ただし、ルーティングの動作を変更するために管理者が変更できるものもあります。SendingQueuesInfo などのプロパティは、高度な使用のために用意されており、高度なデプロイメント トポロジ以外での変更の必要はありません。これらのプロパティに関する完全な説明と使用可能な値については、DriverConfigPropertyNames の javadoc を参照してください。
表 11-7 共通の SMPP プロパティ
| 名前 | 説明 | 必須 | デフォルト値 |
|---|---|---|---|
|
InstanceName |
インスタンス名 (内部使用のみ) |
はい |
SMPP-Driver |
|
Capability |
メッセージの送受信の機能 |
はい |
Both |
|
SupportedDeliveryTypes |
サポートされている配信タイプ |
はい |
SMS |
|
SupportedContentTypes |
サポートされているコンテンツ タイプ |
はい |
text/plain |
|
SupportedStatusTypes |
サポートされているステータス タイプ |
いいえ |
DELIVERY_TO_GATEWAY_SUCCESS、DELIVERY_TO_GATEWAY_FAILURE |
|
Cost |
コスト |
いいえ |
N/A |
|
Speed |
速度 |
いいえ |
N/A |
|
SupportedCarriers |
サポートされているキャリア |
いいえ |
N/A |
|
Supported Protocols |
サポートされているプロトコル |
いいえ |
N/A |
|
SupportsCancel |
メッセージのキャンセル操作をサポートします |
いいえ |
False |
|
SupportsReplace |
メッセージの置換操作をサポートします |
いいえ |
False |
|
SupportsTracking |
メッセージの追跡操作をサポートします |
いいえ |
False |
|
SupportsStatusPolling |
メッセージのステータス ポーリング操作をサポートします |
いいえ |
False |
|
SenderAddresses |
送信者のアドレス |
いいえ |
N/A |
|
DefaultSenderAddress |
デフォルトの送信者アドレス |
いいえ |
N/A |
|
SendingQueuesInfo |
ドライバ送信キューの情報 |
はい |
OraSDPM/QueueConnectionFactory:OraSDPM/Queues/OraSDPMDriverDefSndQ1 |
これらのプロパティはこのドライバに固有であり、通常は、リモート ゲートウェイへのアクセスのコンフィグレーションと、特定のプロトコルまたはチャネルに固有の動作に関連付けられています。
表 11-8 カスタム SMPP プロパティ
| 名前 | 説明 | 必須 | デフォルト値 |
|---|---|---|---|
|
SmsAccountId |
SMS-C のアカウント ID。 |
はい |
N/A |
|
SmsServerHost |
SMS-C サーバの名前 (または IP アドレス)。 |
はい |
N/A |
|
TransmitterSystemId |
メッセージの送信に使用するアカウント ID。 |
はい |
N/A |
|
ReceiverSystemId |
メッセージの受信に使用するアカウント ID。 |
はい |
N/A |
|
TransmitterSystemType |
トランスミッタ システムの種類。 |
はい |
デフォルト値は Logica です。 |
|
ReceiverSystemType |
レシーバ システムの種類。 |
はい |
デフォルト値は Logica です。 |
|
TransmitterSystemPassword |
トランスミッタ システムのパスワード。 |
はい |
N/A |
|
ReceiverSystemPassword |
レシーバ システムのパスワード。 |
はい |
N/A |
|
ServerTransmitterPort |
トランスミッタ システムの TCP ポート番号。 |
はい |
N/A |
|
ServerReceiverPort |
レシーバ システムの TCP ポート番号。 |
はい |
N/A |
|
DefaultEncoding |
SMPP ドライバのデフォルトのエンコーディング。 |
いいえ |
デフォルト値は UCS2 です。 |
|
EncodingAutoDetect |
true (デフォルト) に設定すると、SMPP ドライバで自動的にエンコーディングが行われます。 |
いいえ |
デフォルト値は true です。 |
|
LocalSendingPort |
SMPP ドライバが SMS-C へのメッセージの送信に使用するローカルの TCP ポート。 |
いいえ |
N/A |
|
LocalReceivingPort |
SMPP ドライバが SMS-C からのメッセージの受信に使用するローカルの TCP ポート。 |
いいえ |
N/A |
|
LocalAddress |
SMPP ドライバをホストするサーバのホスト名 (または IP アドレス)。 |
いいえ |
N/A |
|
WindowSize |
SMS のウィンドウ サイズ。この値は正の数にする必要があります。 |
いいえ |
デフォルト値は 1 です。 |
|
EnquireInterval |
SMS-C に照会メッセージを送信する間隔 (秒単位)。 |
いいえ |
デフォルト値は 30 です。 |
|
ThrottleDelay |
スロットル間の遅延 (秒単位)。 |
いいえ |
デフォルト値は 15 です。 |
|
BindRetryDelay |
バインディング再試行の遅延 (秒単位)。 |
いいえ |
デフォルト値は 30 です。 |
|
ResponseTimer |
SMPP リクエストから応答までの間に許可される時間 (秒単位)。デフォルトは 30 です。 |
いいえ |
30 |
|
RegisteredDeliveryMask |
バインディング再試行の遅延 (秒単位)。 |
いいえ |
0xFF |
|
RangeSetNull |
BIND_RECEIVER の「アドレス範囲」フィールドを null に設定するには、true に設定します。 アドレス範囲フィールドを SmsSystemId に設定するには、false (デフォルト値) に設定します。 |
いいえ |
デフォルト値は false です。 |
|
PriorityAllowed |
SMPP ドライバで許可される最も高い優先順位。範囲は 0 (通常) から 3 (最高) です。 |
いいえ |
デフォルト値は 0 です。 |
|
BulkSending |
この値を true (デフォルト) に設定すると、SMS-C へのメッセージの一括送信が有効になります。 |
いいえ |
デフォルト値は true です。 |
|
PayloadSending |
true に設定すると、SMS-C へのメッセージの送信時に、SMPP ドライバで常にメッセージ ペイロード プロパティが使用されます。 |
いいえ |
デフォルト値は false です。 |
|
SourceTon |
SMPP レシーバ セッションを通じて処理される ESME アドレスの Type of Number (TON)。 |
いいえ |
デフォルト値は 0 です。 |
|
SourceNpi |
SMPP レシーバ セッションを通じて処理される ESME アドレスの Numbering Plan Indicator (NPI)。 |
いいえ |
デフォルト値は 0 です。 |
|
DestinationTon |
宛先の Type of Number (TON)。 |
いいえ |
デフォルト値は 0 です。 |
|
DestinationNpi |
宛先の Numbering Plan Indicator (NPI)。 |
いいえ |
デフォルト値は 0 です。 |
|
ExtraErrorCode |
エラー コードのカンマ区切りのリスト。 |
いいえ |
N/A |
|
MaxChunks |
メッセージの最大の SMS チャンク。 |
いいえ |
デフォルト値は -1 です (最大値なし)。 |
|
ChunkSize |
各 SMS メッセージ チャンクのサイズ。 |
いいえ |
デフォルト値は 160 です。 |
|
LongMessageSending |
長いメッセージの送信をサポートします。 |
いいえ |
N/A |
|
DatagramMessageMode |
データグラム メッセージ モードをサポートします。 |
いいえ |
N/A |
これらのプロパティは、メッセージの配信に関連し、クライアント API を通じて指定されます。表 11-9 は、これらのプロパティがプロトコルまたはドライバの実装で使用されるかどうかを示します。
XMPP ドライバでは、XMPP (Extensible Messaging and Presence Protocol) 経由でリアルタイムのインスタント メッセージング (IM) を実行する、Oracle Fusion Middleware からエンド ユーザへの一方向および双方向のアクセスが提供されます。このドライバを使用すると、エンド ユーザは通知を受け取ったり、任意の IM クライアントを通じてアプリケーションと対話型のチャットを開始することができます。
XMPP は、インスタント メッセージングおよびプレゼンスのための XML ベースのオープン プロトコルです。XMPP ベースのソフトウェアはインターネットを通じて何千ものサーバにデプロイされ、全世界の多数のユーザによって使用されています。XMPP はクライアント-サーバ アーキテクチャによって構成され、ユビキタスな電子メール ネットワークに類似しています。XMPP サーバは完全に非集中型であり、任意のユーザが固有のサーバをセットアップできます。メッセージングは電子メール ネットワークと同様に行われ、受信者はユーザ名とホスト名 (たとえば、username@host name) でアドレス指定されます。XMPP ネットワークでは、ユーザを識別する場合に、ユーザ名と接続先の特定の XMPP サーバのホスト名で構成される、XMPP (Jabber) ID が使用されます。XMPP のエンド ユーザは、他の XMPP ユーザにインスタント メッセージを送信するため、XMPP クライアントを使用して XMPP サーバに接続します。しかし、XMPP は単にインスタント メッセージングに使用可能なプロトコル ネットワークというだけではありません。XMPP は拡張可能なモジュール アーキテクチャを使用します。これは、Yahoo、MSN、AOL、ICQ などの独自のネットワークに接続できるトランスポート ゲートウェイを使用して、これらの IM ネットワークと統合されます。これにより、XMPP ユーザと他のネットワーク上のユーザとの通信が可能になります。
UMS で XMPP ドライバを使用するには、Jabber/XMPP サーバへのアクセスと、UMS XMPP ドライバ インスタンスがログインに使用する XMPP アカウントが必要です。また、XMPP ドライバには、IM ネットワーク (Yahoo、MSN、AOL、または ICQ) 上のユーザとの通信を UMS で有効にするためのコンフィグレーション パラメータがあります。このため、これらの独自の IM ネットワーク上で、XMPP ドライバから接続する追加のアカウントが必要になります。これによって、これらの特定のネットワーク上のエンド ユーザと UMS との通信が可能になります。
この節では、XMPP ドライバの相互運用性の機能について説明します。
XMPP ドライバは、XMPP (RFC 3920、3921) プロトコルと互換性があります。
XMPP ドライバには、以下の機能があります。
自動的な接続の再試行
ファイアウォール通過の HTTP プロキシ
プレーン テキスト コンテンツのみ
表 11-6 に示すゲートウェイのベンダとバージョンが検証されています。
XMPP ドライバでは、以下のサードパーティ製ソフトウェアが必要です。
表 11-11 必要なサードパーティ製ソフトウェア
| 名前 | 説明 | バージョン |
|---|---|---|
|
JabberBeans |
このドライバは、JabberBeans Java ライブラリを使用して Jabber/XMPP インスタント メッセージング サーバに接続します。このドライバには、JabberBeans (バージョン 0.9.1) のライセンス コピーが含まれています。 |
0.9.1 |
|
XMPP サーバ |
省略可能。独自の Jabber/XMPP サーバをダウンロードおよびインストールするには、http://www.jabber.org からサーバを選択してインストールします。 |
|
|
Yahoo、MSN、AOL(AIM)、および ICQ のトランスポート ゲートウェイ |
省略可能。独自の IM ゲートウェイに接続する 1 つまたは複数のトランスポートをインストールおよびコンフィグレーションするには、Jabber/XMPP サーバに付属のトランスポートのインストール ガイドを参照してください。 |
|
注意 : 既存のサーバにアクセスできる場合は、独自の XMPP サーバをインストールする必要はありません。パブリック サーバのリストについては、http://www.jabber.org を参照してください。 |
$ORACLE_HOME/communications/applications/sdpmessagingdriver-xmpp.ear
これらの共通のドライバ プロパティは、発信メッセージをルーティングする際にエンジンによって使用されるこのドライバの機能を示しています。一部のプロパティはドライバ開発者によって設定され、通常は変更の必要はありません。ただし、ルーティングの動作を変更するために管理者が変更できるものもあります。SendingQueuesInfo などのプロパティは、高度な使用のために用意されており、高度なデプロイメント トポロジ以外での変更の必要はありません。これらのプロパティに関する完全な説明と使用可能な値については、DriverConfigPropertyNames の javadoc を参照してください。
表 11-12 共通の XMPP プロパティ
| 名前 | 説明 | 必須 | デフォルト値 |
|---|---|---|---|
|
InstanceName |
インスタンス名 (内部使用のみ) |
はい |
XMPP-IM-Driver |
|
Capability |
メッセージの送受信の機能 |
はい |
Both |
|
SupportedDeliveryTypes |
サポートされている配信タイプ |
はい |
IM |
|
SupportedContentTypes |
サポートされているコンテンツ タイプ |
はい |
text/plain |
|
SupportedStatusTypes |
サポートされているステータス タイプ |
いいえ |
DELIVERY_TO_GATEWAY_SUCCESS、DELIVERY_TO_GATEWAY_FAILURE |
|
Cost |
コスト |
いいえ |
N/A |
|
Speed |
速度 |
いいえ |
N/A |
|
SupportedCarriers |
サポートされているキャリア |
いいえ |
N/A |
|
Supported Protocols |
サポートされているプロトコル |
いいえ |
N/A |
|
SupportsCancel |
メッセージのキャンセル操作をサポートします |
いいえ |
False |
|
SupportsReplace |
メッセージの置換操作をサポートします |
いいえ |
False |
|
SupportsTracking |
メッセージの追跡操作をサポートします |
いいえ |
False |
|
SupportsStatusPolling |
メッセージのステータス ポーリング操作をサポートします |
いいえ |
False |
|
SenderAddresses |
送信者のアドレス |
いいえ |
N/A |
|
DefaultSenderAddress |
デフォルトの送信者アドレス |
いいえ |
N/A |
|
SendingQueuesInfo |
ドライバ送信キューの情報 |
はい |
OraSDPM/QueueConnectionFactory:OraSDPM/Queues/OraSDPMDriverDefSndQ1 |
XMPP ドライバには、以下のカスタム プロパティがあります。
表 11-13 カスタム XMPP プロパティ
| 名前 | 説明 | 必須 | デフォルト値 |
|---|---|---|---|
|
IMServerHost |
Jabber サーバのホスト名。複数のサーバの場合は、カンマ区切りのリストを使用します ( |
はい |
N/A |
|
IMServerPort |
対応する Jabber サーバ ポートのカンマ区切りのリスト (5222, 5222 など)。 |
はい |
5222 |
|
IMServerUsername |
ログインに使用する Jabber ユーザ名のリスト (これらのユーザ アカウントは、対応する Jabber サーバ上で必要に応じて自動的に作成されます)。上のリストに複数のサーバが含まれている場合は、同じ数のユーザ名が存在している必要があります (各サーバにつき 1 つのユーザ名)。上のリストに 1 つのサーバのみが含まれている場合は、そのサーバがこのリスト内のすべてのユーザ名によって使用されます (oracleagent1, oracleagent2 など)。ドメイン名が Jabber サーバのホスト名と異なる場合は、完全な Jabber ID を入力することもできます (たとえば、 |
はい |
N/A |
|
IMServerPassword |
上のリストの各ユーザ名に対応するパスワードのカンマ区切りのリスト。 |
はい |
N/A |
|
YahooEnable |
上のカンマ区切りのリストで指定した各ユーザ アカウントに対し、Yahoo トランスポートを有効または無効にします (「有効」にするには、 |
いいえ |
N/A |
|
YahooUsername |
上の各ユーザ アカウントに対する、Yahoo アカウント ID のカンマ区切りのリスト (Yahoo が不要なアカウントではエントリを空のままにします)。これらの ID は Yahoo ですでに登録されている必要があります。有効な Yahoo アカウント情報を入力すると、Yahoo ユーザがインスタント メッセージングを通じてアプリケーションにアクセスできるようになります。 |
いいえ |
N/A |
|
YahooPassword |
対応する Yahoo アカウント パスワードのカンマ区切りのリスト。 |
いいえ |
N/A |
|
MSNEnable |
上のカンマ区切りのリストで指定した各ユーザ アカウントに対し、MSN トランスポートを有効または無効にします (有効にするには、「true」に設定します。無効にするには、空のままにするか「false」に設定します)。 |
いいえ |
N/A |
|
MSNUsername |
上の各ユーザ アカウントに対する、MSN Messenger (.NET passport と呼ばれる) のアカウント ID のカンマ区切りのリスト (MSN が不要なアカウントではエントリを空のままにします)。これらの ID は .NET passports ですでに登録されている必要があります。有効な .NET アカウント情報を入力すると、MSN Messenger ユーザがインスタント メッセージングを通じてアプリケーションにアクセスできるようになります。 |
いいえ |
N/A |
|
MSNPassword |
対応する MSN Messenger アカウント パスワードのカンマ区切りのリスト。 |
いいえ |
N/A |
|
AOLEnable |
上のカンマ区切りのリストで指定した各ユーザ アカウントに対し、AOL IM (AIM) トランスポートを有効または無効にします (有効にするには、「true」に設定します。無効にするには、空のままにするか「false」に設定します)。 |
いいえ |
N/A |
|
AOLUsername |
上の各ユーザ アカウントに対する、AOL IM (AIM) アカウント ID のカンマ区切りのリスト (AOL が不要なアカウントではエントリを空のままにします)。これらの ID は AOL ですでに登録されている必要があります。有効な AOL アカウント情報を入力すると、AOL ユーザがインスタント メッセージングを通じてアプリケーションにアクセスできるようになります。 |
いいえ |
N/A |
|
AOLPassword |
対応する AOL IM アカウント パスワードのカンマ区切りのリスト。 |
いいえ |
N/A |
|
ICQEnable |
上のカンマ区切りのリストで指定した各ユーザ アカウントに対し、ICQ IM トランスポートを有効または無効にします (有効にするには、「true」に設定します。無効にするには、空のままにするか「false」に設定します)。 |
いいえ |
N/A |
|
ICQUsername |
上の各ユーザ アカウントに対する、ICQ アカウント ID のカンマ区切りのリスト (ICQ が不要なアカウントではエントリを空のままにします)。これらの ID は ICQ ですでに登録されている必要があります。有効な ICQ アカウント情報を入力すると、ICQ ユーザがインスタント メッセージングを通じてアプリケーションにアクセスできるようになります。 |
いいえ |
N/A |
|
ICQPassword |
対応する ICQ アカウント パスワードのカンマ区切りのリスト。 |
いいえ |
N/A |
|
RetryLimit |
Jabber サーバから切断された場合にドライバが接続を再試行する回数。再試行回数を無制限にするには -1 を入力します。 |
いいえ |
N/A |
|
RetryInterval |
接続を再試行する間隔 (秒単位)。 |
いいえ |
N/A |
VoiceXML ドライバは、VoiceXML で作成されたメッセージを送信する Genesys VoiceGenie ゲートウェイの発信通話プロトコルをサポートしています。ゲートウェイでは、Text-To-Speech 処理を使用してメッセージを配信します。
この節では、VoiceXML ドライバの相互運用性の機能について説明します。
VoiceXML ドライバは、VoiceXML over HTTP (VoiceGenie ゲートウェイ プロトコル) と互換性があります。
VoiceXML ドライバには、以下の機能があります。
VoiceXML コンテンツのみ
表 11-6 に示すゲートウェイのベンダとバージョンが検証されています。
これらの共通のドライバ プロパティは、発信メッセージをルーティングする際にエンジンによって使用されるこのドライバの機能を示しています。一部のプロパティはドライバ開発者によって設定され、通常は変更の必要はありません。ただし、ルーティングの動作を変更するために管理者が変更できるものもあります。SendingQueuesInfo などのプロパティは、高度な使用のために用意されており、高度なデプロイメント トポロジ以外での変更の必要はありません。これらのプロパティに関する完全な説明と使用可能な値については、DriverConfigPropertyNames の javadoc を参照してください。
表 11-16 共通の VoiceXML プロパティ
| 名前 | 説明 | 必須 | デフォルト値 |
|---|---|---|---|
|
InstanceName |
インスタンス名 (内部使用のみ) |
はい |
VoiceXML-Driver |
|
Capability |
メッセージの送受信の機能 |
はい |
SEND |
|
SupportedDeliveryTypes |
サポートされている配信タイプ |
はい |
VOICE |
|
SupportedContentTypes |
サポートされているコンテンツ タイプ |
はい |
text/vxml、text/x-vxml |
|
SupportedStatusTypes |
サポートされているステータス タイプ |
いいえ |
DELIVERY_TO_GATEWAY_SUCCESS、DELIVERY_TO_GATEWAY_FAILURE |
|
Cost |
コスト |
いいえ |
N/A |
|
Speed |
速度 |
いいえ |
N/A |
|
SupportedCarriers |
サポートされているキャリア |
いいえ |
N/A |
|
Supported Protocols |
サポートされているプロトコル |
いいえ |
N/A |
|
SupportsCancel |
メッセージのキャンセル操作をサポートします |
いいえ |
False |
|
SupportsReplace |
メッセージの置換操作をサポートします |
いいえ |
False |
|
SupportsTracking |
メッセージの追跡操作をサポートします |
いいえ |
False |
|
SupportsStatusPolling |
メッセージのステータス ポーリング操作をサポートします |
いいえ |
False |
|
SenderAddresses |
送信者のアドレス |
いいえ |
N/A |
|
DefaultSenderAddress |
デフォルトの送信者アドレス |
いいえ |
N/A |
|
SendingQueuesInfo |
ドライバ送信キューの情報 |
はい |
OraSDPM/QueueConnectionFactory:OraSDPM/Queues/OraSDPMDriverDefSndQ1 |
VoiceXML ドライバには、以下のカスタム プロパティがあります。
表 11-17 カスタム VoiceXML プロパティ
| 名前 | 説明 | 必須 | デフォルト値 |
|---|---|---|---|
|
VoiceXMLOutboundServletURI |
VoiceXML/VoiceGenie ゲートウェイの URL。 |
はい |
N/A |
|
VoiceXMLOutboundServletUserName |
VoiceXML ゲートウェイのユーザ名。 |
いいえ |
N/A |
|
VoiceXMLOutboundServletPassword |
VoiceXML ゲートウェイのパスワード。 |
いいえ |
N/A |
|
VoiceXMLOutboundServletDNIS |
受信者の ID 表示に表示される数。 |
いいえ |
N/A |
|
VoiceXMLReceiveURL |
VoiceXML Gateway からの着信リクエストを処理するこのドライバのサーブレットの URL。フォーマットは |
いいえ |
N/A |
Worklist ドライバを使用すると、すべてのソースからの通知を、ユーザの WebCenter Unified Worklist に統合される worklist タスクの形でユーザに送信できます。
|
注意 : Worklist メッセージ タスクは、Worklist メッセージ ドライバがメッセージを送信する BPEL 接続を検索するようにコンフィグレーションされている WebCenter と、BPEL Worklist アプリケーションの両方からアクセスすることができます。これらのメッセージ ベースのタスクは、BPEL Worklist アプリケーションでも Worklist アイテムとして表示されます。 |
この統合は、Worklist チャネル (配信タイプ) をアプリケーションとエンド ユーザに公開することで実現します。 ユーザの Worklist チャネルを通じて送信されたメッセージは Worklist ドライバで処理されます。User Messaging Service API のセマンティクスは、IM や電子メールなどの既存のチャネルと同様です。このドライバでは、メッセージの送信のみが処理されます。ドライバ アプリケーション アーカイブ (EAR) は $ORACLE_HOME/communications/applications/sdpmessagingdriver-worklist.ear にあります。
メッセージングの worklist 機能を有効にするには、$ORACLE_HOME/common/templates/applications/oracle.ums.driver.worklist_template_11.1.1.jar にある拡張テンプレートを使用して、WebLogic SOA ドメインを拡張する必要があります。 Oracle Fusion Middleware Configuration Wizard を使用して SOA ドメインを拡張するには、以下の手順を実行します。
Oracle Fusion Middleware Configuration Wizard ($ORACLE_HOME/common/bin/config.sh または %ORACLE_HOME%\common\bin\config.cmd) を起動します。
[既存の WebLogic ドメインの拡張] オプションを選択します。
必要な SOA ドメイン ディレクトリを選択します。
[Extend my domain using an existing extension template] オプションを選択します。
[参照] をクリックし、$ORACLE_HOME/common/templates/applications に移動します。
oracle.ums.driver.worklist_template_11.1.1.jar を選択します。
Oracle Fusion Middleware Configuration Wizard の残りの手順を完了し、SOA サーバを再起動します。
|
注意 : SOA 管理対象サーバがリモート マシン上にある場合の特殊な考慮事項 :oracle.ums.driver.worklist_template_11.1.1.jar 拡張テンプレートには、$DOMAIN_HOME/soa/autodeploy にコピーされ、サーバの再起動時に SOA Infra ランタイムによって自動デプロイされる SOA 複合アプリケーション (sca_sdpmessagingsca-worklist-composite_rev1.0.jar) が含まれています。 ただし、SOA Infra ランタイムがリモート マシン上にあり、ドメインが -managed=true オプション (使用時の適切なオプション) を使用してパックされた場合は、このディレクトリがアーカイブに含まれません。 この結果、SOA 管理対象サーバの再起動時に複合アプリケーションがデプロイされません。
インストールを完了するには、AdminServer マシンにある |
これらの共通のドライバ プロパティは、発信メッセージをルーティングする際にエンジンによって使用されるこのドライバの機能を示しています。一部のプロパティはドライバ開発者によって設定され、通常は変更の必要はありません。ただし、ルーティングの動作を変更するために管理者が変更できるものもあります。SendingQueuesInfo などのプロパティは、高度な使用のために用意されており、高度なデプロイメント トポロジ以外での変更の必要はありません。 これらのプロパティに関する完全な説明と、使用可能な値については、DriverConfigPropertyNames の javadoc を参照してください。
表 11-19 共通の Worklist プロパティ
| 名前 | 説明 | 必須 | デフォルト値 |
|---|---|---|---|
|
InstanceName |
インスタンス名 (内部使用のみ) |
はい |
Worklist-Driver |
|
Capability |
メッセージの送受信の機能 |
はい |
SEND |
|
SupportedDeliveryTypes |
サポートされている配信タイプ |
はい |
WORKLIST |
|
SupportedContentTypes |
サポートされているコンテンツ タイプ |
はい |
text/plain、text/html |
|
SupportedStatusTypes |
サポートされているステータス タイプ |
いいえ |
DELIVERY_TO_GATEWAY_SUCCESS、DELIVERY_TO_GATEWAY_FAILURE |
|
Cost |
コスト |
いいえ |
N/A |
|
Speed |
速度 |
いいえ |
N/A |
|
SupportedCarriers |
サポートされているキャリア |
いいえ |
N/A |
|
SupportedProtocols |
サポートされているプロトコル |
いいえ |
N/A |
|
SupportsCancel |
メッセージのキャンセル操作をサポートします |
いいえ |
False |
|
SupportsReplace |
メッセージの置換操作をサポートします |
いいえ |
False |
|
SupportsTracking |
メッセージの追跡操作をサポートします |
いいえ |
False |
|
SupportsStatusPolling |
メッセージのステータス ポーリング操作をサポートします |
いいえ |
False |
|
SenderAddresses |
送信者のアドレス |
いいえ |
N/A |
|
DefaultSenderAddress |
デフォルトの送信者アドレス |
いいえ |
N/A |
|
SendingQueuesInfo |
ドライバ送信キューの情報 |
はい |
OraSDPM/QueueConnectionFactory:OraSDPM/Queues/OraSDPMDriverDefSndQ1 |
プロキシ ドライバは、イントラネットまたはインターネット上の任意の場所にホストされている Fusion Middleware Messaging サーバに対する Messaging Web Service クライアントとして機能します。メッセージの送受信、およびメッセージ配信ステータスの返却には、SOAP over HTTP (Parlay X Multimedia Web Service プロトコル) が使用されます。ParlayX Web Service によって、ある UMS インスタンスから別のインスタンスにメッセージが中継されます。これを使用して、イントラネット内の複数のインスタンスから、SMSC などの外部ゲートウェイや SMTP または IMAP メール サーバなどにコンフィグレーションされているすべてのプロトコル固有のドライバが存在する、終端のインスタンスへのトラフィックが中継されます。
これらの共通のドライバ プロパティは、発信メッセージをルーティングする際にエンジンによって使用されるこのドライバの機能を示しています。一部のプロパティはドライバ開発者によって設定され、通常は変更の必要はありません。ただし、ルーティングの動作を変更するために管理者が変更できるものもあります。SendingQueuesInfo などのプロパティは、高度な使用のために用意されており、高度なデプロイメント トポロジ以外での変更の必要はありません。これらのプロパティに関する完全な説明と使用可能な値については、DriverConfigPropertyNames の javadoc を参照してください。
表 11-22 共通のプロキシ プロパティ
| 名前 | 説明 | 必須 | デフォルト値 |
|---|---|---|---|
|
InstanceName |
インスタンス名 (内部使用のみ) |
はい |
Proxy-Driver |
|
Capability |
メッセージの送受信の機能 |
はい |
SEND |
|
SupportedDeliveryTypes |
サポートされている配信タイプ |
はい |
EMAIL、SMS、VOICE、IM、WORKLIST |
|
SupportedContentTypes |
サポートされているコンテンツ タイプ |
はい |
* |
|
SupportedStatusTypes |
サポートされているステータス タイプ |
いいえ |
DELIVERY_TO_GATEWAY_SUCCESS、DELIVERY_TO_GATEWAY_FAILURE |
|
Cost |
コスト |
いいえ |
N/A |
|
Speed |
速度 |
いいえ |
N/A |
|
SupportedCarriers |
サポートされているキャリア |
いいえ |
N/A |
|
Supported Protocols |
サポートされているプロトコル |
いいえ |
N/A |
|
SupportsCancel |
メッセージのキャンセル操作をサポートします |
いいえ |
False |
|
SupportsReplace |
メッセージの置換操作をサポートします |
いいえ |
False |
|
SupportsTracking |
メッセージの追跡操作をサポートします |
いいえ |
False |
|
SupportsStatusPolling |
メッセージのステータス ポーリング操作をサポートします |
いいえ |
False |
|
SenderAddresses |
送信者のアドレス |
いいえ |
N/A |
|
DefaultSenderAddress |
デフォルトの送信者アドレス |
いいえ |
N/A |
|
SendingQueuesInfo |
ドライバ送信キューの情報 |
はい |
OraSDPM/QueueConnectionFactory:OraSDPM/Queues/OraSDPMDriverDefSndQ1 |
プロキシ ドライバには、以下のカスタム プロパティがあります。
表 11-23 カスタム プロキシ プロパティ
| 名前 | 説明 | 必須 | デフォルト値 |
|---|---|---|---|
|
GatewayURL |
ホストされている 11g UMS Web Service ゲートウェイへの URL。 URL のフォーマットは以下のとおりです。 http://<host>:<port>/sdpmessaging/parlayx/SendMessageService |
はい |
N/A |
|
Username |
メッセージング ゲートウェイのユーザ名。 |
いいえ |
N/A |
|
Password |
ユーザ名のパスワード。 |
いいえ |
N/A |
|
Policies |
プロキシ ドライバのリクエストにアタッチされる Oracle Web Services Manager WS-Security ポリシーのカンマ区切りのリスト。 |
いいえ |
N/A |
User Messaging Preferences ユーザ インタフェースおよび Parlay X Web Services は、セキュア ソケット レイヤ (SSL) を使用してトランスポート レベルで保護できます。デフォルトでは、すべてのデプロイされた Web サービスは保護されていません。プロダクション環境にデプロイされるサービスでは、Web サービス セキュリティを有効にする必要があります。
Oracle WebLogic Server で SSL を有効にするには、『Oracle Fusion Middleware Administrator's Guide』の「Configure SSL for Oracle WebLogic Server」を参照してください。 User Messaging Preferences ユーザ インタフェースは、この手順によって十分に保護されます。
Parlay X Web Services を保護するには、WebLogic Web サービスのセキュリティに関するドキュメントの「Configuring Transport-Level Security」を参照してください。
UMS では、UMS Web サービスを保護する Oracle Web Services Manager の WS-Security ポリシーの使用がサポートされています。Oracle Web Services Manager の詳細については、『Oracle Fusion Middleware Oracle WebLogic Server Web サービスのセキュリティ』の「Using Oracle Web Service Security Policies」を参照してください。
Web サービスで推奨されるセキュリティ コンフィグレーションでは、Security Assertion Markup Language (SAML) トークンを使用して、Web サービス クライアントと UMS の間で ID の受け渡しを行います。SAML トークンを使用すると、Web サービス クライアントがユーザ名とパスワードを UMS に渡す代わりに、証明書の交換を通じてクライアントと UMS の間の信頼関係が確立されます。このようなキーストア コンフィグレーションが作成されると、Web サービス クライアントはユーザ ID のみを渡して、ユーザが適切に認証されていることを保証します。
UMS Web サービスで使用が推奨されるポリシーは、以下のとおりです。
oracle/wss11_saml_token_with_message_protection_service_policy (サーバ側)
oracle/wss11_saml_token_with_message_protection_service_policy (クライアント側)
各種の Web サービスには、クライアント側で実行される、対応する通知 Web サービス (MessageNotification、PresenceNotification) が含まれており、これらは該当するイベントが発生すると通知 (メッセージ配信ステータス、メッセージの受信、プレゼンス ステータスの変更) を受け取ります。この実装では、クライアントへの通知時に、デフォルトで Web サービス セキュリティ (WS-Security) が使用されません。つまり、サーバでは、クライアント側で実行される通知 Web サービスで WS-Security が使用されないことを想定し、通知を送信する際に自身の認証を試行しません。クライアント側で WS-Security を有効にすると、通知 SOAP リクエストに必要なヘッダが含まれていないため、サーバからの通知は失敗します。
UMS Web サービスのポリシーを有効にするには、『Oracle Fusion Middleware Oracle WebLogic Server Web サービスのセキュリティ』の「Configuring Oracle WSM Security Policies in Administration Console」の手順に従って、ポリシー oracle/wss11_saml_token_with_message_protection_service_policy を選択します。保護する必要のあるサービスごとに、このコンフィグレーションを繰り返す必要があります。
Web サービス クライアントのセキュリティはプログラムで有効にする必要があります。「Parlay X Messaging Client API and Client Proxy Packages」(『Oracle Fusion Middleware Developer's Guide for Oracle SOA Suite』を参照) に記述されたクライアント ライブラリを使用する場合は、クライアント オブジェクトの作成時に WS-Security ポリシー コンフィグレーションが提供されます。クライアントのコンストラクタは型 Map<String, Object> の引数を取ります。 SAML 認証を使用する場合は、通常、エンドポイント アドレスなどの他の必須プロパティのほかに、キーと値の組み合わせ (表 11-25) をコンフィグレーション マップに追加する必要があります。
表 11-25 クライアントのセキュリティ キー
| キー | 型 | 通常の値 |
|---|---|---|
|
|
String[] |
|
|
|
String |
|
|
|
String |
(省略可能) 対象となるサービスのキーストア エリアス。「クライアントのエリアス」を参照してください。 |
例 11-1 Web サービス クライアントのセキュリティ
import oracle.sdp.parlayx.presence.consumer.PresenceConsumerClient;
...
Map<String, Object> config = new HashMap<String, Object>();
config.put(javax.xml.ws.BindingProvider.ENDPOINT_ADDRESS_PROPERTY, ums_url);
config.put(oracle.sdp.parlayx.ParlayXConstants.POLICIES, new String[] {"oracle/wss11_saml_token_with_message_protection_client_policy"});
config.put(javax.xml.ws.BindingProvider.USERNAME_PROPERTY, "test.user1");
PresenceConsumerClient presenceClient = new PresenceConsumerClient(config);
推奨される WS-Security ポリシーを使用するには、OWSM に必要なパブリック キーおよびプライベート キー情報が含まれているキーストアをコンフィグレーションする必要があります。キーストアおよび該当する資格ストア エントリをコンフィグレーションする方法については、『Oracle Fusion Middleware Oracle WebLogic Server Web サービスのセキュリティ』の「Configuring the Credential Store Using WLST」を参照してください。
Web サービス クライアントと UMS サーバが同じドメイン内にある場合は、キーストアと資格ストアが共有されます。
Web サービス クライアントと UMS サーバが異なるドメイン内にある場合は、UMS のパブリック キーをクライアント ドメインのキーストアにインポートし、クライアント ドメインのパブリック キーを UMS のキーストアにインポートする必要があります。
ここで推奨される SAML ポリシーなどの特定の WS-Security ポリシーを使用する場合、クライアントではサーバのパブリック キーを使用して Web サービス リクエストを暗号化する必要があります。ただし、1 つのドメインにつきコンフィグレーションされているキーストアは通常 1 つのみです。このため、あるドメインの Web サービス クライアントが他の複数のドメイン内の Web サービスと通信するようなときは、OWSM で使用されるデフォルトのキーストア エントリをオーバーライドする必要がある場合があります。
たとえば、あるドメインに、UMS Web サービスに対する Web サービス クライアントであるアプリケーション「A」と、他のドメインの Web サービスに対する Web サービス クライアントであるアプリケーション「B」があるとします。この場合、A のリクエストは UMS ドメインのパブリック キーを使用して暗号化し、B のリクエストは他のドメインのパブリック キーを使用して暗号化する必要があります。これを行うには、OWSM で使用されるキーストア エリアスを各リクエストでオーバーライドします。
(たとえば) UMS パブリック キーにエリアス「ums_public_key」、他のパブリック キーにエリアス「other_public_key」を使用してインポートします。
UMS Web サービス クライアントを作成する場合に、受信者のキーストア エリアス パラメータを指定します。キーを oracle.wsm.security.util.SecurityConstants.Config.KEYSTORE_RECIPIENT_ALIAS_PROPERTY に設定し、値を「ums_public_key」に設定します (例 11-2 を参照)。
例 11-2 クライアントのエリアス
import oracle.sdp.parlayx.multimedia_messaging.send.SendMessageClient
...
Map<String, Object> config = new HashMap<String, Object>();
config.put(javax.xml.ws.BindingProvider.ENDPOINT_ADDRESS_PROPERTY, ums_url);
config.put(oracle.sdp.parlayx.ParlayXConstants.POLICIES, new String[] {"oracle/wss11_saml_token_with_message_protection_client_policy"});
config.put(javax.xml.ws.BindingProvider.USERNAME_PROPERTY, "test.user1");
config.put(oracle.wsm.security.util.SecurityConstants.Config.KEYSTORE_RECIPIENT_ALIAS_PROPERTY, "ums_public_key")
SendMessageClient sendClient = new SendMessageClient(config);
他の Web サービス クライアントでも同様にキーストア エリアスをオーバーライドする必要がありますが、厳密なメカニズムは異なる場合があります。たとえば、JAX-WS クライアント スタブ ディレクトリを使用している場合は、オーバーライド プロパティを JAX-WS リクエスト コンテキストに追加できます。詳細については、『Oracle Fusion Middleware Oracle WebLogic Server Web サービスのセキュリティ』の「Policy Configuration Overrides for the Web Service Client」を参照してください。
User Messaging Service をデバッグする場合は、まずサーバ診断ログを確認します。ログには、不正な動作の詳細が記載された例外、エラー、または警告メッセージのほか、問題を緩和する方法が含まれている場合があります。以下の表は、User Messaging Service の一般的な問題をデバッグするための追加の方法について説明しています。
表 11-26 UMS のトラブルシューティング
| 症状 | 考えられる原因 | 解決策 |
|---|---|---|
|
SOA の BPEL または Human Workflow コンポーネントから通知が送信されません。 |
SOA ワークフロー通知のコンフィグレーションで通知モードが NONE に設定されています。 |
Oracle Fusion Middleware Control を使用して、通知モードの設定を EMAIL または ALL に変更します。 |
|
電子メール通知が送信されません。 |
UMS 電子メール ドライバの発信 (SMTP) メール サーバの設定が正しくありません。 |
Oracle Fusion Middleware Control を使用して、UMS 電子メール ドライバの以下の設定を確認してください。
注意 : 任意の電子メール クライアントで SMTP サーバへの接続にこれらの値を使用して、値を検証してください。 |
|
SMTP サーバで認証またはセキュアな接続が要求されています (TLS または SSL)。 |
Oracle Fusion Middleware Control を使用して、UMS 電子メール ドライバの以下の設定を確認してください。
|
|
|
「送信者アドレス = <address> に一致するドライバが見つからない」ことを示すエラー メッセージのため、通知が送信されません。 |
該当するチャネルの UMS ドライバが固有の SenderAddresses リストによってコンフィグレーションされているときに、アプリケーションから送信されたメッセージで、これと一致しない送信者アドレスが設定されています。 注意 : UMS サーバでは、発信メッセージの送信者アドレスが設定されている場合に、使用可能なドライバの SenderAddresses との照合を行い、一致するドライバを検索してメッセージの配信に使用します。ドライバに 1 つまたは複数の SenderAddresses が設定されている場合、UMS サーバでは、送信者アドレスがこれに一致するメッセージのみが送信されます。 |
|
|
電子メール クライアントで受信される通知に整合性がありません。 |
UMS 電子メール ドライバの着信メール サーバ設定が、通知が送信される電子メール アカウントと同じアカウントを使用してコンフィグレーションされています。 同じアカウントに通知が送信されると、電子メール クライアントで表示される前に、UMS 電子メール ドライバが電子メールをダウンロードして処理します。 |
着信メール サーバ設定で専用の電子メール アカウントを使用してください。Oracle Fusion Middleware Control を使用して、UMS 電子メール ドライバの以下の設定を確認してください。
|
|
SOA Human Workflow の通知が送信されますが、アクション可能ではありません。 |
SOA ワークフロー通知プロパティで、アクション可能な電子メール アドレスがコンフィグレーションされていません。 |
UMS 電子メール ドライバにコンフィグレーションされた電子メール アカウントのアドレスを使用して、SOA ワークフロー通知プロパティでアクション可能な電子メール アドレスを設定してください。 |
|
Human Workflow タスクがアクション可能な通知を送信するように設定されていません。 |
JDeveloper で Human Workflow タスクの actionable 属性を設定し、SOA 複合アプリケーションを再デプロイしてください。 |
|
|
SOA Human Workflow のアクション可能な通知が送信されますが、応答した後にアクションが実行されません。 |
UMS 電子メール ドライバの着信メール サーバ設定が正しくありません。 |
Oracle Fusion Middleware Control を使用して、UMS 電子メール ドライバの以下の設定を確認してください。
注意 : 任意の電子メール クライアントで IMAP または POP3 サーバへの接続にこれらの値を使用して、値を検証してください。 |
|
メール アクセス プロトコルが正しくありません。 |
Oracle Fusion Middleware Control を使用して、UMS 電子メール ドライバの以下の設定を確認してください。
|
|
|
電子メール サーバで SSL が有効にされています。 |
Oracle Fusion Middleware Control を使用して、UMS 電子メール ドライバの以下の設定を確認してください。
|
|
|
受信フォルダ名が正しくありません。 |
Oracle Fusion Middleware Control を使用して、UMS 電子メール ドライバの以下の設定を確認してください。
注意 : 一部の電子メール サーバでは、値 INBOX に inbox または Inbox が予期される場合があります (つまり、大文字と小文字が区別されます)。使用する電子メール サーバに基づいて、適切な値を使用してください。 |
|
|
通知を受信するデフォルト以外の電子メール クライアントがコンフィグレーションされています。ユーザが承認のリンクをクリックすると、デフォルトのメール クライアントのページが開き、異なるメール サーバに電子メールが送信される場合があります。 |
アクション可能な通知を受信するデフォルトの電子メール クライアントをコンフィグレーションしてください。 |
|
|
SOA BPEL User Notification または Human Workflow の通知が正しい配信タイプ (電子メール、SMS など) に送信されますが、アドレスが間違っています。 |
BPEL User Notification または Human Workflow 通知の使用例で使用するため、自己プロビジョニングされたメッセージング チャネルが User Messaging Preferences でユーザによって作成されています。 注意 : User Messaging Preferences の UI では、エンド ユーザがさまざまな使用例で使用する独自のメッセージング チャネルを作成できますが、BPEL User Notification および Human Workflow ではこれらが使用されません。 |
BPEL User Notification または Human Workflow の使用例では、自己プロビジョニングされたメッセージング チャネルを使用しないでください (つまり、これらの使用例では、デフォルトのチャネルとして設定したり、メッセージ フィルタ内で使用することは避けてください)。BPEL User Notification および Human Workflow では、User Messaging Preferences を配信タイプの設定にのみ使用し、実際のアドレスは ID 管理システムのユーザ プロファイルから取得します。 注意 : ID 管理システムのユーザ プロファイルからのアドレスは、Business Email、Business Mobile、Business Phone、Instant Messaging などの事前定義されたチャネル名を使用することで、User Messaging Preferences を通じて使用できます。BPEL User Notification および Human Workflow の使用例では、これらの事前定義されたメッセージング チャネルを使用してください。 |