C H A P T E R  1

Product Overview

This chapter describes the Sun Fire B10n blade hardware and software and lists both its features and the requirements for using it.

This chapter contains the following sections:


Hardware and Software Overview

The Sun Fire B10n blade is a networking product that provides content load balancing for Sun's blade-based servers and other horizontally scaled Sun platforms. It is designed to work in the management framework of the Sun Firetrademark B1600 blade system chassis. As part of the Sun Fire B1600 blade system chassis, the Sun Fire B10n blade connects to the Sun Fire B1600 blade system chassis midplane through two Gigabit Ethernet interfaces. The blade offers Layer 4 through Layer 7 load balancing. The server decision can be based on IP protocol, IP persistance, and TCP/UDP ports (Layer 4) or URLs, cookies, cookie persistance, and CGI scripts (Layer 7). Both these functions can operate up to the two Gigabit full-duplex line rate.

The Sun Fire B10n blade implements hardware assisted triangular load balancing, which enables the switch capacity to be used for aggregate responses rather than individual link capacity to the blade. To enable triangular data flow, you must install the application software on each Sun Fire B10n blade and the blade server module on each Sun Fire B100s blade server.

From a logical perspective, the following components make up a Sun Fire B10n blade:


Software Architecture

The Sun Fire B10n blade provides optimized server to client response. To support this response and provide tight communications between the content load balancing blade and the B1600 blade servers a software module must be installed on each of these servers. This software module is referred to as the Blade Server Module and is loaded using the Solaris package add (pkgadd) process.

The content load balancing blade is based on specialized hardware including a general purpose microprocessor that runs a real time operating system. The code that runs on this processor is called the Application Software and can be updated using a TFTP process.

In addition to the general purpose processor there is a micro controller called the Blade Support Controller (BSC). The BSC is the primary interface to the Sun Fire B1600 Service Controllers (SC) and performs the Advanced Lights-out Management (ALOM) function for a given blade. These functions include powering on and off of the blades as well as monitoring functions. This is referred to as the BSC Firmware and can be updated using the "flashupdate" command which involves using TFTP.

The Sun Fire B10n software components:

Check the following web site to ensure you have the latest Sun Fire B10n software:

http://wwws.sun.com/software/download/network.html

The B10n has the capability to hold two versions of the Application Software and a diagnostic image. This allows a new image to be loaded without overwriting the active image. The blade must be rebooted to activate an image. See Choosing the Boot Image.

The B10n specialized hardware includes a rule based classification engine. The rules are entered through the command line interface and then compiled using a build process. See Creating an HTTP Load Balancing Rule.


Hardware and Software Requirements

Before using the Sun Fire B10n blade, make sure your system meets the following hardware and software requirements:

TABLE 1 Hardware and Software Requirements

Hardware and Software

Requirements

Hardware

  • Sun Fire B10n content load balancing blade (at least one Sun Fire B10n for every four SSL proxy blades)
  • Sun Fire B1600 blade system chassis and other horizontally scaled Sun platforms
  • Sun Firetrademark B100s blade server

Software

  • Sun Fire B10n content load balancing blade application software 1.2 or subsequent compatible version
  • Sun Fire B10n content load balancing blade BSC (blade support control) firmware version v5.1.3* or subsequent compatible version
  • Sun Fire B100s blade server Solaris 8 HW 3/03 or HW 7/03 operating system or subsequent compatible version
  • Sun Fire B1600 SC (system controller) 1.2 or subsequent compatible system controller firmware

* The version number displayed from the showplatform -v command from the Sun Fire B1600 SC CLI printout refers to the BSC firmware version. The application software version is observed using the console show version command.Table listing the hardware and software requirements for the Sun Fire B10n blade.


Product Features

Key Features

Server Selection Algorithms

Supported Protocols

The Sun Fire B10n blade uses the following protocols for its services or management functions:

Diagnostic Support


The Role of the Content Load Balancing Blade

The Sun Fire B10n blade is a component within a larger system ultimately delivering highly available network services to a client population over an IP-based network. This section describes the role of such a highly integrated content load balancer within the larger system.

The minimal set of components comprising the system encompasses:

Additionally, the system may have:

In general terms, the intra-shelf network topology formed by connecting the Sun Fire B1600 system components is either a single or a dual redundant Layer 2 topology with blades "one-arm" connected to each of the switch fabrics. The switch fabric is VLAN partitionable for strict traffic isolation. SSC switches and uplinks can be used for a simple inter-shelf network, or connected to external distribution switches for larger configurations.



Note - This section defines the generic features and functions of the Sun Fire B10n blade. For more information about a specific firmware release, refer to the Sun Fire B10n Content Load Balancing Blade Release Notes.



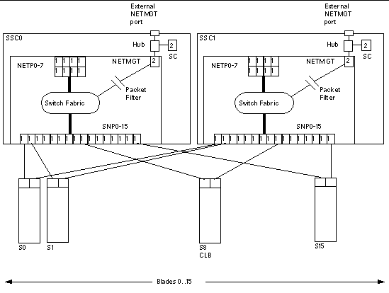
  FIGURE 1-2 Ethernet Ports and Interfaces on the B1600 System Chassis and their Default VLAN Numbers

Illustration depicting the Ethernet ports
 and interfaces on the Sun Fire B1600 system chassis and their default VLAN numbers.

FIGURE 1-2 shows the intra-shelf network, where a Sun Fire B10n blade (shown in slot S8) can reside in any slot (S0 through S15) and connect to both SSC0 and SSC1 switch fabrics. The uplinks are labeled NETP0 through NETP7.

The numerals associated with each port (either 1 or 2), represent the VLAN numbers programmed into the system by default. The numbers indicate that there is one data VLAN (1), and one management VLAN (2). Further VLAN partitioning might be desirable as shown in FIGURE 1-3. The actual VLAN-ID assignment can be coordinated with the VLANs used in the external switches, or its scope can be limited to the internal switches, by keeping the uplinks as untagged VLANs.

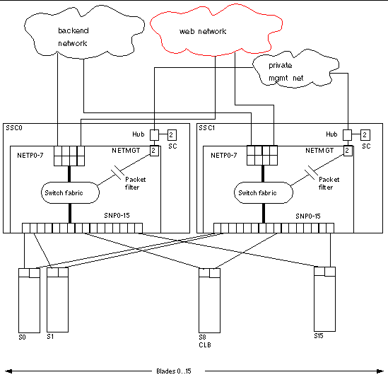
  FIGURE 1-3 A Dedicated Management Network and Web Server Network Isolated from the Backend Network

Illustration depicting a dedicated management network and web server network isolated from the backend network.

The role of the content load balancer is to present a set of highly available network services. These services can be transported over http, TCP, or UDP, and are addressable through one or more Virtual IP addresses (VIPs), that the content load balancer is responsible for:

VIPs are the routable IP addresses that clients obtain for the service though DNS lookups. A VIP address is "owned" by one content load balancer at a given time. VIPs are preserved through the content load balancer all the way to servers. Requests are directed to servers by re-writing their MAC addresses and their VLAN tags (and optionally the TCP/UDP port values).

A service is identified by a 3-tuple comprising the VIP, the Layer 4 protocol value (TCP or UDP), and TCP/UDP destination port. A multi-homed service can be associated with more than one 3-tuple.

Topology Fundamentals

To match the ample switching capacity of the SSC units in the Sun Fire B1600 Blade System the content load balancer solution is designed to direct server responses toward clients without passing through the content load balancer. This enables the outbound capacity of the system to scale in proportion to the number of servers deployed, and to exploit the natural web traffic asymmetry where most of the traffic is server outbound.

To combine the uncompromised Layer 7 service performance with the direct server response, the content load balancing blade relies on a software module in each server. This server module contributes to the solution's high degree of integration by providing other key attributes, for example, path failover functionality.

The Sun Fire B1600 blade system switches are separate networks, leaving the system designer the option to connect them externally and create a symmetrically configured redundant system where every blade is dual-homed, or to leave the switches segregated for a system where full redundancy is either not necessary (or achieved elsewhere in the system hierarchy), and blades are single-homed to separate networks. You can also create intermediate configurations where critical blades (content load balancers, proxies, and so on) reside on shelves with dual switches, but blade servers do not.

When you connect SSC switches to create redundant paths, it is best if:

The above connections help ensure that the SSC switches are indeed leaf switches within the network infrastructure, and enable the content load balancer to use the shortest path within the redundant fabric (that is, the path that involves only one fabric).

FIGURE 1-4 illustrates nine shelves connected using a combination of distribution switches and internal SSC switches. Note that the SSC0 versus SSC1 fabric correspondence is preserved throughout the Layer 2 network, and that the fabrics are interconnected at the distribution switch level. In asymmetrical (capacity and hops) topologies like the one shown, it is also appropriate to house the content load balancing blades in shelves directly connected to the distribution switches.

Routers are shown for completeness as they represents the boundary of the Layer 2 network on the path towards the service clients.

  FIGURE 1-4 Sample Topology: Dual Tree Using External and Internal Switches

Illustration depicts a sample dual-tree topology with nine shelves connected using a combination of distribution switches and internal SSC switches.

The Role of the SSL Proxy Blade

The SSL proxy blade is a companion product to the Sun Fire B10n blade, and as such its role is briefly described in this section. SSL proxy blades are used to:

For every service the content load balancer can be configured with one or more SSL proxy blades supporting the SSL sessions of the given service. SSL requests are delegated by the content load balancer and processed after decryption. Outbound encryption requests are directed from the servers to the corresponding SSL proxy blade without going through the content load balancing blade.

The content load balancing blade, along with its server-side module, are responsible for the appropriate path selection, failover, and VLAN tag selection for SSL traffic. The resulting functionality is summarized by:

This book covers the configuration of SSL services at the content load balancing blade. Refer to the Sun Fire SSL Proxy Blade Administration Guide for more information.

Failover Alternatives

The service availability obtainable from a given system is a function of the intrinsic failure rates of its components and the automatic failover capabilities of the system itself. A system designed around Sun Fire B1600 blade system product family has the following service failover aspects:

1. Server failover--This is the ability of any load balancer to remove non-responsive servers from service groups so that new requests go to functional servers. This capability is based on the server-monitoring function.

2. Path failover--This is the ability of the system to use an alternate network path whenever the current path does not appear to work, because of cable, switch, link, or end-point faults. This type of failover tends to be transparent, in the sense that session state at all endpoints is still valid and usable.

3. Blade failover--This is the ability to deploy content load balancing blades in high availability (HA) pairs that monitor each other. For a given service one of the load balancing blades is a standby blade, identically configured to the active blade, and responsible for taking over in if the active blade fails. SSL devices do not monitor each other, and their failover is rather controlled by the load balancing blade monitoring them as if they were servers.

The system designer can decide which level of failover to design into the system:


Why VLANs Must be Used With the Sun Fire Blades

When using the Sun Fire B10n and SSL proxy blades, VLANs must be used within the Sun Fire B1600 blade system. These VLANs are configured at the SSC switches to create logical groups of endpoints that can communicate as if they were on the same LAN, and equally important, to prevent or restrict traffic between endpoints on separate VLANs.

SSL proxy blades are configured to enforce the separation and direction of client side vs. server side VLANs. The content load balancer and the SSL proxy blade cooperate to enforce the association between the operation performed (encryption vs. decryption) with the allowed direction to and from client VLAN.

Switches are responsible for VLAN separation enforcement, based on the VLAN Identifiers present on Ethernet packets (explicitly or implicitly), as well as the physical ingress and egress switch ports involved.

The scope of the VLANs may be confined to the Sun Fire B1600 shelves while keeping all the uplinks VLAN untagged, or alternatively tagging may be enabled in the SSC uplinks to extend VLANs through the external switch infrastructure; in this case the VLAN ID assignment must be consistent with the external switch/router infrastructure VLAN assignments.

The minimal set of VLANs recommended for a proxy blade system are:

TABLE 1-1 presents how the different VLAN assignments and the Sun Fire content load balancer and proxy blade duties accomplish the desired security outcome.

TABLE 1-1 VLAN Based Security

VLAN Involved

Requirement

Action

Management VLAN

  • Confine the Sun Firetrademark SSL proxy management to a management VLAN
  • Sun Fire SSL proxy only accepts management traffic on its management VLAN

Server side VLAN for secure traffic in its cleartext form

  • Confine SSL traffic before encryption and after decryption to a VLAN
  • Server side VLANs configured at SSC for secure traffic includes just the relevant server(s), content load balancing blades, and SSL proxy blades.
  • Content load balancing blade responsible for transferring from client side VLAN to server side VLAN on ingress.
  • SSL proxy blade responsible for transferring from server side VLAN to client side VLAN on egress at encryption time.
  • Content load balancing module uses client side VLAN for cleartext egress traffic vs. server side VLAN for secure traffic in cleartext form.

Client side VLAN

  • Prevent spoofing of traffic to be encrypted/decrypted
  • SSL proxy blade never encrypts/decrypts traffic arriving on client side VLAN.

The above actions, assigned to the different system components, must be complemented with the appropriate VLAN configuration at the SSC's and possibly other switches involved. The exact configuration scheme for the switches depends on how the uplinks are used and whether physical or VLAN separation is used.

In a multi-tenant environment it is appropriate to separate traffic based on the service 3-tuple. A VLAN Identifier can be assigned by the content load balancing blade to identify the tenant (that is, the service owner), and thus ensure that its requests can only go to the specified tenant servers. In combination with the server side VLAN configuration, you can use VLANs to separate:


System Integration

Although this book describes the administration of the Sun Fire B10n blade at the lowest possible level, you may want to approach system integration (that is via CLI and scripting), it is certainly possible and desirable to achieve higher levels of integration abstraction with other Sun software products like N1 deployment, and SunOne Web and Portal Servers.

When considering system integration, the main Sun Fire B10n blade considerations are:


Usage Overview

The Sun Fire B10n blade has two levels of user access:

Command Modes

Some of the commands are accessible only with the right user access level. Even within a single user access level, there are different command modes.

The examples in this book use the following format:

hostname(command_mode){username}# command

For example:

puma{guest}# show user