Information About Hardware

This section describes the special instructions and the issues about the SPARC Enterprise M8000/M9000 server hardware.


Notes on the Use of 200V Power Supply

For servers that have the B-type plug, confirm that a 30A overcurrent protection device is available outside the server. If one is not available, prepare an external 30A overcurrent protection that can be achieved by means of no-fuse breakers (NFBs) or fuses. The B-type plug refers to plugs other than grounding-type ones with two parallel blades, such as the NEMA L6-30, L6-20, L6-15, and L5-15.


Hardware Issues and Workarounds

DVD Drives and cfgadm

The Solaris cfgadm(1M) command does not always unconfigure a DVD drive from a domain on SPARC Enterprise M8000/M9000 servers.

Disable the Volume Management Daemon (vold) before unconfiguring a DVD drive with the cfgadm(1M) command. To disable vold, stop the daemon by issuing the command /etc/init.d/volmgt stop. After the device has been removed or inserted, restart the daemon by issuing the command /etc/init.d/volmgt start.

Sun Crypto Accelerator 6000 Cards

If you are not using the correct version of the Sun Crypto Accelerator (SCA) 6000 card driver, hot-plug operations on SCA 6000 cards can cause SPARC Enterprise M8000/M9000 servers to panic or hang. Version 1.1 of the SCA6000 driver and firmware supports hot-plug operations after the required bootstrap firmware upgrade has been performed. Version 1.0 of the SCA6000 driver does not support hot-plug and should not be used.


Hardware Documentation Updates

This section contains late-breaking hardware information and corrections that became known after the documentation set was published.

TABLE 3 lists known documentation updates.


TABLE 3 Hardware Documentation Updates

Title

Page Number

Update

SPARC Enterprise M8000/M9000 Server Site Planning Guide

3-14

TABLE 3-8 “Specifications (Single-Phase Power Supply

Connections)”

It describes the Plug geometry of SPARC Enterprise M8000/M9000 Servers for Japan as “NEMA L6-30R” which should be modified as “NEMA L6-30P.”

The following note will be added.

Note - For servers that have the B-type plug, confirm that a 30A overcurrent protection device is available outside the server. If one is not available, prepare an external 30A overcurrent protection that can be achieved by means of no-fuse breakers (NFBs) or fuses. The B-type plug refers to plugs other than grounding-type ones with two parallel blades, such as the NEMA L6-30, L6-20, L6-15, and L5-15.

SPARC Enterprise M8000/M9000

Server Installation Guide

2-4

TABLE 2-3 "Power Supply Connection Specifications"

The following note will be added.

Note - For servers that have the B-type plug, confirm that a 30A overcurrent protection device is available outside the server. If one is not available, prepare an external 30A overcurrent protection that can be achieved by means of no-fuse breakers (NFBs) or fuses. The B-type plug refers to plugs other than grounding-type ones with two parallel blades, such as the NEMA L6-30, L6-20, L6-15, and L5-15.

 

3-36
3-42

3.4.3 “Connecting Cables Between XB Units”

The following caution will be added.

Caution - If you are unable to prepare a torque screwdriver, secure the clock cable connectors by hand. Do not secure them with a regular screwdriver.

SPARC Enterprise M8000/M90000 Servers Service Manual

6-31

Please replace “single-rank” with “1 rank” and “dual-rank” with “2 rank” in the text.

 

16-6
17-7

The following caution will be added.

Caution - If you are unable to prepare a torque screwdriver, secure the clock cable connectors by hand. Do not secure them with a regular screwdriver.

SPARC Enterprise M8000/M9000 Servers Service Manual

C-3

Section C.4, “SAS Port,” will be deleted.


Updates of the SPARC Enterprise M8000/M9000 Servers Site Planning Guide

The following information supersedes the information in the SPARC Enterprise M8000/M9000 Servers Site Planning Guide.

The table here corrects TABLE 3-1, "Ambient Environmental Requirements," in Section 3.1.1, "Ambient Environmental Requirements".


TABLE 4 Ambient Environmental Requirements

Operating Range

Non-Operating Range

Optimum

Ambient

temperature

5˚C to 35˚C

(41˚F to 95˚F)

Unpacked:

0˚C to 50˚C (32˚F to 122˚F)

Packed:

-20˚C to 60˚C (-4˚F to 140˚F)

21˚C to 23˚C

(70˚F to 74˚F)

Relative

humidity[1]

20% RH to 80% RH

to 93% RH

45% RH to 50%

RH

Altitude

restriction[2]

3,000 m (10,000 ft)

12,000 m (40, 000 ft)

 

Temperature

conditions

5 to 32 (41 to 89.6) at an installation altitude ranging from 0 to less than 1500 m (4921 feet) above sea level

 

5 to 30 (41 to 86) at an installation altitude ranging from 1500 m (4921 feet) to less than 2000 m (6562 feet) above sea level

 

5 to 28 (41 to 82.4) at an installation altitude ranging from 2000 m (6562 feet) to less than 2500 m (8202 feet) above sea level

 

5 to 26 (41 to 78.8) at an installation altitude ranging from 2500 m (8202 feet) to 3000 m (9843 feet) above sea level

 

 


 

 

Updates of the SPARC Enterprise M8000/M9000 Servers Overview Guide

The following information supersedes the information in the SPARC Enterprise M8000/M9000 Servers Overview Guide.

The table here corrects TABLE 1-4, "Ambient Environmental Requirements," in Section 1.2.3, "Ambient Environmental Requirements".


TABLE 5 Ambient Environmental Requirements

Operating Range

Non-Operating Range

Optimum

Ambient

temperature

5˚C to 35˚C

(41˚F to 95˚F)

Unpacked:

0˚C to 50˚C (32˚F to 122˚F)

Packed:

-20˚C to 60˚C (-4˚F to 140˚F)

21˚C to 23˚C

(70˚F to 74˚F)

Relative

humidity[3]

20% RH to 80% RH

to 93% RH

45% RH to 50%

RH

Altitude

restriction[4]

3,000 m (10,000 ft)

12,000 m (40, 000 ft)

 

Temperature

conditions

5 to 32 (41 to 89.6) at an installation altitude ranging from 0 to less than 1500 m (4921 feet) above sea level

 

5 to 30 (41 to 86) at an installation altitude ranging from 1500 m (4921 feet) to less than 2000 m (6562 feet) above sea level

 

5 to 28 (41 to 82.4) at an installation altitude ranging from 2000 m (6562 feet) to less than 2500 m (8202 feet) above sea level

 

5 to 26 (41 to 78.8) at an installation altitude ranging from 2500 m (8202 feet) to 3000 m (9843 feet) above sea level

 

 


 

Updates of the SPARC Enterprise M8000/M9000 Servers Service Manual

The following information supersedes the information in the SPARC Enterprise M8000/M9000 Servers Service Manual.

Maintenance Tools

The table here corrects TABLE 1-1, “Maintenance Tools,” in Section 1.4, “Required Maintenance Tools”, page 1-10.


TABLE 1-1 Maintenance Tools

No

Name

Use

1

Torque wrench [8.24 Nm (84 kgf cm)]

Used to connect the expansion cabinet and power cabinet

2

Sockets for 10mm (M6) and 13mm (M8) torque wrench [8.24 Nm (84 kgf cm)]

Used to connect the expansion cabinet and power cabinet

3

Torque wrench extension

 

4

Torque screwdriver [0.2 Nm (2.0 kgf cm)]

Used to secure clock cables between the cabinets if the expansion cabinet of the SPARC Enterprise M9000 server is mounted

5

Slotted bit [0.2 Nm (1.0 kgf cm)]

Used to secure clock cables between the cabinets if the expansion cabinet of the SPARC Enterprise M9000 server is mounted

6

Wrist strap

For antistatic purposes

7

Conductive mat

For antistatic purposes

8

CPU module replacement tool

For mounting and removing CPU Modules (accessory)

9

SunVTS

Test program


Powering the Server Off From the Maintenance Terminal

The description here corrects "From the Maintenance Terminal" in Section 1.4.4, "Powering the Server Off".

1. Notify users that the server is going down.

2. Back up the system files and data as necessary.

3. Log into the XSCF Shell and type the poweroff command


XSCF> poweroff -a

The following activities occur when the poweroff command is used:

For details of the command, see the XSCF Reference Manual for your server.

4. Switch off all main line switches of the AC section.



caution icon Caution - There is an electrical hazard if the power cords are not disconnected. All power cords must be disconnected to completely remove power from the server.


Explanation of DIMM Information

The figure here corrects FIGURE 6-20, “Explanation of DIMM Information,” on page 6-31 in Section 6.4.2.1, “Confirmation of DIMM Information.” The corrected figure is as follows.

FIGURE 6-20 shows an example of how to read the DIMM information displayed in the Type field.

FIGURE 6-20 Example of DIMM Information


Mounting the PCI Card

The description here corrects step 9 on page 13-10 in Section 13.2, “Active Replacement,” of Chapter 13, “PCI Slot Device Replacement.”

9. Mount the replacement PCI card on the PCI cassette. (Perform this work on the conductive mat.)

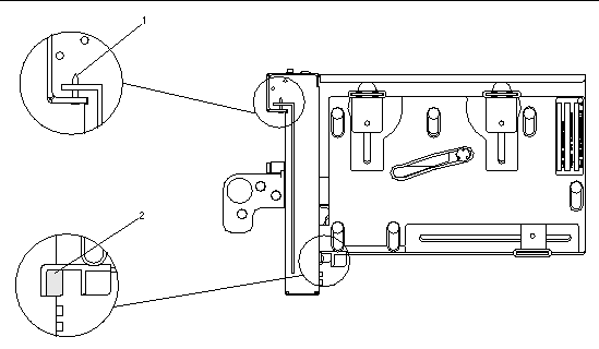
FIGURE 13-6 shows card positioning post and card positioning tab.


FIGURE 13-6 Card positioning post and card positioning tab

 


TABLE 13-1 Card positioning post and card positioning tab

Item

Description

1

Card positioning post

2

Card positioning tab


The post (item 1 in FIGURE 13-6) is seated in the notch of the bracket of the PCI card. If the post is not properly seated in the notch, the mounting bracket of the card may be bent and the card may end up being affixed in an inclined position on the PCI cassette. If a card is affixed in an inclined position, it will not be in proper electric contact with the socket on the IOU.

The tab (item 2 in FIGURE 13-6) fits in the notch on the lower part of the PCI card. This tab is helpful in positioning the card when it is mounted on the PCI cassette (however, some types of cards do not have the notch).



Note - When the PCI cassette is removed from the IOU, the tab raises the front of the card from the card connector.


a. Move the PCI card in the direction of the arrow, and mount it on the PCI cassette by inserting the part projecting out at the bottom of the bracket of the PCI card into the hole at the bottom of the front panel of the PCI cassette and inserting the pin of the PCI cassette into the oval hole at the top of the bracket of the PCI card.


FIGURE 13-7 Mounting the PCI Card

b. Push the PCI card until the notched part on the base plate of the PCI card touches the card-positioning tab from the PCI cassette.



Note - When fixing the PCI card in position after aligning it with the card positioning tab, do so while pulling the lever about 2 cm from the frame.


c. Align the PCI card with the center part of the lower latch of the cassette. Then, while pressing the PCI card against the center part of each of the upper latches of the cassette, tighten the fixing screws in the sequence shown in FIGURE 13- 8 to fix the card in position.



Note - To ensure that the PCI card is properly mounted, you need to confirm that the PCI card base is properly centered at the latches and securely fastened in position (FIGURE 13-9 reference).

To shift the location of the bottom screw for the PCI card, first secure the card at the lower latch (part a in FIGURE 13-8). Then, tighten the fixing screws in the sequence shown in FIGURE 13-8 to fix the card in position.



FIGURE 13-8 Sequence of Fixing the PCI Card in Position



caution icon Caution - If the card is short, move the screw at the bottom of the cassette as required. In such cases, place the latches as close as possible to the far end of the card.



FIGURE 13-9 Latch Positions at the Bottom of the Cassette

 


1 (TableFootnote) There is no condensation regardless of the temperature and humidity.
2 (TableFootnote) All altitudes are above sea level.
3 (TableFootnote) There is no condensation regardless of the temperature and humidity.
4 (TableFootnote) All altitudes are above sea level.