| C H A P T E R 3 |
|
Installing the Server Into a Rack With Slide-Rails |
This chapter describes how to place the server into a rack using the rail assembly in the rackmount kit. Perform this procedure if the rail assembly is purchased.
This chapter includes the following topics:
| Note - In this guide, the term rack means either an open rack or a closed cabinet. |
Read the following overview and see the service label on the top cover before you begin to install the server into a rack.
To install your server into a four-post rack using the slide-rail and cable management arm options, perform the following tasks in the order listed.
1. Checking Rack Compatibility
3. Installing the Mounting Brackets Onto the Server
4. Installing the Cable Management Arm
5. Verifying Operation of the Slide-Rails and CMA
The server might include either tool-less or bolt-on rail assemblies in rackmount kits. Instructions for both types are included in this chapter.
Refer to the service label on the server top cover for instructions on how to install your server into a four-post rack, using the slide-rail and cable management arm options. The service label includes instructions for both tool-less and bolt-on rail assemblies.
Check that your rack is compatible with the slide-rail and cable management arm (CMA) options. The optional slide-rails are compatible with a wide range of equipment racks that meet the following standards.
|
Four-post rack (mounting at both front and rear). Two-post racks are not compatible. |
|
|
Distance to front cabinet door is at least 25.4 mm
|
|
|
Distance to rear cabinet door is at least 800 mm (31.5 inches) with the cable management arm, or 700 mm (27.5 inches) without the cable management arm. |
|
|
Distance between structural supports and cable troughs is at least 456 mm (18 inches). |
|
|
See TABLE 3-1 for server dimensions. |
|
Caution - Elevated Operating Ambient Temperature: If the server is installed in a closed or multi-unit rack assembly, the operating ambient temperature of the rack environment might be greater than room ambient temperature. Therefore, consideration should be given to installing the equipment in an environment compatible with the maximum ambient temperature (Tma) specified for the server. For server environmental requirements, see Environmental Requirements. |
|
Caution - Reduced Air Flow: Installation of the equipment in a rack should be such that the amount of air flow required for safe operation of the equipment is not compromised. |
|
Caution - Mechanical Loading: Mounting of the equipment in the rack should be such that a hazardous condition is not achieved due to uneven mechanical loading. |


Complete one of the following procedures before installation:
|
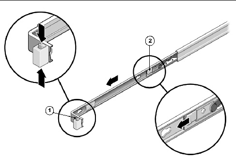
To remove the mounting brackets from the bolt-on slide-rail assemblies:
2. Locate the slide-rail lock at the front of one of the slide-rail assemblies, as shown in FIGURE 3-1.
3. Squeeze and hold the tabs at the top and bottom of the lock while you pull the mounting bracket out of the slide-rail assembly until it reaches the stop (see FIGURE 3-1).
4. Push the mounting bracket release button toward the front of the mounting bracket, as shown in FIGURE 3-1, and simultaneously withdraw the mounting bracket from the slide-rail assembly.
5. Repeat for the remaining slide-rail assembly.
FIGURE 3-1 Disassembling the Bolt-On Slide-Rail Before Installation
|
To remove the mounting brackets from the tool-less slide-rail assemblies, refer to the installation card instructions included with the rackmount kit.
You must install the mounting brackets onto the server before you can rackmount the server.
|
To install the mounting brackets onto the sides of the server:
1. Position a mounting bracket against the chassis so that the slide-rail lock is at the server front, and the four keyed openings on the mounting bracket are aligned with the four locating pins on the side of the chassis.
FIGURE 3-2 Aligning the Mounting Bracket With the Server Chassis
2. With the heads of the four chassis locating pins protruding though the four keyed openings in the mounting bracket, pull the mounting bracket toward the front of the chassis until the mounting bracket clip locks into place with an audible click (see FIGURE 3-2).
3. Verify that the rear locating pin has engaged the mounting bracket clip (see FIGURE 3-2).
4. Repeat to install the remaining mounting bracket on the other side of the server.
Complete one of the following procedures to attach the slide-rail assemblies to the rack:
|
To attach bolt-on slide-rail assemblies to the rack:
1. Position a slide-rail assembly in your rack so that the brackets at each end of the slide-rail assembly are on the outside of the front and rear rack posts (see FIGURE 3-3).
2. Attach the slide-rail assembly to the rack posts, but do not tighten the screws completely.
Choose one of the following methods to attach the slide-rails. The method you use varies, depending on the type of rack:
FIGURE 3-3 Attaching Slide-Rail Assembly to Rack Post
3. Repeat Step 1 and Step 2 for the remaining slide-rail assembly.
4. From the front of the rack, set the proper width of the rails with the spacer (see FIGURE 3-4).
FIGURE 3-4 Setting the Rail Width
5. Tighten the screws on both brackets.
6. Remove the spacer and confirm that the rails are attached tightly to the rack.
7. Repeat Step 4 through Step 6 for the side-rail assembly at the rear of the rack.
8. If available, extend the anti-tip bar at the bottom of the rack (see FIGURE 3-5).
FIGURE 3-5 Extending the Anti-tip Bar
|
Caution - If your rack does not have an anti-tip bar, the rack could tip over. |
|
To attach tool-less slide-rail assemblies to the rack, refer to the installation card instructions included with the rackmount kit.
Use this procedure to install the server chassis, with mounting brackets, into the slide-rail assemblies that are mounted to the rack.
|
Caution - This procedure requires a minimum of two people because of the weight of the server. Attempting this procedure alone could result in equipment damage or personal injury. |
|
1. Push the slide-rails into the slide-rail assemblies in the rack as far as possible.
2. Raise the server so that the rear ends of the mounting brackets are aligned with the slide-rail assemblies that are mounted in the equipment rack (see FIGURE 3-6).
3. Insert the mounting brackets into the slide-rails, then push the server into the rack until the mounting brackets encounter the slide-rail stops (approximately 12 inches, or 30 cm).
FIGURE 3-6 Inserting the Server With Mounting Brackets Into the Slide-Rails
4. Simultaneously push and hold the slide-rail release buttons on each mounting bracket while you push the server into the rack (see FIGURE 3-7). Continue pushing until the slide-rail locks (on the front of the mounting brackets) engage the slide-rail assemblies.
You will hear an audible click.
FIGURE 3-7 Sliding the Server Back Into the Rack
|
Caution - Verify that the server is securely mounted in the rack and that the slide-rail locks are engaged with the mounting brackets before continuing. |
The cable management arm (CMA) is an optional assembly that you can use to route the server cables in the rack.
|
Use this procedure to install the optional CMA (see FIGURE 3-8).
FIGURE 3-8 Cable Management Arm (CMA)
2. Take the CMA to the back of the equipment rack and ensure that you have adequate room to work around the back of the server.
| Note - References to “left” or “right” in this procedure assume that you are facing the back of the equipment rack. |
3. Remove tape to separate parts.
The CMA rail extension might be taped to the CMA arm.
4. Attach the CMA rail extension into the left slide-rail until the extension locks into place with an audible click (see FIGURE 3-9).
FIGURE 3-9 Inserting the CMA Rail Extension Into the Back of the Left Slide-Rail
5. Verify that the CMA rail extension engages the slide-rail (see FIGURE 3-10).
FIGURE 3-10 Engaging the CMA Rail Extension With the Left Slide-Rail
| Note - Support the CMA in the remaining installation steps. Do not allow the arm to hang by its own weight until it is secured by all three attachment points. |
6. Insert the CMA’s mounting bracket connector into the right slide-rail until the connector locks into place with an audible click (see FIGURE 3-11).
FIGURE 3-11 Inserting the CMA Mounting Bracket Into the Back of the Right Slide-Rail
7. Insert the right CMA slide-rail connector into the right slide-rail assembly until the connector locks into place with an audible click (see FIGURE 3-12).
FIGURE 3-12 Inserting CMA Slide-Rail Connector Into the Back of the Right Slide-Rail Assembly
8. Insert the left CMA slide-rail connector into the rail extension on the left slide-rail assembly until the connector locks into place with an audible click (see FIGURE 3-13).
FIGURE 3-13 Connecting the CMA to the Rail Extension Connector
9. Install and route cables to your server, as required.
| Note - Instructions for installing the server cables are provided in Connecting the Cables. |
10. Attach the cable hook and loop straps to the CMA, and press them into place to secure the cables (see FIGURE 3-14).
For best results, place three cable straps, evenly spaced, on the rear-facing side of the CMA and three cable straps on the side of the CMA nearest the server.
FIGURE 3-14 Installing CMA Cable Straps
Use the following procedure to ensure that the slide-rails and CMA are operating correctly.
|
| Note - Two people are recommended for this procedure: one to move the server in and out of the rack, and one to observe the cables and CMA. |
1. Slowly pull the server out of the rack until the slide-rails reach their stops.
2. Inspect the attached cables for any binding or kinks.
3. Verify that the CMA extends fully from the slide-rails.
4. Push the server back into the rack, as described in the following sub-steps.
When the server is fully extended, you must release two sets of slide-rail stops to return the server to the rack:
a. The first set of stops are levers, located on the inside of each slide-rail, just behind the back panel of the server. These levers are labeled “PUSH.” Push in both levers simultaneously and slide the server toward the rack.
The server will slide in approximately 18 inches (46 cm) and stop.
Verify that the cables and the CMA retract without binding before you continue.
b. The second set of stops are the slide-rail release buttons, located near the front of each mounting bracket (see FIGURE 3-7). Simultaneously push or pull both of the slide-rail release buttons, and push the server completely into the rack until both slide-rail locks engage.
5. Adjust the cable straps and CMA, as required.
Copyright © 2009 Sun Microsystems, Inc. All rights reserved.