| C H A P T E R 2 |
|
Installing Trays |
Use the procedures in this chapter to install trays in a cabinet. The number of trays you need to install depends on your overall storage requirements. You can install a maximum of seven trays, one controller tray and up to six expansion trays, for each array.
This chapter describes the process of installing the Sun StorageTek 6140 array. It contains the following sections:
The installation procedures in this chapter require the following items:
Use the following procedures to prepare for installation:
Use the universal rail kit to mount the Sun StorageTek 6140 array trays in any of the following cabinets:
Unpack the universal rail kit and check the contents.
The universal rail kit (part number 594-2489-02) contains the following items:
|
Note - Typically, the main and extender pieces of both the left and right rails are shipped pre-assembled. |
The mounting hardware required for each rack or cabinet type is listed in the following table:
*For cabinet installations with M5 or 12-24 threaded cabinet rails, the following screws are not supplied. You must acquire these to match the threading requirements of your cabinet rails:
**For cabinet installations with unthreaded cabinet rails, the following hardware is not supplied. You must acquire these to match the requirements of your cabinet rails:
To loosen the adjustment screws on the left and right rails:
Using the #2 Phillips screwdriver, loosen the four rail adjustment screws on each rail to allow adjustment of each rail length (FIGURE 2-1).
|
Note - The rails are preconfigured to adjust to cabinet rail depths of between 26.18 inches (664.97 mm) and 28.93 inches (734.82 mm). For cabinet rail depths outside of this range, remove and reposition the four rail adjustment screws (FIGURE 2-1) to support your required rail length. |
|
Caution - Two people are needed to lift and move the tray. Use care to avoid injury. A tray can weigh up to 95 pounds (43 kg). Do not lift the front of the tray; this can cause damage to the drives. |

2. Check the contents of the box for the following items:
Select the cabinet in which you will be installing the array. Be sure the cabinet is installed as described in the installation instructions provided with it.
1. Stabilize the cabinet as described in the cabinet documentation.
2. If the cabinet has casters, make sure the casters are locked to prevent the cabinet from rolling.
3. Remove or open the top front panel.
4. Remove or open the vented back panel.
Install the trays starting with the controller tray at the lowest available 3RU tray slot in the cabinet. Next, install the expansion trays for the first controller tray. If room remains in the cabinet, repeat for the next controller and expansion trays.
Starting at the bottom distributes the weight correctly in the cabinet.
Depending on the type of cabinet in which you will install the tray, use one of the following procedures to attach the rails:
This procedure describes the steps to attach the universal rail kit to:
To attach the universal rail kit to a cabinet with M5 or 12-24 threaded cabinet rails:
1. Position the front of the left rail behind the left front cabinet rail (FIGURE 2-2).
2. Use the #2 Phillips screwdriver to insert and tighten two 8-32 screws to secure the left rail to the front of the cabinet (FIGURE 2-3).
Each array requires three standard mounting units (3RU) of vertical space in the cabinet. Each standard mounting unit (U) has three mounting holes in the left and right cabinet rails. Insert the screws into the lowest holes in the top two mounting units of the 3RU slot in which the tray is to be mounted.
These screws pass through the cabinet rail holes and screw into threaded holes in the left rail.
3. Repeat Step 1 and Step 2 for the right rail.
4. At the back of the cabinet, adjust the length of the left rail as needed to fit the cabinet, and position the rail flange over the face of the cabinet rail (FIGURE 2-4).
5. Align the rail flange so that the mounting holes correspond to those at the front of the cabinet.
6. Depending on the type of cabinet you have, do one of the following (FIGURE 2-5):
7. Repeat Step 4, Step 5, and Step 6 for the right rail.
8. Using the #2 Phillips screwdriver, tighten the eight adjustment screws (four on each side) toward the back of each rail (FIGURE 2-6).
This procedure describes the steps to attach the universal rail kit to:
To attach the universal rail kit to a Sun StorEdge Expansion or Sun Fire cabinet, follow these steps first for the left rail and then for the right rail:
1. In each of the four inner mounting rails, insert a 10-32 screw in the center hole of the mounting unit of the 3RU slot in which the tray is to be mounted (FIGURE 2-7).
Do not tighten at this time. You will hang the side rails on these screws.
2. Hang the rail by aligning the large slots of the rail over the front and back screws and then pulling the rail down so that each screw is at the top of the slot (FIGURE 2-8).
3. Adjust the length of the rail to fit the cabinet.
4. Using the #2 Phillips screwdriver, insert two 10-32 screws in the lower side mounting holes for the rail (FIGURE 2-9).
The hole corresponds to the center hole of the middle mounting unit of the 3RU slot in which the rail is installed.
5. Use the #2 Phillips screwdriver to insert and tighten two 8-32 screws to secure the rail to the front of the cabinet (FIGURE 2-10).
These screws pass through the cabinet rail holes and screw into threaded holes in the front of the rails.
Insert the screws into the lowest holes in the top two mounting units of the 3RU slot in which the tray is to be mounted.
6. Tighten all screws on the rail.
This procedure describes the steps to attach the universal rail kit to:
To attach the universal rail kit to a cabinet with unthreaded cabinet rails, follow these steps first for the left rail and then for the right rail:
1. Snap two cage nuts over the middle holes in the upper and lower mounting units of the 3RU cabinet slot in which you will mount the tray (FIGURE 2-11).
2. Hook a cabinet rail adapter plate over the front of the cabinet rail. (FIGURE 2-12)
Position the adapter plate over of the 3RU slot in which the tray is to be mounted.
3. Use the #2 Phillips screwdriver to insert and tighten two 8-32 screws to secure the rail to the front of the cabinet (FIGURE 2-13).
These screws pass through the unthreaded inner holes of the cabinet rail adapter plate and screw into the threaded holes in the front of the mounting rail.
4. On the corresponding cabinet rail at the back of the cabinet, snap one cage nut over the lowest hole in the middle mounting unit of the 3RU cabinet slot in which you will mount the tray (FIGURE 2-14).
5. At the back of the cabinet, adjust the length of the rail as needed to fit the cabinet, and position the rail flange over the face of the cabinet rail (FIGURE 2-15).
6. Insert and tighten a screw appropriate for the cage nut to secure the rail to the back cabinet rail (FIGURE 2-16).
The screw passes through the lower unthreaded inner hole of the mounting rail and screws into the threaded hole of the cage nut.
Install the controller tray in the first empty 3RU slot at the bottom of the cabinet. If you are installing expansion trays, continue installing the trays from the bottom up.
1. Using two people, one at each side of the tray, carefully lift and rest the tray on the bottom ledge of the left and right rails (FIGURE 2-17).
|
Caution - Use care to avoid injury. A tray can weigh up to 95 pounds (45 kg). |
2. Carefully slide the tray into the cabinet until the front flanges of the tray touch the vertical face of the cabinet (FIGURE 2-18).
3. Depending on the type of cabinet you have, do one of the following:
4. Install and tighten two 6-32 screws (one per side) at the back of the tray, to secure the back of the tray to the cabinet (FIGURE 2-21).
|
Note - The two upper holes on the back of the tray are not used. |
1. Verify that both power switches are off for each tray in the cabinet.
2. Connect each power supply in the tray to a separate power source in the cabinet.
3. Connect the primary power cables from the cabinet to the external power source.
|
Note - Do not power on the array until you complete the procedures in this chapter. The power-on sequence is described in detail in Chapter 3. |
This section describes how to cable a controller tray to expansion trays for several different configurations. The controller tray uses Controller A and Controller B expansion ports to connect to FC-AL ports at the back of each expansion tray (FIGURE 2-22).
The configuration naming convention is "controllers x trays" where the first number is the controller tray and the second is the sum of the controller tray and the number of expansion trays. wFor example, 1x1 is a standalone controller tray, 1x2 is the controller tray and one expansion tray, and 1x7 is the controller tray and 6 expansion trays (TABLE 2-1).
Use the following instructions to connect the dual-RAID controller tray to one or more expansion trays.
Each controller in the Sun StorageTek 6140 Array has two expansion channels. For optimal reliability, availability, and serviceability, installation of expansion trays should be divided evenly between the two expansion channels.
If there are an uneven number of expansion trays, such as in a 1x4 and 1x6 array configuration, cable the extra expansion tray in the expansion channels of the two lowest expansion trays in the cabinet. This allows for easier addition of an expansion tray in the future.
A 1x2 array configuration consists of one controller tray and one expansion tray. Two 2-meter copper FC cables are required (530-3327-01).
1. Locate the Controller A and Controller B expansion ports at the back of the controller tray (FIGURE 2-22).
2. Locate expansion ports 1A (In) and 1B (Out) at the A-side and B-side back of the expansion tray (FIGURE 2-22).
3. Connect one FC cable between the Controller B channel 1 expansion port and the B-side port 1B of the expansion tray (FIGURE 2-23).
4. Connect one FC cable between the Controller A channel 1 expansion port and the A-side port 1B of the expansion tray (FIGURE 2-23).
In this configuration, the following expansion ports are not used:
A 1x3 array configuration consists of one controller tray and two expansion trays. Four 2-meter copper FC cables are required (530-3327-01).
1. Locate the Controller A and Controller B expansion ports at the back of the controller tray (FIGURE 2-22).
2. Locate expansion ports 1A (In) and 1B (Out) at the A-side and B-side back of the expansion tray (FIGURE 2-22).
3. Connect one FC cable between the Controller B channel 1 expansion port and the B-side expansion port 1B of expansion tray 1 (FIGURE 2-24).
4. Connect one FC cable between the Controller B channel 2 expansion port and the B-side expansion port 1B of expansion tray 2 (FIGURE 2-24).
5. Connect one FC cable between the Controller A channel 1 expansion port and the A-side expansion port 1B of expansion tray 1 (FIGURE 2-24).
6. Connect one FC cable between the Controller A channel 2 expansion port and the A-side expansion port 1B of expansion tray 2 (FIGURE 2-24).
In this configuration, the following expansion ports are not used:
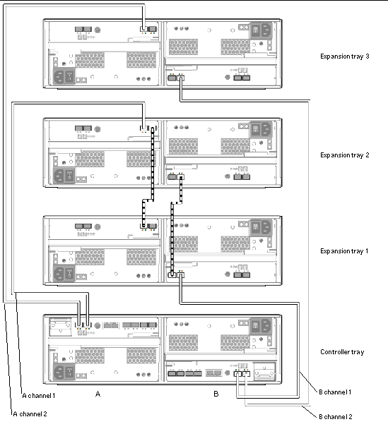
A 1x4 array configuration consists of one controller tray and three expansion trays. Six 2-meter copper FC cables are required (530-3327-01).
1. Locate the Controller A and Controller B expansion ports at the back of the controller tray (FIGURE 2-22).
2. Locate the expansion ports 1A (In) and 1B (Out) at the A-side and B-side back of the expansion tray (FIGURE 2-22).
3. Connect one FC cable between the Controller B channel 1 expansion port and the B-side expansion port 1B of expansion tray 1 (FIGURE 2-25).
4. Connect one FC cable between the Controller B channel 2 expansion port and the B-side expansion port 1B of expansion tray 3 (FIGURE 2-25).
5. Connect one FC cable between the B-side expansion port 1A of expansion tray 1 and the B-side expansion port 1B of expansion tray 2 (FIGURE 2-25).
6. Connect one FC cable between the Controller A channel 1 expansion port and the A-side expansion port 1B of expansion tray 2 (FIGURE 2-25).
7. Connect one FC cable between the Controller A channel 2 expansion port and the A-side expansion port 1B of expansion tray 3 (FIGURE 2-25).
8. Connect one FC cable between the A-side expansion port 1B of expansion tray 1 and the A-side expansion port 1A of expansion tray 2 (FIGURE 2-25).
In this configuration, the following expansion ports are not used:
A 1x5 array configuration consists of one controller tray and four expansion trays. Eight 2-meter copper FC cables are required (530-3327-01).
1. Locate the Controller A and Controller B expansion ports at the back of the controller tray (FIGURE 2-22).
2. Locate the expansion ports 1A (In) and 1B (Out) at the A-side and B-side back of the expansion tray (FIGURE 2-22).
3. Connect one FC cable between the Controller B channel 1 expansion port and the B-side expansion port 1B of expansion tray 1 (FIGURE 2-26).
4. Connect one FC cable between the B-side expansion port 1A of expansion tray 1 and the B-side expansion port 1B of expansion tray 2 (FIGURE 2-26).
5. Connect one FC cable between the Controller B channel 2 expansion port and the B-side expansion port 1B of expansion tray 3 (FIGURE 2-26).
6. Connect one FC cable between the B-side expansion port 1A of expansion tray 3 and the B-side expansion port 1B of expansion tray 4 (FIGURE 2-26).
7. Connect one FC cable between the Controller A channel 1 expansion port and the A-side expansion port 1B of expansion tray 2 (FIGURE 2-26).
8. Connect one FC cable between the A-side expansion port 1A of expansion tray 2 and the A-side expansion port 1B of expansion tray 1 (FIGURE 2-26).
9. Connect one FC cable between the Controller A channel 2 expansion port and the B-side expansion port 1B of expansion tray 4 (FIGURE 2-26).
10. Connect one FC cable between the A-side expansion port 1A of expansion tray 4 and the A-side expansion port 1B of expansion tray 3 (FIGURE 2-26).
In this configuration, the following expansion ports are not used:
A 1x6 array configuration consists of one controller tray and five expansion trays. Ten 2-meter copper FC cables are required (530-3327-01).
1. Locate the Controller A and Controller B expansion ports at the back of the controller tray (FIGURE 2-22).
2. Locate the expansion ports 1A (In) and 1B (Out) at the A-side and B-side back of the expansion tray (FIGURE 2-22).
3. Connect one FC cable between the Controller B channel 1 expansion port and the B-side expansion port 1B of expansion tray 1 (FIGURE 2-27).
4. Connect one FC cable between the B-side expansion port 1A of expansion tray 1 and the B-side expansion port 1B of expansion tray 2 (FIGURE 2-27).
5. Connect one FC cable between the B-side expansion port 1A of expansion tray 2 and the B-side expansion port 1B of expansion tray 3 (FIGURE 2-27).
6. Connect one FC cable between the Controller B channel 2 expansion port and the B-side expansion port 1B of expansion tray 4 (FIGURE 2-27).
7. Connect one FC cable between the B-side expansion port 1A of expansion tray 4 and the B-side expansion port 1B of expansion tray 5 (FIGURE 2-27).
8. Connect one FC cable between the Controller A channel 1 expansion port and the A-side expansion port 1B of expansion tray 3 (FIGURE 2-27).
9. Connect one FC cable between the A-side expansion port 1A of expansion tray 3 and the A-side expansion port 1B of expansion tray 2 (FIGURE 2-27).
10. Connect one FC cable between the A-side expansion port 1A of expansion tray 2 and the A-side expansion port 1B of expansion tray 1 (FIGURE 2-27).
11. Connect one FC cable between the Controller A channel 2 expansion port and the B-side expansion port 1B of expansion tray 5 (FIGURE 2-27).
12. Connect one FC cable between the A-side expansion port 1A of expansion tray 4 and the A-side expansion port 1B of expansion tray 4 (FIGURE 2-27).
In this configuration, the following expansion ports are not used:
A 1x7 array configuration consists of the controller tray and six expansion trays. Twelve 2-meter copper FC cables are required (530-3327-01).
1. Locate the Controller A and Controller B expansion ports at the back of the controller tray (FIGURE 2-22).
2. Locate the expansion ports 1A (In) and 1B (Out) at the A-side and B-side back of the expansion tray (FIGURE 2-22).
3. Connect one FC cable between the Controller B channel 1 expansion port and the B-side expansion port 1B of expansion tray 1 (FIGURE 2-28).
4. Connect one FC cable between the B-side expansion port 1A of expansion tray 1 and the B-side expansion port 1B of expansion tray 2 (FIGURE 2-28).
5. Connect one FC cable between the B-side expansion port 1A of expansion tray 2 and the B-side expansion port 1B of expansion tray 3 (FIGURE 2-28).
6. Connect one FC cable between the Controller B channel 2 expansion port and the B-side expansion port 1B of expansion tray 4 (FIGURE 2-28).
7. Connect one FC cable between the B-side expansion port 1A of expansion tray 4 and the B-side expansion port 1B of expansion tray 5 (FIGURE 2-28).
8. Connect one FC cable between the B-side expansion port 1A of expansion tray 5 and the B-side expansion port 1B of expansion tray 6 (FIGURE 2-28).
9. Connect one FC cable between the Controller A channel 1 expansion port and the A-side expansion port 1B of expansion tray 3 (FIGURE 2-28).
10. Connect one FC cable between the A-side expansion port 1A of expansion tray 3 and the A-side expansion port 1B of expansion tray 2 (FIGURE 2-28).
11. Connect one FC cable between the A-side expansion port 1A of expansion tray 2 and the A-side expansion port 1B of expansion tray 1 (FIGURE 2-28).
12. Connect one FC cable between the Controller A channel 2 expansion port and the A-side expansion port 1B of expansion tray 6 (FIGURE 2-28).
13. Connect one FC cable between the A-side expansion port 1A of expansion tray 6 and the A-side expansion port 1B of expansion tray 5 (FIGURE 2-28).
14. Connect one FC cable between the A-side expansion port 1A of expansion tray 5 and the A-side expansion port 1B of expansion tray 4 (FIGURE 2-28).
In this configuration, the following expansion ports are not used:
After you cable all of the trays, you can power on the trays, as described in Chapter 3.
Copyright © 2007, Sun Microsystems, Inc. All Rights Reserved.