In questo capitolo viene fornita un'introduzione alla funzione di installazione Solaris Flash. Vengono inoltre fornite le informazioni necessarie per pianificare un'installazione con Solaris Flash nel proprio ambiente.
La funzione Solaris Flash permette di usare un'unica installazione di riferimento dell'ambiente operativo Solaris su un sistema denominato master. Successivamente, tale installazione può essere replicata su altri sistemi denominati cloni. Per replicare un sistema clone, è possibile eseguire un'installazione iniziale Solaris Flash che sovrascriva tutti i file del sistema, oppure eseguire un aggiornamento Solaris Flash che agisca solo sulle differenze tra due immagini del sistema. Un aggiornamento differenziale modifica solo i file specificati e agisce solo sui sistemi che contengono lo stesso software dell'immagine master originale.
L'installazione iniziale di un sistema master con un archivio Solaris Flash può essere eseguita con qualunque metodo di installazione: Solaris Web Start, metodo JumpStart personalizzato o Solaris Live Upgrade. Questo processo sovrascrive tutti i file. L'installazione Solaris Flash è un processo in cinque fasi.
Installazione del sistema master. Selezionare un sistema e usare uno qualunque dei metodi disponibili per installarvi Solaris e gli altri prodotti software.
(Opzionale) Preparare gli script di personalizzazione da usare per riconfigurare o personalizzare il sistema clone prima o dopo l'installazione.
Creazione dell'archivio Solaris Flash. L'archivio Solaris Flash contiene una copia di tutti i file del sistema master, a meno che non si scelga di escludere alcuni file non essenziali.
Installazione dell'archivio Solaris Flash sui sistemi clone. Quando si installa l'archivio Solaris Flash su un sistema, tutti i file dell'archivio vengono copiati su quel sistema. Il sistema così installato presenta la stessa configurazione del sistema master originale; per questa ragione è denominato sistema clone. Sono possibili alcuni interventi di personalizzazione attraverso l'uso di script.
(Opzionale) Salvare una copia dell'immagine master. Per poter creare in futuro un archivio differenziale, sarà necessario disporre di un'immagine master identica a quella installata sui sistemi clone.
Per istruzioni dettagliate, vedere Installazione del sistema master.
La Figura 17–1 mostra un'installazione iniziale di sistemi clone. Tutti i file vengono sovrascritti.

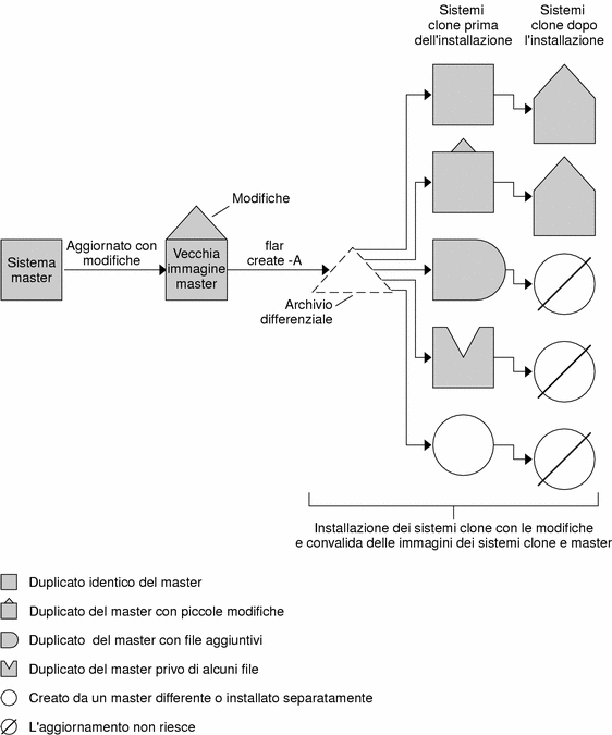
Se si desidera aggiornare un sistema clone, è possibile creare un archivio differenziale contenente solo le differenze tra due immagini, quella master originale e un'immagine master aggiornata. Quando si aggiorna un sistema clone con un archivio differenziale, vengono modificati solo i file contenuti nell'archivio differenziale. Per installare un archivio differenziale su un sistema clone si utilizza il metodo di installazione JumpStart personalizzato. Il processo di aggiornamento si svolge in cinque fasi.
Preparare il sistema master con le modifiche. Per poter apportare le modifiche, è necessario che il sistema master esegua una copia dell'archivio originale.
Se il sistema master non sta eseguendo una copia dell'archivio originale, le differenze tra le due immagini del sistema potrebbero generare un archivio differenziale di grandi dimensioni. L'installazione dell'archivio differenziale potrebbe perciò richiedere molto tempo. In questo caso, può essere preferibile eseguire un'installazione iniziale con un archivio completo.
(Opzionale) Preparare gli script di personalizzazione da usare per riconfigurare o personalizzare il sistema clone prima o dopo l'installazione.
Attivare la directory di una copia dell'immagine master originale salvata. Questa seconda immagine verrà usata per eseguire il confronto con l'immagine aggiornata del sistema. Per accedere all'immagine si possono usare i metodi seguenti:
Attivare l'immagine da un ambiente di boot Solaris Live Upgrade
Attivare l'immagine da un sistema clone via NFS
Ripristinare l'immagine da un backup usando il comando ufsrestore.
Creare l'archivio differenziale con l'opzione -A del comando flar create.
Installare l'archivio differenziale sui sistemi clone usando il metodo JumpStart personalizzato.
La Figura 17–2 mostra la creazione e l'installazione di un archivio differenziale. Un'immagine master viene aggiornata con alcune modifiche. Tali modifiche possono essere molto semplici, come l'aggiunta, la riconfigurazione o l'eliminazione di alcuni file, oppure complesse come la propagazione di varie patch. L'immagine master aggiornata viene confrontata con l'immagine master originale. Le differenze tra le due immagini generano l'archivio differenziale. Questo archivio può essere usato per aggiornare altri sistemi clone che attualmente utilizzano l'immagine master non modificata. Se il sistema clone è già stato modificato o non sta eseguendo l'immagine master originale, l'aggiornamento non riesce. Se le modifiche da apportare ai sistemi clone sono numerose, è possibile optare in qualunque momento per un'installazione iniziale.

Prima di creare e installare un archivio Solaris Flash, occorre prendere alcune decisioni relative alle modalità di installazione dell'ambiente operativo Solaris. Quando si installa un sistema per la prima volta, è necessario usare un archivio completo ed eseguire un'installazione iniziale. Dopo avere installato il sistema con un archivio completo, sarà possibile aggiornarlo con un archivio differenziale. L'archivio differenziale installa solo le differenze tra due archivi.
La prima fase del processo di installazione Solaris Flash consiste nell'installare sul sistema master la configurazione che si desidera applicare a tutti i sistemi clone. Per installare un archivio sul sistema master è possibile usare uno qualunque dei metodi di installazione di Solaris. L'installazione può riguardare un sottoinsieme di componenti o l'intero ambiente operativo Solaris. Al termine dell'installazione, è possibile aggiungere o rimuovere alcuni componenti o modificare i file di configurazione.
Il sistema master e i cloni devono avere la stessa architettura del kernel. Ad esempio, per installare un gruppo di sistemi clone con architettura sun4u, l'archivio deve essere stato creato da un sistema master con architettura sun4u.
Il sistema master deve essere installato con l'esatta configurazione che si desidera applicare ad ognuno dei sistemi clone. Le decisioni da prendere per l'installazione del sistema master dipendono dai seguenti fattori:
Il software che si desidera installare sui sistemi clone
Le periferiche collegate al sistema master e ai cloni
L'architettura del sistema master e dei cloni
Il software del sistema può quindi essere personalizzato. Vedere Personalizzazione dei file e delle directory di un archivio. Il sistema master può anche essere modificato e preparato per l'aggiornamento di un sistema clone. Vedere Pianificazione della creazione di un archivio Solaris Flash.
Dopo aver installato l'ambiente operativo Solaris sul sistema master usando uno dei metodi disponibili, è possibile aggiungere o eliminare una parte del software e modificare, se necessario, le informazioni di configurazione del sistema.
Eliminazione di parti del software. È possibile rimuovere le parti di software che non si ritiene necessario installare sui sistemi clone. Per visualizzare un elenco dei package installati sul sistema master, usare il Registro dei prodotti. Per istruzioni dettagliate, vedere il manuale System Administration Guide: Basic Administration.
Aggiunta di package software. È possibile installare il software incluso nella release di Solaris. È anche possibile aggiungere componenti software non distribuiti insieme all'ambiente operativo Solaris. Tutto il software installato sul sistema master viene incluso nell'archivio Solaris Flash e viene installato sui sistemi clone.
Modifica dei file di configurazione È possibile modificare i file di configurazione sul sistema master. Ad esempio, è possibile modificare il file /etc/inet/inetd.conf per limitare il numero dei daemon eseguiti dal sistema. Tutte le modifiche apportate vengono salvate nell'archivio Solaris Flash e vengono installate sui sistemi clone.
Durante la creazione dell'archivio è possibile effettuare ulteriori personalizzazioni. Ad esempio, è possibile escludere file di dati di grandi dimensioni che non si desidera includere nell'archivio. Per una descrizione generale, vedere Personalizzazione dei file e delle directory di un archivio.
Per aggiornare un sistema clone è possibile creare un archivio differenziale, vedere Pianificazione della creazione di un archivio Solaris Flash.
Se si desidera usare Solaris Flash per installare Solaris sia su sistemi SPARC che su sistemi x86, è necessario creare un archivio Solaris Flash separato per ogni piattaforma. L'archivio Solaris Flash creato dal sistema master SPARC può essere usato per installare i sistemi SPARC. L'archivio Solaris Flash creato dal sistema master x86 può essere usato per installare i sistemi x86.
La scelta dei driver da installare sul sistema master dipende dal tipo di unità periferiche collegate al sistema master e al sistema clone e dal tipo di gruppo software installato. Se ai sistemi clone sono collegate periferiche diverse da quelle del sistema master, è necessario installare i driver appropriati sul sistema master prima di creare l'archivio.
Durante l'installazione di Solaris, alcuni driver per specifici dispositivi hardware vengono installati solo se al sistema sono collegati i relativi dispositivi hardware.
Se vengono installati i gruppi software Core, End User, Developer o Entire Distribution, il sistema master supporterà solo le periferiche ad esso collegate al momento dell'installazione. Il supporto per le unità periferiche può essere installato sul sistema master anche se quest'ultimo non dispone dei dispositivi corrispondenti installando il sistema master con il gruppo software Entire Plus OEM. In questo modo vengono installati tutti i driver, indipendentemente dall'hardware presente sul sistema. Oppure, è possibile installare selettivamente solo i package che supportano le periferiche richieste.
Installando sul sistema master un gruppo software diverso da Entire Plus OEM, è possibile che non vengano installati tutti i driver necessari per l'installazione corretta dei sistemi clone. Ad esempio, se si installa il gruppo software Entire Solaris su un sistema master con un frame buffer GX CG6, verrà installato solo il driver per questo frame buffer. Questa situazione non crea problemi se anche i sistemi clone da installare utilizzano il frame buffer GX CG6 o non dispongono di un frame buffer.
Se però si desidera installare l'archivio su sistemi clone che utilizzano altri frame buffer, ad esempio il modello Elite 3D, non sarà disponibile il supporto per il frame buffer di questi sistemi clone. Di conseguenza, è necessario creare un archivio che includa tutti i frame buffer installando il gruppo software Entire Plus OEM, oppure installare i driver per i frame buffer richiesti aggiungendo i package appropriati al sistema master.
Per installare il supporto delle periferiche sui sistemi clone diversi dal sistema master, si può procedere nei seguenti modi.
Installare il gruppo software Entire Plus OEM – Questo è il gruppo software più completo disponibile. Contiene infatti tutti i package inclusi nell'ambiente operativo Solaris. Installando questo gruppo sul sistema master, quest'ultimo includerà tutti i driver contenuti nella release di Solaris. Un archivio Solaris Flash creato da un sistema master installato con il gruppo software Entire Distribution Plus OEM può essere utilizzato su qualunque sistema clone le cui periferiche siano supportate dalla versione installata dell'ambiente operativo Solaris.
L'installazione dei sistemi master con il gruppo software Entire Distribution Plus OEM garantisce la compatibilità con le configurazioni che presentano periferiche differenti. Tuttavia, il gruppo software Entire Distribution Plus OEM richiede oltre 1 Gbyte di spazio su disco. È possibile perciò che i sistemi clone non dispongano dello spazio richiesto per questa installazione.
Installare solo una selezione di package – È possibile installare sul sistema master solo i package necessari per il master e per i cloni. Selezionando package specifici, è possibile installare solo il supporto per le periferiche effettivamente collegate al master o ai cloni.
È possibile creare un archivio dal sistema master o creare un archivio differenziale dalle due immagini del sistema. L'archivio differenziale installa solo le differenze tra le due immagini.
Dopo l'installazione del sistema master, la fase successiva del processo di installazione con Solaris Flash consiste nel creare un archivio Solaris Flash. I file presenti sul sistema master vengono copiati nell'archivio Solaris Flash insieme a varie informazioni di identificazione. La creazione dell'archivio Solaris Flash può essere eseguita con il sistema in modalità multiutente o monoutente. È anche possibile creare un archivio Solaris Flash dopo avere avviato il sistema in uno dei seguenti modi:
Dal DVD di Solaris 9
Dal CD Solaris 9 Software 1 of 2
Da un'immagine del Solaris 9 e del CD Solaris 9 Languages
Se si desidera aggiornare un sistema clone, è possibile creare un archivio differenziale contenente solo le differenze tra due immagini, quella master originale e un'immagine master aggiornata. Una delle immagini può essere quella del sistema che esegue il software originale installato sul clone, oppure una copia salvata dell'immagine master originale. Questa immagine può essere aggiornata con le modifiche desiderate. Occorre quindi accedere a un'altra immagine da usare come termine di confronto. Le differenze tra queste due immagini genereranno l'archivio differenziale. Per installare un archivio differenziale su un sistema clone si utilizza il metodo di installazione JumpStart personalizzato. Quando si aggiorna un sistema clone con un archivio differenziale, vengono modificati solo i file del sistema clone contenuti nell'archivio differenziale. È anche possibile usare uno o più script per personalizzare l'archivio prima o dopo l'installazione, in particolare quando occorre eseguire una riconfigurazione.
È consigliabile salvare un'immagine master originale dopo l'installazione iniziale, in modo che sia disponibile per l'uso degli altri qui descritti.
Un ambiente di boot Solaris Live Upgrade attivato su una directory che utilizzi il comando lumount. Per una descrizione dell'ambiente di boot Solaris Live Upgrade, vedere il Capitolo 30.
Un sistema clone attivato via NFS con autorizzazioni di root.
Un backup del sistema da ripristinare con il comando ufsdump.
Per istruzioni dettagliate, vedere Aggiornare un'immagine master e creare un archivio differenziale.
Quando si crea un archivio Solaris Flash, è possibile escludere alcuni file e directory da copiare dal sistema master. Se si esclude una directory, è tuttavia possibile ripristinare file o sottodirectory specifiche incluse in quella directory. Ad esempio, è possibile creare un archivio che escluda tutti i file e le directory contenuti in /a/aa/bb/c. Il contenuto della sottodirectory bb potrebbe tuttavia essere incluso. In questo caso, l'archivio comprenderebbe solo il contenuto della sottodirectory bb.
Le opzioni di esclusione dei file del comando flar create devono essere usate con attenzione. Se si escludono una o più directory, è possibile che altre di cui non ci si è accorti vengano lasciate nell'archivio, ad esempio i file di configurazione del sistema. In questo caso, il sistema si verrebbe a trovare in uno stato incoerente e l'installazione non verrebbe eseguita. L'opzione di esclusione dovrebbe essere usata preferibilmente per dati che possano essere facilmente rimossi senza compromettere lo stato del sistema, ad esempio i file di dati di grandi dimensioni.
La tabella seguente elenca le opzioni del comando flar create che permettono di escludere i file e le directory desiderate e di ripristinare specifici file e sottodirectory.
|
Metodo di designazione |
Opzioni di esclusione |
Opzioni di inclusione |
|---|---|---|
|
Specificare il nome della directory o del file |
-x dir_esclusa/nome_file |
-y dir_inclusa/nome_file |
|
Usare un file che contiene un elenco |
-X file_elenco -z file_elenco |
-f file_elenco -z file_elenco |
Per una descrizione di queste opzioni, vedere la Tabella 20–7.
Alcuni esempi di personalizzazione degli archivi sono contenuti in Esempi — Creazione di un archivio per un'installazione iniziale.
Dopo avere installato il software sul sistema master, è possibile eseguire script speciali durante la creazione, l'installazione, la fase postinstallazione e il primo reboot. Questi script permettono di eseguire le seguenti operazioni:
Configurare le applicazioni sui sistemi clone. È possibile usare uno script JumpStart personalizzato per alcune configurazioni poco complesse. Per le configurazioni più sofisticate, può essere necessaria una speciale elaborazione dei file di configurazione sul sistema master prima o dopo l'installazione del sistema clone.
Proteggere le personalizzazioni locali sui sistemi clone. Gli script locali da eseguire prima e dopo l'installazione risiedono sul sistema clone e impediscono che le personalizzazioni locali vengano sovrascritte dal software Solaris Flash.
Identificare dati non clonabili legati all'host che permettano di rendere indipendente l'host dell'archivio. L'indipendenza dell'host può essere ottenuta modificando tali dati oppure escludendoli dall'archivio. Un file di log è un esempio di dati dipendenti dall'host.
Verificare l'integrità del software nell'archivio durante la creazione
Verificare l'installazione eseguita sul sistema clone
Quando si creano script diversi dallo script di reboot, seguire le indicazioni qui riportate per evitare che lo script danneggi l'ambiente operativo o produca altri effetti indesiderati sul sistema. Queste indicazioni permettono l'uso di Solaris Live Upgrade, che crea un nuovo ambiente di boot per l'installazione dell'ambiente operativo. Il nuovo ambiente di boot può essere installato con un archivio senza interrompere l'esecuzione del sistema in uso.
Queste direttive non si riferiscono agli script di reboot, che hanno la possibilità di eseguire daemon o di apportare altri tipi di modifiche al file system radice (/).
Gli script non devono interferire con il sistema correntemente in uso. L'ambiente operativo corrente non deve essere necessariamente quello utilizzato durante l'installazione dell'archivio Solaris Flash.
Gli script non devono avviare o arrestare i processi daemon.
Gli script non devono dipendere dall'output di comandi quali ps, truss o uname, che dipendono dall'ambiente operativo. Questi comandi restituiscono informazioni sul sistema correntemente in uso.
Gli script non devono inviare segnali né interferire in altro modo con i processi in corso.
Gli script possono usare i comandi UNIX standard che facilitano la scrittura di script per le shell, ad esempio expr, cp e ls.
Per una descrizione generale di Solaris Live Upgrade, vedere il Capitolo 30.
Gli archivi Solaris Flash contengono le seguenti sezioni. Alcune sezioni possono essere usate per identificare e personalizzare l'archivio e per visualizzare informazioni di stato sull'installazione. Per una descrizione più approfondita delle diverse sezioni, vedere il Capitolo 20.
Tabella 17–1 Sezioni degli archivi Flash|
Nome della sezione |
Solo informativa |
Descrizione |
|---|---|---|
|
Cookie dell'archivio |
X |
La prima sezione contiene un cookie che identifica il file come archivio Solaris Flash. |
|
Identificazione dell'archivio |
|
La seconda sezione contiene parole chiave con relativi valori che forniscono informazioni di identificazione sull'archivio. Alcune informazioni di identificazione vengono fornite dal software dell'archivio. Altre informazioni di identificazione specifiche possono essere aggiunte usando le opzioni del comando flar create. |
|
Definita dall'utente |
|
Questa sezione segue la sezione di identificazione. Queste sezioni possono essere definite e inserite per personalizzare l'archivio. L'archivio Solaris Flash non elabora le sezioni inserite dall'utente. Ad esempio, questa sezione potrebbe contenere una descrizione dell'archivio oppure uno script che controlli l'integrità di un'applicazione. |
|
Manifesto |
X |
Questa sezione viene prodotta per un archivio differenziale Solaris Flash e usata per verificare un sistema clone. La sezione manifesto elenca i file del sistema che devono essere mantenuti, aggiunti o eliminati dal sistema clone. Questa sezione è solo informativa, elenca i file in un formato interno e non può essere usata per la creazione di script. |
|
Predeployment, postdeployment, reboot |
X |
Questa sezione contiene informazioni interne che vengono usate dal software flash prima e dopo l'installazione di un'immagine dell'ambiente operativo. In questa sezione è possibile includere gli script desiderati. |
|
Riepilogo |
|
Questa sezione contiene messaggi relativi alla creazione dell'archivio. Registra inoltre le attività degli script di predeployment e postdeployment. Ad esempio, è possibile visualizzare in questa sezione il buon esito dell'installazione scrivendo uno script che invii l'output a questa sezione. |
|
File dell'archivio |
X |
Questa sezione contiene i file che sono stati raccolti dal sistema master. |
Durante la creazione dell'archivio, lo stato del sistema dovrebbe mantenersi il più possibile statico.
L'archivio dovrebbe essere creato dopo l'installazione del software sul sistema master e prima della configurazione del software. Ad esempio, Solaris Volume Manager memorizza alcuni metadati al di fuori del file system. Se si dispone di un disco di boot incapsulato e in mirroring, la creazione dell'archivio non è possibile. Poiché la creazione dell'archivio non accede ai metadati al di fuori del file system, l'archivio deve essere creato prima della configurazione.
Dopo aver creato l'archivio Solaris Flash, è possibile memorizzarlo sul disco rigido del sistema master o su un nastro. Una volta salvato, l'archivio può essere copiato su qualunque file system o supporto.
Sul server NFS (Network File System)
Sul server HTTP
Sul server FTP
Su nastro
Su un CD o un DVD
Su dischetti
Sul disco locale del sistema clone da installare
Quando si crea l'archivio Solaris Flash, è possibile specificare che venga salvato in forma compressa usando l'utility compress(1). Un archivio compresso richiede meno spazio sul disco e crea minore traffico durante la sua installazione via rete.
La fase finale del processo di installazione con Solaris Flash consiste nell'installazione degli archivi Solaris Flash sui sistemi clone.
L'installazione degli archivi Solaris Flash sui sistemi clone può essere eseguita con uno qualsiasi dei metodi di installazione disponibili in Solaris.
Il programma Solaris Web Start disponibile sul DVD di Solaris 9 o sul CD di installazione di Solaris 9 permette di installare gli archivi Solaris Flash memorizzati sui seguenti supporti:
Su disco (DVD o CD)
Sul server NFS
Sul server HTTP
Sul server FTP
Sull'unità nastro locale
Per istruzioni sull'installazione, vedere SPARC: Eseguire un'installazione o un aggiornamento con il programma Solaris Web Start o x86: Esecuzione di un'installazione o di un aggiornamento con il programma Solaris Web Start.
Il programma suninstall di Solaris disponibile sul CD Solaris 9 Software 1 of 2 permette di installare gli archivi Solaris Flash memorizzati sui seguenti supporti:
Sul server NFS
Sul server HTTP
Sul server FTP
In un file locale
Sull'unità nastro locale
Su un dispositivo locale, ad esempio il CD
Per istruzioni sull'installazione, vedere SPARC: Esecuzione di un'installazione o di un aggiornamento con il programma suninstall di Solaris o x86: Esecuzione di un'installazione o di un aggiornamento con il programma suninstall di Solaris.
Il metodo di installazione JumpStart personalizzato permette di installare gli archivi Solaris Flash memorizzati nelle seguenti posizioni:
Sul server NFS
Sul server HTTP
Sul server FTP
Sull'unità nastro locale
Su un dispositivo locale, ad esempio un DVD o un CD
In un file locale
Per istruzioni sull'installazione, vedere Preparare il sistema per l'installazione di un archivio Solaris Flash con il metodo JumpStart personalizzato.
Solaris Live Upgrade permette di installare gli archivi Solaris Flash memorizzati sui seguenti supporti:
Sul server HTTP
Sul server FTP
Sul server NFS
In un file locale
Sull'unità nastro locale
Su un dispositivo locale, ad esempio un DVD o un CD
Per istruzioni sull'installazione, vedere Installazione di archivi Solaris Flash in un ambiente di boot.