Cet exemple indique comment réaliser les tâches suivantes :
créer un volume RAID-1 (miroir) sur un nouvel environnement d'initialisation ;
diviser le miroir et mettre à niveau une moitié de ce miroir ;
rattacher l'autre moitié du miroir (concaténation) au nouveau miroir.
La Figure 38–1 affiche l'environnement d'initialisation actuel qui contient trois disques physiques.

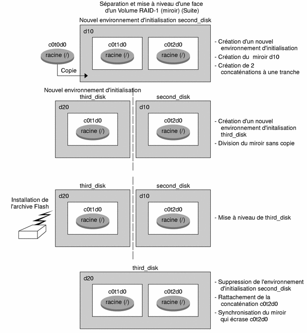
Créez un nouvel environnement d'initialisation second_disk, qui contient un miroir.
La commande ci-dessous permet de réaliser ces tâches.
lucreate configure un système de fichiers UFS pour le point de montage racine (/). Un miroir, d10, est créé. Ce miroir est le réceptacle du système de fichiers racine (/) de l'environnement d'initialisation actuel copié sur le miroir d10. Toutes les données du miroir d10 sont écrasées.
Deux tranches, c0t1d0s0 et c0t2d0s0 , sont définies comme sous-miroirs. ces derniers étant rattachés au miroir d10.
# lucreate -c first_disk -n second_disk \ -m /:/dev/md/dsk/d10:ufs,mirror \ -m /:/dev/dsk/c0t1d0s0:attach \ -m /:/dev/dsk/c0t2d0s0:attach  | 
Activez l'environnement d'initialisation second_disk.
# /usr/sbin/luactivate second_disk # init 6  | 
Créez un autre environnement d'initialisation, third_disk.
La commande ci-dessous permet de réaliser ces tâches.
lucreate configure un système de fichiers UFS pour le point de montage racine (/). Un miroir, d20, est créé.
La tranche c0t1d0s0est supprimée du miroir actuel et ajoutée au miroir d20. Les contenus du sous-miroir et le système de fichiers racine (/) sont préservés et aucune copie n'est effectuée.
# lucreate -n third_disk \ -m /:/dev/md/dsk/d20:ufs,mirror \ -m /:/dev/dsk/c0t1d0s0:detach,attach,preserve  | 
Mettez à niveau le nouvel environnement d'initialisation, third_disk, en installant une archive Solaris Flash. et réside dans le système local. Les versions des systèmes d'exploitation pour les options -s et -a sont toutes les deux des versions de Solaris 9. Tous les fichiers de third_disk sont écrasés, à l'exception des fichiers partageables.
# luupgrade -f -n third_disk \ -s /net/installmachine/export/Solaris_9/OS_image \ -a /net/server/archive/Solaris_9  | 
Activez l'environnement d'initialisation third_disk pour en faire le système en cours de fonctionnement.
# /usr/sbin/luactivate third_disk # init 6  | 
Supprimez l'environnement d'initialisation second_disk.
# ludelete second_disk  | 
Les commandes ci-dessous permettent de réaliser ces tâches :
supprimer le miroir d10 ;
vérifier le numéro de concaténation de c0t2d0s0 ;
rattacher la concaténation trouvée par la commande metastat au miroir d20. La commande metattach synchronise la concaténation qui vient d'être rattachée avec celle du miroir d20. Toutes les données de la concaténation sont écrasées.
# metaclear d10 metastat -p | grep c0t2d0s0 dnum 1 1 c0t2d0s0 metattach d20 dnum  | 
est le numéro trouvé par la commande metastat pour la concaténation
Le nouvel environnement d'initialisation, third_disk, a été mis à niveau et est maintenant le système en cours de fonctionnement. third_disk contient le système de fichiers racine (/) qui est mis en miroir.
La Figure 38–2 montre le processus global de séparation et de mise à niveau d'un miroir à l'aide des commandes mentionnées dans l'exemple précédent.