1 Preparing for Installation





1.1 What Is in This Manual

This manual describes the procedures for installing and replacing the 20 Gbyte
4 mm tape auto-loader in the following:

The procedures to install or replace the drive are shown in Figure 1-1. These procedures are explained in greater detail in each system-specific chapter.

    Figure 1-1 The Installation Procedures for a 20 Gbyte 4 mm Tape Auto-Loader

1.2 Tools Needed

You need the following tools:

1.3 Verifying the Temperature of the Drive

Exposure to a sudden temperature or humidity change could cause condensation within the drive which could damage it. At the installation site, allow the drive to remain in its packing container until its temperature matches that of the surrounding air. Use Table 1-1 as a guide for allowable times before unpacking the drive based on the temperature of the drive upon receipt.

    Table 1-1 Acclimation Times for a Drive

-----------------------------------------------------------------------
Temperature Differential from Internal Acclimation Time and External Temperatures -----------------------------------------------------------------------
                                                       
Degrees (F)                               Degrees (C)  Hours
                                                       
+/-15                                     +/-8.3       1
                                                       
+/-20                                     +/-11.1      2
                                                       
+/-30                                     +/-16.6      4
                                                       
+/-40                                     +/-22.2      6
                                                       
+/-50                                     +/-27.7      7
                                                       
+/-60                                     +/-33.3      8

-----------------------------------------------------------------------

Caution -

A drive is an electromechanical device that may be damaged by excessive physical shock. Store or transport the drives in the right-side up position only. Do not shake, bump, or drop the drives when moving them. Such physical shock or incorrect positioning can damage the drives.

1.4 Unpacking and Inspecting the Drive

Caution -

Circuit board components are vulnerable to damage by electrostatic discharge (ESD). An electrostatic charge can build up on the human body and then discharge when you touch a board or a magnetic storage device, such as a drive. Such discharge can be produced by walking across a carpet and touching a board, or by any other similar action. Before handling any board or magnetic storage device, make sure you dissipate your body's charge by following these instructions carefully.

    1. Wrap the grounding strap with the conductive adhesive tape twice around your wrist.

    Make sure the adhesive side is against your skin. See Figure 1-2.

    Figure 1-2 Attaching the Wrist Strap

    2. Unpack the tape drive and place it on top of the bag in which it was shipped.

    This prevents static discharge from accumulating in the device.

    3. Peel the liner from the adhesive copper strip on the wrist strap and attach that end of the strap to the metal part of the drive.
    4. Inspect the drive for evidence of damage.

    If the drive is damaged, keep all contents and packing materials for the carrier's agent to inspect and do not proceed with the installation. If the drive is not damaged, save the packing materials for future use.

1.5 Removing the Mylar Sheet

    1. Turn the auto-loader upside down and remove the two screws that secure the mylar sheet to the auto-loader. See Figure 1-3.

    There are six screws on the bottom of the auto-loader; remove only the two screws that protrude slightly.

    Figure 1-3 Removing the Mylar Sheet from the Auto-Loader

    2. Grasp the clear plastic tab at the rear of the auto-loader and pull the mylar sheet out of the drive. See Figure 1-3.

    Save the mylar sheet and the two screws. If you ship the unit at a later date, reverse these steps to replace the mylar sheet in the unit.

1.6 Verifying Jumpers and DIP Switches

    1. If jumpers are installed on the SCSI ID connector, use the needle-nose pliers to remove them. See Figure 1-4.

    Figure 1-4 SCSI ID, JP4 Connector and DIP Switches on the Drive

    2. Verify that the DIP switches at the rear of the drive are set to the proper positions. See Figure 1-4.
    3. Verify that the JP4 connector either has a jumper installed vertically or no jumper at all. See Figure 1-4.

    The JP4 connector should not have a jumper installed horizontally over both pins.

1.7 Attaching the Mounting Brackets

Attach the left and right brackets to the drive as follows:

    1. Attach the shorter bracket to the left side of the auto-loader using two M3 screws. See Figure 1-5.

    Figure 1-5 Attaching the Left Bracket

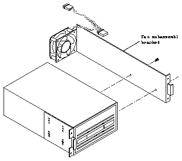
    2. Align the fan subassembly bracket along the right side of the auto-loader.

    The fan will be at the rear of the unit when the bracket is properly aligned.

    3. Attach the bracket to the auto-loader using two M3 screws. See Figure 1-6.

    Figure 1-6 Attaching the Fan Subassembly Bracket

    4. Plug one end of the fan power cable (J1) into the power connector on the rear of the auto-loader. See Figure 1-7.

    This cable is hardwired to the fan.

    Figure 1-7 Connecting the Fan Power Cable to the Auto-Loader

1.8 Fixing a Bug in the Solaris 2.2 Operating System

Note - These procedures apply only if you are using the Solaris 2.2 operating system. The Solaris 2.1 and other Solaris 2.x releases are not affected by this bug.

If your system is running on the Solaris 2.2 operating system, you must make a change to the /etc/system file to rectify a known bug in that version of the operating system.

The following procedure turns off the soft error reporting function in the driver. You must perform this procedure to avoid possible system failures when the tape drive is accessed. Once performed, this procedure resides on the system for all future reboot operations.

To modify the /etc/system file:

    1. Enter the following boldfaced commands to become superuser and change directories:
----------------------------------------------
prompt% su Password: <enter the superuser password'> prompt# cd /etc ----------------------------------------------
    2. Enter the following boldfaced commands to use the vi editor to edit the system file, move to the last line of the file and activate the insert mode:
----------------------
prompt# vi system G i ----------------------
    3. Type the following line into the file:
-------------------------------------------
set st:st_report_soft_errors_on_close=0 -------------------------------------------

    The example below shows where this line appears in the file:

-------------------------------------------------------------------
set: Set an integer variable in the kernel or a module to a new value. This facility should be used with caution. See system(4). Examples: To set variables in `unix': set nautopush=32 set maxusers=40 To set a variable named `debug' in the module named `test_module' set test_module:debug = 0x13 set st:st_error_level=0 set nfs:nfs_fastpath=0 set st:st_report_soft_errors_on_close=0 <added line'> -------------------------------------------------------------------
    4. Press the Escape key and type the following to save the changes and exit the vi editor:
-------
:wq -------
    5. Reboot your system so that the changes take effect.