Previous     Contents     DocHome     Index     Next     
iPlanet Trustbase Payment Services 2.0 Beta Systems Administration Guide



Chapter 1   Configuration



Configuration Overview

The following configurations need to take place:

  • Certificates and Bank Back End Authorisation

  • Database checkpoints that allow you gain access to information about the cause of error during runtime

  • Screen Services

  • Payments Screens

  • Customers Authorisation Services


Certificate Configuration

Before testing your installation is complete you will need to configure the system with the appropriate certificates.


Buyers Bank Certificates

You'll need a signing certificate issued to you by your Bank and containing a Trusted Identrus Root. This is a certificate hierarchy and contains a PKCS12 signing chain containing private key for signing information.


Sellers Website Tooled Up Certificates

This is dealt with in the Install procedure for tooledup.


iPlanet Trustbase Transaction Manager Certificates

Certificates need to be configured as described in the Identrus four corner model. See runCertWizard in the iTTM 3.0.1 Installation and Configuration Guide

http://docs.sun.com/source/816-6283-10/index.html


iPlanet Trustbase Payment Services Certificates

None required


BiaB Certificates

No certificates required


CPI certificates

Please refer to Chapter 3 of the Developer Guide for details of how to install certificates


Secure properties (Optional)

Once installation is complete you may wish to secure certain properties by redirecting these properties to an encrypted file

/opt/ittm/myhost/secure.properties

For details on how to do this please consult the iPlanet Trustbase Transaction Manager Installation and Configuration Guide.


Database Table Definitions



This section classifies all of the tables in an iTTM/iTPS/BIAB/Tooled Up installation.



Table Name  

Product  

Description  

archive_table  

iTTM  

No Longer Used  

attribute_key_attrs  

iTTM  

No Longer Used  

attribute_name_attrs  

iTTM  

No Longer Used  

auditdata  

iTTM  

Log of all audit events  

audit_parameters  

iTTM  

Log of all event specific parameters for each audit event  

audit_services  

iTTM  

Private Internal Data  

audit_text  

iTTM  

Mapping of audit strings to locale specific strings  

authorisation  

iTTM  

Private Internal Data  

biab_requests  

BIAB  

All messages arriving at BIAB  

biab_responses  

BIAB  

All messages leaving BIAB  

biab_user  

BIAB  

Valid users of BIAB  

bill_data  

iTTM  

An entry for each Identrus Message is made here, it maps the message signer information to a raw log entry.  

category  

Tooled Up  

Private Internal Data  

cdpcert  

Tooled Up  

Private Internal Data  

certificateauthentication  

iTTM  

Private Internal Data  

cert_data  

iTTM  

All unique certificates from Identrus CertBundles are logged here.  

cert_table  

iTTM  

No Longer Used  

condition  

Tooled Up  

Private Internal Data  

config  

iTTM  

Private Internal Data  

cr_condition  

iTPS  

Private Internal Data  

cr_condition_set  

iTPS  

Private Internal Data  

cust_dn_mapping  

iTPS  

Maps customer certificate to a Bank internal reference. Used for authorisation checking if enabled.  

default_locale  

iTTM  

Private Internal Data  

ecips_gatewaypref  

iTPS  

Private Internal Data  

ecips_memdetails  

iTPS  

Private Internal Data  

ecips_timeouts  

iTPS  

Private Internal Data  

eleanor_reference_map  

iTPS  

Maps Eleanor Tx Id to associated MsgGrpId  

environments  

iTTM  

Private Internal Data  

error  

iTTM  

Log of all errors  

error_codes  

iTTM  

Mapping of error codes to locale specific strings and error severity  

error_map  

iTPS/BIAB  

Maps reason codes to reason texts  

error_map_1_0  

iTPS/BIAB  

No Longer Used  

error_map_locales  

iTTM  

Private Internal Data  

error_parameters  

iTTM  

Log of all error specific parameters for each error entry  

error_support  

iTTM  

Log of supporting error data for error entries - java stacktraces  

identrus_data  

iTTM  

For each Identrus message in the raw log table an entry exists here with key Identrus message fields extracted into the table entry  

identrus_messages_set  

iTPS  

Private Internal Data  

init_table  

iTTM  

Private Internal Data  

key_table  

iTTM  

No Longer Used  

ocsp_data  

iTTM  

Every OCSP request/response that goes to the local OCSP responder - OR request/response from a remote OCSP responder in fallback mode.  

ocsp_requests  

iTTM  

Used by the OCSP responder in iTTM to log all requests received.  

ocsp_responses  

iTTM  

Used by the OCSP responder in the iTTM to log all responses sent out.  

ohr  

iTPS  

Private Internal Data  

ordered_product  

Tooled Up  

Private Internal Data  

payment  

Tooled Up  

Private Internal Data  

payments_log_email  

iTPS  

All outbound emails from iTPS are logged in this table.  

payments_raw_in  

iTPS  

All messages received from the backend bank system are logged  

payments_raw_out  

iTPS  

All messages sent to the backend bank system are logged  

product  

Tooled Up  

Private Internal Data  

product_order  

Tooled Up  

Private Internal Data  

raw_data  

iTTM  

All messages arriving at iTTM are logged in this tamper evident table  

registered_user  

Tooled Up  

Private Internal Data  

registered_user1_0  

Tooled Up  

No Longer Used  

revocation_attrs  

iTTM  

No Longer Used  

revocation_serial_num  

iTTM  

No Longer Used  

revocation_table  

iTTM  

No Longer Used  

roles  

iTTM  

Private Internal Data  

role_description  

iTTM  

Private Internal Data  

salt_table  

iTTM  

No Longer Used  

sc_currency_code  

iTPS  

All allowable currency codes  

sc_currency_code_list  

iTPS  

Currency code to currency description mapping  

sc_financial_institution  

iTPS  

Private Internal Data  

sc_settlement_chain  

iTPS  

Private Internal Data  

smime_transport  

iTTM  

All smime messages have their security information logged  

smtp_connection  

iTTM  

All connections to the SMTP proxy are logged  

smtp_message  

iTTM  

All smtp messages received by the SMTP proxy are logged  

sohr  

iTPS  

Private Internal Data  

ssl_connection  

iTTM  

No Longer Used  

trans_ref_cancellation_req  

iTPS  

Private Internal Data  

trans_ref_payment_req  

iTPS  

Private Internal Data  

ttm_organisation  

iTTM  

Private Internal Data  

ttm_role  

iTTM  

Private Internal Data  

ttm_user  

iTTM  

Private Internal Data  

ttm_user_role  

iTTM  

Private Internal Data  

usernamepasswordauth  

iTTM  

Private Internal Data  

  • All tables marked as 'Private Internal Data' are controlled by the specified product and the structures of these tables are subject to change in future revisions.

  • All tables marked as 'No Longer Used' are tables that existed in an earlier version of the product that are deprecated in the current version. Because of upgrade paths these tables are not dropped by their respective products, the DBA is at liberty to drop these tables once the contained data is no longer needed.


Database Check Points



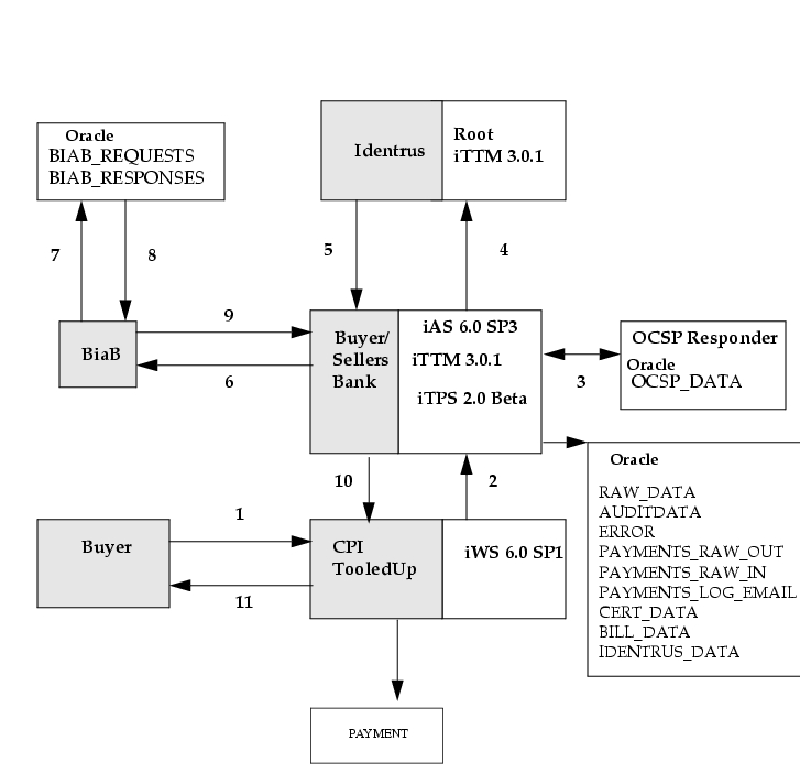
This data flow checkpoint diagram and list of points will be used during a transaction and can be used to help locate where an event or error occurs in the system. This is only applicable to synchronous messages. When messages are sent from the Seller web site, messages can be traced at the following points, illustrated using the three corner model in Figure 1-1 "Data Checkpoint List for the three corner model":


Checkpoint

 

Action/Step/Entry

 

Table/Location to view data/Message

 

1

 

Buyer posts a request to the seller's web site.

 

Web server log (web server): /opt/iws6/logs/access

 

2

 

Message (transaction) is sent from CPI to iTTM/iTPS (TC). The message is logged.

 

Kxs access is written with a timestamp:/opt/ias6/logs/kxs

Kjs jvm log file with system.out text: /opt/ias6/logs/kjs

iTTM Oracle table: RAW_DATA

 

 

Initially message is validated.

If error in validation, log to audit.

If error in system, log to error

 

iTTM Oracle table: AUDITDATA

iTTM Oracle table: ERROR

 

3

 

TC performs validation check using OCSP to check the status of the Seller's (Tooled Up) signing certificate.

 

OCSP_DATA log (See OCSP vendor logs)

 

4

 

CSC request to Identrus root (freshness).

 

iTTM Oracle table: RAW_DATA

 

5

 

CSC response from Identrus root

 

iTTM Oracle table: RAW_DATA

 

6

 

TC sends message to BiaB.

 

iTTM Oracle table: PAYMENTS_RAW_OUT

 

7

 

BiaB receives message and logs to BiaB Oracle

 

BiaB Oracle table: BIAB_REQUESTS. Note this message is identical to the message in PAYMENTS_RAW_OUT (step 6).

BiaB terminal shows that a message is received.

 

8

 

BiaB processes message and logs response to TC in BiaB Oracle.

 

BiaB terminal shows that a message is ready.

BiaB Oracle table: BIAB_RESPONSES

 

9

 

TC receives message from BiaB and logs incoming message.

 

iTTM Oracle table: PAYMENTS_RAW_IN. Note the message is identical to the message in BIAB_RESPONSES (step 8).

 

10

 

TC sends message to web server and logs the outgoing message.

 

iTTM Oracle table: RAW_DATA

 

11

 

Seller (tooled up) logs payment message and status.

 

iTPS PAYMENT

 

Figure 1-1    Data Checkpoint List for the three corner model


A typical query might be

select * from biab_requests where lastack like `%Service%' and type like `%xPx';

order by timestamp desc;


iTTM Tables




Auditdata

Contains internal audit information & indicates what the TC processed.

Figure 1-2    TTM table Auditdata


Column Name  

Type  

Size  

NULL  

Key Information  

Description  

auditid  

NUMBER  

 

 

Primary Key  

Unique Identifier. Monotonic sequence number.  

messageid  

VARCHAR2  

240  

 

 

Not Used  

machineid  

VARCHAR2  

50  

Not Null  

 

IP address of machine that logged audit event  

timestamp  

DATE  

 

Not Null  

 

The timestamp of when event was logged.  

audittype  

VARCHAR2  

200  

Not Null  

FK-> audit_text.audit_text_id  

The class of audit that this event is  

message  

VARCHAR2  

1000  

Not Null  

FK - audit_text.audit_text_id  

The audit message reference  



Auditparameters

Log of all event specific parameters for each audit event.

Figure 1-3    iTTM table Auditparameters


Column Name  

Type  

Size  

NULL  

Key Information  

Description  

auditid  

NUMBER  

 

 

FK-> AUDITDATA.auditid  

The audit id in auditdata that this parameter relates to.  

parameter  

VARCHAR2  

2000  

 

 

The value of the parameter  

parameter_no  

NUMBER  

 

 

 

The "tag" number when this parameter value is inserted into the audit_text  



audit_text

Maps audit strings to locale specific strings

Figure 1-4    iTTM table audit_text


Column Name  

Type  

Size  

NULL  

Key Information  

Description  

audit_text_id  

VARCHAR2  

1000  

Not Null  

PK  

Unique Id  

text  

VARCHAR2  

1000  

 

 

The text of the audit message or type in a locale specific form  

locale  

VARCHAR2  

10  

Not Null  

 

The locale of the text  



bill_data

Billing records are a sub-set of the information within the raw message log that provides sufficient information to determine who made each transaction. These tables are designed for used by third party tools that generate the actual Bill for the customer. The definitions for the bill table columns are as follows:

Figure 1-5    iTTM table bill_data


Column Name  

Type  

Size  

NULL  

Key Information  

Description  

subjectdn  

VARCHAR2  

500  

Not Null  

 

This will be the originator distinguished name extracted from the mandatory Identrus level 1 message signature. This will determine who should be billed.  

issuerdn  

VARCHAR2  

500  

Not Null  

 

This will be the issuer distinguished name extracted from the mandatory Identrus level 1 message signature. This is to enable the identification of the exact key used to sign this message - in conjunction with the serial number field below.  

serialnumber  

VARCHAR2  

100  

Not Null  

 

This will be the originator certificate serial number that may be used to identify the exact key used to sign the message - in conjunction with the issuer distinguished name.  

rawrecordid  

VARCHAR2  

240  

Not Null  

FK->raw_data.recordmarker  

This will be the RawRecordId of the associated raw log table record.  



cert_data

In order to reduce the volume of data logged with each Identrus message the certificates contained with the message header are stripped out and stored in a certificate table. If the iPlanet Trustbase Transaction Manager has already logged a particular certificate in the table it will not be logged again. The information stored within the table is:

Figure 1-6    iTTM table cert_data


Column Name  

Type  

Size  

NULL  

Key Information  

Description  

issuerdn  

VARCHAR2  

500  

Not Null  

PK  

The issuer distinguished name of the certificate, RFC 2253 format string.  

serialnumber  

VARCHAR2  

100  

Not Null  

PK  

The serial number of the certificate  

subjectdn  

VARCHAR2  

500  

Not Null  

 

The subject distinguished name from the certificate, in RFC2253 format  

certdata  

LONG  

 

Not Null  

 

The Base64 certificate data.  



Error

The actual error log table is described below, this table is not normally viewed by the administrator directly, instead there is an Oracle view called errorview that provides a resolved view of the errors that have been logged.

Figure 1-7    iTTM table error


Column Name  

Type  

Size  

NULL  

Key Information  

Description  

errorid  

NUMBER  

 

Not Null  

PK  

This is a unique id for the error log entry; it is generated from a monotonic sequence that means that this field may be used to accurately order error messages in the order that they were logged  

errorcode  

VARCHAR2  

7  

 

FK - error_codes.errorcode  

This is the errorcode of the error being logged, see the error_codes table description.  

timestamp  

DATE  

 

 

 

This is an ORACLE DateTime field that identifies when the error was logged.  

machineid  

VARCHAR2  

50  

 

 

This is a string representing the IP address of the iPlanet Trustbase Transaction Manager that logged the error - this may be different in a multi-node IAS installation.  

contextid  

VARCHAR2  

200  

 

 

This context id field is for future expansion.  



error_codes

The iPlanet Trustbase Transaction Manager error logging mechanism requires that every different occurrence of an error be given a code which is unique throughout iPlanet Trustbase Transaction Manager.

Figure 1-8    iTTM table error_codes


Column Name  

Type  

Size  

NULL  

Key Information  

Description  

errorcode  

VARCHAR2  

7  

Not Null  

PK  

This is the unique errorcode string that identifies the error; this must be 7 characters exactly. The normal for an error code is XXXnnnn. Where XXX is a three-letter code for the service or subsystem and nnnn is a unique number. e.g. IPH0009 is an error in the Identrus Protocol Handler.  

classname  

VARCHAR2  

500  

 

 

The class from which this error is logged. This places a constraint that each error code may only be used from one place.  

severity  

NUMBER  

 

 

 

This is the severity level of the error, described previously. Constants for each of the error severities can be located in the uk.co.jcp.tbaseimpl.log.error.ErrorLog class.  

message  

VARCHAR2  

2000  

Not Null  

 

This is the localised version of the error message that will appear in the error log. Parameters may be used in this message as described by the standard Java class java.text.MessageFormat. The values to be placed in these parameters are passed in an array of strings that one of the ErrorObject constructors allows.  

locale  

VARCHAR2  

10  

Not Null  

 

The locale of this error message text  



error_parameters

This is a cross referencing table used for querying errors. parameters are used to expand text according to the error text.

Figure 1-9    iTTM table error_parameters


Column Name  

Type  

Size  

NULL  

Key Information  

Description  

errorid  

NUMBER  

 

 

FK - error.errorid  

Error Number  

parameter  

VARCHAR2  

200  

 

 

Parameter description  

parameter_no  

NUMBER  

 

 

 

Parameter number  



error_support

When an error is logged it is often accompanied by some free form string data which helps to store the context in which the error occurred to aid diagnosis. The most common example of such data is exception stack traces.

Figure 1-10    iTTM table error_support


Column Name  

Type  

Size  

NULL  

Key Information  

Description  

errorid  

NUMBER  

 

 

FK - error.errorid  

This links this entry to an entry in the Error table  

datatype  

VARCHAR2  

200  

Not Null  

 

This datatype is an arbitrary string identifier that categorises the data in the data field. The only value for this field defined by iPlanet Trustbase Transaction Manager is "STACKTRACE" which identifies the contents of the data field to be a Java Exception Stack Trace.  

data  

LONG  

 

 

 

Free form string data  



identrus_data

The Identrus data table records identrus specific message data, which can be related to the raw log records in the raw_data table, using the rawrecordid foreign key.

Figure 1-11    iTTM table identrus_data


Column Name  

Type  

Size  

NULL  

Key Information  

Description  

rawrecordid  

VARCHAR2  

240  

Not Null  

FW - rawdata.recordmarker  

the id of the associated raw log record  

msggrpid  

VARCHAR2  

120  

Not Null  

 

the Identrus MsgGrpId from the NIB of the message  

msgid  

VARCHAR2  

120  

NotNull  

 

 

doctype  

VARCHAR2  

120  

Not Null  

 

the DOCTYPE of the message.e.g.CSCRequest, PingRequest etc.  

connectionid  

VARCHAR2  

100  

NotNull  

 

No Longer Used  

protocoltype  

VARCHAR2  

10  

Not Null  

 

The protocol over which the message arrived e.g. HTTP or SMTP  

input  

NUMBER  

 

Not Null  

 

1 indicates message was inbound to the TC.

0 indicates that the message was outbound from the TC.  



ocsp_data

This data records all the ocsp transactions -- responses and requests that are carried out between the local ocsp responder and iTTM.

Figure 1-12    iTTM table ocsp_data


Column Name  

Type  

Size  

NULL  

Key Information  

Description  

ocspid  

NUMBER  

 

Not Null  

PK  

A unique identifier for the record  

type  

VARCHAR2  

2000  

Not Null  

 

OCSPREQUEST or OCSPRESPONSE  

message  

VARCHAR2  

2000  

Not Null  

 

A text summary of the contents of the request or response  

machine  

VARCHAR2  

2000  

Not Null  

 

The URL to which the request was submitted to or the response was received from  

timestamp  

NUMBER  

 

Not Null  

 

The date and time that the entry was made  

data  

LONG  

 

Not Null  

 

Base64 encoding of the request or response  



ocsp_requests

Records messages sent from iTTM to the OCSP Responder.

Figure 1-13    iTTM table ocsp_requests


Column Name  

Type  

Size  

NULL  

Key Information  

Description  

id  

VARCHAR2  

127  

Not NULL  

PK  

Unique Identifier  

requestor_name  

VARCHAR2  

500  

Not Null  

 

The DN of the person requesting the OCSP  

signed  

NUMBER  

 

 

 

Whether it was signed (0 or 1)  

version  

NUMBER  

 

 

 

Version number of OCSP  

request  

LONG RAW  

 

 

 

DER of the request  

timestamp  

DATE  

 

Not Null  

 

Time of the request  



ocsp_responses

Records messages received from the OCSP responder to iTTM

Figure 1-14    iTTM table ocsp_responses


Column Name  

Type  

Size  

NULL  

Key Information  

Description  

id  

VARCHAR2  

127  

Not Null  

PK  

Unique Identifier connected between request and response  

status  

NUMBER  

 

 

 

Overall status of the response (See RFC2560)  

response  

LONG RAW  

 

 

 

DER of the response  

timestamp  

DATE  

 

Not Null  

 

Time of the response  



raw_data

The raw log inserts a row into a relational database table for each log operation. The structure of the database table is described here. All raw log tables have the same structure, although each raw log uses a different table, whose name is determined when the raw log is created with the AddLoggerWizard. The raw logging facility records raw incoming and outbound message data.

Figure 1-15    iTTM table raw_data


Column Name  

Type  

Size  

NULL  

Key info  

Description  

sessionid  

NUMBER  

 

Not Null  

 

The id of the raw log session that wrote record  

logconnectionid  

NUMBER  

 

Not Null  

 

The id of the connection within the session  

recordid  

NUMBER  

 

Not Null  

 

The id of the record within the connection  

msggrpid  

VARCHAR2  

120  

 

 

No Longer Used  

msgid  

VARCHAR2  

120  

 

 

No Longer Used  

doctype  

VARCHAR2  

120  

 

 

No Longer Used  

recordmarker  

VARCHAR2  

240  

Not Null  

PK  

A unique monotonically increasing identifier  

connectionid  

VARCHAR2  

100  

 

 

No Longer Used  

protocoltype  

VARCHAR2  

10  

 

 

No Longer Used  

input  

NUMBER  

 

 

 

No Longer Used  

timestamp  

NUMBER  

 

Not Null  

 

An integer which represents the UNIX time at which the record was logged.  

rawdata  

LONG  

 

Not Null  

 

The Identrus Message XML, without the CertBundle fields. The certificates from the bundle are logged separately in the "cert_data_table"  

digestofrecord  

RAW  

2000  

 

 

A SHA-1 digest of this record.  

signeddigestofcalculation  

RAW  

2000  

 

 

An RSA signature of this record and data from the previous record.  



smime_transport

Logs incoming SMIME connections

Figure 1-16    iTTM table smime_transport


Column Name  

Type  

Size  

NULL  

Key Information  

Description  

connection_id  

VARCHAR2  

100  

Not Null  

PK  

Provides a link back to the smtp_message table  

peer_issuer_dn  

VARCHAR2  

2000  

 

 

The issuer_dn of the certificate that was used to verify the message  

peer_cert_serial_number  

VARCHAR2  

100  

 

 

The serial number of the certificate used to verify the message.  

message_protection  

VARCHAR2  

100  

 

 

The type of protection used to secure the message  

time_stamp_type  

VARCHAR2  

10  

 

 

The type of timestamp LOCAL or NETWORK  

time_stamp  

DATE  

 

Not Null  

 

The time at which the entry was made  



smtp_connection

The ssl_connection and smtp_message tables both have connection_id fields that are passed to the iPlanet Trustbase Transaction Manager running in the application server. This connection_id is stored within the Identrus Log table allowing queries that link the originator information with the actual requests made.

Figure 1-17    iTTM table smtp_connection


Column Name  

Type  

Size  

NULL  

Key Information  

Description  

stream_id  

VARCHAR2  

100  

Not Null  

PK  

Identifier for the connection  

peer_ip_addr  

VARCHAR2  

20  

Not Null  

 

IP address of the peer  

timestamptype  

VARCHAR2  

10  

 

 

Whether the time of the connection was local or remote  

timestamp  

DATE  

 

Not Null  

 

The time the connection was made  



smtp_message

Logs incoming SMTP mail messages.

Figure 1-18    iTTM table smtp_message


Column Name  

Type  

Size  

NULL  

Key Information  

Description  

stream_id  

VARCHAR2  

100  

Not Null  

FK->smime_transport.connection_id  

A unique id for the smime_transport  

connection_id  

VARCHAR2  

100  

Not Null  

FK->smtp_connection.stream_id  

A unique id for the smtp connection  

recipients  

VARCHAR2  

1000  

Not Null  

 

The recipients of this message  

sender  

VARCHAR2  

100  

Not Null  

 

The sender of this message  

timestamptype  

VARCHAR2  

10  

 

 

The type of timestamp LOCAL or NETWORK  

message_valid  

NUMBER  

 

Not Null  

 

Is the message valid? 1 indicates it is valid  

message_invalid_reason  

VARCHAR2  

1000  

 

 

The reason for the invalidity of the message  

timestamp  

DATE  

 

Not Null  

 

The date and time at which the entry was made  



iTPS Tables




cust_dn_mapping

This table maps the Distinguished name of the customer signing certificate to the bank's internal customer reference number.

Figure 1-19    ITPS table cust_dn_mapping


Column Name  

Type  

Size  

NULL  

Key Information  

Description  

dn  

VARCHAR2  

1024  

Not Null  

PK  

This is the subject distinguished name of the customer's signing certificate  

cust_id  

VARCHAR2  

36  

Not Null  

 

This is the bank's internal customer reference number that is associated with the customer's signing certificate subject dn.  



eleanor_reference_map

Maps Eleanor transaction references to Eleanor messages that contain the associated message group id.

Figure 1-20    iTPS table eleanor_reference_map


Column Name  

Type  

Size  

NULL  

Key Information  

Description  

reference  

VARCHAR2  

36  

Not Null  

 

Eleanor transaction reference value.  

msggrpid  

VARCHAR2  

100  

Not Null  

FK->identrus_data.msggrpid  

message group id for the Eleanor message.  



error_map

List of Eleanor reason codes and associated reason text

Figure 1-21    iTPS table error_map


Column Name  

Type  

Size  

NULL  

Key Information  

Description  

code  

VARCHAR2  

6  

Not Null  

 

Reason Code  

text  

VARCHAR2  

300  

Not Null  

 

Associated reason text that accompanies the reason code  

type  

VARCHAR2  

40  

Not Null  

 

The type acknowledgement this reason code is associated with.  

status  

VARCHAR2  

7  

Not Null  

 

Indicates whether this reason code is associated with a success or failure state.  



payments_log_email

This table records which email is sent to whom.

Figure 1-22    iTPS table payments_log_email


Column Name  

Type  

Size  

NULL  

Key Information  

Description  

time_stamp  

NUMBER  

 

Not Null  

 

When the email was sent  

subject  

VARCHAR2  

120  

 

 

The subject name of the email  

toemail  

VARCHAR2  

120  

 

 

To whom this email is addressed  

fromemail  

VARCHAR2  

120  

 

 

The sender of this email  

rawemail  

LONG  

 

 

 

The raw contents of the email data.  



payments_raw_in

Records all messages that are sent to iTPS

Figure 1-23    iTPS table payments_raw_in


Column Name  

Type  

Size  

NULL  

Key Information  

Description  

time_stamp  

NUMBER  

 

Not Null  

PK  

Time the message was received by iTPS from Biab  

group_id  

VARCHAR2  

120  

Not Null  

PK  

The msggrpid of the associated message originally received by Biab to which this is a response  

message_id  

VARCHAR  

120  

Not Null  

PK  

The msgid of associated message originally received by Biab to which this is a response  

raw_data  

LONG  

 

 

 

The actual xml data that constitutes the data  



payments_raw_out

Records all messages that are sent from iTPS

Figure 1-24    iTPS table payments_raw_out


Column Name  

Type  

Size  

NULL  

Key Information  

Description  

time_stamp  

NUMBER  

 

Not Null  

PK  

The time at which iTPS sent the message to Biab  

group_id  

VARCHAR2  

120  

Not Null  

PK  

The msggrpid from the original Identrus Eleanor message.  

message_id  

VARCHAR2  

120  

Not Null  

PK  

The msgid from the original Identrus Eleanor message.  

raw_data  

LONG  

 

 

 

The actual XML data that constitutes the message.  



sc_currency_code

Contain information about currencies that are used in Payment Transactions

Figure 1-25    iTPS table sc_currency_code


Column Name  

Type  

Size  

NULL  

Key Information  

Description  

sc_currcode  

VARCHAR2  

3  

Not Null  

PK  

The code that represents a currency  

sc_currname  

VARCHAR2  

255  

Not Null  

 

The description that describes the currency  



sc_currency_code_list

Contains a list of currencies that are linked to a settlement chain.

Figure 1-26    iTPS table sc_currency_code_list


Column Name  

Type  

Size  

NULL  

Key Information  

Description  

sc_currencyname  

VARCHAR2  

255  

Not Null  

 

Currency description that is linked to a specific settlement chain  

sc_currencycode  

VARCHAR2  

3  

Not Null  

 

Currency code that is linked to a specific settlement chain  



BIAB_Requests

All messages arriving at Biab.

Figure 1-27    iTPS table BIAB_Requests


Column Name  

Type  

Size  

NULL  

Key Information  

Description  

id  

NUMBER  

22  

Not Null  

PK  

Unique Identifier  

timestamp  

NUMBER  

22  

 

 

Timestamp reflecting when the message is received  

customerid  

VARCHAR2  

200  

 

 

The subscriber id  

customerdn  

VARCHAR2  

1024  

 

 

The DN of the subscribing customer  

type  

VARCHAR2  

40  

 

 

The type of the message, e.g "xPx"  

reference  

VARCHAR2  

100  

 

 

Bank Reference associated with the message  

sfireference  

VARCHAR2  

100  

 

 

SFI reference if any associated with the message  

msggrpid  

VARCHAR2  

120  

 

 

The Message Group id from the message  

msgid  

VARCHAR2  

120  

 

 

The Message id of the message  

messagetype  

VARCHAR2  

50  

 

 

The doctype of the message  

scheme  

VARCHAR2  

7  

 

 

The payment scheme, i.e. Eleanor  

lastack  

VARCHAR2  

40  

 

 

The type of the last acknowledgement that was sent in response to this message  

ackid  

VARCHAR2  

22  

 

 

This identifies the actual response that was sent  

message  

LONG  

LONG  

 

 

The xml message content  



BIAB_Responses

All messages sent from Biab.

Figure 1-28    iTPS table BIAB_Responses


Column Name  

Type  

Size  

NULL  

Key Information  

Description  

id  

NUMBER  

22  

Not Null  

PK  

A Unique Identifier  

requestid  

NUMBER  

22  

 

FK  

The id of the related request  

timestamp  

NUMBER  

22  

 

 

the timestamp when the response was sent  

type  

VARCHAR2  

40  

 

 

The type of the response, e.g. PayInst  

username  

VARCHAR2  

40  

 

 

The name of the user who initiated the response  

reference  

VARCHAR2  

40  

 

 

Bank reference if provided  

message  

LONG  

LONG  

 

 

The XML message content  



Configuration Pre-requisites



iTTM and iTPS, and all their associated components such as iAS and iWS, should be running while configuring services within iTTM.Thus, you must make sure the following software is up and running in the order specified

  1. Oracle 8.1.7

  2. nCipher HSMs on all machines

  3. iMQ for Java 2.0 on both the Buyer and Seller Bank machines

  4. Bank in a Box and iWS 6.0 on the Buyer and Seller Bank machines

  5. Bank in a Box administration tool server and iWS 6.0 on the Buyer and Seller Bank machines

  6. iTPS on the Buyer and Seller machines

    1. iWS 6.0 SP1 on both the Buyer and Seller Bank machines

    2. iAS 6.0 SP3 on both the Buyer and Seller Bank machines

    3. iTTM 3.0.1on both the Buyer and Seller Bank machines

  7. JMQ Proxy on both the Buyer and Seller Bank machines

  8. Buyer web site (BFI) web server

  9. Tooledup Seller web site web server

  10. Condition Management Website

  11. Obligation Management Website


System Configuration

iPlanet Payment Services Configuration can be accessed from the following menu

Figure 1-29    Payment Main Menu



Payment Gateway Preferences

The system administrator may configure

· The JMS queue identifiers used to communicate with the payment gateway.

· The timeout to be used when communicating with the payment gateway.

Figure 1-30    Payment Gateway Preferences Screen


This is already configured from the original installation and is set here as the default.

  • · Outbound Queue may not be empty

  • Timeout is how long you are prepared to wait for a response when you send a message to your JMS queue. 0 is the default and this means it waits indefinitely until it gets a response.

  • Number of Timeouts is the number of times you send a message to a queue to get a response. When the timeout is set to 0 it does not matter what you enter here.


Scheme Membership List

The system administrator may add, modify or delete entries from the Scheme Membership List.

If you want to use asynchronous acknowledgements you must populate the membership screens even if the membership is switched off. The membership entries allow iTPS to route acknowledgements to the F.I.

Figure 1-31    Membership List


  1. The membership entry must be made for both the member's issuing certificate (L1CA) and its inter-participant signing Certificate (L1IPSC). Use tokenkeystoretool on the member's Financial Institution installation to view the required Certificate DN's. You will also need your own financial institution's details entered into the membership screen so that iTPS is set-up to be able to recognise itself. Asynchronous acknowledgements will fail if these entries are not present.

    1. Type the following preparatory commands

      ./opt/ittm/Scripts/runtokenkeytool

    2. Open the store

      openstoremanager -domainspace "file:///itps-cpi/store" -manager local

      setdefaultstore -manager local -store identrus

    3. For the verification certificate, type

      listcerts

    4. For the Signing Certificates, type

      listkeys

  2. When the user clicks on a bank name, the Scheme Member Details screen is shown. When the user clicks the <delete> link, a confirmation dialog is displayed and, if confirmation is given, the corresponding entry is removed from the list. When the user clicks on the <add a new entry> link, the same Scheme Member Details screen is shown with empty fields.

  3. On submission, the Scheme Member Details form is validated according to the following rules:

  4. Bank Name needs to be present

  5. Comment is optional

  6. FI Code needs to be present. FI Code needs to be 11 digits.

  7. CUG ID needs to be the membership scheme e.g. Eleanor.

  8. Routing URI needs to be present and a valid URI according to RFC 2396.

  9. Bank Distinguished Name and Issuer Distinguished Name needs to be present and have a valid distinguished name according to RFC 2253. This the DN and Issuer DN of the L1IPSC as copied from the cert_table within Trustbase schema.

  10. Date is checked.

Figure 1-32    Member Details


Membership Status can be one of

  • Active

  • Pending

  • Suspended

  • Terminated

Service Status determines whether the member is still operating within the scheme. Members can be:

  • Available

  • Unavailable

To enable membership checking for this iTPS use the screen "General Payment Settings"


Inter-Participant Timeouts

The system administrator may configure the timeout values used when communicating with other Scheme participants.

Figure 1-33    Inter-Participant Timeouts Screen


These parameters determine how often you need to retry sending an interbank message. there are two values: (a) Timeout value: the length of time one waits before sending an interbank message again (b) Number of timeouts: the number of times one keeps retrying to send the interbank message. The Timeout value can be greater than 0. If set to 0, then Timeout is considered infinite. This can be left as the default and under normal circumstances does not need to be changed.


Payments Mail Settings

Configuring the settings for all outgoing messages sent by email used primarily for asynchronous acknowledgement emails and for Payment condition status update emails. Mail filters are provided to allow you to define the appearance of your messages. XLTS Static files are references in these filters to map Eleanor messages onto HTML.

Figure 1-34    Payments Mail Settings



Settlement Chain

Before making payments, a currency settlement chain needs to be established. This requires, in the first instance, deciding which financial institution you want to use to accept payments in a particular currency. You can then

  1. Select a currency

  2. Assign it to the financial institution (provided the financial institution can trade in that currency)

  3. Finally add it to your currency settlement chain.

In some instances you may want payment initiation messages to be settled in many different currencies. Under such circumstances, iPlanet Trustbase Payment Services needs to be configured to accept a number of financial institutions that are used to settle payments in a variety of currencies.

  1. Select <Services><Payments><Settlement Chain>

Figure 1-35    Settlement Chain Main Menu


Settlement chains are used by the SFI to inform the BFI of where to make payment if the currency supplied in the transaction cannot be accepted by the SFI directly. Under these circumstances a chain of F.Is is then created and added to the payment details to allow conversion of the payment into a currency that the SFI can accept.

  1. There are    four steps for adding a currency to the payment settlement chain:

    1. First select <Financial Institution Administration> assign the account number of the institution that is to settle your currency

    Financial Institution Administration

    The SFI settlement role is always set to the Beneficiary Institution. Each financial Institution entered may be entered several times for different currencies and associated accounts into which to place the payment.

    1. Second, define the currencies that can be accepted through this SFI. Select <Currency Code Administration>. Each currency code must have at least the SFI associated with the currency, effectively making a settlement chain of one financial Institution, itself.

Figure 1-36    Currency Code Administration


    1. Third select a currency that you want to assign a financial institution to. Select <Add Chain>

    2. Fourth select a currency, from the screen on the previous page, by double clicking on it and match the currency to the financial institution by selecting <Add Link> as illustrated below:

Figure 1-37    Adding a currency code to the Settlement Chain


If a SFI can accept a currency directly, then it alone has to be associated with that currency. If the SFI cannot directly accept a payment in a specific currency then a settlement chain of additional financial institutions has to be created in order to convert the payment into a currency that can be accepted by the SFI.

  1. Adjusting some of the data that appears in some of the tables can be done via the Oracle tables that are installed via the SQL script

    /opt/ittm/current/Config/sql/PaymentsNew.sql

The following table may need to be reconfigured:

  • SC_CURRENCY_CODE_LIST - This contains all the possible currency codes that a user can select from when forming a chain or creating a transaction currency code.


Payment Recovery

iTPS provides the facility to re-present a payment request in the event that it failed on the first attempt. This can occur for example, if the buyers financial institution is not contactable at the time of the payment request.

By select the <List Recoverable messages> from the payments menu, any transactions that started but failed to complete will be listed, as shown below.

Figure 1-38    Recoverable Messages


To initiate a recovery, select the <Start recovery process> option from the payments menu. This may take some time as it re-presents any recoverable payment requests through the system. Upon completion a list of recovered transactions is displayed, as shown below.

Figure 1-39    Recovered messages



Payments Product Configuration

Figure 1-40    Payment Products screen


iTPS will accept that a particular payment product if the enabled checkbox is set to true else an acknowledgement message will be returned stating that this payment is not supported.


Condition Registry

Figure 1-41    Condition Registry Screen


Enter Website location. This sets the location of the Condition Management Website. For instance,

http://myhost.mycompany.com/itps-cond/Webcr

Message frequency sent to the SFI. Everytime a condition is discharged you can select the option that allows you to send a message to the SFI on every single condition. Alternatively, you can choose to send one message when all conditions have been discharged.


General Payment Settings

Figure 1-42    General Payment Settings


Membership Check are performed if enabled. In the even you are not a member an acknowledgement message is sent back saying that the Financial Institution is not part of the scheme.

Challenge Request Required. Before a payment request is sent from one financial institution to another there is an ability to send a challenge request to that financial institution to ascertain the validity and credentials of that financial institution.

Customer Authentication Checking. When a customer sends a message to a bank, before proceeding, the bank can authenticate the customer. If enabled and the financial institution is not on the list, authentication fails. If not enabled and not on the list the financial institution may still not get authenticated. See also Subscriber Details Screen.

Customer Authentication - Ignore failure

Back Office Response expected. If enabled the back office system returns synchronously to payment requests. If disabled Back Office/ Biab Back end does not return a synchronous acknowledgment. The synchronous message will be issued from iTPS.

Cancellation Authentication Check Expected. If enabled this requires that the same certificates (both buyer and seller) that signed the payment request must be used to cancel that payment request.


Asynchronous Acknowledge Management

Figure 1-43    Asynchronous Acknowledge Management Screens


This decides who receives and sends asynchronous messages. If the check box is enabled this indicates that the particular financial institution under consideration sends a message. There are three main columns

  • BFI is the Buyers financial institution making a payment via the four corner model

  • SFI is the Sellers financial institution making a payment via the four corner model

  • SFI/BFI is when the seller and buyer are using the same financial institution making a payment via a 3 corner model.

Message types are used to indicate what stage the message has reached within each payment product.


Subscriber Details

Authorising Customers to the payment services is achieved by matching certificate name details. Upon successful match it assigns the customer with a customer ID. This is different from iPlanet Trustbase Transaction Manager's authorisation facility as iTPS has individual authorisation rather than generic corporate authorisation.

Figure 1-44    Subscriber Details


Select <Add>

Figure 1-45    Subscriber Details Add Screen


This screen maps the customer subject DN to a bank defined subscriber identifier. This subscriber identifier is used to identify the subscriber/customer to the back office systems. This check will be enabled only when the customer Authentication checking is enabled from the <general payment settings> menu option. Note, The customer subject DNs supplied must be uniquely defined within this authorisation list, although different subject DNs can be matched to the same bank defined customer identifier. This allows banks to use the same customer identifiers for groups of users or perhaps to allow a customer to have two smartcards if one is about to expire.


Remittance Details

Figure 1-46    Remittance Details


Remittance Data is where the bank can set the maximum size of the extra details you can put into a message to describe a payment.

Date Settings specify the dates between which a financial Institution will accept payment requests.


Transaction Monitoring

The Transaction Monitor is a Trustbase component that provides a data logging and tracing interface for the Trustbase administrator. Note iTPS 2.0 beta Patch 3 release ro later is required for Transaction Monitoring

  1. Select <Services> followed by <Payments>

Figure 1-47    Payments Configuration Main Menu



  1. Clicking on the <Transaction Monitor> link takes the administrator to the Transaction Monitor Search and Sort Screen. Transaction Monitor Search screen provides the Trustbase administrator facility to specify Search Attributes and date ranges

Figure 1-48    Transaction Monitor Search Screen



The screen provides

  • A Sort by option that fetches results and sorts by using the input as specified from the dropdown by the administrator. The available options are,

    • Eleanor Transaction Monitor

    • Message Type

    • Sender

    • Payments Product Type

  • Search Dates and Time option to narrow down the search to the specified duration.

  • Search Attributes can be

    • Eleanor Transaction Reference.

    • Product Type

    • Message Type

    • Sender

  • In addition there is a drop down box with options as <IS> or <ISNOT> beside the search attributes control if the specified search criteria is an inclusive or an exclusive one.

  • The following Screen illustrates a typical seacrh

Figure 1-49    Example Search



  1. After the Trustbase administrator provides the relevant details, select <Search> takes him to the Transaction Monitor History Screen. Selecting <Back> takes the user to the previous screen.

Figure 1-50    Transaction Monitor History Screen



  • The records matching the search criteria specified by the administrator are shown for each of the records as following.

    • Payments Product Type : One of the six payments product types.

      • Direction       : Received or Sent based on whether                      incoming or outgoing message.            

      • Role       : SFI or BFI, depending on the role of                       the particular corner.

      • Model       : SFIM or BFIM if 4 corner, else SFI-3CM                       or BFI-3CM. Undefined, if not relevant.

      • Eleanor Reference : The eleanor transaction reference                             number.

      • Message Type          : The Payment message document type.

      • Sender        : The subject DN of the sender.                

  • Pagination. There are 10 fetched records shown per page, and the user navigates between pages by clicking on the page numbers at the bottom of the page.

  • Select <view> takes the user to the Single Transaction Messages screen which is described in brief below.

Figure 1-51    Transaction Monitor Single Message Screen



  1. Select <view> for a particular Message type for the particular transaction and the folowing screen appears

Figure 1-52    Message type for a particular transaction.



For example, a transaction with PaymentRequest message type will have appropiate details from the Payment Request message in addition to the details such as Direction, Message Type, Role, Sender Details and the Message Dates.

  1. Finally, selecting <XML> takes the administrator to the Single Message Original XML screen. The <Back> button takes the user to the previous screen. Certificate details have been removed for readability reasons.

Figure 1-53    Message XML details




Configuring Users (advanced)



The UserDbTool is used for registration of Seller access to the obligation website, Buyer access to the condition registry website and the ability for a specific buyer to be enabled for conditional payments.

There are commands to create, browse, delete and modify Users, Organisations, and Roles and the associations between them. To start the UserDbTool, run the runuserdbtool script from within the Scripts directory of an iTTM installation


Attributes

Each user needs to be assigned an organisation attribute. Organisations are identified by name, and there are commands to create, delete and view Organisations

neworganisation -organisation <organisationname>

create a new Organisation. The organisation must be supplied, and may contain spaces if it is delimited by quotes

deleteorganisation -organisation <organisationname>

delete an Organisation. If there are any Users which belong to the Organisation identified then this command will fail. Users belonging to an Organisation must themselves be deleted or have their Organisational associations changed before an Organisation can be deleted

lookuporganisation [ -organisation <organisationname> ]

search for an Organisation. If the optional organisation parameter is omitted, then all Organisations are displayed


Roles

Each User has zero or more Roles. A Role determines the rights and privileges that a User has to access information or perform actions in the system. Roles are identified by name, and there are commands to create, delete and view Roles

newrole -role <rolename>

create a new Role with the given name. The ConditionRegistry recognises the role BUYER [ for a Buyer ] and BFI [ for a BFI agent ]. The ObligationRegsitry recognises the role SELLER. There is no reason that a User could not have more than one role, for instance a Seller may also be a Buyer

deleterole -role <rolename>

delete a Role. If there are any Users which have this Role, then their association with the Role will be removed, and the Role will be deleted.

lookuprole [ -role <rolename> ]

search for a Role. If the optional role parameter is omitted, then all Roles are displayed.

Note, the condition registry website only recognises one role per Smartcard registration therefore a single Smartcard cannot act as a buyer to waive conditions and as a CDP to discharge conditions.


Users

Users are the core entities managed by the UserDbTool. It is the organisational and Role associations of a User that determine what information they can access and what actions they can perform. Users are identified by the Issuer Distinguished Name and Subject Distinguished Name from their digital certificates. There are commands to create, delete, view and update Users

newuser -issuer <issuerDN> -subject <subjectDN> -organisation <organisationName> [ -email <email> ] [ -role <roleName> ]*

create a new User. The users Issuer Distinguished Name and Subject Distinguished Name must be supplied, as must the name of an Organisation [ which must already have been created ]. An email address for conditional payment buyer notification should be assigned if the role will include "BUYER". This email address allows flexibility if the buyer organisation requires conditional notifications to be a different address to that in the buyer certificate for the payment. Roles can be assigned as either "BUYER" or "SELLER" or both.

deleteuser -issuer <issuerDN> -subject <subjectDN>

delete a User. The Issuer and Subject Distinguished Names identify the User to delete

lookupuser [ -issuer <issuerDN> -subject <subjectDN> ]

search for a User. If the optional Issuer and Subject Distinguished Names are not supplied, then all Users will be displayed

updateuser -issuer <issuerDN> -subject <subjectDN> [ -organisation <organisationName> ] [ -email <email> ] [ -deleteemail ]

[ -deleterole <roleName> ]* [ -role <roleName> ]*

Update a Users entry. The User is identified by the Issuer and Subject Distinguished Names, and the remaining optional parameters identify the Organisation and Role association changes to be carried out.

-organisation <organisationName> : change the Users Organisation association to the named Organisation, which must exist in the database

-email <email> : change the Users email address to that supplied

-deleteemail : remove the Users email address, without supplying a new one

-deleterole <roleName> : if the user has the named Role, remove that associations

-role <roleName> : add an association to the named Role for the User


Previous     Contents     DocHome     Index     Next     
Copyright © 2001 Sun Microsystems, Inc. Some preexisting portions Copyright © 2001 Netscape Communications Corp. All rights reserved.

Last Updated October 22, 2002