Sun ONE ·Î°í     ÀÌÀü      ¸ñÂ÷      »öÀÎ      ´ÙÀ½     
Sun ONE Application Server 7, Update 1 °ü¸®ÀÚ ¼³¸í¼­



°¡»ó ¼­¹ö »ç¿ë

ÀÌ Àå¿¡¼­´Â Sun ONE Application Server¸¦ »ç¿ëÇÏ¿© °¡»ó ¼­¹ö¸¦ ¼³Á¤ ¹× °ü¸®ÇÏ´Â ¹æ¹ý¿¡ ´ëÇØ ¼³¸íÇÕ´Ï´Ù. °¡»ó ¼­¹ö ³»¿ë¿¡ ´ëÇÑ ¼³Á¤À» ±¸¼ºÇÏ´Â ¹æ¹ý¿¡ ´ëÇÑ ÀÚ¼¼ÇÑ ³»¿ëÀº "°¡»ó ¼­¹ö ³»¿ë °ü¸®"¸¦ ÂüÁ¶ÇϽʽÿÀ.

ÀÌ Àå¿¡¼­´Â ´ÙÀ½ ³»¿ëÀ» ¼³¸íÇÕ´Ï´Ù.

°¡»ó ¼­¹ö °³¿ä

°¡»ó ¼­¹ö¸¦ »ç¿ëÇÏ´Â °æ¿ì, ¼³Ä¡µÈ ´ÜÀÏ ¼­¹ö¿¡ ȸ»ç ¶Ç´Â °³ÀÎ µµ¸ÞÀÎ À̸§°ú IP ÁÖ¼Ò ¹× ¼­¹ö ¸ð´ÏÅ͸µ ±â´ÉÀ» Á¦°øÇÒ ¼ö ÀÖ½À´Ï´Ù. »ç¿ëÀÚÀÇ °æ¿ì Çϵå¿þ¾î¸¦ °®Ãß°í °¡»ó ¼­¹ö¸¦ À¯Áö °ü¸®Çϱä ÇÏÁö¸¸ °íÀ¯ À¥ ¼­¹ö¸¦ °¡Áø °Í°ú °ÅÀÇ °°½À´Ï´Ù.

Sun ONE Application ServerÀÇ ºñ¹øµé ¹öÀüÀ» ¼³Ä¡Çϸé ÀÀ¿ë ÇÁ·Î±×·¥ ÀνºÅϽº¿¡ ´ëÇÑ ±âº» °¡»ó ¼­¹ö°¡ ¸¸µé¾îÁý´Ï´Ù. Áï, ±âº» ÀÀ¿ë ÇÁ·Î±×·¥ ¼­¹ö ÀνºÅϽº server1¿¡ ´ëÇØ server1À̶ó´Â °¡»ó ¼­¹ö°¡ ¶ÇÇÑ ¸¸µé¾îÁý´Ï´Ù. Solaris 9 ¹øµé ¹öÀüÀ» »ç¿ëÇÏ´Â °æ¿ì¿¡´Â ¼­¹ö ÀνºÅϽº¸¦ ¸¸µé¾î¾ß ÇÕ´Ï´Ù. ¼­¹ö ÀνºÅϽº¸¦ ¸¸µé¸é À̸§ÀÌ °°Àº °¡»ó ¼­¹ö°¡ ¶ÇÇÑ ¸¸µé¾îÁý´Ï´Ù. °¡»ó ¼­¹ö´Â ÀÌ·¸°Ô ¸¸µç °¢ Ãß°¡ ÀÀ¿ë ÇÁ·Î±×·¥ ¼­¹ö ÀνºÅϽº¿¡ ´ëÇØ ¸¸µé¾îÁý´Ï´Ù. °¡»ó ¼­¹ö ¸¸µé±â ¹× ±¸¼º¿¡ ´ëÇÑ ÀÚ¼¼ÇÑ ³»¿ëÀº "°¡»ó ¼­¹ö ¸¸µé±â ¹× ±¸¼º"À» ÂüÁ¶ÇϽʽÿÀ. °¡»ó ¼­¹ö ¹èÆ÷¿¡ ´ëÇÑ ÀÚ¼¼ÇÑ ³»¿ëÀº "°¡»ó ¼­¹ö ¹èÆ÷"¸¦ ÂüÁ¶ÇϽʽÿÀ.

°¡»ó ¼­¹ö´Â °³º° °¡»ó ¼­¹ö¿¡¼­ »ç¿ë °¡´ÉÇÑ Sun ONE Application ServerÀÇ HTTP ±â´ÉÀ» Á¦¾îÇÕ´Ï´Ù. °¡»ó ¼­¹ö¸¦ ¿©·¯ °³ »ç¿ëÇÏÁö ¾ÊÀ» °æ¿ì¿¡µµ ÀÀ¿ë ÇÁ·Î±×·¥ ¼­¹ö ÀνºÅϽº¸¦ »ç¿ëÇÏ¿© ¸¸µç ±âº» °¡»ó ¼­¹ö¸¦ ±¸¼ºÇÏ¿© ÀÀ¿ë ÇÁ·Î±×·¥ ¼­¹ö ÀνºÅϽº¿¡ ´ëÇÑ Æ¯Á¤ÇÑ µî·Ï Á¤º¸¸¦ ±¸¼ºÇÕ´Ï´Ù.

°¡»ó ¼­¹ö¿¡ ´ëÇÑ ¼³Á¤Àº instance_dir/config µð·ºÅ丮¿¡ ÀÖ´Â server.xml ÆÄÀÏÀÇ virtual-server ¿ä¼Ò¿¡ ÀúÀåµË´Ï´Ù. ÀÌ ÆÄÀÏ¿¡ ´ëÇÑ ÀÚ¼¼ÇÑ ³»¿ëÀº Sun ONE Application Server Administrator's Configuration File Reference¸¦ ÂüÁ¶ÇϽʽÿÀ.

°¡»ó ¼­¹ö¿¡ ´ëÇÑ ÀϺΠÁ¤º¸´Â obj.conf ÆÄÀÏ¿¡ ÀúÀåµË´Ï´Ù. °¢ °¡»ó ¼­¹ö¿¡´Â º°µµÀÇ obj.conf ÆÄÀÏÀÌ ÀÖ½À´Ï´Ù.

ÀÌ Àý¿¡¼­´Â ´ÙÀ½ Ç׸ñ¿¡ ´ëÇØ ¼³¸íÇÕ´Ï´Ù.

HTTP Listener

¼­¹ö¿Í Ŭ¶óÀÌ¾ðÆ® °£ ¿¬°áÀº ¼ö½Å ¼ÒÄÏÀ̶ó°íµµ ÇÏ´Â HTTP Listener¿¡¼­ ÀÌ·ç¾îÁý´Ï´Ù. »ç¿ëÀÚ°¡ ¸¸µç °¢ HTTP Listener¿¡´Â IP ÁÖ¼Ò¿Í Æ÷Æ® ¹øÈ£, ¼­¹ö À̸§ ¹Ýȯ ¹× ±âº» °¡»ó ¼­¹ö°¡ ÀÖ½À´Ï´Ù. HTTP Listener¸¦ ½Ã½ºÅÛÀÇ ÇØ´ç Æ÷Æ®¿¡ ±¸¼ºµÈ ¸ðµç IP ÁÖ¼Ò¿¡¼­ ¼ö½ÅÇÏ·Á¸é IP ÁÖ¼Ò¿¡ ´ëÇØ 0.0.0.0, any, ANY ¶Ç´Â INADDR_ANY¸¦ »ç¿ëÇϽʽÿÀ. HTTP Listener ¸¸µé±â ¹× ±¸¼º¿¡ ´ëÇÑ ÀÚ¼¼ÇÑ ³»¿ëÀº "HTTP Listener ¸¸µé±â ¹× ±¸¼º"À» ÂüÁ¶ÇϽʽÿÀ.

Sun ONE Application ServerÀÇ ºñ¹øµé ¹öÀüÀ» ¼³Ä¡Çϸé, ÇϳªÀÇ HTTP Listener (http-listener-1)°¡ ÀÚµ¿À¸·Î ¸¸µé¾îÁý´Ï´Ù. ÀÌ HTTP Listener´Â IP ÁÖ¼Ò 0.0.0.0°ú ¼³Ä¡ Áß¿¡ HTTP ¼­¹ö Æ÷Æ® ¹øÈ£·Î ÁöÁ¤ÇÑ Æ÷Æ® ¹øÈ£¸¦ »ç¿ëÇÕ´Ï´Ù. UNIX¿¡¼­ ±âº» Æ÷Æ® ¹øÈ£´Â ·çÆ®·Î ¼³Ä¡ÇÏÁö ¾Ê´Â °æ¿ì 80 ¶Ç´Â 1024ÀÔ´Ï´Ù. ±âº» HTTP Listener´Â »èÁ¦ÇÒ ¼ö ¾ø½À´Ï´Ù. ¿©·¯ °¡»ó ¼­¹ö¸¦ »ç¿ë ÁßÀÎ °æ¿ì, ¸ðµç °¡»ó ¼­¹ö¿¡ ´ëÇØ ±âº» HTTP Listener¸¦ »ç¿ëÇϰųª ¿©·¯ HTTP Listener¸¦ ¸¸µé ¼ö ÀÖ½À´Ï´Ù.

Solaris 9 ¹øµéÇü Sun ONE Application Server¸¦ »ç¿ëÇÏ´Â °æ¿ì, ¼­¹ö ÀνºÅϽº¸¦ ¸¸µé ¶§ HTTP Listener°¡ »ý¼ºµË´Ï´Ù. ÀÌ HTTP Listener´Â IP address 0.0.0.0°ú ÀνºÅϽº¸¦ ¸¸µé ¶§ ÁöÁ¤ÇÑ Æ÷Æ® ¹øÈ£¸¦ °®½À´Ï´Ù.

HTTP Listener´Â IP ÁÖ¼Ò¿Í Æ÷Æ® ¹øÈ£ÀÇ Á¶ÇÕÀ̹ǷÎ, ¿©·¯ HTTP ListenerÀÇ IP ÁÖ¼Ò´Â °°°í Æ÷Æ® ¹øÈ£´Â ´Ù¸¦ ¼ö ÀÖ½À´Ï´Ù ¶Ç´Â IP ÁÖ¼Ò´Â ´Ù¸£°í Æ÷Æ® ¹øÈ£´Â °°À» ¼ö ÀÖ½À´Ï´Ù. ¿¹¸¦ µé¾î, HTTP Listener´Â 1.1.1.1:81 ¹× 1.1.1.1:82°¡ µÉ ¼ö ÀÖÀ¸¸ç, 1.1.1.1:81 ¹× 1.2.3.4:81°¡ µÉ ¼öµµ ÀÖ½À´Ï´Ù. ÀÌ´Â ½Ã½ºÅÛÀÌ ÇØ´ç ÁÖ¼Ò¿¡ ¸ðµÎ ÀÀ´äÇÒ ¼ö ÀÖµµ·Ï ±¸¼ºµÈ °æ¿ì¿¡¸¸ °¡´ÉÇÕ´Ï´Ù. ±×·¯³ª ÇÑ Æ÷Æ®¿¡ ÁöÁ¤µÈ ¸ðµç IP ÁÖ¼Ò¿¡¼­ ¼ö½ÅÇÒ ¼ö ÀÖ´Â 0.0.0.0 IP ÁÖ¼Ò¸¦ »ç¿ëÇÏ´Â °æ¿ì, ƯÁ¤ÇÑ IP ÁÖ¼Ò¿Í µ¿ÀÏÇÑ Æ÷Æ®¿¡¼­ ¼ö½ÅÇÒ ¼ö ÀÖ´Â Ãß°¡ IP ÁÖ¼Ò¸¦ HTTP Listener¿¡ ¼³Á¤ÇÒ ¼ö ¾ø½À´Ï´Ù. ¿¹¸¦ µé¾î, 0.0.0.0:80(Æ÷Æ® 80¿¡ ÁöÁ¤µÈ ¸ðµç IP ÁÖ¼Ò)À» »ç¿ëÇÏ´Â HTTP Listener°¡ ÀÖ´Â °æ¿ì 1.2.3.4:80À» »ç¿ëÇÏ´Â HTTP Listener´Â ¸¸µé ¼ö ¾ø½À´Ï´Ù.

¶ÇÇÑ °¢ HTTP Listener¿¡´Â ¿äû¿¡¼­ ÁöÁ¤ÇÑ °¡»ó ¼­¹ö¿¡ ¿¬°áµÇÁö ¾ÊÀ» ¶§ ÇØ´ç ¿äûÀ» ¶ó¿ìÆÃÇÏ´Â ¼­¹öÀÎ ±âº» °¡»ó ¼­¹ö°¡ ÀÖ½À´Ï´Ù.

¶ÇÇÑ HTTP ListenerÀÇ ¾ï¼ÁÅÍ ½º·¹µå(¾ï¼ÁÆ® ½º·¹µå¶ó°íµµ ÇÔ) ¼ö¸¦ ÁöÁ¤ÇÕ´Ï´Ù. ¾ï¼ÁÆ® ½º·¹µå´Â ¿¬°áÀ» ±â´Ù¸®´Â ½º·¹µåÀÔ´Ï´Ù. ½º·¹µå´Â ¿¬°áÀ» ½ÂÀÎÇϰí ÀÌ ¿¬°áÀ» ÀÛ¾÷ÀÚ ½º·¹µå¿¡¼­ ¼±ÅÃÇÒ ¼ö ÀÖµµ·Ï ´ë±â¿­¿¡ µÓ´Ï´Ù. ¾ï¼ÁÆ® ½º·¹µå´Â ÃæºÐÈ÷ ÀÖÀ¸¸é »õ·Î¿î ¿äûÀÌ ÀÖÀ» ¶§ Ç×»ó »ç¿ëÇÒ ¼ö ÀÖÀ¸³ª ½Ã½ºÅÛ¿¡ ¸¹Àº ºÎ´ãÀ» ÁÙ ¼ö ÀÖ½À´Ï´Ù. ±âº»°ªÀº 1À̸ç, ½Ã½ºÅÛÀÇ CPU´ç ÇϳªÀÇ ¾ï¼ÁÆ® ½º·¹µå¸¦ °®´Â °ÍÀÌ ÁÁ½À´Ï´Ù. ¼º´É¿¡ ¹®Á¦°¡ ÀÖ´Â °æ¿ì ÀÌ °ªÀ» Á¶Á¤ÇÒ ¼ö ÀÖ½À´Ï´Ù.

¶ÇÇÑ HTTP Listener¿¡ ´ëÇÑ º¸¾ÈÀÇ »ç¿ë ¿©ºÎ¿Í »ç¿ë ÁßÀÎ º¸¾ÈÀÇ Á¾·ù(¿¹: SSL Á¾·ù ¹× ¾Ïȣȭ Á¾·ù)¸¦ ÁöÁ¤ÇÒ ¼ö ÀÖ½À´Ï´Ù.

°¡»ó ¼­¹ö

°¡»ó ¼­¹ö¸¦ ¸¸µé·Á¸é, ¸ÕÀú ¿øÇÏ´Â °¡»ó ¼­¹öÀÇ Á¾·ù¸¦ °áÁ¤ÇØ¾ß ÇÕ´Ï´Ù. »ç¿ëÀÚ´Â IP ÁÖ¼Ò ±â¹Ý °¡»ó ¼­¹ö ¶Ç´Â URL È£½ºÆ® ±â¹Ý °¡»ó ¼­¹ö¸¦ »ç¿ëÇϰí ÀÖÀ» ¼ö ÀÖ½À´Ï´Ù. °¡»ó ¼­¹ö¸¦ ¸¸µé·Á¸é ÇϳªÀÇ °¡»ó ¼­¹ö ID, Çϳª ÀÌ»óÀÇ HTTP Listener ¹× Çϳª ÀÌ»óÀÇ URL È£½ºÆ®¸¦ ÁöÁ¤ÇØ¾ß ÇÕ´Ï´Ù.

ÀÌ Àý¿¡¼­´Â ´ÙÀ½ Ç׸ñ¿¡ ´ëÇØ ¼³¸íÇÕ´Ï´Ù.

°¡»ó ¼­¹öÀÇ À¯Çü

¸ðµç °¡»ó ¼­¹ö¿¡´Â ÁöÁ¤µÈ URL È£½ºÆ®°¡ ÀÖ½À´Ï´Ù. ±×·¯³ª °¡»ó ¼­¹ö¸¦ HTTP Listener¿¡ ±â¹ÝÇÑ IP ÁÖ¼Ò¿¡ ¿¬°áÇÒ ¼öµµ ÀÖ½À´Ï´Ù. °¡»ó ¼­¹öÀÇ HTTP Listener°¡ ƯÁ¤ÇÑ IP ÁÖ¼Ò¿¡¼­ ¼ö½ÅÇÏ´Â °æ¿ì, ÀÌ °¡»ó ¼­¹ö¸¦ IP ÁÖ¼Ò ±â¹Ý °¡»ó ¼­¹ö¶ó°í ÇÕ´Ï´Ù.

¿©·¯ °¡»ó ¼­¹ö°¡ µ¿ÀÏÇÑ IP ÁÖ¼Ò¿¡¼­ ¼ö½ÅÇÏ´Â °æ¿ì, ÇØ´ç °¡»ó ¼­¹ö´Â URL È£½ºÆ®¿¡ ÀÇÇØ ±¸º°µÇ¹Ç·Î URL È£½ºÆ® ±â¹Ý °¡»ó ¼­¹ö¶ó°í ÇÕ´Ï´Ù.

»õ·Î¿î ¿äûÀÌ ÀÖÀ» °æ¿ì, ¼­¹ö¿¡¼­ IP ÁÖ¼Ò ¶Ç´Â Host Çì´õ °ªÀ» ±â¹ÝÀ¸·Î ÇÏ¿© ÇØ´ç ¿äûÀ» Àü´ÞÇÒ ¼­¹öÀÇ Á¾·ù¸¦ °áÁ¤ÇÕ´Ï´Ù. ¼­¹ö¿¡¼­´Â IP ÁÖ¼Ò¸¦ ¸ÕÀú Æò°¡ÇÕ´Ï´Ù. ÀÚ¼¼ÇÑ ³»¿ëÀº "¿äû ÇÁ·Î¼¼½º¿¡ ´ëÇÑ °¡»ó ¼­¹ö ¼±ÅÃ"À» ÂüÁ¶ÇϽʽÿÀ.

IP ÁÖ¼Ò ±â¹Ý °¡»ó ¼­¹ö

ÇÑ ÄÄÇ»ÅÍ¿¡¼­ ¿©·¯ IP ÁÖ¼Ò¸¦ »ç¿ëÇÏ·Á¸é ¿î¿µ üÁ¦¸¦ ÅëÇØ ÁÖ¼Ò¸¦ ¸ÅÇÎÇϰųª Ãß°¡ Ä«µå¸¦ Á¦°øÇØ¾ß ÇÕ´Ï´Ù. ¿î¿µ üÁ¦¸¦ ÅëÇØ ¿©·¯ IP ÁÖ¼Ò¸¦ ¼³Á¤ÇÏ·Á¸é ³×Æ®¿öÅ© Á¦¾îÆÇ(WindowsÀÇ °æ¿ì) ¶Ç´Â ifconfig À¯Æ¿¸®Æ¼(UNIXÀÇ °æ¿ì)¸¦ »ç¿ëÇϽʽÿÀ. ifconfigÀÇ »ç¿ë ¹æ¹ýÀº Ç÷§Æû¿¡ µû¶ó ´Ù¾çÇÕ´Ï´Ù. ÀÚ¼¼ÇÑ ³»¿ëÀº ¿î¿µ üÁ¦ ¼³¸í¼­¸¦ ÂüÁ¶ÇϽʽÿÀ.

ƯÁ¤ÇÑ IP ÁÖ¼Ò¿¡¼­ ¼ö½ÅÇÏ´Â HTTP Listener¸¦ ¸¸µé¾î IP ÁÖ¼Ò ±â¹Ý °¡»ó ¼­¹ö¸¦ ¸¸µì´Ï´Ù. ±×·± ´ÙÀ½ °¡»ó ¼­¹ö(HTTP Listener¿¡ ´ëÇÑ ±âº» °¡»ó ¼­¹ö)¸¦ ¿¬°áÇÕ´Ï´Ù. °¡»ó ¼­¹ö ¹èÆ÷ ¹æ¹ý¿¡ ´ëÇÑ ÀÚ¼¼ÇÑ ³»¿ëÀº "°¡»ó ¼­¹ö ¹èÆ÷"¸¦ ÂüÁ¶ÇϽʽÿÀ.

URL È£½ºÆ® ±â¹Ý °¡»ó ¼­¹ö

°¡»ó ¼­¹ö¿¡ °íÀ¯ÇÑ URL È£½ºÆ®¸¦ ÁöÁ¤ÇÏ¿© URL È£½ºÆ® ±â¹Ý °¡»ó ¼­¹ö¸¦ ¼³Á¤ÇÒ ¼ö ÀÖ½À´Ï´Ù. È£½ºÆ® ¿äû Çì´õÀÇ ³»¿ëÀ» º¸¸é ¿Ã¹Ù¸¥ °¡»ó ¼­¹ö¸¦ ¾Ë ¼ö ÀÖ½À´Ï´Ù.

¿¹¸¦ µé¾î, °í°´ (aaa, bbb ¹× ccc)¿¡ ´ëÇÑ °¡»ó ¼­¹ö¸¦ ¼³Á¤ÇÏ¿© °¢ °í°´ÀÌ °³º° µµ¸ÞÀÎ À̸§À» °¡Áú ¼ö ÀÖµµ·Ï ÇÏ·Á¸é, ¸ÕÀú DNS¸¦ ±¸¼ºÇÏ¿© °¢ °í°´ÀÇ URL (www.aaa.com, www.bbb.com, www.ccc.com)ÀÌ »ç¿ë ÁßÀÎ HTTP ListenerÀÇ IP ÁÖ¼Ò¸¦ ÀνÄÇϵµ·Ï ÇØ¾ß ÇÕ´Ï´Ù. ±×·± ´ÙÀ½ °¢ °¡»ó ¼­¹ö¿¡ ´ëÇÑ URL È£½ºÆ®¸¦ Á¤È®ÇÏ°Ô ¼³Á¤ÇÕ´Ï´Ù(¿¹: www.aaa.com). /etc/hosts ÆÄÀÏÀÇ IP ÁÖ¼Ò¿¡ È£½ºÆ®¸¦ ¸ÅÇÎÇØ¾ß ÇÕ´Ï´Ù.

HTTP Listener¿¡ ¿¬°áµÈ ÀÌ·¯ÇÑ URL È£½ºÆ® ±â¹Ý °¡»ó ¼­¹öÀÇ ¼ö¿¡´Â Á¦ÇÑÀÌ ¾ø½À´Ï´Ù.

URL È£½ºÆ® ±â¹Ý °¡»ó ¼­¹ö¿¡¼­´Â È£½ºÆ® ¿äû Çì´õ¸¦ »ç¿ëÇÏ¿© »ç¿ëÀÚ°¡ Á¤È®ÇÑ ÆäÀÌÁö¸¦ ãÀ» ¼ö ÀÖµµ·Ï ÇϹǷÎ, ÀϺΠŬ¶óÀÌ¾ðÆ® ¼ÒÇÁÆ®¿þ¾î´Â ÀÌ ¼­¹ö¿¡¼­ ÀÛµ¿ÇÏÁö ¾Ê½À´Ï´Ù. HTTP Host Çì´õ¸¦ Áö¿øÇÏÁö ¾Ê´Â ÀÌÀüÀÇ Å¬¶óÀÌ¾ðÆ® ¼ÒÇÁÆ®¿þ¾î´Â ÀÛµ¿ÇÏÁö ¾Ê½À´Ï´Ù. ÀÌ·¯ÇÑ Å¬¶óÀÌ¾ðÆ®´Â HTTP Listener¿¡ ´ëÇÑ ±âº» °¡»ó ¼­¹ö¸¦ ¼ö½ÅÇÕ´Ï´Ù.

±âº» °¡»ó ¼­¹ö

URL È£½ºÆ® ±â¹Ý °¡»ó ¼­¹ö´Â È£½ºÆ® ¿äû Çì´õ¸¦ »ç¿ëÇÏ¿© ¼±Åõ˴ϴÙ. ÃÖÁ¾ »ç¿ëÀÚÀÇ ºê¶ó¿ìÀú¿¡¼­ Host Çì´õ¸¦ Àü¼ÛÇÏÁö ¾Ê°Å³ª ¼­¹ö¿¡¼­ ÁöÁ¤µÈ Host Çì´õ¸¦ ãÀ» ¼ö ¾ø´Â °æ¿ì, HTTP Listener¿¡ ´ëÇÑ ±âº» °¡»ó ¼­¹ö¿¡¼­ ¿äûÀ» ó¸®ÇÕ´Ï´Ù.

¶ÇÇÑ IP ÁÖ¼Ò ±â¹Ý °¡»ó ¼­¹öÀÇ °æ¿ì, Sun ONE Application Server¿¡¼­ ÁöÁ¤µÈ IP ÁÖ¼Ò¸¦ ãÀ» ¼ö ¾øÀ» °æ¿ì HTTP ListenerÀÇ ±âº» °¡»ó ¼­¹ö¿¡¼­ ¿äûÀ» ó¸®ÇÕ´Ï´Ù. ¿À·ù ¸Þ½ÃÁö¸¦ Àü´ÞÇϰųª ƯÁ¤ÇÑ ¹®¼­ ·çÆ®¿¡¼­ ¼­¹ö ÆäÀÌÁö¸¦ Àü¼ÛÇϵµ·Ï ±âº» °¡»ó ¼­¹ö¸¦ ±¸¼ºÇÒ ¼ö ÀÖ½À´Ï´Ù.



ÁÖ

HTTP ListenerÀÇ ±âº» °¡»ó ¼­¹ö¿Í ¼­¹ö¸¦ ¼³Ä¡ÇÒ ¶§ ¸¸µé¾îÁö´Â ±âº» °¡»ó ¼­¹ö¸¦ ¼­·Î È¥µ¿ÇÏÁö ¸¶½Ê½Ã¿À. ±âº» °¡»ó ¼­¹ö´Â ±âº» ÀÀ¿ë ÇÁ·Î±×·¥ ¼­¹ö ÀνºÅϽº¿¡ ´ëÇÑ °¡»ó ¼­¹öÀÔ´Ï´Ù. HTTP ListenerÀÇ ±âº» °¡»ó ¼­¹ö´Â »ç¿ëÀÚ°¡ ±âº»°ªÀ¸·Î ÁöÁ¤ÇÑ °¡»ó ¼­¹öÀÔ´Ï´Ù.



HTTP Listener¸¦ ¸¸µé ¶§ ±âº» °¡»ó ¼­¹ö¸¦ ÁöÁ¤ÇÕ´Ï´Ù. ¾ðÁ¦µçÁö ±âº» °¡»ó ¼­¹ö¸¦ ¹Ù²Ü ¼ö ÀÖ½À´Ï´Ù.

obj.conf ÆÄÀÏ

±âº»ÀûÀ¸·Î °¢ °¡»ó ¼­¹ö¿¡´Â °¡»ó ¼­¹ö ¼³Á¤À» ÀúÀåÇÏ´Â º°µµÀÇ obj.conf ÆÄÀÏÀÌ ÀÖ½À´Ï´Ù. °ü¸® ÀÎÅÍÆäÀ̽º ¶Ç´Â ¸í·ÉÁÙ ÀÎÅÍÆäÀ̽º¸¦ ÅëÇØ ¼³Á¤À» º¯°æÇϸé, ÀÌ º¯°æ »çÇ×Àº °¡»ó ¼­¹öÀÇ obj.conf ÆÄÀÏÀ» Æ÷ÇÔÇÏ¿© ±¸¼º ÆÄÀÏ¿¡ ÀÚµ¿À¸·Î Àû¿ëµË´Ï´Ù. ¸ðµç obj.conf ÆÄÀÏÀº instance_dir/config µð·ºÅ丮¿¡ ÀÖ½À´Ï´Ù. ÀÌ ¼³¸í¼­¿¡¼­ ¾ð±ÞÇÏ´Â "obj.conf ÆÄÀÏ"Àº ¸ðµç obj.conf ÆÄÀÏ ¶Ç´Â ¼³¸í ÁßÀÎ °¡»ó ¼­¹öÀÇ obj.conf ÆÄÀÏÀ» °¡¸®Åµ´Ï´Ù.

Á¢µÎ¾î°¡ ¾ø´Â obj.conf¶ó´Â À̸§ÀÇ ÆÄÀÏÀº Sun ONE Application Server¿¡¼­ °¢ °¡»ó ¼­¹ö¿¡ ´ëÇÑ obj.conf ÆÄÀÏÀ» ¸¸µå´Â µ¥ »ç¿ëÇÏ´Â ÅÛÇø®Æ®ÀÔ´Ï´Ù. ÀÌ ÆÄÀÏÀº ÆíÁýÇØµµ ±âÁ¸ÀÇ °¡»ó ¼­¹ö¿¡ ¿µÇâÀ» ÁÖÁö ¾ÊÁö¸¸, ÀÌÈÄ¿¡ ¸¸µé¾îÁö´Â °¡»ó ¼­¹ö¿¡´Â ¿µÇâÀ» ÁÝ´Ï´Ù. obj.conf ÆÄÀÏÀ» Á÷Á¢ ÆíÁýÇÏ´Â ¹æ¹ý¿¡ ´ëÇÑ ÀÚ¼¼ÇÑ ³»¿ëÀº Sun ONE Application Server Administrator's Configuration File Reference¸¦ ÂüÁ¶ÇϽʽÿÀ.

±âº»ÀûÀ¸·Î °¢ Ȱ¼º obj.conf ÆÄÀÏÀÇ À̸§Àº virtual_server_name-obj.confÀÔ´Ï´Ù. ¼­¹ö ÀνºÅϽº¿¡ ´ëÇÑ ±âº» °¡»ó ¼­¹ö´Â ÀνºÅϽºÀÇ À̸§À» µû¼­ À̸§ÀÌ ÁöÁ¤µÇ±â ¶§¹®¿¡ ¼­¹ö ÀνºÅϽº¸¦ óÀ½ ¸¸µé ¶§ ÇØ´ç obj.conf ÆÄÀÏÀÇ À̸§Àº instance_name-obj.conf°¡ µË´Ï´Ù. ÀÌ ÆÄÀÏ Áß Çϳª¸¦ Á÷Á¢ ÆíÁýÇϰųª °ü¸® ÀÎÅÍÆäÀ̽º¸¦ ÅëÇØ ÆíÁýÇϸé, °¡»ó ¼­¹öÀÇ ±¸¼ºÀÌ º¯°æµË´Ï´Ù.

¿äû ÇÁ·Î¼¼½º¿¡ ´ëÇÑ °¡»ó ¼­¹ö ¼±ÅÃ

¼­¹ö¿¡¼­ ¿äûÀ» ó¸®ÇÏ·Á¸é HTTP Listener¸¦ ÅëÇØ ¿äûÀ» ¼ö¶ôÇÑ ´ÙÀ½, ¿Ã¹Ù¸¥ °¡»ó ¼­¹ö·Î ¿äûÀ» Àü¼ÛÇØ¾ß ÇÕ´Ï´Ù. ÀÌ Àý¿¡¼­´Â °¡»ó ¼­¹ö¸¦ °áÁ¤ÇÏ´Â ¹æ¹ý¿¡ ´ëÇØ ¼³¸íÇÕ´Ï´Ù.

  • HTTP Listener°¡ ±âº» °¡»ó ¼­¹ö¿¡ ´ëÇØ¼­¸¸ ±¸¼ºµÇ´Â °æ¿ì, ÇØ´ç °¡»ó ¼­¹ö°¡ ¼±Åõ˴ϴÙ.
  • HTTP Listener¿¡ µÑ ÀÌ»óÀÇ °¡»ó ¼­¹ö°¡ ±¸¼ºµÇ¾î ÀÖ´Â °æ¿ì, ¿äû Host Çì´õ´Â °¡»ó ¼­¹öÀÇ hosts ¼Ó¼º°ú ÀÏÄ¡ÇÕ´Ï´Ù. Host Çì´õ°¡ ¾ø°Å³ª hosts ¼Ó¼ºÀÌ ÀÏÄ¡ÇÏÁö ¾ÊÀº °æ¿ì, HTTP ListenerÀÇ ±âº» °¡»ó ¼­¹ö°¡ ¼±Åõ˴ϴÙ.

SSL HTTP Listener¿¡ °¡»ó ¼­¹ö¸¦ ±¸¼ºÇÏ´Â °æ¿ì ¼­¹ö¸¦ ½ÃÀÛÇÒ ¶§ hosts ¼Ó¼ºÀÌ ÀÎÁõ¼­ÀÇ ÁÖÁ¦ ÆÐÅϰú ÀÏÄ¡ÇÏ´ÂÁö °Ë»çÇÕ´Ï´Ù. ÀÏÄ¡ÇÏÁö ¾ÊÀ» °æ¿ì °æ°í°¡ ¹ß»ýµÇ°í ¼­¹ö ·Î±×¿¡ ±â·ÏµË´Ï´Ù.

°¡»ó ¼­¹ö°¡ °áÁ¤µÈ ÈÄ Sun ONE Application Server´Â °¡»ó ¼­¹öÀÇ obj.conf ÆÄÀÏÀ» ½ÇÇàÇÕ´Ï´Ù. ¼­¹ö¿¡¼­ obj.conf¿¡¼­ ½ÇÇàÇÒ Áö½Ã¹®À» °áÁ¤ÇÏ´Â ¹æ¹ý¿¡ ´ëÇÑ ÀÚ¼¼ÇÑ ³»¿ëÀº Sun ONE Application Server Administrator's Configuration File Reference¸¦ ÂüÁ¶ÇϽʽÿÀ.

¹®¼­ ·çÆ®

¹®¼­ ·çÆ®(±âº» ¹®¼­ µð·ºÅ丮¶ó°íµµ ÇÔ)´Â ¿ø°Ý Ŭ¶óÀÌ¾ðÆ®¿¡¼­ »ç¿ë °¡´ÉÇÑ °¡»ó ¼­¹öÀÇ ¸ðµç ÆÄÀÏÀ» Æ÷ÇÔÇÏ´Â Áß¾Ó µð·ºÅ丮ÀÔ´Ï´Ù.

¹®¼­ ·çÆ® µð·ºÅ丮¸¦ »ç¿ëÇÏ¸é °¡»ó ¼­¹ö¿¡¼­ ÆÄÀÏ¿¡ ´ëÇÑ ¾×¼¼½º¸¦ °£´ÜÇÑ ¹æ¹ýÀ¸·Î Á¦ÇÑÇÒ ¼ö ÀÖ½À´Ï´Ù. ¶ÇÇÑ URL¿¡ ÁöÁ¤µÈ °æ·Î°¡ ±âº» ¹®¼­ µð·ºÅ丮¿Í ¿¬°üµÇ¾î ÀÖÀ¸¹Ç·Î, URLÀ» º¯°æÇÏÁö ¾Ê°í °£ÆíÇÏ°Ô ¹®¼­¸¦ ´Ù¸¥ µð½ºÅ©ÀÇ »õ µð·ºÅ丮·Î À̵¿ÇÒ ¼öµµ ÀÖ½À´Ï´Ù.

¿¹¸¦ µé¾î, ¹®¼­ µð·ºÅ丮°¡ install_dir/docsÀÎ °æ¿ì http://www.sun.com/products/info.html°ú °°Àº ¿äûÀº install_dir/docs/info.html¿¡¼­ ÆÄÀÏÀ» ãÀ¸¶ó°í ¼­¹ö¿¡ Áö½ÃÇÕ´Ï´Ù. ¹®¼­ ·çÆ®¸¦ º¯°æÇÏ´Â °æ¿ì, ´Ù½Ã ¸»ÇØ ¸ðµç ÆÄÀϰú ÇÏÀ§ µð·ºÅ丮¸¦ À̵¿½ÃŰ´Â °æ¿ì, ¸ðµç URLÀ» »õ µð·ºÅ丮¿¡ ¸ÅÇÎÇϰųª Ŭ¶óÀÌ¾ðÆ®¿¡°Ô »õ µð·ºÅ丮¿¡¼­ ãÀ¸¶ó°í Áö½ÃÇÏ´Â ´ë½Å¿¡ °¡»ó ¼­¹ö¿¡¼­ »ç¿ëÇÏ´Â ¹®¼­ ·çÆ®¸¦ º¯°æÇϱ⸸ ÇÏ¸é µË´Ï´Ù.

±âº» Sun ONE Application Server ÀνºÅϽº(server1)¿¡ ´ëÇÑ ¹®¼­ ·çÆ®´Â server1 ÀÀ¿ë ÇÁ·Î±×·¥ ¼­¹ö ÀνºÅϽº ³»¿¡¼­ ¸¸µç °¡»ó ¼­¹öÀÇ ¹®¼­ ·çÆ®°¡ µË´Ï´Ù. ¸¸µç °¢ °¡»ó ¼­¹ö¿¡ ´ëÇÑ ÇØ´ç µð·ºÅ丮¸¦ ¹«½ÃÇÒ ¼ö ÀÖ½À´Ï´Ù.

°¡»ó ¼­¹ö¿¡¼­ Sun ONE Application Server ±â´É »ç¿ë

Sun ONE Application Server´Â °¡»ó ¼­¹ö¿¡¼­ SSL ¹× ¾×¼¼½º Á¦¾î¿Í °°Àº ¸¹Àº ±â´ÉÀ» »ç¿ëÇÒ ¼ö ÀÖ½À´Ï´Ù. ´ÙÀ½ ¿©·¯ Àý¿¡¼­´Â ±â´É¿¡ ´ëÇØ ¼³¸íÇÏ°í ±â´É¿¡ ´ëÇÑ ÀÚ¼¼ÇÑ ³»¿ëÀ» ÂüÁ¶ÇÒ ¼ö ÀÖ´Â À§Ä¡¿¡ ´ëÇÑ Á¤º¸¸¦ Á¦°øÇÕ´Ï´Ù.

ÀÌ Àý¿¡¼­´Â ´ÙÀ½ Ç׸ñ¿¡ ´ëÇØ ¼³¸íÇÕ´Ï´Ù.

°¡»ó ¼­¹ö¿¡¼­ SSL »ç¿ë

°¡»ó ¼­¹ö¿¡¼­ SSL¸¦ »ç¿ëÇÏ·Á¸é ÀϹÝÀûÀ¸·Î IP ÁÖ¼Ò ±â¹Ý °¡»ó ¼­¹ö¸¦ »ç¿ëÇÕ´Ï´Ù. ÀϹÝÀûÀÎ Æ÷Æ®´Â 443ÀÔ´Ï´Ù. Sun ONE Application Server´Â ¿äûÀ» Àü¼ÛÇÒ URL È£½ºÆ®¸¦ °áÁ¤Çϱâ Àü¿¡ ¿äûÀ» Àоî¾ß ÇϹǷÎ, URL È£½ºÆ® ±â¹Ý °¡»ó ¼­¹ö¿¡¼­ SSL¸¦ »ç¿ëÇϱâ´Â ¾î·Æ½À´Ï´Ù. ¼­¹ö¿¡¼­ ¿äûÀ» ÀÐÀº °æ¿ì º¸¾È Á¤º¸°¡ ±³È¯µÇ´Â Ãʱâ ÇÚµå¼ÎÀÌÅ©°¡ ÀÌ¹Ì ¹ß»ýÇÑ »óÅÂÀÔ´Ï´Ù.

À¯ÀÏÇÑ ¿¹¿Ü·Î´Â URL È£½ºÆ® ±â¹Ý °¡»ó ¼­¹ö°¡ ¸ðµÎ "¿ÍÀϵå Ä«µå ÀÎÁõ¼­"¸¦ »ç¿ëÇϸç, µ¿ÀÏÇÑ ¼­¹ö ÀÎÁõ¼­¸¦ Æ÷ÇÔÇÑ µ¿ÀÏÇÑ SSL ±¸¼ºÀ» °¡Áø °æ¿ìÀÔ´Ï´Ù. ÀÚ¼¼ÇÑ ³»¿ëÀº Sun ONE Application Server Administrator's Guide to Security¸¦ ÂüÁ¶ÇϽʽÿÀ.

°¡»ó ¼­¹ö¿¡¼­ SSL¸¦ ±¸ÇöÇÏ´Â ÇÑ °¡Áö ¹æ¹ýÀº µÎ °³ÀÇ HTTP Listener¸¦ ±¸¼ºÇÏ¿© Çϳª´Â SSL¸¦ »ç¿ëÇÏ°í Æ÷Æ® 443¿¡¼­ ¼ö½ÅÇÏ°í ´Ù¸¥ Çϳª´Â SSLÀ» »ç¿ëÇÏÁö ¾Ê´Â °ÍÀÔ´Ï´Ù. ÀϹÝÀûÀ¸·Î »ç¿ëÀÚ´Â ºñ SSL HTTP Listener¸¦ ÅëÇØ °¡»ó ¼­¹ö¿¡ ¾×¼¼½ºÇÕ´Ï´Ù. º¸¾È Æ®·£Àè¼ÇÀ» ¼öÇàÇØ¾ß ÇÏ´Â °æ¿ì »ç¿ëÀÚ´Â À¥ ÆäÀÌÁöÀÇ ¹öưÀ» ´­·¯ º¸¾È Æ®·£Àè¼ÇÀ» ½ÃÀÛÇÒ ¼ö ÀÖ½À´Ï´Ù. ±×·¯¸é º¸¾È HTTP Listener¸¦ ÅëÇØ ¿äûÀ» ¼öÇàÇÒ ¼ö ÀÖ½À´Ï´Ù.

SSL Æ®·£Àè¼ÇÀº ºñ SSL Æ®·£Àè¼Çº¸´Ù ÈξÀ ´À¸®±â ¶§¹®¿¡ ÀÌ·¯ÇÑ ¼³°è´Â SSL Æ®·£Àè¼ÇÀÌ ÇÊ¿äÇÑ °æ¿ì¿¡¸¸ »ç¿ëÇÏ´Â °ÍÀÌ ÁÁ½À´Ï´Ù. ±× ¹ÛÀÇ °æ¿ì¿¡´Â ¼Óµµ°¡ ºü¸¥ ºñ SSL ¿¬°áÀ» »ç¿ëÇÕ´Ï´Ù.

°¡»ó ¼­¹ö¿¡¼­ Sun ONE Application Server¸¦ ÅëÇØ º¸¾ÈÀ» ¼³Á¤ ¹× »ç¿ëÇÏ´Â ¹æ¹ý¿¡ ´ëÇÑ ÀÚ¼¼ÇÑ ³»¿ëÀº Sun ONE Application Server Administrator's Guide to Security¸¦ ÂüÁ¶ÇϽʽÿÀ. °¡»ó ¼­¹ö¿¡¼­ÀÇ »ùÇà SSL ±¸¼º¿¡ ´ëÇÑ ´ÙÀ̾î±×·¥Àº "¿¹ 2: º¸¾È ¼­¹ö"¸¦ ÂüÁ¶ÇϽʽÿÀ.

¾×¼¼½º ·Î±× ÆÄÀϰú ¼­¹ö ·Î±× ÆÄÀÏ »ç¿ë

¾×¼¼½º ·Î±× ÆÄÀÏÀº °¡»ó ¼­¹ö¿¡ ´ëÇÑ HTTP ¾×¼¼½º°¡ ±â·ÏµÇ´Â ÆÄÀÏÀÔ´Ï´Ù. °¡»ó ¼­¹ö¸¦ »õ·Î ¸¸µé¸é, ±âº»ÀûÀ¸·Î ¾×¼¼½º ·Î±× ÆÄÀÏÀº ÀÀ¿ë ÇÁ·Î±×·¥ ¼­¹ö ÀνºÅϽº¿Í µ¿ÀÏÇÑ ·Î±× ÆÄÀÏÀÌ µË´Ï´Ù. ÀϹÝÀûÀ¸·Î °¢ °¡»ó ¼­¹ö¿¡ °íÀ¯ÇÑ ·Î±× ÆÄÀÏÀ» µÑ ¼ö ÀÖ½À´Ï´Ù. ÀÌ·¸°Ô ¼³Á¤ÇÏ·Á¸é °¢ °¡»ó ¼­¹ö¿¡ ´ëÇÑ ·Î±× °æ·Î¸¦ º¯°æÇÒ ¼ö ÀÖ½À´Ï´Ù. ¸ðµç °¡»ó ¼­¹ö ¾×¼¼½º¸¦ µ¿ÀÏÇÑ ¾×¼¼½º·Î±× ÆÄÀÏ¿¡ ±â·ÏÇÏ·Á¸é, °¡»ó ¼­¹ö ID°¡ ·Î±× ÆÄÀÏ¿¡ Æ÷ÇԵǵµ·Ï ¼­¹ö ÀνºÅϽº¿¡ ´ëÇÑ ·Î±ë ¼³Á¤À» º¯°æÇÒ ¼ö ÀÖ½À´Ï´Ù. ÀÀ¿ë ÇÁ·Î±×·¥ ¼­¹ö ÀνºÅϽºÀÇ ·Î±ë º¯°æ¿¡ ´ëÇÑ ÀÚ¼¼ÇÑ ³»¿ëÀº "·Î±ë »ç¿ë"À» ÂüÁ¶ÇϽʽÿÀ.

¼­¹ö ·Î±× ÆÄÀÏÀº Á¤º¸ ¸Þ½ÃÁö¿Í ¿À·ù°¡ ±â·ÏµÇ´Â ÆÄÀÏÀÔ´Ï´Ù. °¡»ó ¼­¹ö¸¦ »õ·Î ¸¸µé¸é, ±âº»ÀûÀ¸·Î ÇØ´ç ·Î±× ÆÄÀÏÀº ÀÀ¿ë ÇÁ·Î±×·¥ ¼­¹ö ÀνºÅϽº¿¡ ´ëÇÑ ·Î±× ÆÄÀϰú µ¿ÀÏÇÕ´Ï´Ù. °¢ °¡»ó ¼­¹ö¿¡ ´ëÇÑ ·Î±× ÆÄÀÏÀº º¯°æÇÒ ¼ö ÀÖ½À´Ï´Ù.

°¡»ó ¼­¹ö¿¡¼­ ¾×¼¼½º Á¦¾î »ç¿ë

°¡»ó ¼­¹öº°·Î ¾×¼¼½º Á¦¾î¸¦ ¼³Á¤ÇÒ ¼ö ÀÖ½À´Ï´Ù. ¶ÇÇÑ °¢ °¡»ó ¼­¹ö¿¡¼­ LDAP µ¥ÀÌÅͺ£À̽º¸¦ »ç¿ëÇÏ¿© »ç¿ëÀÚ ¹× ±×·ì ÀÎÁõÀ» ÇÒ ¼ö ÀÖµµ·Ï ¾×¼¼½º Á¦¾î¸¦ ±¸¼ºÇÒ ¼öµµ ÀÖ½À´Ï´Ù. ÀÚ¼¼ÇÑ ³»¿ëÀº Sun ONE Application Server Administrator's Guide to Security¸¦ ÂüÁ¶ÇϽʽÿÀ.

°¡»ó ¼­¹ö¿¡¼­ CGI »ç¿ë

°¡»ó ¼­¹ö¿¡¼­ CGI¸¦ »ç¿ëÇÒ ¼ö ÀÖ½À´Ï´Ù. °¢ °¡»ó ¼­¹ö¿¡¼­ CGI¸¦ ÀúÀåÇÏ´Â µð·ºÅ丮¸¦ ¼³Á¤Çϰí CGI¿¡ ´ëÇÑ ÆÄÀÏ À¯ÇüÀ» ¼³Á¤ÇØ¾ß ÇÕ´Ï´Ù. CGI¿¡ ´ëÇÑ ÀÚ¼¼ÇÑ ³»¿ëÀº Sun ONE Application Server Developer’s Guide to Web Applications¸¦ ÂüÁ¶ÇϽʽÿÀ.

HTTP Listener ¸¸µé±â ¹× ±¸¼º

¼­¹ö¿¡¼­ ¿äûÀ» ó¸®ÇÏ·Á¸é HTTP Listener¸¦ ÅëÇØ ¿äûÀ» ¼ö¶ôÇÑ ´ÙÀ½ ¿Ã¹Ù¸¥ °¡»ó ¼­¹ö¿¡ ¿äûÀ» Àü¼ÛÇØ¾ß ÇÕ´Ï´Ù. ¼­¹ö ÀνºÅϽº°¡ »ý¼ºµÉ ¶§(¼³Ä¡ Áß ¶Ç´Â ¼³Ä¡ ÀÌÈÄ) ÇϳªÀÇ HTTP Listener (http-listener-1)°¡ ÀÚµ¿À¸·Î ¸¸µé¾îÁý´Ï´Ù. ÀÌ HTTP Listener´Â IPÁÖ¼Ò 0.0.0.0°ú ÀÀ¿ë ÇÁ·Î±×·¥ ¼­¹ö Æ÷Æ® ¹øÈ£·Î ÁöÁ¤ÇÑ Æ÷Æ® ¹øÈ£¸¦ »ç¿ëÇÕ´Ï´Ù. ±âº» HTTP Listener´Â »èÁ¦ÇÒ ¼ö ¾ø½À´Ï´Ù.

ÀÌ Àý¿¡¼­´Â ´ÙÀ½ Ç׸ñ¿¡ ´ëÇØ ¼³¸íÇÕ´Ï´Ù.

HTTP Listener ¸¸µé±â

°ü¸® ÀÎÅÍÆäÀ̽º¸¦ »ç¿ëÇÏ¿© HTTP Listener¸¦ ¸¸µé·Á¸é ´ÙÀ½ ÀÛ¾÷À» ¼öÇàÇÕ´Ï´Ù.

  1. ¿ÞÂÊ Ã¢¿¡¼­ ÀÀ¿ë ÇÁ·Î±×·¥ ¼­¹ö ÀνºÅϽº¿¡ ´ëÇØ "HTTP ¼­¹ö"¸¦ ¿±´Ï´Ù.
  2. HTTP Listener¸¦ ´©¸¨´Ï´Ù.
  3. "»õ·Î ¸¸µé±â"¸¦ ´©¸¨´Ï´Ù.
  4. Çʵ忡 ÀÔ·ÂÇÕ´Ï´Ù.
  5. HTTP ListenerÀÇ Æ÷Æ® ¹øÈ£¿Í IP ÁÖ¼ÒÀÇ Á¶ÇÕÀº °íÀ¯ÇØ¾ß ÇÕ´Ï´Ù. IPV4 ¶Ç´Â IPV6 ÁÖ¼Ò¸¦ »ç¿ëÇÒ ¼ö ÀÖ½À´Ï´Ù. IP ÁÖ¼Ò ±â¹Ý °¡»ó ¼­¹ö¿¡ ´ëÇÑ HTTP Listener¸¦ ¸¸µé·Á¸é HTTP Listener¿¡ ´ëÇØ ƯÁ¤ÇÑ IP ÁÖ¼Ò¸¦ ÁöÁ¤ÇϽʽÿÀ.

    "¼­¹ö À̸§ ¹Ýȯ" Çʵå´Â ¼­¹ö¿¡¼­ Ŭ¶óÀÌ¾ðÆ®¿¡ Àü¼ÛÇÏ´Â URLÀÇ È£½ºÆ® À̸§À» ÁöÁ¤ÇÕ´Ï´Ù. ÀÌ´Â ¼­¹ö¿¡¼­ ÀÚµ¿À¸·Î »ý¼ºÇÏ´Â URL¿¡ ¿µÇâÀ» ÁÖÁö¸¸, ¼­¹ö¿¡ ÀúÀåµÈ µð·ºÅ丮 ¹× ÆÄÀÏÀÇ URL¿¡´Â ¿µÇâÀ» ÁÖÁö ¾Ê½À´Ï´Ù. ¼­¹ö¿¡¼­ º°ÄªÀ» »ç¿ëÇÏ´Â °æ¿ì, ÀÌ À̸§µµ º°ÄªÀ̾î¾ß ÇÕ´Ï´Ù.

    ±âº» °¡»ó ¼­¹ö´Â ´Ù¸¥ °¡»ó ¼­¹ö°¡ ¸ÕÀú ¹ß°ßµÇÁö ¾Ê´Â °æ¿ì HTTP Listener¿¡ ´ëÇÑ ¿äû¿¡ ÀÀ´äÇÏ´Â °¡»ó ¼­¹öÀÔ´Ï´Ù. ÀÚ¼¼ÇÑ ³»¿ëÀº "¿äû ÇÁ·Î¼¼½º¿¡ ´ëÇÑ °¡»ó ¼­¹ö ¼±ÅÃ"À» ÂüÁ¶ÇϽʽÿÀ.

    ¿äûÀ» ¼ö¶ôÇÏ·Á¸é HTTP Listener¸¦ Ȱ¼ºÈ­ÇØ¾ß ÇÕ´Ï´Ù.

    ¶ÇÇÑ ÀÌ HTTP Listener¿¡ ´ëÇÑ º¸¾ÈÀ» Ȱ¼ºÈ­ÇÏ°í °í±Þ µî·Ï Á¤º¸¸¦ ±¸¼ºÇÒ ¼ö ÀÖ½À´Ï´Ù. IPV6¸¦ ÁöÁ¤ÇÏ·Á¸é "ÆÐ¹Ð¸®" Çʵ忡¼­ °ª inet6À» »ç¿ëÇϽʽÿÀ. ÀÌ °ªÀÌ inet6À̸é IPv4 ÁÖ¼ÒÀÇ Á¢µÎ¾î´Â ¼­¹ö ·Î±×¿¡¼­ ::ffff:°¡ µË´Ï´Ù.

  6. "È®ÀÎ"À» ´©¸¨´Ï´Ù.

HTTP Listener¸¦ ¸¸µé ¶§ "±âº» °¡»ó ¼­¹ö" Çʵ忡 ±âÁ¸ °¡»ó ¼­¹ö¸¦ ÀÔ·ÂÇØ¾ß ÇÕ´Ï´Ù. ¼­¹ö ÀνºÅϽº¸¦ ÅëÇØ ¸¸µç °¡»ó ¼­¹ö¸¦ »ç¿ëÇÒ ¼ö ÀÖ½À´Ï´Ù. ±×·± ´ÙÀ½ ÇÊ¿äÇÑ °æ¿ì Ãß°¡ °¡»ó ¼­¹ö¸¦ ¸¸µç ÈÄ µÇµ¹¾Æ°¡¼­ °¡»ó ¼­¹ö¸¦ º¯°æÇÒ ¼ö ÀÖ½À´Ï´Ù.

¸í·ÉÁÙ ÀÎÅÍÆäÀ̽º¸¦ »ç¿ëÇÏ¿© HTTP Listener¸¦ ¸¸µé·Á¸é asadmin À¯Æ¿¸®Æ¼ÀÇ create-http-listener ¸í·ÉÀ» »ç¿ëÇÕ´Ï´Ù. ¸¸µç ¸ðµç HTTP ListenerÀÇ ¸ñ·ÏÀ» ÀÛ¼ºÇÏ·Á¸é list-http-listeners ¸í·ÉÀ» »ç¿ëÇÕ´Ï´Ù.

HTTP Listener¸¦ ¸¸µé·Á¸é, ´ÙÀ½ ±¸¹®À» »ç¿ëÇÕ´Ï´Ù.

asadmin create-http-listener --user username [--password password] [--host hostname] [--port adminport] [--secure | -s] [--passwordfile file_name] --address address [--instance instancename] --listenerport listener_port --defaultvs virtual_server --servername server_name [--family family] [--acceptorthreads acceptor_threads] [--blockingenabled blocking_enabled] [--securityenabled security_enabled] [--enabled enabled] listener_id

¸í·É ±¸¹®¿¡ ´ëÇÑ ÀÚ¼¼ÇÑ ³»¿ëÀº ¸í·ÉÁÙ ÀÎÅÍÆäÀ̽º µµ¿ò¸»À» ÂüÁ¶ÇϽʽÿÀ. asadmin »ç¿ë¿¡ ´ëÇÑ ÀÚ¼¼ÇÑ ³»¿ëÀº "¸í·ÉÁÙ ÀÎÅÍÆäÀ̽º »ç¿ë"À» ÂüÁ¶ÇϽʽÿÀ.

HTTP Listener ¼³Á¤ ÆíÁý

°ü¸® ÀÎÅÍÆäÀ̽º¸¦ »ç¿ëÇÏ¿© HTTP Listener ¼³Á¤À» ÆíÁýÇÏ·Á¸é ´ÙÀ½ ÀÛ¾÷À» ¼öÇàÇÕ´Ï´Ù.

  1. ¿ÞÂÊ Ã¢¿¡¼­ ÀÀ¿ë ÇÁ·Î±×·¥ ¼­¹ö ÀνºÅϽº¿¡ ´ëÇØ "HTTP ¼­¹ö"¸¦ ¿±´Ï´Ù.
  2. "HTTP Listeners"¸¦ ¿±´Ï´Ù.
  3. ÆíÁýÇÒ HTTP Listener¸¦ ´©¸¨´Ï´Ù.
  4. ¿øÇÏ´Â ´ë·Î º¯°æÇϰí "ÀúÀå"À» ´©¸¨´Ï´Ù.

ÀÚ¼¼ÇÑ ³»¿ëÀº ¿Â¶óÀÎ µµ¿ò¸»À» ÂüÁ¶ÇϽʽÿÀ.

¶ÇÇÑ ¸í·ÉÁÙ ÀÎÅÍÆäÀ̽º¿¡¼­ asadmin À¯Æ¿¸®Æ¼¸¦ »ç¿ëÇÏ¿© HTTP Listener¸¦ ÆíÁýÇÒ ¼ö ÀÖ½À´Ï´Ù. get ¸í·ÉÀ» »ç¿ëÇÏ¿© ÇöÀç ¼³Á¤À» °¡Á®¿Í¼­ set ¸í·ÉÀ» »ç¿ëÇÏ¿© ÇöÀç ¼³Á¤¿¡ »õ °ªÀ» ÁöÁ¤ÇϽʽÿÀ.

HTTP ListenerÀÇ ¸ðµç ¼Ó¼º°ªÀ» Ç¥½ÃÇÏ·Á¸é ´ÙÀ½ ÀÛ¾÷À» ¼öÇàÇÕ´Ï´Ù.

asadmin> get server_instance.http-listener.http_listener_name.*

¿¹¸¦ µé¾î, ±âº» HTTP Listener¿¡ ´ëÇÑ °ªÀ» °¡Á®¿À·Á¸é ´ÙÀ½ ÀÛ¾÷À» ¼öÇàÇÕ´Ï´Ù.

asadmin> get server1.http-listener.http-listener-1.*

¼Ó¼º°ªÀ» ¼³Á¤ÇÏ·Á¸é ´ÙÀ½ ÀÛ¾÷À» ¼öÇàÇÕ´Ï´Ù.

asadmin> set server_instance.http-listener.http_listener_name.attribute_name=value

¿¹¸¦ µé¾î, defaultVirtualServer ¼Ó¼ºÀ» http-listener-1¿¡ ´ëÇÑ server2¿¡ ¼³Á¤ÇÏ·Á¸é ´ÙÀ½ ÀÛ¾÷À» ¼öÇàÇÕ´Ï´Ù.

asadmin> set server1.http-listener.http-listener-1.defaultVirtualServer=server2

¸í·É ±¸¹®¿¡ ´ëÇÑ ÀÚ¼¼ÇÑ ³»¿ëÀº ¸í·ÉÁÙ ÀÎÅÍÆäÀ̽º µµ¿ò¸»À» ÂüÁ¶ÇϽʽÿÀ. asadmin »ç¿ë¿¡ ´ëÇÑ ÀÚ¼¼ÇÑ ³»¿ëÀº "¸í·ÉÁÙ ÀÎÅÍÆäÀ̽º »ç¿ë"À» ÂüÁ¶ÇϽʽÿÀ.

HTTP Listener »èÁ¦

°ü¸® ÀÎÅÍÆäÀ̽º¸¦ »ç¿ëÇÏ¿© HTTP¸¦ »èÁ¦ÇÏ·Á¸é ´ÙÀ½ ÀÛ¾÷À» ¼öÇàÇÕ´Ï´Ù.

  1. ¿ÞÂÊ Ã¢¿¡¼­ ÀÀ¿ë ÇÁ·Î±×·¥ ¼­¹ö ÀνºÅϽº¿¡ ´ëÇØ "HTTP ¼­¹ö"¸¦ ¿±´Ï´Ù.
  2. "HTTP Listeners"¸¦ ´©¸¨´Ï´Ù..
  3. »èÁ¦ÇÏ·Á´Â HTTP ListenerÀÇ ¿·¿¡ ÀÖ´Â È®ÀζõÀ» ´©¸¨´Ï´Ù.
  4. "»èÁ¦"¸¦ ´©¸¨´Ï´Ù.

¸í·ÉÁÙ ÀÎÅÍÆäÀ̽º¸¦ »ç¿ëÇÏ¿© HTTP Listener¸¦ »èÁ¦ÇÏ·Á¸é asadmin À¯Æ¿¸®Æ¼ÀÇ delete-http-listener ¸í·ÉÀ» »ç¿ëÇÕ´Ï´Ù. ÀÌ ¶§ »ç¿ëµÇ´Â ±¸¹®Àº ´ÙÀ½°ú °°½À´Ï´Ù.

asadmin delete-http-listener ---user username [--password password] [--host hostname] [--port adminport] [--secure | -s] [--passwordfile file_name] --instance instance httplistener_id

¸í·É ±¸¹®¿¡ ´ëÇÑ ÀÚ¼¼ÇÑ ³»¿ëÀº ¸í·ÉÁÙ ÀÎÅÍÆäÀ̽º µµ¿ò¸»À» ÂüÁ¶ÇϽʽÿÀ. asadmin »ç¿ë¿¡ ´ëÇÑ ÀÚ¼¼ÇÑ ³»¿ëÀº "¸í·ÉÁÙ ÀÎÅÍÆäÀ̽º »ç¿ë"À» ÂüÁ¶ÇϽʽÿÀ.

°¡»ó ¼­¹ö ¸¸µé±â ¹× ±¸¼º

HTTP Listener¸¦ ¼³Á¤ÇÏ°í ³ª¸é °¡»ó ¼­¹ö¸¦ ¸¸µé¾î »ç¿ëÇÒ ¼ö ÀÖ½À´Ï´Ù.

ÀÌ Àý¿¡¼­´Â ´ÙÀ½ Ç׸ñ¿¡ ´ëÇØ ¼³¸íÇÕ´Ï´Ù.

°¡»ó ¼­¹ö ¸¸µé±â

°ü¸® ÀÎÅÍÆäÀ̽º¸¦ »ç¿ëÇÏ¿© °¡»ó ¼­¹ö¸¦ ¸¸µé·Á¸é ´ÙÀ½ ÀÛ¾÷À» ¼öÇàÇÕ´Ï´Ù.

  1. ¿ÞÂÊ Ã¢¿¡¼­ ÀÀ¿ë ÇÁ·Î±×·¥ ¼­¹ö ÀνºÅϽº¿¡ ´ëÇØ "HTTP ¼­¹ö"¸¦ ¿±´Ï´Ù.
  2. "°¡»ó ¼­¹ö"¸¦ ´©¸¨´Ï´Ù.
  3. "»õ·Î ¸¸µé±â"¸¦ ´©¸¨´Ï´Ù.
  4. Çʼö Çʵå¿Í ¼±Åà Çʵ忡 ÀÔ·ÂÇÕ´Ï´Ù.
  5. "ÀúÀå"À» ´©¸¨´Ï´Ù.

¸í·ÉÁÙ ÀÎÅÍÆäÀ̽º¸¦ »ç¿ëÇÏ¿© °¡»ó ¼­¹ö¸¦ ¸¸µé·Á¸é asadmin À¯Æ¿¸®Æ¼ÀÇ create-virtual-server ¸í·ÉÀ» »ç¿ëÇÕ´Ï´Ù. ÀÌ ¶§ »ç¿ëµÇ´Â ±¸¹®Àº ´ÙÀ½°ú °°½À´Ï´Ù.

asadmin create-virtual-server --user username ---user username [--password password] [--host hostname] [--port adminport] [--secure | -s] [--passwordfile file_name] [--instance instancename] --hosts hosts --mime mime_types_file [--httplisteners http-listeners] [--defaultwebmodule default_web_module] [--configfile config_file] [--defaultobj default_object] [--state state] [--acls acls] [--acceptlang accept_language] [--logfile logfile] [--property (name=value)[:name=value]*] virtual_server_id

¸í·É ±¸¹®¿¡ ´ëÇÑ ÀÚ¼¼ÇÑ ³»¿ëÀº ¸í·ÉÁÙ ÀÎÅÍÆäÀ̽º µµ¿ò¸»À» ÂüÁ¶ÇϽʽÿÀ. asadmin »ç¿ë¿¡ ´ëÇÑ ÀÚ¼¼ÇÑ ³»¿ëÀº "¸í·ÉÁÙ ÀÎÅÍÆäÀ̽º »ç¿ë"À» ÂüÁ¶ÇϽʽÿÀ.

°¡»ó ¼­¹ö¸¦ ¸¸µé ¶§ ´ÙÀ½ À¯ÇüÀÇ ¼³Á¤À» ÀÔ·ÂÇÒ ¼ö ÀÖ½À´Ï´Ù.

Çʼö ¼³Á¤

°¡»ó ¼­¹öÀÇ Çʼö ¼³Á¤¿¡´Â À̸§(ID)°ú URL È£½ºÆ®°¡ Æ÷ÇԵ˴ϴÙ.

¶ÇÇÑ MIME À¯Çü ÆÄÀÏÀ» ÁöÁ¤ÇØ¾ß ÇÕ´Ï´Ù. MIME À¯Çü ÆÄÀÏÀÇ °æ¿ì ÆÄÀÏ À¯Çü¿¡ ÆÄÀÏ È®ÀåÀÚ¸¦ ¸ÅÇÎÇØ¾ß µË´Ï´Ù. ¿¹¸¦ µé¾î, MIME À¯Çü ÆÄÀÏÀÇ °æ¿ì .cgi·Î ³¡³ª´Â ¸ðµç ÆÄÀÏÀº CGI ÆÄÀϷΠ󸮵ǵµ·Ï ÁöÁ¤ÇÒ ¼ö ÀÖ½À´Ï´Ù.

°¢ °¡»ó ¼­¹ö¿¡ °³º° MIME À¯Çü ÆÄÀÏÀ» ¸¸µé ÇÊ¿ä´Â ¾ø½À´Ï´Ù. ±× ´ë½Å MIME À¯Çü ÆÄÀÏÀ» ÇÊ¿äÇÑ ¼ö¸¸Å­ ¸¸µé¾î °¡»ó ¼­¹ö¿Í ¿¬°áÇÕ´Ï´Ù. ±âº» MIME À¯Çü ÆÄÀÏÀº mime1À̸ç, ÆÄÀÏ À̸§Àº mime.typesÀÔ´Ï´Ù.

MIME À¯Çü ÆÄÀÏ¿¡ ´ëÇÑ ÀÚ¼¼ÇÑ ³»¿ëÀº "MIME À¯Çü ±¸¼º"À» ÂüÁ¶ÇϽʽÿÀ.

¼±ÅÃÀû ÀÏ¹Ý ¼³Á¤

Çʼö Çʵå»Ó¸¸ ¾Æ´Ï¶ó ¼±Åà Çʵ嵵 ¼³Á¤ÇÒ ¼ö ÀÖ½À´Ï´Ù.

HTTP Listener

HTTP Listener´Â °¡»ó ¼­¹ö¿¡ ´ëÇÑ ¿¬°áÀ» ó¸®ÇÕ´Ï´Ù. ¿ø°Ý Ŭ¶óÀÌ¾ðÆ®¿¡¼­ °¡»ó ¼­¹ö¿¡ ¾×¼¼½ºÇÒ ¼ö ÀÖµµ·Ï HTTP Listener Çϳª¸¦ ÁöÁ¤ÇØ¾ß ÇÕ´Ï´Ù.

ACL

°¡»ó ¼­¹ö¿¡ Àû¿ëµÈ ¾×¼¼½º Á¦¾î ¸ñ·Ï (ACL)ÀÔ´Ï´Ù. ÀÚ¼¼ÇÑ ³»¿ëÀº Sun ONE Application Server Administrator's Guide to Security¸¦ ÂüÁ¶ÇϽʽÿÀ.

»ç¿ë °¡´ÉÇÑ ¾ð¾î Çì´õ

Ŭ¶óÀÌ¾ðÆ®¿¡¼­ HTTP 1.1À» »ç¿ëÇÏ¿© ¼­¹ö¿¡ ¿¬°áÇϸé Ŭ¶óÀÌ¾ðÆ®¿¡¼­ »ç¿ë °¡´ÉÇÑ ¾ð¾î¸¦ ¼³¸íÇÏ´Â Çì´õ Á¤º¸¸¦ Àü¼ÛÇÒ ¼ö ÀÖ½À´Ï´Ù. ¶ÇÇÑ ÀÌ ¾ð¾î Á¤º¸¸¦ ±¸¹® ºÐ¼®ÇÒ ¼ö ÀÖµµ·Ï ¼­¹ö¸¦ ±¸¼ºÇÒ ¼ö ÀÖ½À´Ï´Ù.

¿¹¸¦ µé¾î, ÀϺ»¾î¿Í ¿µ¾î·Î ÀÛ¼ºÇÑ ¹®¼­¸¦ ÀúÀåÇÏ´Â °æ¿ì »ç¿ë °¡´ÉÇÑ ¾ð¾î Çì´õ¸¦ ±¸¹® ºÐ¼®Çϵµ·Ï ¼±ÅÃÇÒ ¼ö ÀÖ½À´Ï´Ù. »ç¿ë °¡´ÉÇÑ ¾ð¾î Çì´õ°¡ ÀϺ»¾îÀΠŬ¶óÀÌ¾ðÆ®¿¡¼­ ¼­¹ö¿¡ ¿¬°áÇϸé ÇØ´ç ÆäÀÌÁöÀÇ ÀϺ»¾î ¹öÀüÀÌ Ç¥½ÃµË´Ï´Ù. »ç¿ë °¡´ÉÇÑ ¾ð¾î Çì´õ°¡ ¿µ¾îÀΠŬ¶óÀÌ¾ðÆ®¿¡¼­ ¼­¹ö¿¡ ¿¬°áÇÏ¸é ¿µ¾î ¹öÀüÀÌ Ç¥½ÃµË´Ï´Ù.

¿©·¯ ¾ð¾î¸¦ Áö¿øÇÏÁö ¾Ê´Â °æ¿ì¿¡´Â »ç¿ë °¡´ÉÇÑ ¾ð¾î Çì´õ¸¦ ±¸¹® ºÐ¼®Çؼ­´Â ¾È µË´Ï´Ù.

»óÅÂ

ÀÌ »óÅ´ °¡»ó ¼­¹öÀÇ »óŸ¦ ¸»Çϸç, ÀÀ¿ë ÇÁ·Î±×·¥ ÀνºÅϽºÀÇ ¼³Á¤ ¶Ç´Â ÇØÁ¦¿Í´Â »ó°üÀÌ ¾ø½À´Ï´Ù. ÀÌ ÆäÀÌÁö¿¡ Ç¥½ÃµÈ °¡»ó ¼­¹öÀÇ »óŰ¡ ¼³Á¤À̸é, ÀÀ¿ë ÇÁ·Î±×·¥ ¼­¹ö ÀνºÅϽº°¡ ¼³Á¤ÀÎ °æ¿ì¿¡¸¸ °¡»ó ¼­¹ö¿¡¼­ ¿äûÀ» ¼ö¶ôÇÕ´Ï´Ù.

ÀÌ´Â ±âº» ÀÀ¿ë ÇÁ·Î±×·¥ ¼­¹ö ÀνºÅϽº¿¡ ´ëÇÑ ±âº» °¡»ó ¼­¹öÀÇ °æ¿ì¿¡µµ ¸¶Âù°¡ÁöÀÔ´Ï´Ù. µû¶ó¼­ ÀÀ¿ë ÇÁ·Î±×·¥ ÀνºÅϽº¸¦ ºñȰ¼ºÈ­ÇÏ¸é ±âº» °¡»ó ¼­¹ö°¡ ¼³Á¤ »óÅÂÀÌ´õ¶óµµ ¿¬°áÀ» ¼ö¶ôÇÏÁö ¾Ê½À´Ï´Ù.

À¯È¿ÇÑ »óÅ·δ ¼³Á¤, ÇØÁ¦ ¶Ç´Â »ç¿ë ºÒ°¡´ÉÀÌ ÀÖ½À´Ï´Ù. °¡»ó ¼­¹ö°¡ ¼³Á¤ »óÅÂÀÌ¸é ¿¬°áÀ» ¼ö¶ôÇÒ ¼ö ÀÖ½À´Ï´Ù.

ÀÀ¿ë ÇÁ·Î±×·¥ ¼­¹ö ÀνºÅϽº¿¡ ´ëÇÑ ±âº» °¡»ó ¼­¹ö´Â ÇØÁ¦ ¶Ç´Â »ç¿ë ºÒ°¡´É »óÅ·Π¼³Á¤ÇÒ ¼ö ¾ø½À´Ï´Ù.

·Î±× ÆÄÀÏ

·Î±× ÆÄÀÏ(¼­¹ö ·Î±× ÆÄÀÏÀ̶ó°íµµ ÇÔ)Àº Á¤º¸ ¸Þ½ÃÁö¿Í ¿À·ù°¡ ±â·ÏµÇ´Â ÆÄÀÏÀÔ´Ï´Ù. ¾×¼¼½º ·Î±× ÆÄÀÏÀº °¡»ó ¼­¹ö¿¡ ´ëÇÑ HTTP ¾×¼¼½º°¡ ±â·ÏµÇ´Â ÆÄÀÏÀÔ´Ï´Ù.

¹®¼­ ·çÆ®

¹®¼­ ·çÆ®(±âº» ¹®¼­ µð·ºÅ丮¶ó°íµµ ÇÔ)´Â ¿ø°Ý Ŭ¶óÀÌ¾ðÆ®¿¡¼­ »ç¿ë °¡´ÉÇÑ °¡»ó ¼­¹öÀÇ ¸ðµç ÆÄÀÏÀ» Æ÷ÇÔÇÏ´Â Áß¾Ó µð·ºÅ丮ÀÔ´Ï´Ù. ÀÚ¼¼ÇÑ ³»¿ëÀº "¹®¼­ ·çÆ®"¸¦ ÂüÁ¶ÇϽʽÿÀ.

À¥ ÀÀ¿ë ÇÁ·Î±×·¥ ¼³Á¤

À¥ ÀÀ¿ë ÇÁ·Î±×·¥Àº ¼­ºí¸´, JavaServer ÆäÀÌÁö, HTML ¹®¼­ ¹× ±âŸ À¥ ÀÚ¿ø(À̹ÌÁö ÆÄÀÏ, ¾ÐÃà ¾ÆÄ«ÀÌºê ¹× ±âŸ µ¥ÀÌÅÍ Æ÷ÇÔ)ÀÇ ¸ðÀ½ÀÔ´Ï´Ù. À¥ ÀÀ¿ë ÇÁ·Î±×·¥Àº ¾ÆÄ«À̺ê(WAR ÆÄÀÏ)¿¡ ÆÐŰÁöÈ­Çϰųª ¿­¸° µð·ºÅ丮 ±¸Á¶¿¡ ÀÖÀ» ¼ö ÀÖ½À´Ï´Ù.

Sun ONE Application Server 7Àº Servlet 2.3 API »ç¾çÀ» Áö¿øÇϹǷΠ¼­ºí¸´°ú JSP°¡ À¥ ÀÀÀÀ ÇÁ·Î±×·¥¿¡ Æ÷Ç﵃ ¼ö ÀÖ½À´Ï´Ù. ¶ÇÇÑ Sun ONE Application Server 7Àº ºñ J2EE ÀÀ¿ë ÇÁ·Î±×·¥ ±¸¼º ¿ä¼ÒÀÎ SHTML°ú CGI¸¦ Áö¿øÇÕ´Ï´Ù.

°¡»ó ¼­¹ö¸¦ ¸¸µé ¶§´Â °¡»ó ¼­¹ö¿¡ ´ëÇÑ ±âº» À¥ ¸ðµâÀ» ÁöÁ¤ÇÕ´Ï´Ù. ±âº» À¥ ¸ðµâÀº °¡»ó ¼­¹ö¿¡ ¹èÆ÷µÇ´Â ´Ù¸¥ À¥ ¸ðµâ¿¡¼­ È®ÀÎÇÒ ¼ö ¾ø´Â ¸ðµç ¿äû¿¡ ÀÀ´äÇÕ´Ï´Ù. ±âº» À¥ ¸ðµâÀ» ÁöÁ¤ÇÏÁö ¾ÊÀ¸¸é ÄÁÅØ½ºÆ® ·çÆ®°¡ ºñ¾î ÀÖ´Â À¥ ¸ðµâÀÌ »ç¿ëµË´Ï´Ù. ÄÁÅØ½ºÆ® ·çÆ®°¡ ºñ¾î ÀÖ´Â À¥ ¸ðµâÀÌ ¾øÀ» ¶§´Â ½Ã½ºÅÛ ±âº» À¥ ¸ðµâÀÌ »ý¼ºµÇ¾î »ç¿ëµË´Ï´Ù.

À¥ ÀÀ¿ë ÇÁ·Î±×·¥À» ¹èÆ÷ÇÒ ¶§´Â °¡»ó ¼­¹ö¸¦ ÁöÁ¤ÇÕ´Ï´Ù. À¥ ÀÀ¿ë ÇÁ·Î±×·¥À» ¹èÆ÷ÇÏ¸é °¡»ó ¼­¹ö¿¡ ´ëÇÑ ±âº» À¥ ¸ðµâ·Î ¼±ÅÃÇÒ ¼ö ÀÖµµ·Ï »ç¿ë °¡´ÉÇÑ À¥ ¸ðµâ ¸ñ·Ï¿¡ À¥ ÀÀ¿ë ÇÁ·Î±×·¥ÀÌ ³ªÅ¸³³´Ï´Ù. °¡»ó ¼­¹ö¿¡ ´ëÇÑ ±âº» À¥ ¸ðµâ·Î¼­ À¥ ¸ðµâÀ» ÁöÁ¤ÇÏ´Â °æ¿ì, ÇØ´ç °¡»ó ¼­¹ö´Â ÀÚµ¿À¸·Î °¡»ó ¼­¹öÀÇ À¥ ÀÀ¿ë ÇÁ·Î±×·¥ ¸ñ·Ï¿¡ Ãß°¡µË´Ï´Ù.

CGI ¼³Á¤

°¡»ó ¼­¹ö¸¦ ¸¸µé ¶§ ¼³Á¤ÇÏ´Â CGI ¼³Á¤Àº CGI ÇÁ·Î±×·¥À» ½ÇÇàÇÏ´Â »ç¿ëÀÚ ¹× ±×·ìÀ» Á¦¾îÇϸç CGI°¡ ½ÇÇàµÇ±â Àü º¯°æÇÒ µð·ºÅ丮(chroot) ¹× chroot ´ÙÀ½¿¡ º¯°æÇÒ µð·ºÅ丮¸¦ Á¦¾îÇÕ´Ï´Ù.

UNIXÀÇ °æ¿ì, ¼­¹ö¿Í °ü·ÃÇØ CGI ÇÁ·Î±×·¥ÀÇ ¿ì¼± ¼øÀ§¸¦ °áÁ¤ÇÏ´Â ÁõºÐ°ªÀÎ ¿ì¼± ¼øÀ§(nice)¸¦ ¼³Á¤ÇÒ ¼ö ÀÖ½À´Ï´Ù. ÀϹÝÀûÀ¸·Î ¼­¹ö´Â ¿ì¼± ¼øÀ§ °ª 0À¸·Î ½ÇÇàµÇ¸ç, ¿ì¼± ¼øÀ§(nice) ÁõºÐ°ªÀº 0 (CGI ÇÁ·Î±×·¥ÀÌ ½ÇÇàµÇ´Â ¿ì¼± ¼øÀ§°¡ ¼­¹ö¿Í °°À½)°ú 19 (CGI ÇÁ·Î±×·¥ÀÌ ½ÇÇàµÇ´Â ¿ì¼± ¼øÀ§°¡ ¼­¹öº¸´Ù ÈξÀ ³·À½) »çÀÌÀÔ´Ï´Ù.

HTTP ¼­ºñ½º ǰÁú(QOS) ¼³Á¤

¼­ºñ½º ǰÁú(QOS)Àº °¡»ó ¼­¹ö¿¡ ¼³Á¤ÇÑ ¼º´É Á¦ÇÑÀ» ¸»ÇÕ´Ï´Ù. ¿¹¸¦ µé¾î, ISP´Â Çã¿ëµÇ´Â ´ë¿ªÆøÀÇ ¹üÀ§¿¡ µû¶ó °¡»ó ¼­¹ö¿¡ ´ëÇÑ ¿ä±ÝÀ» ¼­·Î ´Ù¸£°Ô ºÎ°úÇÒ ¼ö ÀÖ½À´Ï´Ù. ÁöÁ¤µÈ ´ë¿ªÆø°ú ÃÖ´ë ¿¬°á ¼ö¸¸ Çã¿ëµÇµµ·Ï ÀÌ ¼³Á¤À» Àû¿ëµÇ°Å³ª Àû¿ëÇÏÁö ¾ÊÀ» ¼ö ÀÖ½À´Ï´Ù. ¼³Á¤À» Àû¿ëÇÏÁö ¾ÊÀ¸¸é ¸Þ½ÃÁö´Â Á¦ÇÑÀÌ ÃʰúµÉ ¶§ ·Î±× ÆÄÀÏ¿¡ ±â·ÏµË´Ï´Ù. ÀÚ¼¼ÇÑ ³»¿ëÀº "CLI¸¦ »ç¿ëÇÑ Æ®·£Àè¼Ç ¼­ºñ½º °ü¸®"¸¦ ÂüÁ¶ÇϽʽÿÀ.

°ü¸® ÀÎÅÍÆäÀ̽º¸¦ ÅëÇØ ÀÌ ¼³Á¤À» ¹Ù²Ü ¼ö ÀÖÀ» »Ó¸¸ ¾Æ´Ï¶ó ¸í·ÉÁÙ ÀÎÅÍÆäÀ̽ºÀÇ asadmin À¯Æ¿¸®Æ¼¸¦ »ç¿ëÇÒ ¼öµµ ÀÖ½À´Ï´Ù. ¸í·ÉÁÙ ÀÎÅÍÆäÀ̽ºÀÇ asadmin À¯Æ¿¸®Æ¼¸¦ »ç¿ëÇÏ¿© ¼­ºñ½º ǰÁú(QOS)À» ±¸¼ºÇÏ·Á¸é ´ÙÀ½ ¸í·ÉÀ» »ç¿ëÇÕ´Ï´Ù.

  • create-http-qos
  • delete-http-qos

ÀÌ ¸í·ÉÀº ´ÙÀ½ ±¸¹®À» »ç¿ëÇÕ´Ï´Ù:

asadmin create-http-qos --user username [--password password] [--host hostname] [--port adminport] [--secure | -s] [--passwordfile file_name] [--virtualserver virtual_server_id] [--bwlimit bandwidth_limit] [--enforcebwlimit enforce_bandwidth_limit] [--connlimit connection_limit] [--enforceconnlimit enforce_connection_limit] instance_name

asadmin delete-http-qos --user username [--password password] [--host hostname] [--port adminport] [--secure | -s] [--passwordfile file_name] [--virtualserver virtual_server_id] instance_name

°¡»ó ¼­¹ö¸¦ ÁöÁ¤ÇÏ´Â °æ¿ì, ÀÌ ¸í·ÉÀº ÇØ´ç °¡»ó ¼­¹ö¿¡ ´ëÇÑ ¼­ºñ½º ǰÁú(QOS) Á¤º¸¸¦ ¸¸µé°Å³ª »èÁ¦ÇÕ´Ï´Ù. °¡»ó ¼­¹ö¸¦ ÁöÁ¤ÇÏÁö ¾ÊÀ¸¸é ÀÌ ¸í·ÉÀº ¼­¹ö ÀνºÅϽº¿¡ ¿µÇâÀ» ÁÝ´Ï´Ù.

¸í·É ±¸¹®¿¡ ´ëÇÑ ÀÚ¼¼ÇÑ ³»¿ëÀº ¸í·ÉÁÙ ÀÎÅÍÆäÀ̽º µµ¿ò¸»À» ÂüÁ¶ÇϽʽÿÀ. asadmin »ç¿ë¿¡ ´ëÇÑ ÀÚ¼¼ÇÑ ³»¿ëÀº "¸í·ÉÁÙ ÀÎÅÍÆäÀ̽º »ç¿ë"À» ÂüÁ¶ÇϽʽÿÀ.

°¡»ó ¼­¹ö ¼³Á¤ ÆíÁý

°¡»ó ¼­¹ö¸¦ ¼³Á¤ÇÏ°í ³ª¸é ÆíÁýÀÌ °¡´ÉÇÕ´Ï´Ù. °¡»ó ¼­¹ö ¼³Á¤ ÆíÁý¿¡ ´ëÇÑ ÀÚ¼¼ÇÑ ³»¿ëÀº ´ÙÀ½À» ÂüÁ¶ÇϽʽÿÀ.

°ü¸® ÀÎÅÍÆäÀ̽º¸¦ »ç¿ëÇÏ¿© ÀÏ¹Ý ¼³Á¤ ÆíÁý

°¡»ó ¼­¹öÀÇ ÀÏ¹Ý ¼³Á¤Àº °¡»ó ¼­¹ö¸¦ ¸¸µé ¶§ ¼³Á¤ÇÒ ¼ö ÀÖ½À´Ï´Ù. ÀÌ ¼³Á¤À» º¯°æÇÏ·Á¸é ´ÙÀ½ ´Ü°è¸¦ ¼öÇàÇÕ´Ï´Ù.

  1. ¿ÞÂÊ Ã¢¿¡¼­ ÀÀ¿ë ÇÁ·Î±×·¥ ¼­¹ö ÀνºÅϽº¿¡ ´ëÇØ "HTTP ¼­¹ö"¸¦ ¿±´Ï´Ù.
  2. "°¡»ó ¼­¹ö"¸¦ ¿±´Ï´Ù.
  3. ÆíÁýÇÒ "°¡»ó ¼­¹ö"¸¦ ´©¸¨´Ï´Ù.
  4. ¿øÇÏ´Â ´ë·Î º¯°æÇÕ´Ï´Ù.
  5. º¯°æÇÒ ¼ö ÀÖ´Â ¿µ¿ªÀ¸·Î´Â ¼­ºñ½º ǰÁú(QOS) ¼³Á¤, ACL Ãß°¡, ¹®¼­ ·çÆ® ¹× »ç¿ë °¡´ÉÇÑ ¾ð¾î Çì´õ¿Í °°Àº ³»¿ë °ü·Ã ¼³Á¤, »ç¿ëÀÚ, ±×·ì, ¿ì¼± ¼øÀ§(nice) ¹× chroot ¼³Á¤°ú °°Àº CGI ¼³Á¤, ±âº» À¥ ¸ðµâ µîÀÌ ÀÖ½À´Ï´Ù.

  6. "ÀúÀå"À» ´©¸¨´Ï´Ù.

ÀÌ ¼³Á¤ Áß ÀϺο¡ ´ëÇÑ ÀÚ¼¼ÇÑ ³»¿ëÀº "°¡»ó ¼­¹ö ¸¸µé±â ¹× ±¸¼º"À» ÂüÁ¶ÇϽʽÿÀ. ¶ÇÇÑ ¿Â¶óÀÎ µµ¿ò¸»µµ ÂüÁ¶ÇϽʽÿÀ.

¸í·ÉÁÙ ÀÎÅÍÆäÀ̽º¸¦ »ç¿ëÇÏ¿© ÀÏ¹Ý ¼³Á¤ ÆíÁý

¸í·ÉÁÙ ÀÎÅÍÆäÀ̽º¿¡¼­ asadmin À¯Æ¿¸®Æ¼¸¦ »ç¿ëÇÏ¿© ÀÌ ¼³Á¤À» ÆíÁýÇÒ ¼öµµ ÀÖ½À´Ï´Ù. get ¸í·ÉÀ» »ç¿ëÇÏ¿© ÇöÀç ¼³Á¤À» Ç¥½ÃÇϰí set ¸í·ÉÀ» »ç¿ëÇÏ¿© ÇöÀç ¼³Á¤¿¡ »õ °ªÀ» ¼³Á¤ÇϽʽÿÀ.

°¡»ó ¼­¹öÀÇ ¸ðµç ¼Ó¼ºÀ» Ç¥½ÃÇÏ·Á¸é ´ÙÀ½ ±¸¹®À» »ç¿ëÇÕ´Ï´Ù.

asadmin> get instance_name.virtual-server.vserver_id.*

¿¹¸¦ µé¸é ´ÙÀ½°ú °°½À´Ï´Ù.

asadmin> get server1.virtual-server.vs1.*

ÀÀ¿ë ÇÁ·Î±×·¥ ¼­¹ö ÀνºÅϽº server1¿¡ ´ëÇÑ ¸ðµç ¼Ó¼ºÀ» Ç¥½ÃÇÏ·Á¸é ´ÙÀ½ ±¸¹®À» »ç¿ëÇÕ´Ï´Ù.

asadmin> get server1.virtual-server.server1.*

¿¹¸¦ µé¾î, »ç¿ë °¡´ÉÇÑ ¾ð¾î Çì´õ ¼Ó¼ºÀ» ¼³Á¤ÇÏ·Á¸é ´ÙÀ½ ±¸¹®À» »ç¿ëÇÕ´Ï´Ù.

asadmin> set server1.virtual-server.server1.virtualserver.acceptLanguage=false



ÁÖ

¸í·ÉÁÙ ÀÎÅÍÆäÀ̽º¸¦ »ç¿ëÇÏ¿© "ÀϹÝ" ÆäÀÌÁö¿¡ ÀÖ´Â ¸ðµç ÇÊµå °ªÀ» ¼³Á¤ÇÒ ¼ö ÀÖ½À´Ï´Ù. ±×·¯³ª ´Ù¸¥ ÅÇÀÇ ÆäÀÌÁö, ¿¹¸¦ µé¾î "CGI" ÅÇ ÆäÀÌÁöÀÇ ÇÊµå °ªÀ» ¼³Á¤Çϱâ À§ÇØ ¸í·ÉÁÙ ÀÎÅÍÆäÀ̽º¸¦ »ç¿ëÇÒ ¼ö´Â ¾ø½À´Ï´Ù.



¸í·É ±¸¹®¿¡ ´ëÇÑ ÀÚ¼¼ÇÑ ³»¿ëÀº ¸í·ÉÁÙ ÀÎÅÍÆäÀ̽º µµ¿ò¸»À» ÂüÁ¶ÇϽʽÿÀ. asadmin »ç¿ë¿¡ ´ëÇÑ ÀÚ¼¼ÇÑ ³»¿ëÀº "¸í·ÉÁÙ ÀÎÅÍÆäÀ̽º »ç¿ë"À» ÂüÁ¶ÇϽʽÿÀ.

CGI ¼³Á¤ ÆíÁý

CGI ÆíÁý¿¡ ´ëÇÑ ÀÚ¼¼ÇÑ ³»¿ëÀº Sun ONE Application Server Developers Guide to Web Applications¸¦ ÂüÁ¶ÇϽʽÿÀ.

¹®¼­ ó¸® ¼³Á¤, ¹®¼­ µð·ºÅ丮 ¼³Á¤ ¹× HTTP/HTML ¼³Á¤ ÆíÁý

ÀÌ·¯ÇÑ ¼³Á¤ º¯°æ¿¡ ´ëÇÑ ÀÚ¼¼ÇÑ ³»¿ëÀº "°¡»ó ¼­¹ö ³»¿ë °ü¸®"¸¦ ÂüÁ¶ÇϽʽÿÀ.

°¡»ó ¼­¹ö »èÁ¦

°¡»ó ¼­¹ö¸¦ »èÁ¦ÇÏ·Á¸é ´ÙÀ½ ÀÛ¾÷À» ¼öÇàÇÕ´Ï´Ù.

  1. °ü¸® ÀÎÅÍÆäÀ̽ºÀÇ ¿ÞÂÊ Ã¢¿¡¼­ ÀÀ¿ë ÇÁ·Î±×·¥ ¼­¹ö ÀνºÅϽº¿¡ ´ëÇØ "HTTP ¼­¹ö"¸¦ ¿±´Ï´Ù.
  2. "°¡»ó ¼­¹ö"¸¦ ´©¸¨´Ï´Ù.
  3. »èÁ¦ÇÒ °¡»ó ¼­¹ö ¿·¿¡ ÀÖ´Â È®ÀζõÀ» ´©¸¨´Ï´Ù.
  4. "»èÁ¦"¸¦ ´©¸¨´Ï´Ù.
  5. °ü¸® ÀÎÅÍÆäÀ̽º¸¦ »ç¿ëÇÏ¿© ÀϺΠ°¡»ó ¼­¹ö¸¦ »èÁ¦ÇÒ ¼ö ¾ø½À´Ï´Ù.

¸í·ÉÁÙ ÀÎÅÍÆäÀ̽º¸¦ »ç¿ëÇÏ¿© °¡»ó ¼­¹ö¸¦ »èÁ¦ÇÏ·Á¸é asadmin À¯Æ¿¸®Æ¼ÀÇ delete-virtual-server ¸í·ÉÀ» »ç¿ëÇÕ´Ï´Ù.

»ç¿ë¹ýÀº ´ÙÀ½°ú °°½À´Ï´Ù.

asadmin delete-virtual-server --user username [--password password] [--host hostname] [--port adminport] [--secure | -s] [--passwordfile file_name] --instance instance virtualserver_id

¸í·É ±¸¹®¿¡ ´ëÇÑ ÀÚ¼¼ÇÑ ³»¿ëÀº ¸í·ÉÁÙ ÀÎÅÍÆäÀ̽º µµ¿ò¸»À» ÂüÁ¶ÇϽʽÿÀ. asadmin¿¡ ´ëÇÑ ÀÚ¼¼ÇÑ ³»¿ëÀº "¸í·ÉÁÙ ÀÎÅÍÆäÀ̽º »ç¿ë"À» ÂüÁ¶ÇϽʽÿÀ.

°¡»ó ¼­¹ö ¹èÆ÷

Sun ONE Application ServerÀÇ °¡»ó ¼­¹ö ±¸Á¶´Â ¸Å¿ì À¯¿¬ÇÕ´Ï´Ù. ÀÀ¿ë ÇÁ·Î±×·¥ ÀνºÅϽºÀÇ º¸¾È ¶Ç´Â ºñº¸¾È HTTP ListenerÀÇ ¼ö¿¡´Â Á¦ÇÑÀÌ ¾ø½À´Ï´Ù. ÀÌ·¯ÇÑ HTTP Listener¿¡ ¿¬°áÇÒ ¼ö ÀÖ´Â °¡»ó ¼­¹öÀÇ ¼ö¿¡´Â Á¦ÇÑÀÌ ¾ø½À´Ï´Ù. ¶ÇÇÑ IP ÁÖ¼Ò ±â¹Ý ¹× URL È£½ºÆ® ±â¹Ý °¡»ó ¼­¹ö¸¦ ¸ðµÎ °¡Áú ¼ö ÀÖ½À´Ï´Ù.

¸ðµç °¡»ó ¼­¹ö´Â °íÀ¯ÇÑ ACL ¸ñ·Ï, mime.types ÆÄÀÏ ¹× °íÀ¯ÇÑ Java À¥ ÀÀ¿ë ÇÁ·Î±×·¥ ÁýÇÕÀ» °¡Áú ¼ö ÀÖÀ¸³ª ¹Ýµå½Ã °¡Áú ÇÊ¿ä´Â ¾ø½À´Ï´Ù.

ÀÌ·¯ÇÑ ¼³°è·Î ÀÎÇØ »ç¿ëÀÚ´Â ´Ù¾çÇÑ ÀÀ¿ë ÇÁ·Î±×·¥¿¡ ´ëÇØ ¼­¹ö¸¦ ±¸¼ºÇÒ ¼ö ÀÖ´Â ÃÖ´ëÇÑÀÇ À¯¿¬¼ºÀ» °¡Áú ¼ö ÀÖ½À´Ï´Ù. ´ÙÀ½Àº Sun ONE Application Server¿¡ »ç¿ë °¡´ÉÇÑ ±¸¼ºÀÇ ÀϺΠ¿¹ÀÔ´Ï´Ù.

¿¹ 1: ±âº» ±¸¼º

±âº» ±¸¼º¿¡´Â ÀÀ¿ë ÇÁ·Î±×·¥ ¼­¹ö ÀνºÅϽº°¡ Çϳª ÀÖ½À´Ï´Ù. ÀÌ ÀÀ¿ë ÇÁ·Î±×·¥ ¼­¹ö ÀνºÅϽº¿¡´Â Æ÷Æ® 80, 1024 ¶Ç´Â ÄÄÇ»ÅÍ¿¡ ±¸¼ºµÈ IP ÁÖ¼Ò¿¡¼­ »ç¿ëÀÚ°¡ ¼±ÅÃÇÑ Æ÷Æ®¸¦ ¼ö½ÅÇÏ´Â HTTP Listener°¡ Çϳª¸¸ ÀÖ½À´Ï´Ù.

·ÎÄà ³×Æ®¿öÅ©ÀÇ ÀϺΠ¸ÞÄ¿´ÏÁò¿¡¼­´Â ÄÄÇ»ÅÍ¿¡ ±¸¼ºµÈ °¢ ÁÖ¼Ò¿¡ ´ëÇØ À̸§°ú ÁÖ¼Ò°¡ ¸ÅÇÎÇÕ´Ï´Ù. ´ÙÀ½ ¿¹¿¡¼­ ÄÄÇ»ÅÍ´Â µÎ °³ÀÇ ³×Æ®¿öÅ© ÀÎÅÍÆäÀ̽º¸¦ °®½À´Ï´Ù. Çϳª´Â ÁÖ¼Ò 127.0.0.1ÀÇ ·çÇÁ¹é ÀÎÅÍÆäÀ̽º(³×Æ®¿öÅ© Ä«µå°¡ ¾ø¾îµµ Á¸ÀçÇÏ´Â ÀÎÅÍÆäÀ̽º)ÀÌ°í ´Ù¸¥ Çϳª´Â ÁÖ¼Ò 10.0.0.1ÀÇ ÀÌ´õ³Ý ÀÎÅÍÆäÀ̽ºÀÔ´Ï´Ù.

example.comÀÌ DNS¸¦ ÅëÇØ 10.0.0.1¿¡ ¸ÅÇÎÇÕ´Ï´Ù. HTTP Listener´Â ÇØ´ç ½Ã½ºÅÛ¿¡ ±¸¼ºµÈ ÇÑ ÁÖ¼ÒÀÇ Æ÷Æ® 80¿¡¼­ ¼ö½ÅÇϵµ·Ï ±¸¼ºµË´Ï´Ù("0.0.0.0:80").

±âº» ±¸¼º¿¡ IP ÁÖ¼Ò ±â¹Ý °¡»ó ¼­¹ö°¡ ¾øÀ¸¹Ç·Î HTTP Listener¸¸ÀÌ ±âº» ±¸¼ºÀÔ´Ï´Ù. ¸ðµç ¿¬°áÀº °¡»ó ¼­¹ö server1À» ÅëÇÕ´Ï´Ù.

   ±âº» ±¸¼º
ÀÌ ±×¸²Àº ÀÀ¿ë ÇÁ·Î±×·¥ ¼­¹ö ÀνºÅϽºÀÇ ±âº» °¡»ó ¼­¹ö ±¸¼ºÀ» º¸¿©ÁÝ´Ï´Ù. ÇϳªÀÇ HTTP Listener¿Í ÇϳªÀÇ °¡»ó ¼­¹ö¸¸ ÀÖ½À´Ï´Ù.

ÀÌ ±¸¼º¿¡¼­ °¡»ó ¼­¹ö VS1¿¡ ÀÇÇØ ´ÙÀ½ Ç׸ñ°ú ¼­¹ö°¡ ¿¬°áµË´Ï´Ù.

  • http://127.0.0.1/ (example.com¿¡¼­ ½ÃÀÛ)
  • http://localhost/ (example.com¿¡¼­ ½ÃÀÛ)
  • http://example.com/
  • http://10.0.0.1/

ÀüÅëÀûÀÎ HTTP ¼­¹ö »ç¿ë ½Ã ÀÌ ±¸¼ºÀ» »ç¿ëÇÕ´Ï´Ù. Ãß°¡ °¡»ó ¼­¹ö³ª HTTP Listener°¡ ÇÊ¿ä ¾ø½À´Ï´Ù. server1¿¡ ´ëÇÑ ¼³Á¤À» º¯°æÇÏ¿© ¼­¹ö ¼³Á¤À» ±¸¼ºÇϽʽÿÀ.

¿¹ 2: º¸¾È ¼­¹ö

±âº» ±¸¼º¿¡ SSLÀ» »ç¿ëÇÏ·Á¸é HTTP Listener¸¦ º¸¾È ¸ðµå·Î °£´ÜÈ÷ º¯°æÇÏ¸é µË´Ï´Ù.

¶ÇÇÑ 0.0.0.0:443À¸·Î ±¸¼ºµÈ »õ º¸¾È HTTP Listener¸¦ Ãß°¡Çϰí server1À» »õ HTTP Listener¿¡ ¿¬°áÇÒ ¼öµµ ÀÖ½À´Ï´Ù. ÀÌÁ¦ °¡»ó ¼­¹ö¿¡¼­´Â HTTP Listener¸¦ °®°Ô µÇ´Âµ¥, Çϳª´Â º¸¾È HTTP Listener¸¦ »ç¿ëÇÏ¸ç ´Ù¸¥ Çϳª´Â ±×·¸Áö ¾Ê½À´Ï´Ù. ÀÌÁ¦ ¼­¹ö¿¡¼­´Â SSLÀÌ Àְųª ¾ø´Â »óÅ·Πµ¿ÀÏÇÑ ³»¿ëÀ» Á¦°øÇÕ´Ï´Ù. Áï, http://example.com/°ú https://example.com/Àº µ¿ÀÏÇÑ ³»¿ëÀ» Á¦°øÇÕ´Ï´Ù.

   º¸¾È ¼­¹ö
ÀÌ ±×¸²Àº µÎ °³ÀÇ HTTP Listener (º¸¾È HTTP Listener¿Í ºñº¸¾È HTTP Listener °¢°¢ ÇÑ °³¾¿)¿Í ÇÑ °³ÀÇ °¡»ó ¼­¹ö¸¦ »ç¿ëÇÏ´Â ¼­¹ö ÀνºÅϽº¿¡ ´ëÇÑ º¸¾È ¼­¹ö ±¸¼ºÀ» º¸¿©ÁÝ´Ï´Ù.

HTTP Listener¿¡´Â SSL ¸Å°³ º¯¼ö°¡ ¼³Á¤µÇ¾î ÀÖ½À´Ï´Ù.

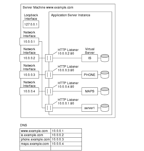
¿¹ 3: ÀÎÆ®¶ó³Ý È£½ºÆÃ

Sun ONE Application ServerÀÇ Á» ´õ º¹ÀâÇÑ ±¸¼ºÀº ÀÎÆ®¶ó³Ý ¹èÆ÷¸¦ À§ÇØ ¼­¹ö¿¡¼­ ¿©·¯ °¡»ó ¼­¹ö¸¦ È£½ºÆ®ÇÏ´Â °ÍÀÔ´Ï´Ù. ¿¹¸¦ µé¾î, Á÷¿øÀÌ ´Ù¸¥ »ç¿ëÀÚÀÇ ÀüÈ­ ¹øÈ£¸¦ ãÀ» ¼ö ÀÖÀ¸¸ç, Ä·ÆÛ½ºÀÇ Áöµµ¸¦ º¼ ¼ö ÀÖ°í Á¤º¸ ¼­ºñ½º ºÎ¼­¿¡ ¿äûÇÑ ÀÏÀÇ Ã³¸® »óŸ¦ ÃßÀûÇÒ ¼ö ÀÖ´Â ¼¼ °¡Áö ³»ºÎ »çÀÌÆ®°¡ ÀÖ½À´Ï´Ù. ÀÌ ¿¹¿¡¼­ ÀÌÀü¿¡´Â phone.example.com, maps.example.com ¹× is.example.comÀ̶ó´Â À̸§ÀÌ ¸ÅÇεǴ ¼¼ °³ÀÇ ÄÄÇ»ÅÍ¿¡¼­ ÀÌ ¼¼ »çÀÌÆ®¸¦ È£½ºÆ®Çß½À´Ï´Ù.

±×·¯³ª Çϵå¿þ¾î ¹× °ü¸® ¿À¹öÇìµå¸¦ ÃÖ¼ÒÈ­Çϱâ À§ÇØ ÀÌ ¼¼ »çÀÌÆ®¸¦ machine example.com¿¡¼­ ÇϳªÀÇ ÀÀ¿ë ÇÁ·Î±×·¥ ¼­¹ö·Î ÅëÇÕÇÒ ¼ö ÀÖ½À´Ï´Ù. ÀÌ ¶§ URL È£½ºÆ® ±â¹Ý °¡»ó ¼­¹ö ¶Ç´Â IP ÁÖ¼Ò ±â¹Ý °¡»ó ¼­¹ö¸¦ »ç¿ëÇÏ¿© À̸¦ ¼³Á¤ÇÒ ¼ö ÀÖ½À´Ï´Ù. ÀÌ µÎ ¹æ¹ý¿¡´Â °¢°¢ Àå´ÜÁ¡ÀÌ ÀÖ½À´Ï´Ù.

   URL È£½ºÆ® ±â¹Ý °¡»ó ¼­¹ö¸¦ »ç¿ëÇÏ¿© ÀÎÆ®¶ó³Ý È£½ºÆÃ
ÀÌ ±×¸²Àº URL È£½ºÆ® ±â¹Ý °¡»ó ¼­¹ö¸¦ º¸¿©ÁÝ´Ï´Ù.

URL È£½ºÆ® ±â¹Ý °¡»ó ¼­¹ö´Â ½±°Ô ¼³Á¤ÇÒ ¼ö ÀÖÁö¸¸ ´ÙÀ½°ú °°Àº ´ÜÁ¡ÀÌ ÀÖ½À´Ï´Ù.

  • ÀÌ ±¸¼º¿¡¼­ SSLÀ» Áö¿øÇÏ·Á¸é, ¿ÍÀϵåÄ«µå ÀÎÁõ¼­¸¦ »ç¿ëÇÏ´Â ºñÇ¥ÁØ ¼³Á¤ÀÌ ÇÊ¿äÇÕ´Ï´Ù. ÀÚ¼¼ÇÑ ³»¿ëÀº Sun ONE Application Server Administrator's Guide to Security¸¦ ÂüÁ¶ÇϽʽÿÀ.
  • URL È£½ºÆ® ±â¹Ý °¡»ó ¼­¹ö´Â ·¹°Å½Ã HTTP Ŭ¶óÀÌ¾ðÆ®¿Í ÇÔ²² ÀÛµ¿ÇÏÁö ¾Ê½À´Ï´Ù.

IP ÁÖ¼Ò ±â¹Ý °¡»ó ¼­¹ö´Â ´ÙÀ½°ú °°Àº ÀåÁ¡ÀÌ ÀÖ½À´Ï´Ù.

  • HTTP/1.1 Host Çì´õ¸¦ Áö¿øÇÏÁö ¾Ê´Â ÀÌÀü Ŭ¶óÀÌ¾ðÆ®¿Í ÇÔ²² ÀÛµ¿ÇÕ´Ï´Ù.
  • SSL Áö¿øÀÌ °£ÆíÇÕ´Ï´Ù.

´ÜÁ¡Àº ´ÙÀ½°ú °°½À´Ï´Ù.

  • È£½ºÆ® ÄÄÇ»ÅÍ¿¡¼­ ±¸¼º º¯°æÀÌ ÇÊ¿äÇÕ´Ï´Ù(½ÇÁ¦ ¶Ç´Â °¡»ó ¼­¹ö ÀÎÅÍÆäÀ̽ºÀÇ ±¸¼º).
  • ¼öõ °³ÀÇ °¡»ó ¼­¹ö¿¡¼­ ±¸¼ºÀ» Á¶ÀýÇÒ ¼ö ¾ø½À´Ï´Ù.

µÎ °¡Áö ±¸¼º ¹æ¹ý ¸ðµÎ ¼¼ À̸§¿¡ ´ëÇØ À̸§°ú ÁÖ¼Ò°¡ ¸ÅÇÎÇϵµ·Ï ¼³Á¤ÇØ¾ß ÇÕ´Ï´Ù. IP ÁÖ¼Ò ±â¹Ý ±¸¼º¿¡¼­ °¢ À̸§Àº ¼­·Î ´Ù¸¥ ÁÖ¼Ò¿¡ ¸ÅÇε˴ϴÙ. ÀÌ·¯ÇÑ ¸ðµç ÁÖ¼Ò¿¡¼­ ¿¬°áÀ» ¼ö½ÅÇϵµ·Ï È£½ºÆ® ½Ã½ºÅÛÀ» ¼³Á¤ÇØ¾ß ÇÕ´Ï´Ù. URL È£½ºÆ® ±â¹Ý ±¸¼º¿¡¼­ ¸ðµç À̸§Àº °°Àº ÁÖ¼Ò Áï, ¿ø·¡ ½Ã½ºÅÛ¿¡ ÁöÁ¤µÈ ÁÖ¼Ò·Î ¸ÅÇε˴ϴÙ.

   IP ÁÖ¼Ò ±â¹Ý °¡»ó ¼­¹ö¸¦ »ç¿ëÇÏ¿© ÀÎÆ®¶ó³Ý È£½ºÆÃ
ÀÌ ±×¸²Àº IP ÁÖ¼Ò ±â¹Ý °¡»ó ¼­¹ö¸¦ º¸¿©ÁÝ´Ï´Ù.

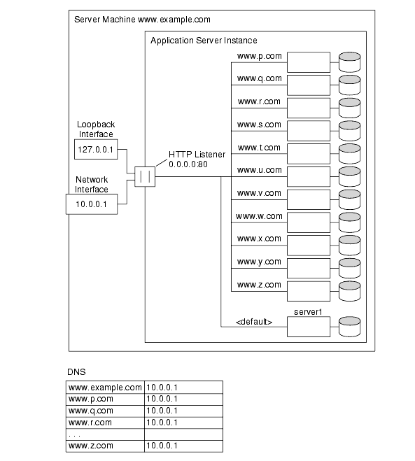
¿¹ 4: ´ÙÁß È£½ºÆÃ

´ÙÁß È£½ºÆÃÀº Æ®·¡ÇÈÀÌ ÀûÀº ¼ö¸¹Àº °¡»ó ¼­¹ö¸¦ Ȱ¼ºÈ­ÇÏ´Â ±¸¼ºÀÔ´Ï´Ù. Æ®·¡ÇÈÀÌ ÀûÀº ¼ö¸¹Àº °³ÀΠȨ ÆäÀÌÁö¸¦ È£½ºÆ®ÇÏ´Â ISP¸¦ ¿¹·Î µé ¼ö ÀÖ½À´Ï´Ù. ÀϹÝÀûÀ¸·Î °¡»ó ¼­¹ö´Â URL È£½ºÆ® ±â¹ÝÀÔ´Ï´Ù.

   ´ÙÁß È£½ºÆÃ
ÀÌ ±×¸²Àº ÇÑ °³ÀÇ HTTP Listener¿Í ¿©·¯ URL È£½ºÆ® ±â¹Ý °¡»ó ¼­¹ö¸¦ »ç¿ëÇÏ´Â ´ÙÁß È£½ºÆ®¸¦ º¸¿©ÁÝ´Ï´Ù.

±âº» °¡»ó ¼­¹öÀÎ server1Àº °è¼Ó À¯ÁöµË´Ï´Ù.


ÀÌÀü      ¸ñÂ÷      »öÀÎ      ´ÙÀ½     
Copyright 2003 Sun Microsystems, Inc. ¸ðµç ±Ç¸®´Â ÀúÀÛ±ÇÀÚÀÇ ¼ÒÀ¯ÀÔ´Ï´Ù.