机架装配套件包含适配器托架、后支架、搁梁、卡式螺母以及螺钉。
![]() | 注意 - 配置齐全的服务器重约 180 磅(100 千克)。为了减少严重人身伤害或设备受损的风险,应使用机械式升降装置将服务器安装到机架中。如果没有升降装置,请按照如何移除组件以减轻重量中所述移除组件。这样可将服务器的重量减轻至 80 磅(45 千克)。 始终按从下到上的顺序将设备装入机架,以防设备因头重脚轻而倾倒。安装用于防止机架倾斜的护杆,以防机架在设备安装期间倾斜。 |
此任务使用以下螺钉和连接器:
|
服务器附带了两组适配器托架:一组适用于方孔机架 (1),另一组适用于圆孔机架 (2)。适用于方孔机架的适配器托架 (1) 具有螺纹。适用于圆孔(攻螺孔)机架的适配器托架 (2) 没有螺纹。请参见下图。
注 - 适配器托架上的箭头 (3) 表明了其朝向方位。安装所有托架时,请确保“顶部”箭头 (3) 向上。

放置适配器托架,使适配器托架的底部与将要装入服务器的 (5RU) 空间的底部对齐,并且标记为“顶部”的箭头向上。
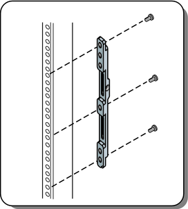
每侧使用三颗 M6 x 12 或 10-32 x 10 螺钉。将螺钉从机架内部穿过适配器托架并拧入支柱上的螺纹。
注 - 附件箱中包括一个印刷模板,可以用来帮助对齐适配器托架。
放置适配器托架,使适配器托架的底部与将要装入服务器的 (5RU) 空间的底部对齐,并且标记为“顶部”的箭头向上。
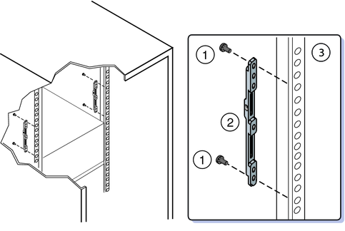
将两颗螺钉 (1) 从机架内部穿过适配器托架 (2) 顶部和底部的孔,并拧入支柱 (3)。
对于 M6 机架,每侧使用两颗 M6 x 12 螺钉。
对于 10-32 机架,每侧使用两颗 10-32 带肩螺钉。

每侧使用两颗 M6 x 16 或两颗 10-32 x 10 毫米螺钉 (3)。
拧紧螺钉之前,将支架 (1) 向上滑动到最远的位置。支架上的孔为椭圆形,因此当螺钉松动时它们可以稍微上下移动。

必须先移除搁板延伸架,然后才能将服务器装入机架中。它们将用于其他产品。

展开搁梁 (1) 以适合机架,然后滑入适配器托架 (2) 上的插槽并卡入到位 (3)。
确保搁梁放置的朝向方位正确。它们标记为“前左”和“前右”。

这些螺钉可防止搁梁意外地从适配器托架中抽离出来。

接下来的操作