| Ignorer les liens de navigation | |
| Quitter l'aperu | |
|
Guide d'installation du matériel à monter en rack du serveur Sun Fire X4800 M2 |
Utilisation de cette documentation
Montage du serveur dans un rack
Montage de l'équipement en option
Contenu du kit de montage en rack
Installation du serveur dans un rack
Comment retirer des composants pour alléger l'appareil
Comment remplacer des composants du serveur
Comment installer le matériel à monter en rack dans un rack à ouvertures rondes
Comment insérer le serveur dans le rack
Montage et retrait des supports de transport
Le kit de montage en rack comprend des supports d'adaptateur, des barres de retenue arrière, des glissières de tablette, des écrous à cage et des vis.
![]() | Attention - Le serveur pèse environ 100 kg une fois chargé avec tous ses composants. Pour éviter de vous blesser et/ou d'endommager le matériel, utilisez un appareil de levage mécanique pour installer le serveur dans le rack. Si vous ne disposez pas d'un appareil de levage, retirez des composants comment décrit dans Comment retirer des composants pour alléger l'appareil. Cela permet de réduire le poids du serveur à 45 kg. Chargez toujours le matériel dans un rack de bas en haut, afin d’éviter qu’il ne se déséquilibre par le haut et bascule. Déployez la barre stabilisatrice du rack pour l'empêcher de basculer pendant l'installation des équipements. |
Remarque - Pour installer du matériel à monter en rack dans des racks à ouvertures rondes, reportez-vous à la section Comment installer le matériel à monter en rack dans un rack à ouvertures rondes.
Cette tâche requiert les vis et connecteurs suivants :
|
Le serveur est livré avec deux jeux de supports d'adaptateur : l'un pour les racks à ouvertures carrées (1) et l'autre pour les racks à ouvertures rondes (2). Les supports des racks à ouvertures carrées (1) ont des filets. Consultez la figure suivante.
Remarque - Les flèches indiquées sur les supports (3) indiquent l'orientation des supports. Assurez-vous de monter tous les supports, flèche marquée « Top » (3) pointant vers le haut.

Placez les supports de manière à aligner leur fond avec le fond de l'espace (5RU) où le serveur doit être monté et à faire pointer la flèche marquée « Top » vers le haut.
Remarque - Le bac d'accessoires inclut un modèle imprimé que vous pouvez utiliser pour vous aider à aligner les supports d'adaptateur.
Utilisez une vis M6 x 16 par côté. Insérez les vis à partir de l'extérieur du rack dans les ouvertures du montant puis dans les filets des supports d'adaptateur.
Les deux autres ouvertures (par côté) sont utilisées ultérieurement pour fixer la collerette d'encastrement du serveur au rack.

Placez les supports de manière à aligner leur fond avec le fond de l'espace (5RU) où le serveur doit être monté et à faire pointer la flèche marquée « Top » vers le haut.
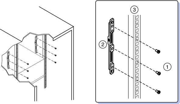
Utilisez trois vis M6 X 16 par côté (1) pour fixer le support (2) aux montants (3).

Placez deux écrous à cage M6 (4) par côté, puis utilisez deux vis M6 x 16 (3).
Avant de serrer les vis, faites glisser les barres de retenue (1) vers le haut au maximum. Les ouvertures situées sur les barres de retenue sont de forme ovale pour pouvoir les faire légèrement bouger lorsque les vis ne sont pas serrées.

Vous devez retirer les raccordements de tablette avant de monter le serveur dans le rack. Ils sont utilisés pour d'autres produits.

Les glissières de tablette (1) s'adaptent à la taille du rack, puis viennent s'insérer dans les logements des supports d'adaptateur (2) pour se mettre en place (3).
Assurez-vous d'orienter les glissières de tablette correctement. Elles sont libellées « FRONT LEFT » et « FRONT RIGHT ».

Ces vis évitent que les glissières de tablette se détachent accidentellement des supports d'adaptateur.

Étapes suivantes