Knowledge ERD
Copyright © 1997, 2012 Oracle and/or its affiliates. All rights reserved.
Legal Notices
ATG Data Warehouse Guide
Documentation Home
Feedback
Highlighting
Prev
Up
Next
Contents
Search
Introduction
Data Model for Oracle Business Intelligence
Key to Column Data Type Names
Common Database Tables
Time Tables
ARF_CAL_MOY
ARF_CAL_DOW
ARF_CAL_QOY
ARF_TIME_YEAR
ARF_TIME_QTR
ARF_TIME_MONTH
ARF_TIME_WEEK
ARF_TIME_DAY
ARF_TIME_HOUR
ARF_TIME_TOD
ARF_TIME_INTERVAL
Time Loaders
Time Jobs
Time Dimension Handlers
Internal User Directory Tables
ARF_IU_USER
ARF_IU_ORG
ARF_IU_DIR_LVL
Internal User Loaders
Internal User Jobs
Internal User Dimension Handlers
External User Tables
ARF_USER
ARF_ORGANIZATION
ARF_USER_AGENT
Demographic Tables
ARF_GENDER
ARF_AGE_GROUP
ARF_LANGUAGE
ARF_MARITAL_STATUS
ARF_GEO_COUNTRY
ARF_GEO_REGION
ARF_DEMOGRAPHIC
Segment Tables
ARF_SEGMENT
ARF_SEGCLSTR
ARF_SEGCLTR_MBRS
Stimulus Group Tables
ARF_STIMULUS
ARF_STIMGRP
ARF_STIMGRP_MBRS
Question Tables
ARF_QUESTION_TYPE
ARF_QUESTION_TYPE_GROUP
ARF_QUESTION_TYPE_GROUP_MBRS
ARF_QUESTION
ARF_SEARCH_NUMBER
ARF_SEARCH_NUMBER_GROUP
ARF_SEARCH_NUMBER_GRP_MBRS
Site Table
ARF_SITE
Unregistered Sites in Oracle ATG Web Commerce Business Intelligence
Site Visit Table
Site Visit Durations
DURATION_SECONDS
TOTAL_ELAPSED_DURATION_SECONDS
SITE_VISIT_DURATION_SECONDS
RESOURCE_DURATION_SECONDS
Currency Table
Referrer Table
Registration Table
Platform ERD
Commerce Database Tables
ARF_CURRENCY_CONV
ARF_CATEGORY
ARF_COUPON
ARF_PRODUCT
ARF_SKU
ARF_PROMOTION
ARF_PROMOTION_USAGE
ARF_PROMOGRP
ARF_PROMOGRP_MBRS
ARF_SALES_CHANNEL
ARF_LINE_ITEM
ARF_RET_REASON_DISPOSITION
ARF_RETURN_ITEM
Commerce ERD
Commerce Service Center Database Tables
ARF_CALL
Commerce Service Center ERD
Knowledge Database Tables
KDW_CONTROL
KDW_SOLNCLASS_DIM
KDW_SOLNSTATUS_DIM
KDW_AUD_DIM
KDW_ACT_DIM
KDW_OWNGROUP_DIM
KDW_SOLN_DIM
KDW_SOLN_AUD
KDW_SOLN_TOPIC
KDW_SESSACTPK_FACT
KDW_PSESSACTPK
KDW_SACTTOTPK_FACT
KDW_PSACTTOTPK
KDW_AGENTACT_FACT
KDW_SOLNACT_FACT
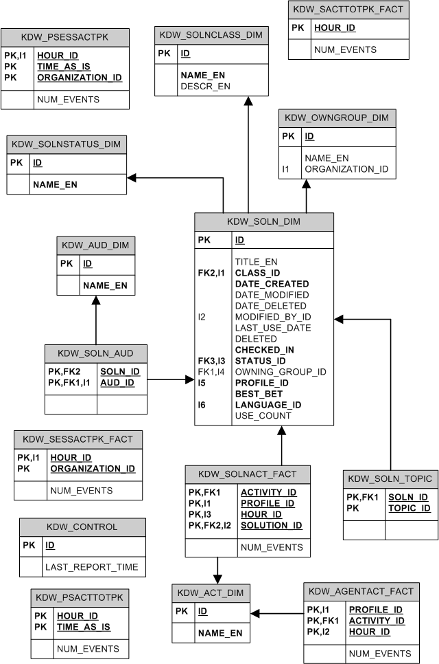
Knowledge ERD
Self Service Database Tables
SSVC_CONTROL
SSVC_SESSINIT_FACT
SSVC_ESCATM_FACT
SSVC_DEESCATM_FACT
SSVC_ESCCMP_FACT
SSVC_DEESCSUC_FACT
SSVC_DEESCUNS_FACT
SSVC_SESSPROC
Self Service ERD
Outreach Database Tables
ARF_CAMPAIGN
ARF_CAMPAIGN_STAGE
ARF_CAMPAIGN_ACTION_TYPE
ARF_CAMPAIGN_ACTION
ARF_CAMPAIGN_EVENT
ARF_LANDING_PAGE
ARF_EMAIL_DOMAIN
ARF_CAMPAIGN_ENTERED_FACT
ARF_CAMPAIGN_ACTION_FACT_TYPE
ARF_CAMPAIGN_ACTION_FACT
ARF_CAMPAIGN_AUDIT_TRAIL_FACT
Outreach ERD
Search Database Tables
ARF_SEARCH_PROJECT
ARF_SEARCH_ENVIRONMENT
ARF_QUERY_TYPE
ARF_CONTENT
ARF_SEARCH_TOPIC
ARF_TOPIC_GROUP
ARF_TOPIC_GROUP_MBRS
ARF_WORD
ARF_WORD_GROUP
ARF_WORD_GROUP_MBRS
ARF_DICTIONARY_ADAPTER
ARF_CUSTOM_TERM
ARF_CUSTTRM_GRP
ARF_CUSTTRM_GRP_MBRS
ARF_FINDER_TERM
ARF_FINDTRM_GRP
ARF_FINDTRM_GRP_MBRS
ARF_NULL_TERM
ARF_NULLTRM_GRP
ARF_NULLTRM_GRP_MBRS
ARF_NULX_TERM
ARF_NULXTRM_GRP
ARF_NULXTRM_GRP_MBRS
ARF_PROFILE_TYPE
ARF_SEARCH_CONFIG
ARF_SEARCH_RULE_TYPE
ARF_SEARCH_RULE
ARF_SEARCH_RULE_GRP
ARF_SEARCH_RULE_GRP_MBRS
ARF_SRCH_SITE_CONSTR
ARF_SRCH_SITE_CONSTR_MBRS
ARF_QUERY
ARF_VIEW_CONTENT
ARF_SEARCH_SITE_VISIT
Search ERD
Index
Search Terms