Skip Headers
StorageTek Virtual Storage Manager System Guía de planificación de VSM 6
Versión 6.0.7
E54219-01
  Ir a Tabla de Contenido
Contenido
Ir a Índice
Índice

Anterior
Anterior
 
Siguiente
Siguiente
 

5 Planificación de la preparación del sitio físico para VSM 6

Este capítulo proporciona información acerca de las actividades diseñadas para garantizar que el sitio esté equipado para cumplir con los requisitos ambientales, de alimentación, de seguridad, de climatización, y de gestión de datos de los equipos del sistema VSM 6. Las consideraciones clave de planificación para la preparación del sitio incluyen, entre otras:

Los clientes son responsables, en última instancia, de garantizar que su sitio esté físicamente preparado para recibir y permitir el funcionamiento de los equipos del sistema VSM 6, y de que el sitio cumpla con las especificaciones mínimas para el funcionamiento de los equipos detalladas en la presente guía.

Proceso de planificación de la preparación del sitio

Las actividades, las tareas y los integrantes de planificación de la preparación del sitio incluyen:

Actividades clave de alto nivel

  1. Seleccionar miembros del equipo de preparación del sitio y definir roles y responsabilidades.

  2. Completar la encuesta del sitio para:

    • Documentar peligros existentes y potenciales del ambiente interno y externo.

    • Evaluar las capacidades de alimentación, seguridad, ambiente, climatización, y gestión de datos del sitio y compararlos con los requisitos del sistema VSM 6.

    • Confirmar las capacidades de carga del piso a lo largo del camino de tránsito y en la ubicación de la instalación de los armarios de VTSS VSM 6.

    • Evaluar espacios libres en techo, pasillo y puerta, capacidad de ascensores y ángulos de rampas, y compararlos con los requisitos de los armarios de VTSS VSM 6.

  3. Asistir a las reuniones de planificación.

Subtareas clave

  1. Verificar que las capacidades de alimentación, seguridad, ambiente, climatización, y gestión de datos del sitio coincidan con los requisitos de VTSS VSM 6.

  2. Definir un plan para eliminar o mitigar los peligros del ambiente.

  3. Evaluar las capacidades de carga del piso a lo largo del camino de tránsito y en la ubicación de la instalación de VTSS VSM 6.

  4. Verificar que los espacios libres en puerta, pasillo y techo, capacidad de ascensores y ángulos de rampas coincidan con los requisitos de VTSS VSM 6.

  5. Identificar actualizaciones o modificaciones de infraestructura necesarias; y establecer un cronograma de finalización de obras.

  6. Evaluar el progreso de la preparación y certificar la preparación del sitio.

Integrantes clave

  • Cliente: ingeniero del sitio, gestor de instalaciones, gestor del centro de datos, administrador de red

  • Oracle: especialista en asistencia técnica, ingeniero en sistemas

Evaluación del sitio: consideraciones externas

Varios meses antes de entregar los equipos del sistema VSM 6, un equipo de planificación de preparación debe identificar y evaluar todos los factores externos del sitio que presenten riesgos reales o potenciales o que puedan afectar la entrega, la instalación o el funcionamiento del sistema. Factores externos que se deben evaluar:

  • La fiabilidad y la calidad de la energía eléctrica suministrada por el proveedor local del servicio, los grupos electrógenos de respaldo y las fuentes de alimentación ininterrumpibles (UPS).

  • La proximidad de las fuentes de radiación electromagnética de alta frecuencia (por ejemplo, líneas de alimentación de alto voltaje; y transmisores de radares, radio y televisión).

  • La proximidad de terrenos inundables naturales o artificiales, y la posibilidad resultante de inundación en el centro de datos.

  • Los efectos potenciales de contaminantes de fuentes cercanas (por ejemplo, plantas industriales).

Si se detectan factores negativos potenciales o reales, el equipo de planificación de preparación del sitio deberá tomar las medidas correspondientes para eliminar o mitigar dichos factores antes de que se entreguen los equipos del sistema VSM 6. Oracle Global Services ofrece servicios de consultoría y otro tipo de asistencia para identificar y resolver dichos problemas. Póngase en contacto con su representante de cuenta de Oracle para obtener más información.

Evaluación del sitio: consideraciones internas

Varios meses antes de entregar los equipos del sistema VSM 6, un equipo de planificación de preparación debe identificar y evaluar todos los factores internos del sitio que presenten riesgos reales o potenciales o que puedan afectar la entrega, la instalación o el funcionamiento del sistema. Factores internos que se deben evaluar:

  • Dimensiones estructurales, capacidad de ascensores, capacidades de carga del piso, grado de inclinación de las rampas y otras consideraciones que se deben tener en cuenta al transferir equipos de un lugar a otro, entre la plataforma de entrega, el área temporal y el sitio de instalación del centro de datos.

  • Capacidad y diseño del sistema de alimentación del sitio.

  • Capacidad y diseño del sistema de alimentación de los equipos del sistema VSM 6.

  • Capacidades y características de diseño del sistema de seguridad del centro de datos.

  • Capacidades y características de diseño de la climatización del ambiente del centro de datos.

  • Efectos posibles de materiales corrosivos, interferencia eléctrica o vibración excesiva de fuentes cercanas a los equipos del sistema.

Si se detectan factores negativos potenciales o reales, el equipo de planificación de preparación del sitio deberá tomar las medidas correspondientes para eliminar o mitigar dichos factores antes de que se entreguen los equipos del sistema VSM 6. Oracle Global Services ofrece servicios de consultoría y otro tipo de asistencia para identificar y resolver dichos problemas. Póngase en contacto con su representante de cuenta de Oracle para obtener más información.

Transferencia de equipos de un lugar a otro

Las condiciones del sitio se deben verificar para garantizar que todos los equipos del sistema VSM 6 se puedan transportar de forma segura entre la plataforma de entrega, el área temporal y el centro de datos sin encontrar restricciones dimensionales, obstrucciones ni riesgos para la seguridad, y sin superar las capacidades nominales de elevación y carga de los equipos. los pisos u otra infraestructura. A continuación, se describen las condiciones que se deben verificar.

Obstrucciones y dimensiones estructurales

Las dimensiones de los ascensores, las puertas, los pasillos, etc., deben ser suficientes para permitir el tránsito libre de los armarios de VSM 6 (en contenedores de envío, si corresponde) desde la plataforma de entrega hasta la ubicación de instalación del centro de datos. Consulte Dimensiones totales de VSM 6 para obtener información detallada de las dimensiones de los armarios de VSM 6.

Capacidades de elevación de los ascensores

Los ascensores que se utilicen para transferir los armarios de VSM 6 deben tener una capacidad de carga certificada de al menos 1050 kg (2312 lb). Esto proporciona capacidad adecuada para levantar el armario de VSM 6 totalmente lleno (aproximadamente 751 kg [1652 lb], un elevador hidráulico (100 kg/220 lb) y dos personas (200 kg/440 lb)]. Consulte Peso de VSM 6 para obtener información adicional detallada del peso de los armarios.

Capacidades de carga del piso

Los pisos sólidos, los pisos elevados y las rampas ubicados a lo largo del trayecto de traslado de los armarios de VSM 6 deben poder tolerar cargas concentradas y en movimiento generadas por el peso de un armario lleno, del elevador hidráulico utilizado para elevar el armario y por el personal que traslada el armario de un lugar a otro.

Los paneles de los pisos elevados ubicados a lo largo del trayecto de traslado deben poder tolerar una carga concentrada de 751 kg (1652 lb) y una carga en movimiento de 181 kg (400 lb) en cualquier lugar del panel, con una desviación máxima de 2 mm (0,08 in). Las bases de los pisos elevados deben poder tolerar una carga axial de 2268 kg (5000 lb). Consulte Requisitos de carga del piso para obtener información detallada adicional de carga del piso.

Cuando se traslada de un lugar a otro, el armario de VSM 6 genera aproximadamente el doble de carga sobre el piso que cuando está estático. El uso de madera contrachapada de 19 mm (0,75 in) a lo largo del trayecto de traslado reduce la carga en movimiento generada por un armario.

Inclinaciones de las rampas

Para evitar que los armarios de VSM 6 se vuelquen en las rampas mientras se los transporta de un lugar a otro, el gestor de instalaciones o el ingeniero del sitio deben verificar el ángulo de inclinación de todas las rampas en el trayecto del traslado. Las inclinaciones no pueden superar los 10 grados (176 mm/m; 2,12 in/ft).

Seguridad del centro de datos

La seguridad debe ser una consideración principal al planificar la instalación de los equipos del sistema VSM 6. Esto se debe reflejar en la elección de la ubicación de los equipos, la capacidad de carga y la capacidad de los sistemas eléctricos, de climatización y de prevención de incendios que respaldan el entorno operativo, y el nivel de capacitación del personal. Los requisitos de las autoridades locales y de las empresas aseguradoras impulsarán las decisiones sobre lo que constituye un nivel apropiado de seguridad en un entorno determinado.

También se deben evaluar los niveles de ocupación, los valores de las propiedades, el potencial de interrupción de las actividades comerciales, y los costos de mantenimiento y funcionamiento del sistema de protección contra incendios. Se pueden consultar la norma para la protección de equipos electrónicos de procesamiento de datos/informáticos (NFPA 75), el Código nacional de electricidad (NFPA 70), y los códigos y las normas locales y nacionales para obtener referencias para abordar estos temas.

Control de energía de emergencia

El centro de datos debe estar equipado con conmutadores de emergencia de fácil acceso para permitir la desconexión inmediata de la alimentación eléctrica de los equipos del sistema VSM 6. Se debe instalar un conmutador cerca de cada puerta de salida principal, de modo que el sistema de apagado se pueda activar rápidamente en una emergencia. Consulte los códigos locales y nacionales para determinar los requisitos de los sistemas de desconexión de la alimentación.

Prevención de incendios

Para la construcción, el mantenimiento y el uso de un centro de datos se deben tener en cuenta las siguientes directrices de prevención de incendios:

  • Almacenar gases y otros explosivos lejos del entorno del centro de datos.

  • Garantizar que las paredes, los pisos y los techos del centro de datos sean ignífugos e impermeables.

  • Instalar alarmas detectoras de humo y sistemas de extinción de incendios según los requisitos de los códigos locales o nacionales, y realizar todas las tareas de mantenimiento programado de los sistemas.


    Nota:

    El halón 1301 es el agente extintor utilizado con más frecuencia para los sistemas de extinción de incendios de los centros de datos. El agente se almacena en estado líquido y se libera como un vapor incoloro, inodoro y no conductor de electricidad. Se puede descargar de forma segura en áreas ocupadas sin afectar al personal. Asimismo, no deja residuos y no se ha detectado que cause daños a los medios de almacenamiento de los equipos.

  • Instalar únicamente ventanas infrangibles, en paredes y puertas que cumplan con las disposiciones incluidas en los códigos.

  • Instalar extintores de dióxido de carbono para incendios eléctricos y extintores de agua presurizada para incendios de materiales combustibles comunes.

  • Suministrar contenedores de basura ignífugos y capacitar al personal para desechar los residuos combustibles únicamente en los contenedores aprobados.

  • Cumplir con las buenas prácticas de mantenimiento para evitar los riesgos de incendio.

Sistemas de distribución de alimentación del sitio

Se necesita un sistema de distribución de alimentación instalado correctamente para garantizar el funcionamiento seguro de los equipos del sistema VSM 6. La alimentación se debe suministrar desde los alimentadores independientes de los que se utilizan para la iluminación, el aire acondicionado y otros sistemas eléctricos.

Una configuración de alimentación de entrada típica, como la que se muestra en Figura 5-1, consta de cinco cables de alto voltaje o de cuatro cables de bajo voltaje, con servicio trifásico desde una entrada de servicio o una fuente derivada separada, y con protección de sobrecorriente y conexión a tierra adecuada. Un sistema de distribución trifásico de cinco cables ofrece una flexibilidad de configuración superior, ya que permite que la alimentación se suministre a los equipos trifásicos y monofásicos.

En Figura 5-1:

1 - Conexión a tierra de entrada de servicio o conexión a tierra adecuada del edificio

2 - Válido solamente en la entrada de servicio o en un sistema derivado separado (transformador)

3 - Barra de terminal a tierra (fijada al contenedor) del mismo tamaño que la neutra

4 - Desconexión remota del servicio de alimentación

5 - Bus neutro

6 - Disyuntores del tamaño adecuado

7 - Circuitos ramales

8 - Una fase de 120 V

9 - Una fase de 208/240 V

10 - Tres fases de 208/240 V (4 cables)

11 - Tres fases de 208/240 V (5 cables)

Figura 5-1 Sistema de distribución de alimentación eléctrica del sitio

El texto alrededor describe Figura 5-1 .

Conexión a tierra de los equipos

Por motivos de seguridad y de protección antiestática, los equipos del sistema VSM 6 deben contar con una conexión a tierra apropiada. Los cables de alimentación del armario de VSM 6 incluyen un cable de conexión a tierra aislado de color verde/amarillo que conecta el marco de VSM 6 al terminal a tierra en la misma toma de corriente de la fuente de CA. Se necesita un cable aislado de color verde o verde/amarillo similar de conexión a tierra, de al menos el mismo diámetro que el cable de fase, entre el panel del circuito ramal y el receptáculo de alimentación que se fija a cada armario.

Entrada de fuente de alimentación

Los rangos de tensión y frecuencia de los receptáculos de alimentación de la fuente de CA que suministran energía a los equipos del sistema VSM 6 se deben medir y verificar para comprobar que cumplan con las siguientes especificaciones:

  • Fuente de alimentación: CA, monofásica, 3 cables

  • Rango de tensión: 170-240

  • Rango de frecuencia (Hz): 47-63

Si instala el armario de VSM 6 en América del Norte y del Sur, Japón y Taiwán, asegúrese de que las fuentes de alimentación designadas sean receptáculos NEMA L6‐30R y de que los cables de alimentación del armario tengan en sus extremos los enchufes NEMA L6-30P necesarios. La fábrica entrega cables de alimentación con enchufes NEMA L6-30P a América del Norte y del Sur, Japón y Taiwán. Los envíos a Europa, Oriente Medio y África (EMEA) y a la región del Pacífico asiático (APAC) incluyen enchufes IEC309 32A de 3 clavijas y 250 V CA con grado de protección IP44. Figura 5-2 se muestra un enchufe NEMA L6-30P y un receptáculo L6‐30R.

Figura 5-2 Enchufe NEMA L6-30P y receptáculo L6‐30R

El texto alrededor describe Figura 5-2 .

Si instala el armario de VSM 6 fuera de América del Norte o del Sur, Japón o Taiwán, asegúrese de que los receptáculos designados de la fuente de alimentación cumplan con todos los requisitos de los códigos de electricidad locales y nacionales aplicables. Luego, fije los conectores necesarios a los extremos de tres cables de los cables de alimentación del armario.

Fuentes de alimentación dobles e independientes

Los armarios de VSM 6 tienen una arquitectura redundante de distribución de la alimentación diseñada para evitar la interrupción de los sistemas operativos debido a fallos de alimentación de una única fuente. Se necesitan cuatro enchufes de alimentación de 30 A. Para garantizar el funcionamiento continuo, todos los cables de alimentación deben estar conectados a fuentes de alimentación independientes cuya falla simultánea sea improbable (por ejemplo, uno a la alimentación del proveedor local del servicio y los demás a un sistema de fuente de alimentación ininterrumpida [UPS]). Si se conectan varios cables de alimentación a la misma fuente, no se activará esta capacidad de alimentación redundante.

Perturbación eléctrica temporal y alteraciones de la línea de alimentación

Se requiere una fuente de alimentación de CA fiable y libre de interferencias o alteraciones para obtener un rendimiento óptimo de los equipos del sistema VSM 6. La mayoría de las empresas de servicios suministra una alimentación que permite el funcionamiento correcto de los equipos del sistema. No obstante, se pueden causar errores o fallos en los equipos cuando se superponen señales de perturbaciones eléctricas temporales externas (irradiadas o conducidas) con la alimentación suministrada a los equipos.

Asimismo, si bien los equipos del sistema VSM 6 están diseñados para tolerar los tipos más comunes de alteraciones de la línea de alimentación con un efecto leve o nulo sobre el funcionamiento, las alteraciones extremas de la alimentación, como el impacto de rayos, pueden causar fallos o errores en la alimentación de los equipos si no se toman medidas para mitigar dichas alteraciones.

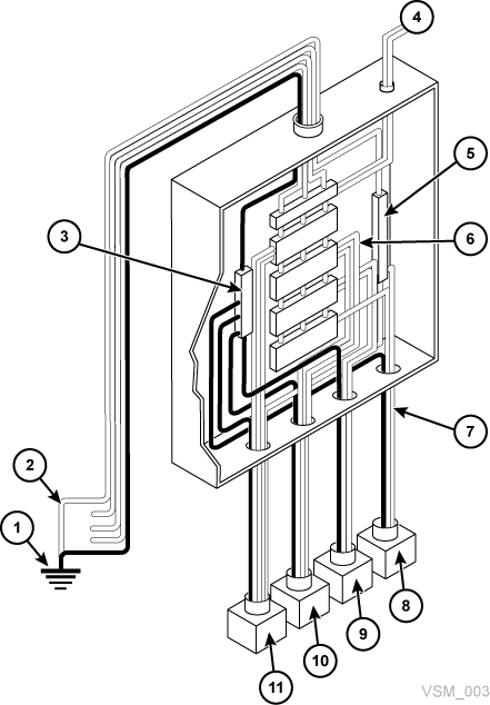
Para mitigar los efectos de las señales de perturbaciones eléctricas externas y las alteraciones de la alimentación, los paneles de la fuente de alimentación del centro de datos deben estar equipados con una placa de conexión a tierra temporal similar a la que se muestra en Figura 5-3.

En Figura 5-3:

1 - Cable tensado/trenzado plano

2 - Panel de alimentación

3 - Placa

4 - Piso de concreto

Figura 5-3 Placa de conexión eléctrica a tierra temporal

El texto alrededor describe Figura 5-3 .

Descarga electrostática

Las descargas electrostáticas (ESD) se generan debido al movimiento de personas, muebles y equipos. Una ESD puede dañar los componentes de una tarjeta de circuito, alterar la información almacenada en medios magnéticos y causar otros problemas en los equipos. Se recomienda realizar los siguientes pasos para minimizar la posibilidad de ESD en el centro de datos:

  • Proporcionar un camino conductor de los pisos elevados al suelo.

  • Usar paneles de pisos sin núcleos no conductores.

  • Mantener los niveles de humedad dentro de los parámetros de control recomendados.

  • Usar muñequeras y alfombrillas de trabajo antiestáticas con conexión a tierra para trabajar en los equipos.

Requisitos de climatización

Los sistemas de refrigeración y circulación de aire deben tener suficiente capacidad para eliminar el calor generado por los equipos y el personal del centro de datos. Las áreas elevadas del piso deben tener una presión de aire positiva por debajo del piso para facilitar la circulación del aire. Si las condiciones cambian dentro de un centro de datos (por ejemplo, cuando se agregan nuevos equipos o se cambia la ubicación de los equipos existentes), se debe comprobar la circulación de aire para verificar que sea suficiente.

Riesgos y requisitos ambientales

Los componentes del sistema VSM 6 son sensibles a la corrosión, la vibración y la interferencia eléctrica en entornos cerrados, como los centros de datos. Debido a esta sensibilidad, los equipos no se deben ubicar cerca de áreas donde se fabrican, se utilizan o se almacenan materiales peligrosos o corrosivos, ni en áreas con niveles de vibración o interferencia eléctrica por encima del promedio.

Para obtener el mejor rendimiento posible, los equipos deben funcionar en condiciones ambientales nominales. Si los equipos del sistema VSM 6 se deben ubicar en entornos que se encuentran en condiciones adversas o cerca de ellas, se debe considerar la posibilidad de realizar controles ambientales adicionales a fin de mitigar estos factores antes de instalar los equipos.

Requisitos de construcción del piso

Los equipos del sistema VSM 6 están diseñados para ser utilizados en pisos elevados o sólidos. No se recomienda instalarlos en superficies alfombradas, ya que estas retienen polvo y generan la acumulación de cargas electrostáticas potencialmente dañinas. Es preferible un piso elevado a uno sólido, ya que permite ubicar los cables de datos y alimentación lejos del tráfico del piso y otros riesgos potenciales que se presentan en el nivel del piso.

Requisitos de carga del piso

Se recomienda colocar revestimientos para pisos con una capacidad de carga total (superpuesta) de 490 kg/m2 (100 lb/ft2). Si los pisos no cumplen con esta capacidad de carga, el gestor de instalaciones o el ingeniero del sitio deben consultar al fabricante del piso o a un ingeniero estructural a fin de calcular las cargas reales y determinar si el peso de una configuración específica del sistema VSM 6 se puede soportar de forma segura.


ADVERTENCIA:

Si se superan las cargas recomendadas para un piso elevado, este se puede derrumbar, lo que puede ocasionar lesiones graves o, incluso, la muerte, además de daños a los equipos y a la infraestructura. Se recomienda solicitarle a un ingeniero estructural que realice un análisis de carga del piso antes de instalar los equipos del sistema VSM 6.



Precaución:

Cuando se traslada, un armario de VSM 6 genera aproximadamente el doble de carga sobre el piso que cuando está estático. Para reducir la presión y la carga del piso, además de la posibilidad de ocasionar daños o lesiones al trasladar un VSM 6, considere la posibilidad de usar madera contrachapa de 19 mm/0,75 in en el piso a lo largo del trayecto donde se trasladará el armario.

Referencias y especificaciones de carga del piso

  • La carga básica del piso es de 730 kg/m2 (149 lb/ft2).

    Es la carga sobre la superficie (7093,7 cm2/1099,5 in2) que ocupa un armario de VSM 6 sin desembalar, con un peso máximo de 620 kg/1365 lb (si está completo con 192 unidades de disco de matriz).

  • La carga superpuesta máxima del piso es de 485 kg/m2 (99 lb/ft2).

    Esto supone una dimensión mínima del eje Z + Z de 185,3 cm/73,0 in (una profundidad del armario de 77,1 cm/30,4 in, un espacio libre para servicio de equipos en la parte frontal de 54,1 cm/21,3 in y un espacio libre para servicio de equipos en la parte posterior de 54,1 cm/21,3 in), una dimensión mínima del eje X + X de 104,9 cm/41,2 in (una profundidad del armario de 92,1 cm/36,3 in, un espacio libre a la izquierda de 6,4 cm/2,5 in y un espacio libre a la derecha de 6,4 cm/2,5 in).

Capacidades de carga relacionadas con la estabilidad lateral de pisos elevados

En las áreas de intensa actividad sísmica, se debe tener en cuenta la estabilidad lateral de los pisos elevados. En los lugares donde se instalan equipos del sistema VSM 6, los pisos elevados deben poder tolerar los siguientes niveles de fuerza horizontal aplicada sobre la parte superior de una base:

  • Zona de riesgo sísmico 1: 13,5 kg (29,7 lb) de fuerza horizontal

  • Zona de riesgo sísmico 2A: 20,2 kg (44,6 lb) de fuerza horizontal

  • Zona de riesgo sísmico 2B: 26,9 kg (59,4 lb) de fuerza horizontal

  • Zona de riesgo sísmico 3: 40,4 kg (89,1 lb) de fuerza horizontal

  • Zona de riesgo sísmico 4: 53,9 kg (118,8 lb) de fuerza horizontal


    Nota:

    Las fuerzas horizontales se basan en los artículos 2336 y 2337 del Código Uniforme de Construcción (UBC, Uniforme Building Code) de 1991, y suponen mínimos espacios libres de funcionamiento para varios armarios de VSM 6. Las instalaciones en áreas no cubiertas por el UBC se deben diseñar de modo que cumplan con las disposiciones del código antisísmico de la jurisdicción local.

Capacidades de carga de los paneles de pisos elevados

Los paneles de los pisos elevados ubicados a lo largo del trayecto de traslado deben poder tolerar una carga concentrada de 620 kg (1365 lb) y una carga en movimiento de 181 kg (400 lb) en cualquier lugar del panel, con una desviación máxima de 2 mm (0,08 in). No se necesitan paneles del piso perforados para los equipos del sistema VSM 6, pero si se utilizan, deben cumplir con las mismas capacidades de carga.

Capacidades de carga de las bases de pisos elevados

Las bases de los pisos elevados deben poder tolerar una carga axial de 2268 kg (5000 lb). En los lugares en que los paneles de los pisos están cortados para permitir acceso de servicio, pueden ser necesarias bases adicionales para mantener la capacidad de carga del panel del piso.

Especificaciones ambientales de VSM 6


Nota:

Las estadísticas de datos de alimentación y refrigeración son aproximadas debido a las variaciones en las velocidades de transferencia de datos y la cantidad de operaciones en curso.

Configuración básica de VSM 6

VSM 6 consta de una unidad base y actualizaciones de capacidad opcionales. La unidad base es VSM 6 con una configuración mínima que incluye:

  • Un armario Sun Rack II estándar, modelo 1242.

  • Según el país, dos unidades de distribución de energía (PDU) VLE50HZ-POWER-Z o VLE60HZ-POWER-Z.

  • Dos servidores Sun SPARC T4-2 con una configuración específica y preconfigurados de fábrica para VSM 6.

  • Dos estantes de discos en una configuración específica según la fecha de fabricación:

    • Para las unidades VSM 6 construidas a partir de noviembre de 2013, la unidad base tiene dos estantes de discos Oracle DE2-24C, cada uno con tres discos duros flash de 73 GB y 21 unidades HDD SAS de 4 TB, lo cual representa aproximadamente 400 TB de capacidad de usuario (configurada con compresión de 4:1).

    • Para las unidades VSM 6 construidas antes de noviembre de 2013, la unidad base tiene dos estantes de discos Sun J4410, cada uno con tres discos duros flash de 73 GB y 21 unidades HDD SAS de 3 TB, lo cual representa aproximadamente 300 TB de capacidad de usuario (configurada con compresión de 4:1).

Capacidad de VSM 6

La capacidad de usuario total aproximada (configurada con compresión de 4:1) es la siguiente:

Estantes de discos Oracle DE2-24C:

  • VSM 6 con dos estantes de discos Oracle DE2-24C: 400 TB

  • VSM 6 con cuatro estantes de discos Oracle DE2-24C: 800 TB

  • VSM 6 con seis estantes de discos Oracle DE2-24C: 1200 TB

  • VSM 6 con ocho estantes de discos Oracle DE2-24C: 1600 TB

Estantes de discos Sun J4410:

  • VSM 6 con dos estantes de discos Sun J4410: 300 TB

  • VSM 6 con cuatro estantes de discos Sun J4410: 600 TB

  • VSM 6 con seis estantes de discos Sun J4410: 900 TB

  • VSM 6 con ocho estantes de discos Sun J4410: 1200 TB

Dimensiones totales de VSM 6

Armario SunRack II 1242 (pulgadas):

  • Altura: 78,7

  • Ancho: 23,6

  • Profundidad: 47,2

Espacio libre para servicio de VSM 6

Armario SunRack II 1242 (pulgadas):

  • Superior: 36 in Es la especificación genérica de Sun Rack II. VSM 6 no requiere acceso por la parte superior excepto por los cables de alimentación.

  • Parte frontal: 42

  • Parte posterior: 36

Peso de VSM 6

En libras: (Base 712 lb, Máx. 1372 lb)

  • Servidores: [80 lb] veces [dos servidores] igual [160 lb]

  • Armario: 332 lb

  • Estantes de discos: [110 lb] veces [dos estantes de discos] igual [220 lb]

  • [Máx. ocho estantes de discos] igual [880 lb]

  • Peso máx. total: 1372 lb

  • Material de embalaje: 280 lb

  • [Peso máx. total] más [material de embalaje] igual [1652 lb]

En kilogramos: (Base: 323,64 kg, máx. 623,64 kg)

  • Servidores: [36,36 kg] veces [dos servidores] igual [72,73 kg]

  • Armario: 150,91 kg

  • Estantes de discos: [50 kg] veces [dos estantes de discos] igual [100 kg]

  • [Máx. ocho estantes de discos] igual [400 kg]

  • Peso máx. total: 623,64 kg

  • Material de embalaje: 127,27 kg

  • [Peso máx. total] más [material de embalaje] igual [750,91 kg]

Energía de VSM 6

Potencia base de 2834 W, potencia máx. de 5852 W

  • Servidores: [914 (pico) 590 (inactivo)] veces [dos servidores] igual [1828 (pico) 1180 (inactivo)]

  • Cada estante de disco: 503 (pico) 201 (inactivo)

  • Ocho estantes de discos: 4024 (pico) 1608 (inactivo)

  • Potencia total mínima (con dos estantes de discos): 2834 (pico) 1582 (inactivo)

  • Potencia total máximo (con ocho estantes de discos): 5852 (pico) 2788 (inactivo)

Climatización de VSM 6

Potencia base de 2834 W, potencia máx. de 5852 W

  • Servidores: [914 (pico) 590 (inactivo)] veces [dos servidores] igual [1828 (pico) 1180 (inactivo)]

  • Cada estante de disco: 503 (pico) 201 (inactivo)

  • Ocho estantes de discos: 4024 (pico) 1608 (inactivo)

  • Potencia total mínima (con dos estantes de discos): 2834 (pico) 1582 (inactivo)

  • Potencia total máximo (con ocho estantes de discos): 5852 (pico) 2788 (inactivo)

x3.414 BTU/Watt: BTU base 9670, BTU máx. 19.968

  • Servidores: [3119 (pico) 2013 (inactivo)] veces [dos servidores] igual [6238 (pico) 4026 (inactivo)]

  • Cada estante de disco: 1716 (pico) 686 (inactivo)

  • Ocho estantes de discos: 13.730 (pico) 5487 (inactivo)

  • Potencia total mínima (con dos estantes de discos): 9670 (pico) 5398 (inactivo)

  • Potencia total máximo (con ocho estantes de discos): 19.968 (pico) 9513 (inactivo)