Skip Headers
StorageTek Virtual Storage Manager System VSM 6 계획 설명서
릴리스 6.0.7
E54222-01
  목차로 이동
목차
색인으로 이동
색인

이전
이전
 
다음
다음
 

5 VSM 6 물리적 현장 준비 계획

이 장에는 현장이 VSM 6 시스템 장비에 대한 전원, 안전, 환경, HVAC 및 데이터 처리 요구 사항을 수용할 수 있도록 준비되어 있는지 확인할 수 있도록 설계된 작업에 대한 정보가 나와 있습니다. 주요 현장 준비 계획 고려 사항에는 다음이 포함되지만 이에 국한되지는 않습니다.

VSM 6 시스템 장비를 수령하고 작동할 수 있도록 현장이 물리적으로 준비되었으며, 이 설명서에 자세히 설명된 장비 작동을 위한 최소 사양을 충족하는지 확인할 책임은 최종적으로 고객에게 있습니다.

현장 준비 계획 프로세스

현장 준비 계획 작업, 태스크 및 참가자에는 다음이 포함됩니다.

주요 개요 작업

  1. 현장 준비 팀 구성원을 선택하고 역할 및 책임을 정의합니다.

  2. 다음에 대한 현장 설문 조사를 완료합니다.

    • 기존 또는 잠재적인 외부 및 내부 환경적 위험을 문서화합니다.

    • VSM 6 시스템 요구 사항에 대한 현장 전원, 안전성, 환경, HVAC 및 데이터 처리 능력을 평가합니다.

    • 전환 경로 및 VSM 6 VTSS 캐비닛의 설치 위치에서 바닥 하중 등급을 확인합니다.

    • 천장, 복도 및 문의 여유 공간, 엘리베이터 용량 및 경사로 각도를 VSM 6 VTSS 캐비닛 요구 사항에 대해 평가합니다.

  3. 계획 회의에 참가합니다.

주요 하위 태스크

  1. 현장 전원, 안전, 환경, HVAC 및 데이터 처리 능력이 VSM 6 VTSS 요구 사항과 일치하는지 확인합니다.

  2. 환경적 위험을 제거/완화할 수 있는 계획을 정의합니다.

  3. 전환 경로 및 VSM 6 VTSS 설치 위치에서 바닥 하중 등급을 평가합니다.

  4. 현장 문, 복도 및 천장 여유 공간, 엘리베이터 용량 및 경사로 각도가 VSM 6 VTSS 요구 사항과 일치하는지 확인합니다.

  5. 필요한 기반구조 수정/업그레이드를 확인하고 작업 완료 일정을 설정합니다.

  6. 준비 진행률을 평가하고 현장 준비 상태를 인증합니다.

주요 참가자

  • 고객: 사이트 엔지니어, 시설 관리자, 데이터 센터 관리자, 네트워크 관리자

  • Oracle: 기술 지원 전문가, 시스템 엔지니어

현장 평가 - 외부 고려 사항

준비 계획 팀은 VSM 6 시스템 장비가 배송되기 몇 달 전에 기존 위험 또는 발생 가능한 위험을 나타내거나 시스템의 배송, 설치 또는 작동에 부정적인 영향을 미칠 수 있는 외부 현장 요인을 모두 식별하고 평가해야 합니다. 평가해야 하는 외부 요인은 다음과 같습니다.

  • 국내 공공 사업체, 백업 발전기 및 UPS(무정전 전원 공급 장치)에서 공급하는 전력의 안정성 및 품질

  • 고 주파수 전자파 공급원(예: 고전압 전력선, 텔레비전, 라디오, 레이더 송신기)의 근접성

  • 자연 또는 인공 범람원의 근접성 및 데이터 센터의 범람으로 야기될 잠재적 결과

  • 근처 오염원(예: 공장 시설)의 오염 물질이 미칠 잠재적인 영향

기존의 또는 잠재된 부정적 요인이 발견될 경우 현장 준비 계획 팀은 VSM 6 시스템 장비가 배달되기 전에 이러한 요인을 제거하거나 완화할 수 있는 적절한 조치를 취해야 합니다. Oracle Global Services는 이러한 문제를 식별하고 해결할 수 있도록 컨설팅 서비스와 기타 지원을 제공합니다. 자세한 내용은 Oracle 계정 담당자에게 문의하십시오.

현장 평가 – 내부 고려 사항

준비 계획 팀은 VSM 6 시스템 장비가 배송되기 전에 몇 달 전에 기존 위험 또는 발생 가능한 위험을 나타내거나 시스템의 배달, 설치 또는 작동에 부정적인 영향을 미칠 수 있는 내부 현장 요인을 모두 식별하고 평가해야 합니다. 평가해야 하는 내부 요인은 다음과 같습니다.

  • 배달 하차장, 준비 장소 및 데이터 센터 설치 현장 간에 장비를 옮기는 경우 구조 치수, 엘리베이터 용량, 바닥 하중 등급, 경사로 기울기 및 기타 고려 사항

  • 현장 전원 시스템 설계 및 용량

  • VSM 6 시스템 장비 전원 시스템 설계 및 용량

  • 데이터 센터 안전 시스템 설계 기능 및 용량

  • 데이터 센터 환경적(HVAC) 설계 기능 및 용량

  • 시스템 장비 근처 소스로부터 발생하는 부식성 재료, 전기 간섭, 과도한 진동으로 인한 잠재적인 영향

기존의 또는 잠재된 부정적 요인이 발견될 경우 현장 준비 계획 팀은 VSM 6 시스템 장비가 배달되기 전에 이러한 요인을 제거하거나 완화할 수 있는 적절한 조치를 취해야 합니다. Oracle Global Services는 이러한 문제를 식별하고 해결할 수 있도록 컨설팅 서비스와 기타 지원을 제공합니다. 자세한 내용은 Oracle 계정 담당자에게 문의하십시오.

장비 지점 간 전송

치수 제한, 장애물 또는 안전 위험 요소 없이 또는 장비, 바닥, 기타 기반구조를 들어올리고 적재할 수 있는 정격 용량을 초과하지 않고 모든 VSM 6 시스템 장비를 배달 하차장, 준비 장소 및 데이터 센터 간에 안전하게 운송할 수 있도록 현장 조건을 확인해야 합니다. 확인해야 하는 조건은 아래에 설명되어 있습니다.

구조 치수 및 장애물

배달 하차장에서 데이터 센터 설치 위치까지 VSM 6 캐비닛(해당하는 경우 운반 용기에 있음)을 장애 없이 운송할 수 있도록 엘리베이터, 문, 통로 등의 치수가 충분해야 합니다. VSM 6 캐비닛 치수 세부 정보는 VSM 6 전체 치수를 참조하십시오.

엘리베이터 리프팅 용량

VSM 6 캐비닛을 운송할 때 이용할 엘리베이터는 최소 1050kg(2312lbs)의 인증된 적재 등급을 받아야 합니다. 이 등급은 포장된 VSM 6 캐비닛(완전히 장착되어 가장 무거운 상태, 약 751kg(1652lbs), 팰릿 잭(100kg/220lbs 허용) 및 두 사람(200kg/440lbs 허용)을 들어올리는 데 적합한 용량을 제공합니다. 추가 캐비닛 무게 세부 정보는 VSM 6 무게를 참조하십시오.

바닥 하중 등급

VSM 6 캐비닛 이동 경로를 따라 있는 단단한 바닥, 올린 바닥 및 경사로는 장착된 캐비닛, 캐비닛을 들어올리는 데 사용되는 팰릿 잭 및 캐비닛을 옮기는 사람이 지나갈 때 발생하는 집중 하중과 이동 하중을 견딜 수 있어야 합니다.

캐비닛 이동 경로를 따라 있는 올린 바닥은 패널의 어디에서든지 최대 2mm(0.08인치) 처짐으로 751kg(1652lbs)의 집중 하중과 181kg(400lbs)의 이동 하중을 지탱할 수 있어야 합니다. 올린 바닥 받침대는 2268kg(5000lbs)의 축 하중을 지탱할 수 있어야 합니다. 추가 바닥 하중 세부 정보는 바닥 하중 요구 사항을 참조하십시오.

VSM 6 캐비닛을 다른 장소로 옮길 때 움직이지 않는 상태보다 약 2배의 바닥 하중이 발생합니다. 이동 경로에 19mm(0.75인치) 합판을 사용하면 캐비닛으로 인한 이동 하중을 줄일 수 있습니다.

경사로 기울기

이동 중 VSM 6 캐비닛이 경사로에서 뒤집어지지 않도록 하려면 현장 엔지니어 또는 설비 관리자가 이동 경로에 있는 모든 경사로의 기울기를 확인해야 합니다. 기울기는 10도(176mm/m, 2.12인치/피트)를 초과할 수 없습니다.

데이터 센터 안전

안전은 VSM 6 시스템 장비 설치를 계획할 때 중요한 고려 사항이어야 하므로, 장비 배치 위치, 운영 환경을 지원하는 전기, HVAC 및 화재 방지 시스템의 등급과 기능, 직원 교육 레벨을 선택할 때 반영됩니다. 지역 당국과 보험 사업자의 요구 사항에 따라 제공된 환경에 적합한 안전 레벨을 구성할 항목이 결정됩니다.

점유 레벨, 자산 가치, 업무 중단 가능성, 및 화재 보호 시스템 작동 및 유지 보수 비용도 평가해야 합니다. 이러한 문제를 해결하는 데 National Electrical Code(NFPA 70)Standard for the Protection of Electronic Computer / Data Processing Equipment(NFPA 75) 및 지역/국가 규정을 참조할 수 있습니다.

비상 전원 제어

데이터 센터에는 VSM 6 시스템 장비의 전원을 즉시 차단할 수 있도록 쉽게 액세스할 수 있는 비상 전원 차단 스위치가 있어야 합니다. 주요 비상구 근처에 한 개의 스위치를 설치해야 비상 시 전원 차단 시스템을 신속하게 활성화할 수 있습니다. 전원 분리 시스템에 대한 요구 사항을 확인하려면 지방 및 국가 규정을 참조하십시오.

화재 방지

데이터 센터 건축, 유지 보수 및 이용 시 다음과 같은 화재 방지 지침을 고려해야 합니다.

  • 가스 및 기타 폭발물은 데이터 센터 환경과 떨어진 곳에 보관합니다.

  • 데이터 센터 벽면, 바닥 및 천장을 방수 처리 및 내화 처리해야 합니다.

  • 지방 및 국가 규정에 따라 연기 경보 및 화재 진압 시스템을 설치하고 시스템에서 예약된 유지 보수를 모두 수행합니다.


    주:

    Halon 1301은 데이터 센터 화재 진압 시스템에 가장 일반적으로 사용되는 소화 약제입니다. 이 약제는 액체로 보관되며 전기적으로 비전도되는 무색 무취의 증기로 배출됩니다. 또한 인체에 무해하므로 거주 지역에 배출해도 안전합니다. 또한 잔류물이 남지 않고 컴퓨터 스토리지 매체에 해를 끼치지 않습니다.

  • 규정을 준수하는 벽면과 문에 비산 방지 창만 설치합니다.

  • 전기 화재 방지를 위해 이산화탄소 소화기를 설치하고 일반 가연성 자재의 경우 가압 물 소화기를 설치합니다.

  • 화염 억제 휴지통을 제공하고, 가연성 폐기물은 승인된 휴지통에만 폐기하도록 직원 교육을 실시합니다.

  • 발생 가능한 화재 위험을 효율적으로 방지하는 관리 사례를 관찰합니다.

현장 전원 분배 시스템

VSM 6 시스템 장비의 안전한 작동을 보장하기 위해서는 적절하게 설치된 전원 분배 시스템이 필요합니다. 조명, 공기 조절 및 기타 전기 시스템에 사용되는 전원과 분리된 공급기에서 전원을 제공해야 합니다.

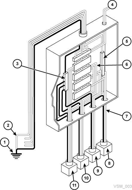
일반적인 입력 전원 구성(도표5-1에 표시됨)은 5선 고압 또는 4선 저압 유형으로, 서비스 입구 또는 별도로 파생된 전원에서 제공하는 3상 서비스 및 과전류 보호와 적합한 접지가 포함됩니다. 3상 5선 전원 분배 시스템은 전원을 3상 및 단상 장비에 모두 제공하므로 가장 뛰어난 구성 유연성을 제공합니다.

도표5-1:

1 - 서비스 입구 접지 또는 적합한 건물 접지

2 - 서비스 입구 또는 별도로 파생된 시스템(변압기)에서만 유효합니다.

3 - 접지 터미널 막대(외장 장치에 둘러싸여 있음), 중성 버스와 같은 크기

4 - 원격으로 작동되는 전원 서비스 차단

5 - 중성 버스

6 - 적합한 크기의 회로 차단기

7 - 분기 회로

8 - 120V 단상

9 - 208/240V 단상

10 - 208/240V 3상(4선)

11 - 208/240V 3상(5선)

도표 5-1 현장 전원 분배 시스템

주위의 텍스트는 도표 5-1 을(를) 설명합니다.

장비 접지

안전 및 ESD 보호를 위해 VSM 6 시스템 장비를 적절히 접지해야 합니다. VSM 6 캐비닛 전원 케이블에는 VSM 6 프레임을 AC 전원 콘센트의 접지 터미널에 연결하는 절연 처리된 녹색/노란색 접지 와이어가 포함되어 있습니다. 유사한 절연 처리된 녹색 또는 녹색/노란색의 접지선(적어도 상 전선과 직경이 동일함)이 각 캐비닛에 연결되는 전원 콘센트와 분기 회로 패널 간에 필요합니다.

전원 입력

다음 사양을 충족하도록 VSM 6 시스템 장비에 전원을 공급할 AC 전원 콘센트의 전압 및 주파수 범위를 측정하고 확인해야 합니다.

  • 전원: AC, 단상, 3선

  • 전압 범위: 170-240

  • 주파수 범위(Hz): 47-63

VSM 6 캐비닛을 북미, 남미, 일본, 대만에 설치하려는 경우 지정된 전원이 NEMA L6-30R 콘센트이며, 캐비닛 전원 코드의 끝에 필요한 NEMA L6-30P 플러그가 달려 있는지 확인하십시오. 북미, 남미, 일본 및 대만으로 출하되는 경우 전원 코드에 NEMA L6-30P 플러그가 포함되어 있습니다. EMEA 및 APAC으로 출하되는 경우에는 IEC309 32A 3 PIN 250VAC IP44 플러그가 함께 제공됩니다. 도표5-2에는 NEMA L6-30P 플러그와 L6‐30R 콘센트가 나와 있습니다.

도표 5-2 NEMA L6-30P 플러그 및 L6‐30R 콘센트

주위의 텍스트는 도표 5-2 을(를) 설명합니다.

VSM 6 캐비닛을 북미, 남미, 일본, 대만 이외의 국가에 설치하려는 경우 지정된 전원 콘센트가 적용 가능한 모든 지방 및 국가 전기 코드 요구 사항을 충족하는지 확인하십시오. 그런 다음 필요한 커넥터를 캐비닛 전원 코드의 3선 끝단에 연결하십시오.

이중 독립 전원 공급 장치

VSM 6 캐비닛은 단일 소스 전원 오류로 인해 시스템 작동이 중단되지 않도록 설계된 중복 전원 분배 아키텍처를 제공합니다. 4개의 30Amp 전원 플러그가 필요합니다. 연속적인 작동을 보장하기 위해서는 동시에 오류가 발생할 가능성이 없는 독립된 별도의 전원에 모든 전원 케이블을 연결해야 합니다. 예를 들어 하나는 로컬 유틸리티 전원에 연결하고, 다른 하나는 UPS(무정전 전원 공급 장치) 시스템에 연결합니다. 여러 개의 전원 케이블을 같은 전원에 연결하면 이러한 중복 전원 기능을 사용할 수 없습니다.

일시적인 전기 잡음 및 전력선 방해

VSM 6 시스템 장비의 최적 성능을 위해서는 간섭 또는 방해가 없는 신뢰할 수 있는 AC 전원이 필요합니다. 시스템 장비를 적절하게 작동할 수 있는 전력은 대부분의 공공 사업체에서 제공합니다. 그러나 장비에 공급되는 전원에서 일시적인 외부(방사 또는 전도) 전기 잡음 신호가 발생할 경우 장비 오류 또는 장애를 일으킬 수 있습니다.

또한 VSM 6 시스템 장비는 작동에 영향을 거의 미치지 않거나 전혀 미치지 않고 가장 일반적인 유형의 전력선 방해를 견딜 수 있도록 설계되었지만, 낙뢰와 같은 매우 강력한 전원 교란(Power Disturbance)의 경우 이를 완화할 수 있는 적절한 조치를 취하지 않으면 장비 전원 오류가 발생할 수 있습니다.

외부에서 발생하는 전기 잡음 신호와 전원 교란으로 인한 영향을 완화시키기 위해서는 데이터 센서 소스 전원 패널에 도표5-3에 표시된 것과 비슷한 임시 접지 플레이트가 장착되어 있어야 합니다.

도표5-3:

1 - 평면 꼬임/스트레인 전선

2 - 전원 패널

3 - 플레이트

4 - 콘크리트 바닥

도표 5-3 임시 접지 플레이트

주위의 텍스트는 도표 5-3 을(를) 설명합니다.

정전기 방전

사람이 움직이거나 가구와 장비를 옮길 때 정전기 방전(ESD, 정전기)가 발생합니다. ESD로 인해 회로 카드 구성 요소가 손상되고, 마그네틱 매체에 대한 정보가 변경되며, 다른 장비 문제가 발생할 수 있습니다. 데이터 센터에서 ESD 발생을 최소화하려면 다음 단계가 권장됩니다.

  • 올린 바닥에서 발생하는 전도 경로를 지면에 제공합니다.

  • 비전도 코어가 있는 바닥 패널을 사용합니다.

  • 권장되는 제어 매개변수 내에서 습도 레벨을 유지합니다.

  • 장비에서 작업할 때 접지된 정전기 방지 매트와 손목대를 사용합니다.

HVAC 요구 사항

냉방 및 온도 조절 시스템은 장비와 데이터 센터 인력으로 인해 발생하는 열을 제거할 수 있는 충분한 용량을 제공해야 합니다. 올린 바닥 영역에는 공기가 잘 순환될 수 있도록 바닥쪽에 공기압이 있어야 합니다. 새 장비를 추가하거나 기존 장비를 다시 배열하는 경우와 같이 데이터 센터 내의 조건이 달라진 경우 공기가 충분히 순환될 수 있도록 공기 순환 상태를 점검해야 합니다.

환경 요구 사항 및 위험물

VSM 6 시스템 구성 요소는 데이터 센터와 같이 차단된 환경에서 부식, 진동 및 전기 간섭에 민감합니다. 이러한 민감함 때문에 위험한 자재 및/또는 부식성 자재를 제조, 사용 또는 보관하는 구역이나 전기 방해 또는 진동 레벨이 평균 이상인 구역 근처에 장비를 배치하면 안됩니다.

최상의 성능을 위해 장비는 정상적인 환경 조건에서 작동되어야 합니다. VSM 6 시스템 장비를 비정상적인 환경이나 이러한 환경 근처에 배치해야 하는 경우 장비를 설치하기 전에 이러한 요인을 완화할 수 있는 추가적인 환경 제어를 고려하고 실행 가능한 경우 구현해야 합니다.

바닥 시공 요구 사항

VSM 6 시스템 장비는 올린 바닥 또는 단단한 바닥에서 사용하도록 설계되었습니다. 카펫이 깔린 바닥은 먼지를 일으키고 해로운 정전기 발생 가능성이 높으므로 권장되지 않습니다. 올린 바닥의 경우 전원과 데이터 케이블을 통행이 적고 바닥 장애물과 멀리 떨어진 위치에 안전하게 배치할 수 있으므로 단단한 바닥보다는 올린 바닥에 배치하는 것이 좋습니다.

바닥 하중 요구 사항

전체(적재) 하중 등급이 490kg/m2(100lbs/ft2)인 바닥이 권장됩니다. 바닥이 이 등급을 충족하지 않을 경우 현장 엔지니어 또는 설비 관리자가 바닥 제조업체나 구조 엔지니어에게 실제 하중을 측량하여 특정 VSM 6 시스템 구성의 무게를 안전하게 지지할 수 있는지 확인해 줄 것을 요청해야 합니다.


경고:

올린 바닥의 권장 하중을 초과하면 바닥이 붕괴될 수 있고 이로 인해 심각한 부상이나 사망, 장비 손상, 기반구조 손상이 발생할 수 있습니다. VSM 6 시스템 장비를 설치하기 전에 구조 엔지니어가 바닥 하중 분석을 수행하는 것이 좋습니다.



주의:

VSM 6 캐비닛을 옮길 경우 움직이지 않는 상태보다 거의 2배의 바닥 하중이 발생합니다. 바닥 하중과 압력을 줄이고 VSM 6 이동 시 손상이나 부상 가능성을 줄이려면 캐비닛 이동 경로에 있는 바닥에 19mm/0.75인치 합판을 사용하십시오.

바닥 하중 사양 및 참조

  • 기본 바닥 하중은 730kg/m2(149lbs/ft2)입니다.

    포장을 벗긴 VSM 6 캐비닛(최대 무게가 620kg/1365lbs, 즉 192개 어레이 디스크 드라이브가 가득 적재됨)의 풋프린트 표면적(7093.7cm2/1099.5in2)에 대한 하중입니다.

  • 최대 바닥 적재 하중은 485kg/m2(99lbs/ft2)입니다.

    최소 Z+Z 축 치수는 185.3cm/73.0인치(캐비닛 깊이 77.1 cm/30.4 in. + 전면 서비스 여유 공간 54.1cm/21.3인치 + 후면 서비스 여유 공간 54.1cm/21.3인치)로, 최소 X+X 축 치수는 104.9cm/41.2인치(캐비닛 너비 92.1cm/36.3인치 + 왼쪽 여유 공간 6.4cm/2.5인치 + 오른쪽 여유 공간 6.4cm/2.5인치)로 간주됩니다.

올린 바닥의 가로 안정성 등급

지진 활동이 빈번한 지역에서는 올린 바닥의 가로 안정성을 고려해야 합니다. VSM 6 시스템 장비가 설치된 올린 바닥은 받침대 상단에 적용된 다음 수평 응력 레벨을 지탱할 수 있어야 합니다.

  • 지진 위험 지역 1: 13.5kg/29.7lbs 수평 응력

  • 지진 위험 지역 2A: 20.2kg/44.6lbs 수평 응력

  • 지진 위험 지역 2B: 26.9kg/59.4lbs 수평 응력

  • 지진 위험 지역 3: 40.4kg/89.1lbs 수평 응력

  • 지진 위험 지역 4: 53.9kg/118.8lbs 수평 응력


    주:

    수평 응력은 1991 UBC(Uniform Building Code) 2336 및 2337 섹션을 기준으로 하며, 여러 VSM 6 캐비닛에 대한 최소 운영 여유 공간을 사용합니다. UBC에 포함되지 않은 지역의 설치는 현지 관할 구역의 지진 규정 조항을 충족하도록 엔지니어링해야 합니다.

올린 바닥 패널 등급

올린 바닥은 패널의 어디에서든지 최대 2mm(0.08인치) 처짐으로 620kg(1365lbs)의 집중 하중과 181kg(400lbs)의 이동 하중을 지탱할 수 있어야 합니다. 천공된 바닥 패널은 VSM 6 시스템 장비에 필요하지 않지만, 사용할 경우 동일한 등급을 따라야 합니다.

올린 바닥 받침대 등급

올린 바닥 받침대는 2268kg(5000lbs)의 축 하중을 지탱할 수 있어야 합니다. 서비스 액세스를 제공하기 위해 바닥 패널을 절단한 경우 바닥 패널의 하중 용량을 유지하기 위해 추가 받침대가 필요할 수 있습니다.

VSM 6 환경 사양


주:

데이터 속도 및 작업 수 위반이 발생했기 때문에 전원 및 냉각 데이터에 대한 통계는 대략적입니다.

VSM 6 기본 구성

VSM 6은 기본 장치 및 선택적 용량 업그레이드로 구성됩니다. 기본 장치는 다음을 포함하여 최소로 구성된 VSM 6입니다.

  • 표준 Sun Rack II 캐비닛, 모델 1242

  • 국가에 따라 VLE50HZ-POWER-Z 두 개 또는 VLE60HZ-POWER-Z 두 개의 PDU(전원 분배 장치)

  • VSM 6에 대해 출하 시 사전 구성된 특정 구성의 Sun SPARC T4-2 서버 두 개

  • 제조 날짜에 따른 특정 구성의 Disk Shelf 두 개:

    • 2013년 11월부터 구성된 VSM 6 장치의 경우 기본 장치에 Oracle DE2-24C Disk Shelf가 두 개 있으며 각 Disk Shelf에는 73GB 플래시 HD 3개와 4TB SAS HDD 드라이브 21개가 있어서 약 400TB의 사용자 용량(4:1 압축으로 구성됨)을 제공합니다.

    • 2013년 11월 이전에 구성된 VSM 6의 경우 기본 장치에 Sun J4410 Disk Shelf 두 개가 있으며 각 Disk Shelf에는 73GB 플래시 HD 3개와 3TB SAS HDD 드라이브 21개가 있어서 약 300TB의 사용자 용량(4:1 압축으로 구성됨)을 제공합니다.

VSM 6 용량

대략적인 전체 사용자 용량(4:1 압축으로 구성됨)은 다음과 같습니다.

Oracle DE2-24C Disk Shelf:

  • Oracle DE2-24C Disk Shelf 2개가 있는 VSM 6: 400TB

  • Oracle DE2-24C Disk Shelf 4개가 있는 VSM 6: 800TB

  • Oracle DE2-24C Disk Shelf 6개가 있는 VSM 6: 1200TB

  • Oracle DE2-24C Disk Shelf 8개가 있는 VSM 6: 1600TB

Sun J4410 Disk Shelf:

  • Sun J4410 Disk Shelf 2개가 있는 VSM 6: 300TB

  • Sun J4410 Disk Shelf 4개가 있는 VSM 6: 600TB

  • Sun J4410 Disk Shelf 6개가 있는 VSM 6: 900TB

  • Sun J4410 Disk Shelf 8개가 있는 VSM 6: 1200TB

VSM 6 전체 치수

SunRack II 1242 캐비닛(인치):

  • 높이: 78.7

  • 너비: 23.6

  • 깊이: 47.2

VSM 6 서비스 여유 공간

SunRack II 1242 캐비닛(인치):

  • 상단: 36인치 일반적인 Sun Rack II 사양입니다. VSM 6은 케이블을 연결하는 경우를 제외하고 상단부터 액세스할 필요가 없습니다.

  • 전면: 42

  • 후면: 36

VSM 6 무게

파운드 단위: (기본 712파운드, 최대 1372파운드)

  • 서버 : [80 파운드] x [서버 2개] =[160파운드]

  • 캐비닛: 332파운드

  • Disk Shelf: [110파운드] x [Disk Shelf 2개] = [220파운드]

  • [Disk Shelf 최대 8개] = [880파운드]

  • 전체 최대 무게: 1372파운드

  • 포장재: 280파운드

  • [전체 최대 무게] + [배송재] = [1652파운드]

킬로그램 단위: (기본: 323.64kg, 최대 623.64kg)

  • 서버: [36.36kg] x [서버 2개] = [72.73kg]

  • 캐비닛: 150.91kg

  • Disk Shelf: [50kg] x [Disk Shelf 2개] = [100kg]

  • [Disk Shelf 최대 8개] = [400kg]

  • 전체 최대 무게: 623.64kg

  • 배송재: 127.27kg

  • [전체 최대 무게] + [배송재] = [750.91kg]

VSM 6 전원

기본 와트 2834, 최대 와트 5852

  • 서버: [914(최고) 590(유휴)] x [서버 2개] = [1828(최고) 1180(유휴)]

  • 각 Disk Shelf: 503(최고) 201(유휴)

  • Disk Shelf 8개: 4024(최고) 1608(유휴)

  • 전체 최소 전원(Disk Shelf 2개): 2834(최고) 1582(유휴)

  • 전체 최대 전원(Disk Shelf 8개): 5852(최고) 2788(유휴)

VSM 6 HVAC

기본 와트 2834, 최대 와트 5852

  • 서버: [914(최고) 590(유휴)] x [서버 2개] = [1828(최고) 1180(유휴)]

  • 각 Disk Shelf: 503(최고) 201(유휴)

  • Disk Shelf 8개: 4024(최고) 1608(유휴)

  • 전체 최소 전원(Disk Shelf 2개): 2834(최고) 1582(유휴)

  • 전체 최대 전원(Disk Shelf 8개): 5852(최고) 2788(유휴)

x3.414 BTU/Watt: 기본 BTU 9670, 최대 BTU 19968

  • 서버: [3119(최고) 2013(유휴)] x [서버 2개] = [6238(최고) 4026(유휴)]

  • 각 Disk Shelf: 1716(최고) 686(유휴)

  • Disk Shelf 8개: 13730(최고) 5487(유휴)

  • 전체 최소 전원(Disk Shelf 2개): 9670(최고) 5398(유휴)

  • 전체 최대 전원(Disk Shelf 8개): 19968(최고) 9513(유휴)