4 ラックへのシステムの設置
この章の内容は次のとおりです。
設置を開始する前に
設置を開始する前に、次の項の手順を実行してください。
|
注意 - コンポーネントを取り外してシステムを軽量にする場合、先にESDの注意を確認してください。 |
ESDの注意
|
注意 - 静電破壊を回避するには、コンポーネントを設置または使用する際に次の事項に注意してください。 |
システムのラック取付けに必要なスタッフ、工具および機器
 |
注意 - スタッフが重傷を負うことがないように、または機器に損傷を与えないようにするために、システムの設置には機械式リフトを使用するか、「システムを軽量にするためのコンポーネントの取外し」に記載されている注意に従ってください。 |
設置を開始する前に、システムのラック取付けに必要なスタッフ、工具および機器を用意します。
|
|
教育を受けた4名のスタッフ |
システムの持上げまたは移動には、4名が必要です。 注意 - 機械式リフトを使用できる場合またはシステムからコンポーネントを取り外している場合、2名でシステムの持上げまたは移動を行うと安全です。
|
No.2 10インチ・プラス・ドライバ |
磁気チップをお薦めします。 |
機械式リフト |
|
互換性のある4本柱のラック |
|
ラック取付けキット |
|
移動キット |
|
静電気防止リスト・ストラップおよび静電気防止マット |
システム・コンポーネントを取り外す場合のみ必要です。 |
|
ラック取付けガイドおよび調整テンプレート
4ポスト・ラックにシステムを設置する方法の詳細は、ラック取付けガイドおよび調整テンプレートを参照してください。このテンプレートは、アクセサリ・キットのシステムに含まれています。
ラックの互換性要件
ラック取付けハードウェアは、次の表の要件を満たす特別なラックにのみ使用できます。
|
|
ラック構造 |
4本柱のラック(前方と後方に取付け)。2本柱のラックには互換性がありません。 |
使用可能なスペース |
4ラック・ユニット(4RU)の使用可能なスペースが必要です。 |
ラックの水平開口部とユニットの垂直間隔 |
ANSI/EIA 310-D-1992またはIEC 60927規格に準拠します。 |
前方取付け面と後方取付け面との距離 |
最小660.4mmおよび最大876.3mm(26インチから34.5インチ)。 |
前方取付け面の前の隙間 |
前面のキャビネット・ドアまでの距離は、少なくとも25.4mm(1インチ)です。 |
前方取付け面の裏の隙間 |
背面キャビネット・ドアまでの距離は、少なくとも700mm(27.5インチ)です。 |
前方取付け面と後方取付け面との隙間 |
構造支柱とケーブル・トラフとの距離は456mm(18インチ)以上。 |
システムの寸法 |
奥行き: 762mm(30インチ)。 幅(取付け耳を含まない): 437mm(17.2インチ)。
幅(取付け耳を含む): 482.6mm(19インチ)。 高さ: 175.1mm(6.9インチ)。 |
|
ラックの上側が重くなって倒れないように、常に下から上にラックに機器を搭載してください。機器の設置中にラックが倒れないように、ラックの転倒防止バーを伸ばしてください。地震キットがラックに設置され、床に固定されている場合、この注意は適用されません。
ラック取付けキットの内容
注意 - ラック取付けキットは、スライド・レールを含みません。システムが設置されると、ラックをスライドしません。
ラック取付けガイドおよび調整テンプレートは、アクセサリ・キットでシステムとともに発送されます。ラックにシステムを挿入する場合は、このテンプレートを参照してください。
次の図は、ラック取付けキットに同梱されるハードウェアを示しています。
|
|
1 |
システムの背面上部のポストに取り付けられる背面上部の留め具。 |
2 |
左棚レール: 前面と背面の取付け金具をラックに設置した後、棚レールが所定の位置に収まります。レールのフランジが金具のピンに掛けられます。 |
3 |
右棚レール: 前面と背面の取付け金具をラックに設置すると、棚レールが所定の位置に収まります。レールのフランジが金具のピンに掛けられます。 |
4 |
M6および10-32ねじ一式: 様々な構成をサポートするため、予備のねじが用意されています。設置を完了した後、未使用のハードウェアを破棄または再利用できます。ねじは、サイズおよび種類ごとにまとめられています。12個のM6 x 16ねじ、12個のM6 x 12ねじ、4個のM6 x 4平頭ねじ、10個の10-32ねじ、12個の10-32肩付きねじ。 |
5 |
丸穴型ラック用に1セット、角穴型ラック用に1セットの合計2セットの4つのアダプタ金具。これらのアダプタは、ラック・ポストに取り付けられ、棚レールを支えます。角穴型のアダプタ金具と丸穴型のアダプタ金具を識別する場合、角穴型のアダプタ金具には上部と下部に角穴の位置を特定するタブがありますが、丸穴型のアダプタ金具にはありません。これらのタブは、ラック・ポストのアダプタ金具の位置を固定し、システムの荷重をラック・ポストに移すために使用されます。 |
6 |
4個のM6ケージ・ナット。注意 - ケージ・ナットは使用しません。リサイクルにご協力ください。 |
|
注意 - ラックの奥行きと一致するまで棚レールは伸長します。棚レールは、スライド・レールではありません。システムをラックに取り付けた後は、システムをレール上でスライドさせることはできません。
ラックへのシステムの挿入
この項は、次のトピックで構成されています。
注意 - システム・シャーシは、ラック取付けキット・ハードウェアでラックに固定されています。ラック取付けキットは、スライド・レールを含みません。システム・シャーシがラックに設置されると、ラックをスライドしません。シャーシがラックに設置されますが、シャーシからサーバー・ノード(システム・コントローラとも呼ぶ)を取り外すことができます。
システムを軽量にするためのコンポーネントの取外し
2人でラックにシステムを持ち上げられるようにシステムを軽量にするため、コンポーネントを取り外すことができます。システム・コンポーネントを取り外すと、重量を約96ポンド(43.5kg)に減らすことができます。機械式リフトを使用する場合、この手順を実行する必要はありません。
システムを軽量にするには、次のコンポーネントを取り外します。
注意 - 軽量なので、システムからフィラー・パネルを取り外す必要はありません。
システムからコンポーネントを取り外す手順および関連する安全情報は、製品ドキュメントの一部である『Oracle Database Applianceサービス・マニュアル』を参照してください。
ラックへのラック取付けハードウェアの設置手順
ラック取付けハードウェアは、棚レール、前面および背面のアダプタ金具、背面の留め具およびねじで構成されます。
 |
注意 - スタッフが重傷を負うことがないように、または機器に損傷を与えないようにするために、システムの設置には機械式リフトを使用するか、「システムを軽量にするためのコンポーネントの取外し」に記載されている注意に従ってください。コンポーネントを取り外すと、重量をコンポーネントが完全に取り付けられている状態の160ポンド(72.6kg)から約96ポンド(43.5kg)に減らすことができます。 |
 |
注意 - 転倒に注意してください。ラックの上側が重くなって倒れないように、常に下から上にラックに機器を搭載してください。設置中にラックが倒れないように、ラックの転倒防止バーを伸ばしてください。 |
|
注意 - 動作周囲温度の上昇: 「環境仕様」で指定されている最高周囲温度を超えない環境に、この機器を設置してください。システムを、閉じているラック・アセンブリや複数ユニットのラック・アセンブリに設置すると、ラック環境の動作周囲温度が室内周囲温度よりも高くなる場合があります。 |
|
注意 - 通気の減少: 機器をラックに設置する場合、機器の安全な動作に必要な通気が妨げられないようにする必要があります。 |
|
注意 - 回路の過負荷: 電源回路への機器の接続および回路の過負荷によって発生する可能性のある過電流対策および電源配線の影響を考慮する必要があります。この問題に対処する場合、機器のネームプレートにある電力定格に適宜配慮する必要があります。 |
|
注意 - 確実な接地: ラックに取り付けた機器の接地を確実に維持する必要があります。分岐回路への直接接続以外の電源接続(テーブル・タップの使用など)には特に注意する必要があります。 |
- システムを設置するラックの4ラック・ユニット(4RU)のスペースを測定するには、ラック取付けガイドおよび調整テンプレートを使用します。
また、そのテンプレートを使用して、アダプタ金具とラック・ポストの位置を合せます。
- ラックに4RUのスペースがあることを確認します。
ラック取付けガイドおよび調整テンプレートの下端をラックの最も低い位置に合せます。すべての矢印をラック・ポストの穴に合せます。ラックに4RUのスペースがあることを確認します。
- ラックに合うアダプタ金具を選択してください。
システムは、角穴型ラックに1セット[1]、丸穴型ラックに1セット[2]の合計2セットのアダプタ金具とともに発送されます。
アダプタ金具には、角穴型ラック用または丸穴型ラック用のいずれかを示すラベルがあります。また、アダプタ金具の矢印は、向きを示します。すべての金具は"Top"の矢印が上を向くように設置してください。
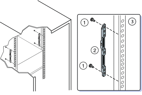
- アダプタ金具を前面ラック・ポストに取り付けます。
次の図は、角穴型ラック[1]および丸穴型ラック[2]に取り付けられる前面のアダプタ金具を示しています。

- 金具がサーバーを設置する4RUのスペースと合うように金具の位置を決めて、金具の"Top"の矢印が上を向いていることを確認します。
- ラックに合うねじを選択します。
- アダプタ金具を背面ラック・ポストに取り付けます。
- 金具がサーバーを設置するスペースと合うように金具の位置を決めて、金具の"Top"の矢印が上を向いていることを確認します。
- ラックに合うねじを選択します。
次の図は、丸穴型ラックに取り付けられる背面のアダプタ金具を示しています。

次の図は、角穴型ラックに取り付けられる背面のアダプタ金具を示しています。

- 背面の留め具を背面ラック・ポストおよびアダプタ金具に取り付けます。
- 背面の留め具の位置を決めて、留め具[1]の上部を各背面ラック・ポストの4Uマークに合せます。
- 2個のM6 x 12mmねじ[3]または2個の10-32 x 10ねじを設置して、背面の留め具をラック・ポストおよびアダプタ金具に取り付けます。

注意 - ねじを締める前に、金具[1]をできるだけ上にスライドします。金具の穴は楕円形なので、ねじが緩んでいる場合に上下に動かすことができます。
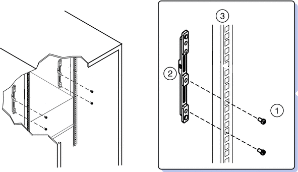
- 棚レールをラックに設置します。
 |
注意 - 棚が内側および間隔がラックの前面の正しい方向に棚レールを取り付けてください。そうしないと、システムが落下するおそれがあります。 |
- 棚レール[1]を伸ばして、前面ラック・ポストおよび背面ラック・ポストの間に収まるようにします。
- 最初に、棚レールの背面フックを背面のアダプタ金具[2および3]のスロットに挿入します。レールを押し下げて、フックを掛けます。
- 棚レールの前面フックを前面のアダプタ金具のスロットに挿入します。レールを押し下げて、フックを掛けます。

- 4個のアダプタ金具[1]に4個のM4 x 10平頭固定ねじを通してください。
これらのねじは、棚レールが誤ってアダプタ金具から外れることを防ぎます。

関連項目
ラックへのシステムの挿入手順
ラックへのシステムの挿入手順
開始する前に
開始する前に、「ラックへのラック取付けハードウェアの設置手順」の手順を実行します。
- システムを、棚の表面より少し上に上げます。
機械式リフトの使用をお薦めします。
 |
注意 - スタッフが重傷を負うことがないように、または機器に損傷を与えないようにするために、システムの設置には機械式リフトを使用するか、「システムを軽量にするためのコンポーネントの取外し」に記載されている注意に従ってください。コンポーネントを取り外すと、重量をコンポーネントが完全に取り付けられている状態の160ポンド(72.6kg)から約96ポンド(43.5kg)に減らすことができます。 |
 |
注意 - 転倒に注意してください。ラックの上側が重くなって倒れないように、常に下から上にラックに機器を搭載してください。設置中にラックが倒れないように、ラックの転倒防止バーを伸ばしてください。 |
- ラック取付け耳がラック・ポストに接触するまで、棚レールのシステムをスライドします。上部の背面の留め具を調整して、システムを完全に挿入します。
 |
注意 - 落下に注意してください。ラック内に12インチ(305mm)を超えて挿入され、棚レールで確実に支えられるまで、システムを離さないでください。ラック内に12インチ(305mm)を超えて挿入されるまで、棚レールはシステムを確実に支えられません。 |

- 4個のねじを使用して、システムの前面をラックの前面に取り付けます。
ねじ穴のある丸穴型ラックでは、4個のM6 x 12mmねじまたは4個の10-32 x 10mmねじを使用します。
角穴型ラックでは、4個のM6 x 16mmねじを使用します。
注意 - 角穴型ラックでは、ねじをラック、アダプタ金具に通します。丸穴型ラックでは、ねじをラック・レールに通します。

- 背面の留め具を調整するには、次の手順を実行します。
- 背面の留め具[1]のねじを緩めます。
- システムの上部[2]の位置が決まるまで、背面の留め具を下にスライドします。
- 背面の留め具[1]のねじを締めます。

- システムからコンポーネントを取り外した場合は、元に戻します。
手順は、製品ドキュメントの一部であるサービス・マニュアルを参照してください。
発送用金具の取外しおよび設置
この項の内容は、次のとおりです。
移動キットの内容
次の図は、移動キットに含まれるハードウェアを示しています。
1 |
前面の発送用金具 |
2 |
ねじおよびケージ・ナット: 前面の発送用金具の場合: M6 x 30および10-32 x 1.25インチねじの2つのセット、1セット当たり2個のねじ。背面の発送用金具の場合: M6 x 16mmおよび10-32 x 10mmねじの2つのセット、1セット当たり4個のねじ。6個のM6ケージ・ナット。注意 - ケージ・ナットは使用しません。リサイクルにご協力ください。 |
3 |
背面の発送用金具 |
|
発送用金具の取外し手順
システムがラックで発送される場合、発送用金具で支える必要があります。システムを使用する前に、前面の発送用金具を取り外す必要があります。背面の発送用金具の取外しはオプションです。
- 前面の発送用金具[2]をシステムの前面に固定している2個のねじ[1]を取り外して、金具を取り外します。

- ラックに合う、前面の発送用金具のねじを探し、これを使用してシステムをラックに固定します。
前面の発送用金具には、未使用のねじを格納するために使用される8つのねじ穴(4つのM6および4つの10-32)があります。ラックのねじ山に合うねじを取り外して、それらを使用してシステムの前面をラックに固定します。

- 手順2で取り外した長いねじ(M6 x 30mmまたは10-32 x 1.25インチ)を前面の発送用金具の空いている穴に通します。
発送用金具を再設置する必要がある場合に備えて、前面の発送用金具にねじを格納できます。
注意 - 背面の発送用金具の取外し(手順4および5)はオプションです。システムの下にある他の機器を邪魔している場合のみ、背面の発送用金具を取り外します。
- システムの背面の背面の発送用金具[2]を固定している4個のねじ[1]を取り外して、発送用金具を取り外します。

- 手順4で取り外したねじを背面のアダプタ金具に通して、ねじを固定します。
注意 - 手順4で取り外したねじを前面の発送用金具の空いている穴に格納しないでください。そうすると、ラックのシステムを支える背面のアダプタ金具ごとに1個のねじだけになります。
発送用金具の設置手順
ラックのシステムを別の場所に移動または発送する場合、発送用金具を設置する必要があります。
- システムの下部をラックに固定している2個の短いねじを取り外します。

- システムの下部のサポート・フランジを使用して、システム前面の下に前面の発送用金具[2]を挿入します。

- 2個の長いねじ(M6 x 30mmねじまたは10-32 x 1.25インチねじ)[1]を使用して、発送用金具[2]とシステムの前面を固定します。
2個の長いねじを締めて、発送用金具およびシステムをラックに固定します。
注意 - 前面の発送用金具には、未使用のねじを格納するために使用される8つのねじ穴[3]があります。発送用金具が設置されない場合、前面の発送用金具では、設置に使用する長いねじを保管します。発送用金具が設置される場合、前面の発送用金具が設置される前にシステムとラックの前面を固定するために使用された短いねじが格納されます。
- 前面の発送用金具の4つの空いている格納穴に短いねじを入れます。
発送用金具が取り外される場合に使用できるように、ねじを格納します。
- 背面のアダプタ金具を支える下部の2個のねじを取り外します。
 |
注意 - 少なくとも1個の上部のねじが確実に締められていないかぎり、下部のねじを取り外さないでください。そうしないと、システムが落下するおそれがあります。 |
- サイド・パネルを上に向けて、背面の発送用金具[2]をシステムの背面の下に挿入します。
4個のねじ[1](M6 x 16mmねじまたは10-32 x 10mmねじ)を使用して、背面の発送用金具をラックに固定します。これらのねじは最後まで締め付けないでください。ねじは金具を支える程度に締める必要がありますが、まだ金具が少し動くようにしておきます。
金具をポストに固定する必要がありますが、まだ少し動くようにします。

- システムの底面に確実に固定するために背面の発送用金具を上げて、金具を支えているねじを最後まで締めます。
必要に応じて、金具を動かせる程度にねじを緩めて、システムの底面に金具を押し込み、ねじを締めます。
 |
注意 - 発送中のシステムの破損を防止するため、底面の発送用金具をシステムの底面に確実に固定する必要があります。 |
ラックからのシステムの取外し
次の手順では、ラックからシステムおよびラック取付けハードウェアを取り外す方法について説明します。
ラックからのシステムの取外し手順
この手順では、システムの電源が切断され、システムの移動を制限するケーブルまたはコードが取り外されていることを前提とします。
 |
注意 - スタッフが重傷を負うことがないように、または機器に損傷を与えないようにするために、システムの設置には機械式リフトを使用するか、「システムを軽量にするためのコンポーネントの取外し」に記載されている注意に従ってください。コンポーネントを取り外すと、重量をコンポーネントが完全に取り付けられている状態の160ポンド(72.6kg)から約96ポンド(43.5kg)に減らすことができます。 |
- リフトを使用できない場合、「システムを軽量にするためのコンポーネントの取外し」の説明に従って、システムを軽量にしてください。
- システムのフロント・ベゼルからの4個のねじを取り外します。

- 両手でシステムを手前にスライドし、機械式リフトを使用して棚レールから取り外します(「システムを軽量にするためのコンポーネントの取外し」を参照してください)。
|
注意 - 落下に注意してください。ラックからの距離が12インチ(305mm)を超えると、棚レールはシステムの重量を低減します。ラックからの距離が12インチ(305mm)を超えるまで、システムの重量を支える必要があります。 |

ラックからのラック取付けハードウェアの取外し手順
- 2個の背面の留め具[1]を取り外すには、各留め具を背面のラック・ポストおよび背面のアダプタ金具に固定している2個のねじを取り外します。

- 4つのアダプタ金具からM4 x 10平頭固定ねじを取り外します。

- 2つの棚レールを持ち上げて、アダプタ金具[1] [3]からフランジを取り外します。
各棚レールの前部を持ち上げてから、後部を持ち上げます。
アダプタ金具[2]からフランジが取り外されてから、棚レールを収縮します。

- 前面のアダプタ金具を支えるねじを取り外し、前面のアダプタ金具を取り外します。
- 背面のアダプタ金具を支えるねじを取り外し、背面のアダプタ金具を取り外します。