| Oracle® Database Applianceオーナーズ・ガイド リリース2.10 for Linux x86-64 部品番号 B66175-08 |
|
|
この章の内容は次のとおりです。
適切な手順に従ってシステムをラッキングしてください。
|
この項では、サーバーをラックに設置するときの安全上の注意について説明します。
![]() | 注意 ‐ 人的傷害または装置の損傷。ラックの転倒を防止してください。1) 設置前に、機器ラックの転倒防止バーまたは脚を伸ばしてください。2)ラックの上側が重くなって倒れないように、ラックには常に下から上に機器を搭載してください。3) 不均等または危険な機械的荷重が生じないようにラックに機器を搭載します。4) スライド・レールに取り付けられた機器を棚または作業空間として使用しないでください。 |
![]() | 注意 ‐ 温度上昇による機器の損傷。1) 機器が密閉されたラック・アセンブリや複数ユニットのラック・アセンブリに設置されている場合、ラック内の動作時周囲温度がサーバーに規定された最大周囲温度を超えないようにしてください。サーバーの環境要件の詳細は、「環境仕様」を参照してください。2) 空気の流れを妨げないように、ラックに機器を設置してください。 |
![]() | 注意 ‐ 電源回路の損傷およびデータの損失。システムに電源を供給するのに使用されるAC回路の定格電力は、システムに必要な最大値である必要があります。入力電力の要件の詳細は、「電気仕様」を参照してください。 |
![]() | 注意 ‐ 装置の損傷。接地を確実に維持してください。分岐回路への直接接続以外の電源の接続(テーブル・タップの使用など)には特に注意してください。 |
![]() | 注意 ‐ 装置の損傷。静電破壊を回避するには、コンポーネントを設置または使用する際に次の事項に注意してください。 |
静電気防止放電マット、静電気防止バッグまたは使い捨ての静電気防止マットなど、静電気を防止する面にコンポーネントを設置してください。
システム・コンポーネントを取り扱う際は、シャーシの金属表面に接続された静電気防止用ストラップを装着してください。
ラック取付けハードウェアは、次の表の要件を満たす特別なラックにのみ使用できます。
|
![]() | 注意 ‐ 人的傷害または装置の損傷。ラックの上側が重くなって倒れないように、常に下から上にラックに機器を搭載してください。機器の設置中にラックが倒れないように、ラックの転倒防止バーを伸ばしてください。地震キットがラックに設置され、床に固定されている場合、この注意は適用されません。 |
この項では、Oracle Database Appliance X3-2またはOracle Database Appliance X4-2のサーバー・ノードおよびストレージ・シェルフをラックに設置する方法について説明します。Oracle Database Appliance (オリジナル・バージョン)を設置する場合、「ラックへのOracle Database Appliance (オリジナル・バージョン)の挿入」を参照してください。
この項は、次のトピックで構成されています。
![]() | 注意 ‐ 人的傷害または装置の損傷。必ず下から上にラックに機器を設置してください。サーバー・ノードを設置する前に、オプションのストレージ拡張シェルフおよびストレージ・シェルフを設置します。次に、サーバー・ノード1を設置する前にサーバー・ノード0を設置します。ストレージ・シェルフの設置手順は、「ラックへのストレージ・シェルフの設置」を参照してください。 |
![]() | 注意 ‐ システム障害。Oracle Database Applianceは一緒に設置する必要のある適合セットのコンポーネントで出荷されます。別のシステムのコンポーネントと混合するとシステム障害が発生する可能性があります。 |
Oracle Database Appliance X3-2およびOracle Database Appliance X4-2は、1つのパレット上にシステム全体が載って出荷されます。これには、すべてのサーバー・ノード、ストレージ・シェルフ、取付けハードウェア、ケーブルおよびラベルが含まれます。
![]() | 注意 ‐ システム障害。出荷内のすべてのアイテムは1つのシステムとして一緒に使用されるように設計されています。別の出荷のコンポーネントと混合しないでください。システム障害が発生することがあります。詳細は、「コンポーネントの互換性の確認」を参照してください。 |
この出荷内のアイテムは次のとおりです。
サーバー・ノード0およびサーバー・ノード1
サーバー・ノード0および1の取付けハードウェア、ケーブルおよびラベル
1つのDE2–24Pストレージ・シェルフ
ストレージ・シェルフのラック取付けハードウェア
ストレージ拡張シェルフを注文した場合は、別に出荷されます。
機器のラックへの設置は、必ず下から開始して上へ向かって作業してください。Oracle Database Appliance X3-2またはOracle Database Appliance X4-2の場合、次の順序で機器を設置します。
ストレージ拡張シェルフ(装備されている場合)。
ストレージ・シェルフ。
サーバー・ノード0。
サーバー・ノード1。
Oracle Database Appliance X3-2またはOracle Database Appliance X4-2の場合、工場でバンドルされたすべてのアプライアンス・コンポーネントには、システムに適合した最上位レベル識別子(TLI)番号があります。両方のサーバー・ノード、ストレージ・シェルフ、および(工場からの初期アプライアンス構成に含まれている場合は)ストレージ拡張シェルフ(オプション)のTLIは同じである必要があります。
TLIラベルは、コンポーネントの上部、左側、前面近くにあります。
Oracle Database Appliance X3-2またはOracle Database Appliance X4-2の設置を開始する前に、次のツールおよび機器を用意します。
長さ4インチ以上のNo. 2プラス・ドライバ。
ねじ山のあるラックを使用する場合、T20 Torxドライバ。
機械式リフトを強くお薦めします。
![]() | 注意 ‐ 人的傷害または装置の損傷。ストレージ・シェルフの重さは約51ポンド(23kg)あります。機械式リフトが使用できない場合、3名でラックへ格納してください。 |
![]() | 注意 ‐ 人的傷害または装置の損傷。人的傷害のリスクを軽減するには、ラック・キャビネットを固定し、サーバーの設置前に転倒防止デバイスを伸ばします。 |
次の手順の詳細な説明は、ラックのドキュメントを参照してください。
Oracle Database Appliance X3-2およびOracle Database Appliance X4-2は、各サーバー・ノードおよびストレージ・シェルフの前面に貼付する4枚のラベルがあるラベル・キットとともに発送されます。
発送キットには2枚のラベル・シートが含まれており、1枚のシートはサーバー・ノード・ラベル、もう1枚のシートはストレージ・シェルフ・ラベルです。
各ラベルの裏紙をはがして、アプライアンスのフロント・パネルの右側の対応する場所に、ラベルを貼付します。
サーバー・ノード1: このラベルを上のサーバー・ノードに貼付します[1]。
サーバー・ノード0: このラベルを下のサーバー・ノードに貼付します[2]。
ストレージ・シェルフ: このラベルをサーバー・ノード0のすぐ下のストレージ・シェルフに貼付します[3]。
ストレージ拡張シェルフ(オプション): 存在する場合、このラベルを一番下のストレージ・シェルフに貼付します[4]。
この項は、ラックにストレージ・シェルフを設置する手順を含みます。
Oracle Database Appliance X3-2およびOracle Database Appliance X4-2には1つのストレージ・シェルフが必要で、ストレージ拡張シェルフと呼ばれる、2つ目のストレージ・シェルフが含まれることもあります。次の注意をして、どちらも同じ方法で設置します。
ストレージ拡張シェルフがある場合は、先に設置します。「ラックへのストレージ・シェルフの設置」を参照してください。
既存のシステムにストレージ拡張シェルフを追加する場合の詳細は、「既存のシステムへのストレージ拡張シェルフの追加」を参照してください。
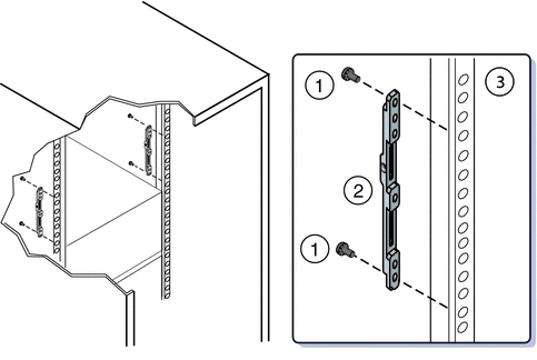
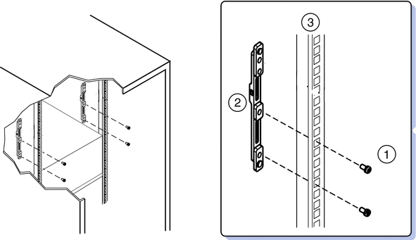
ストレージ・シェルフのラック取付けキットには、2つのラック・レール、長いM6ねじおよび短いM6ねじ、10mmレンチが含まれます。
開始する前に
この作業には、ねじ山のあるラックおよびねじ山のないラックの両方の手順が含まれています。
設置場所が、「Oracle Database Applianceの仕様」の要件を満たしていることを確認してください。
ラックが、「ラックの互換性要件」の要件を満たしていることを確認してください。
「ラック取付け時の安全上の注意」のすべての注意を守ってください。
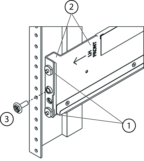
レール・フランジ[2]はキャビネット・フランジの内側で、レールのラベルはキャビネットの内側に面している必要があります。

|
ピンはラックの穴の内側の位置に完全に合わせる必要があります。
ねじ山のあるラック用のねじには、シャフトの頂上近くにねじ山のない領域があります。これらのねじをレールに通す前に、ねじ山がラックを通過してねじが自由に回転するまで、ラックに通します。
![]() | 注意 ‐ 機械的障害。ねじ山のあるラックにストレージ・シェルフを設置する場合、部分的にねじ山のないシャフトのあるねじを必ず使用してください。これらをレールに通す前に、ねじ山がラックを通過してねじが自由に回転するまで、確実にラックに通します。 |

|

|
![]() | 注意 ‐ 装置の損傷。電源およびファン・モジュールのハンドルを使用してストレージ・シェルフを持ち上げないでください。 |
![]() | 注意 ‐ 人的傷害または装置の損傷。機械式リフトを使用するか、3名で行ってください。3名で行う場合、2名でストレージ・シェルフを所定の位置に持ち上げ、離す前にレールの上に安全に乗っていることをもう1名が確認します。 |
開始する前に
この作業は、すでに実行中のOracle Database Appliance X3-2/X4-2にストレージ拡張シェルフを追加すると想定しています。
この作業を完了するのに、システムを停止する必要はありません。
次の例外条件に注意してください。
ストレージ拡張シェルフは通常、Oracle Database Applianceの下部の、ストレージ・シェルフの下に設置されます。しかし、ラックは通常、下から上へプロビジョニングされる必要があるので、空きがない場合があります。そのような場合、システム全体を再度ラックに取り付けなくても済むように、サーバー・ノードの上、または別のラックに配置することもできます。
「コンポーネントの互換性の確認」で説明しているように、ストレージ拡張シェルフの最上位レベル識別子(TLI)はシステムのその他の部分と一致しません。初期の購入後にストレージ拡張シェルフを追加してアプライアンスをセットアップすることは、サポートされている構成です。
エクスパンション・ストレージ・シェルフの発送には"EXPANSION STORAGE SHELF"と書かれたラベルが含まれます。「ラベルの貼付」の説明に従い、このラベルを貼付します。
この項の手順を使用して、ラックにサーバー・ノードを設置します。
|
この項では、Oracle Database Appliance (オリジナル・バージョン)のラックへの挿入について説明します。ODA X3-2またはODA X4-2を設置する場合は、「ラックへのOracle Database Appliance X3-2/X4-2の挿入」を参照してください。
この項は、次のトピックで構成されています。
ラック取付けキットには、サポートされているラックにOracle Database Appliance (オリジナル・バージョン)を設置するのに必要なハードウェアが含まれています。ラック取付けガイドおよび調整テンプレートは、アクセサリ・キットでシステムとともに発送されます。ラックにシステムを挿入する場合は、このテンプレートを使用してください。
次の図は、ラック取付けキットに同梱されるハードウェアを示しています。

|
設置を開始する前に、システムのラック取付けに必要なスタッフ、工具および機器を用意します。
|
ラックにOracle Database Appliance (オリジナル・バージョン)を設置する前に、2人でラックにシステムを持ち上げられるようにシステムを軽量にするため、コンポーネントを取り外すことができます。システム・コンポーネントを取り外すと、重量を約96ポンド(43.5kg)に減らすことができます。
システムを軽量にするには、次のコンポーネントを取り外します。
サーバー・ノード
電源
システムからコンポーネントを取り外す手順および関連する安全情報は、『Oracle Database Applianceサービス・マニュアル』を参照してください。
Oracle Database Appliance (オリジナル・バージョン)ラック取付けハードウェアは、棚レール、前面および背面のアダプタ金具、背面の留め具およびねじで構成されます。
![]() | 注意 ‐ 人的傷害または装置の損傷。システムの設置には機械式リフトを使用するか、「システムを軽量にするためのコンポーネントの取外し」に記載されている注意に従ってください。コンポーネントを取り外すと、重量をコンポーネントが完全に取り付けられている状態の160ポンド(72.6kg)から約96ポンド(43.5kg)に減らすことができます。 |
![]() | 注意 ‐ 転倒に注意してください。ラックの上側が重くなって倒れないように、常に下から上にラックに機器を搭載してください。設置中にラックが倒れないように、ラックの転倒防止バーを伸ばしてください。 |
![]() | 注意 ‐ 動作周囲温度の上昇。「環境仕様」で指定されている最高周囲温度を超えない環境に、この機器を設置してください。システムが密閉されたラック・アセンブリや複数ユニットのラック・アセンブリに設置されている場合、ラック環境の動作周囲温度が室内周囲温度より高くなる場合があります。 |
![]() | 注意 ‐ 熱による損傷。空気の流れを妨げないようにラックに機器を設置してください。 |
![]() | 注意 ‐ 回路の過負荷。電源回路への機器の接続および回路の過負荷によって発生する可能性のある過電流対策および電源配線の影響を考慮してください。この問題に対処する場合、機器のネームプレートにある電力定格に注意してください。 |
![]() | 注意 ‐ 装置の損傷。ラック取付け機器の接地を確実に維持してください。分岐回路への直接接続以外の電源の接続(テーブル・タップの使用など)には注意してください。 |
また、そのテンプレートを使用して、アダプタ金具とラック・ポストの位置を合わせます。
ラック取付けガイドおよび調整テンプレートの下端をラックの最も低い位置に合わせます。すべての矢印をラック・ポストの穴に合せます。ラックに4RUのスペースがあることを確認します。
システムは、角穴型ラックに1セット[1]、丸穴型ラックに1セット[2]の合計2セットのアダプタ金具とともに発送されます。
アダプタ金具には、角穴型ラック用または丸穴型ラック用のいずれかを示すラベルがあります。また、アダプタ金具の矢印は、向きを示します。すべての金具は"Top"の矢印が上を向くように設置してください。
次の図は、角穴型ラック[1]および丸穴型ラック[2]に取り付けられる前面のアダプタ金具を示しています。
![]() | 注意 ‐ システム障害。棚が内側および間隔がラックの前面の正しい方向に棚レールを取り付けてください。そうしないと、システムが落下するおそれがあります。 |
これらのねじは、棚レールが誤ってアダプタ金具から外れることを防ぎます。
関連項目
開始する前に
ラックへのOracle Database Appliance (オリジナル・バージョン)の設置を開始する前に、「ラックへのラック取付けハードウェアの設置」の手順を実行します。
機械式リフトの使用をお薦めします。
![]() | 注意 ‐ 人的傷害または装置の損傷。システムの設置には機械式リフトを使用するか、「システムを軽量にするためのコンポーネントの取外し」に記載されている注意に従ってください。コンポーネントを取り外すと、重量をコンポーネントが完全に取り付けられている状態の160ポンド(72.6kg)から約96ポンド(43.5kg)に減らすことができます。 |
![]() | 注意 ‐ 転倒に注意してください。ラックの上側が重くなって倒れないように、常に下から上にラックに機器を搭載してください。設置中にラックが倒れないように、ラックの転倒防止バーを伸ばしてください。 |
![]() | 注意 ‐ 落下に注意してください。ラック内に12インチ(305mm)を超えて挿入され、棚レールで確実に支えられるまで、システムを離さないでください。ラック内に12インチ(305mm)を超えて挿入されるまで、棚レールはシステムを確実に支えられません。 |
ねじ穴のある丸穴型ラックでは、4個のM6 x 12mmねじまたは4個の10-32 x 10mmねじを使用します。
角穴型ラックでは、4個のM6 x 16mmねじを使用します。
手順は、製品ドキュメントの一部であるサービス・マニュアルを参照してください。
この項には、Oracle Database Appliance (オリジナル・バージョン)の発送用金具の設置についての次の情報が含まれます。
ラックのシステムを別の宛先に発送する場合は、「発送用金具の設置」を参照してください。
システムがラックで発送される場合、システムを使用する前に発送用金具を取り外す必要があります。手順は、『Oracle Database Applianceサービス・マニュアル』を参照してください。
次の図は、Oracle Database Appliance (オリジナル・バージョン)移動キットに含まれるハードウェアを示しています。
|
ラック内のOracle Database Appliance (オリジナル・バージョン)を別の場所に移動または発送する場合は、発送用金具を設置する必要があります。
2個の長いねじを締めて、発送用金具およびシステムをラックに固定します。
発送用金具が取り外される場合に使用できるように、ねじを格納します。
![]() | 注意 ‐ 装置の損傷。少なくとも1個の上部のねじが確実に締められていないかぎり、下部のねじを取り外さないでください。そうしないと、システムが落下するおそれがあります。 |
4個のねじ[1](M6 x 16mmねじまたは10-32 x 10mmねじ)を使用して、背面の発送用金具をラックに固定します。これらのねじは最後まで締め付けないでください。ねじは金具を支える程度に締める必要がありますが、まだ金具が少し動くようにしておきます。
金具をポストに固定する必要がありますが、まだ少し動くようにします。
必要に応じて、金具を動かせる程度にねじを緩めて、システムの底面に金具を押し込み、ねじを締めます。
![]() | 注意 ‐ 装置の損傷。発送中のシステムの破損を防止するため、底面の発送用金具をシステムの底面に確実に固定する必要があります。 |