5 VSM 7 物理场地就绪规划

本章介绍了用于确保场地的配备满足 VSM 7 系统设备的电源、安全、环境、HVAC 和数据处理要求的活动。重要的场地就绪规划注意事项包括(但不限于)以下内容:

  • 场地调查,从而评估并消除或缓解可能会对 VSM 7 系统设备的交付、安装和运行产生负面影响的因素。

  • 规划 VSM 7 系统设备和布线的布局和位置,以便高效使用和轻松维护,并为 Oracle 支持人员及其设备提供足够的空间和设施

  • 布置各种设施为 VSM 7 系统设备和人员提供最佳操作环境,铺设安全的地板以及采取可抵御火灾、洪水、污染物和其他潜在危险的防护措施

  • 制定重要事件和任务完成日期计划,以进行设施升级、人员培训以及交付、实施、安装、测试和认证活动

客户负责最终确保其物理场地已准备就绪,可接收并运行 VSM 7 系统设备,并且场地满足本指南中详细说明的设备运行的最低规范。

场地就绪规划流程

场地就绪规划活动、任务和参与者包括:

关键重要活动

  1. 选择场地就绪规划团队成员,并确定角色和职责

  2. 完成场地调查以便:

    • 记录会产生或可能产生外部和内部环境危险的因素。

    • 评估场地电源、安全、环境、HVAC 和数据处理能力是否满足 VSM 7 系统要求。

    • 确定运输路径和 VSM 7 VTSS 机柜安装位置的地板负载额定值。

    • 评估天花板、走廊、门间隙、电梯载重量和坡道倾斜度是否满足 VSM 7 VTSS 机柜要求。

  3. 参加规划会议。

关键子任务

  1. 验证场地电源、安全、环境、HVAC 和数据处理能力是否满足 VSM 7 VTSS 的要求。

  2. 确定消除/减少环境危害的计划。

  3. 评估运输路径和 VSM 7 VTSS 安装位置的地板负载额定值。

  4. 验证场地的门、大厅和天花板间隙、电梯载重量以及坡道倾斜度是否满足 VSM 7 VTSS 的要求。

  5. 确定需要修改/升级的基础结构;制定工作完成计划。

  6. 评估就绪进度,保证场地就绪。

关键参与者

  • 客户:场地工程师、设备管理员、数据中心管理员、网络管理员

  • Oracle:技术支持专家、系统工程师

场地评估-外部注意事项

在交付 VSM 7 系统设备之前的几个月,就绪规划小组应确定并评估会产生或可能产生危险或者可能对系统的交付、安装或运行产生负面影响的所有外部场地因素。应评估的外部因素包括:

  • 本地电力公司、备份发电机和不间断电源 (Uninterruptible Power Supply, UPS) 提供的电力的可靠性和质量

  • 是否临近高频电磁辐射源(例如,高压电线、电视、收音机和雷达发射器)

  • 是否临近天然或人工河滩以及可能导致数据中心发生洪灾

  • 附近污染源(例如,工厂)的潜在影响

如果发现任何已有或潜在的负面因素,场地就绪规划小组应在交付 VSM 7 系统设备之前采取相应的措施来消除或缓解这些因素的影响。Oracle 全球服务支持部门可提供咨询服务及其他帮助以确定并解决此类问题。有关更多信息,请与 Oracle 客户代表联系。

场地评估-内部注意事项

在交付 VSM 7 系统设备之前的几个月,就绪规划小组应确定并评估会产生或可能产生危险或者可能对系统的交付、安装或运行产生负面影响的所有内部场地因素。应评估的内部因素包括:

  • 在装运台、中转区和数据中心安装场地之间点到点运输设备时要注意的结构尺寸、电梯载重量、地板负载额定值、坡道倾斜度以及其他事项

  • 场地电源系统设计和容量

  • VSM 7 系统设备电源系统设计和容量

  • 数据中心安全系统设计特性和功能

  • 数据中心环境 (HVAC) 设计特性和功能

  • 系统设备附近腐蚀性材料、电气干扰或振动过大造成的潜在影响。

如果发现任何已有或潜在的负面因素,场地就绪规划小组应在交付 VSM 7 系统设备之前采取相应的措施来消除或缓解这些因素的影响。Oracle 全球服务支持部门可提供咨询服务及其他帮助以确定并解决此类问题。有关更多信息,请与 Oracle 客户代表联系。

点到点运输设备

必须确认场地条件,确保所有 VSM 7 系统设备都可在装运台、中转区和数据中心之间安全运输,不会遇到尺寸限制、障碍或安全危险,或者超过提升和运载设备、地板或其他基础设施的额定容量。必须确认的条件如下所述。

结构尺寸和障碍物

电梯、门和走廊等的尺寸必须足以将 VSM 7 机柜(适当时需要装在装运箱中)从装运台无阻碍地搬运到数据中心安装位置。有关 VSM 7 机柜尺寸的详细信息,请参阅 VSM 7 整体尺寸

电梯提升能力

所有用于运输 VSM 7 机柜的电梯的认证负载额定值必须至少为 1102 千克(2430 磅)。这可提供足够的能力来提升最重的完全填充的 VSM 7 机柜(大约 803 千克/1700 磅)、一个托盘搬运车(可达 100 千克/220 磅)和两个人(可达 200 千克/440 磅)。有关机柜重量的其他详细信息,请参阅 VSM 7 重量

地板负载额定值

位于 VSM 7 机柜运输路径中的实心地板、活动地板和坡道必须能够承受填充后的机柜、用于升降机柜的托盘搬运车和将机柜从一点移动到另一点的人员的重量所产生的集中负载和滚动负载。

位于运输路径中的活动地板镶板上的任意位置都必须能够承受 803 千克(1700 磅)的集中负载和 181 千克(400 磅)的滚动负载,并且最大偏度为 2 毫米(0.08 英寸)。活动地板的基座必须能够承受 2268 千克(5000 磅)的轴向负载。有关地板负载的其他详细信息,请参阅地板负载要求

从一个位置移动到另一位置时,VSM 7 机柜产生的地板负载大约是静止状态下的两倍。在运输路径中使用 19 毫米(0.75 英寸)的胶合板可减少机柜所产生的滚动负载。

坡道倾斜度

为防止 VSM 7 机柜在点到点移动时在坡道上倾斜,场地工程师或设备管理员必须确认运输路径中所有坡道的倾斜度。倾斜度不能超过 10 度(176 毫米/米;2.12 英寸/英尺)。

数据中心安全

规划 VSM 7 系统设备安装时,必须将安全作为首要考虑因素,在针对设备安装位置、支持运行环境的电气、HVAC 和防火系统的额定值和容量以及人员培训程度等事项作出选择时,应体现这一点。在制定如何在给定环境中达到相应安全水平的决策时,也需要考虑当地管理机构和保险公司的要求。

同时应对占用率、财产价值、业务中断可能性和防火系统运维成本进行评估。可参考电子计算机/数据处理设备保护标准 (NFPA 75)美国国家电气规范 (NFPA 70) 以及国家和当地法规来解决这些问题。

紧急电源控制

数据中心应配备有可随时使用的紧急电源关闭开关,以便即时断开 VSM 7 系统设备的电源。每个主要出口的附近应安装一个开关,以便在紧急情况下迅速激活电源关闭系统。请查看国家和当地法规以确定对断电系统的要求。

防火

在数据中心的构建、维护和使用中应考虑以下防火准则:

  • 在数据中心环境以外存放汽油和其他爆炸品。

  • 确保数据中心的墙壁、地板和天花板防火防水。

  • 按照国家或当地法规要求安装烟雾报警器和灭火系统,并按计划对系统执行维护。

    注:

    Halon 1301 是最常用于数据中心灭火系统的灭火剂。该灭火剂以液态形式存储并释放为无色无味的绝缘蒸汽。它可以在有人区域安全释放,不会造成人身危害。此外,也不会留下任何残余,也尚未发现会导致计算机存储介质受损。
  • 在符合法规的墙壁和门上仅安装防碎窗。

  • 安装二氧化碳灭火器(用于电气火灾)和压水灭火器(针对普通可燃材料)。

  • 提供灭火垃圾桶,并对人员进行培训,使其将可燃垃圾仅丢弃在合格的垃圾桶内。

  • 保持环境整洁有序,预防潜在火灾危险。

场地配电系统

需要正确安装配电系统才能确保 VSM 7 系统设备安全运行。其供电电线应不同于用于照明、空调和其他电气系统的电线。

图 5-1中所示,典型的输入电源配置为五线高压类型或四线低压类型,且三相供电来自进户线或单独的供电电源,并且具有过流保护和正确的接地。由于三相五线配电系统可以同时向三相设备和单相设备供电,因此具有最大的配置灵活性。

图 5-1中:

1-进户线接地或合适的建筑物接地

2-仅在进户线或单独的供电系统(转换器)上有效

3-接地终端棒(绑定到配电箱),与中性导体大小相同

4-远程操作的断电器

5-中性母线

6-适当大小的断路器

7-分支电路

8-120V 单相

9-208/240V 单相

10-208/240V 三相(四线)

11-208/240V 三相(五线)

图 5-1 场地配电系统

周围的文本说明了 图 5-1 。

设备接地

为了安全起见并保护 ESD,VSM 7 系统设备必须正确接地。VSM 7 机柜电源电缆包含一个绝缘绿色/黄色接地线,用于通过交流电源插座将 VSM 7 框架连接到地面终端。在分支电路板和连接到每个机柜的电源插座之间必须使用类似的绿色或绿色/黄色绝缘接地线,直径至少与相位线相同。

电源输入

必须测量向 VSM 7 系统设备供电的交流电源插座的电压和频率范围,确认其满足以下规格:

  • 电源:交流、单相、三线

  • 电压范围:170-240

  • 频率范围 (Hz):47-63

如果要在北美和南美、日本和中国台湾安装 VSM 7 机柜,请确保指定的电源插座为 NEMA L6‐30R 插座,并确保机柜电源线的末端为要求的 NEMA L6-30P 插头。出厂时,向北美和南美、日本和中国台湾提供的是具有 NEMA L6-30P 插头的电源线。向欧洲和亚太地区提供的是 IEC309 32A 3 PIN 250VAC IP44 插头。图 5-2显示了 NEMA L6-30P 插头和 L6‐30R 插座。

图 5-2 NEMA L6-30P 插头和 L6-30R 插座

周围的文本说明了 图 5-2 。

如果要在北美和南美、日本和中国台湾以外的其他地区安装 VSM 7 机柜,请确保指定的电源插座满足国家和当地的所有适用电气规范要求。然后将所需连接器连接到机柜电源线的三线终端。

独立双供电源

VSM 7 机柜具有冗余配电体系结构,用于防止由于单电源供电故障而中断系统运行。需要四个 30 安培的电源插头。为确保系统持续运转,必须将所有电源线连接到不太可能同时出现故障的不同独立电源上,例如,将一个电源线连接到本地公用电源,将其他电源线连接到不间断电源 (Uninterruptible Power Supply, UPS) 系统。将多个电源线连接到同一电源不会启用此冗余电源功能。

瞬态电噪声和电源线干扰

需要使用不受干扰的可靠交流电源,以保证 VSM 7 系统设备实现最佳性能。大多数电力公司提供的电源均可使系统设备正常运行。但是,如果向设备供电的电源上叠加了外部(辐射或传导)瞬态电噪声信号,则可能会导致设备出现错误或故障。

此外,虽然 VSM 7 系统已设计为可承受常见类型的电源线干扰(对运行影响较小或无影响),但是对于强力干扰(如雷击),如果未采取相关缓解措施,也会导致设备电源出现故障或错误。

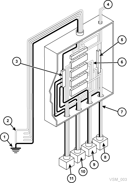
要缓解外部电噪声信号和强力干扰的影响,应为数据中心配电板配备类似于图 5-3中所示的瞬态接地板。

图 5-3中:

1-双心扁软线/应变线

2-配电板

3-金属板

4-混凝土地板

图 5-3 瞬态电气接地板

周围的文本说明了 图 5-3 。

静电放电

人员、家具和设备的移动会产生静电放电 (Electrostatic Discharge, ESD)。ESD 会损坏电路板组件、更改磁介质上的信息,并导致其他设备问题。建议遵循以下步骤来尽量降低数据中心内产生 ESD 的可能性:

  • 在活动地板与地面之间提供导电路径。

  • 使用具有绝缘核心的地板镶板。

  • 将湿度水平维持在建议的控制参数内。

  • 对设备进行操作时使用接地的防静电工作垫和佩戴防静电手腕带。

HVAC 要求

冷却和空气处理系统必须有足够的容量来除去设备和数据中心人员所产生的热量。活动地板区域的地板下应具有正压空气,以便于通风。如果数据中心内的条件发生更改(例如,添加了新设备或改变了现有设备的位置),应执行通风检查,确认有足够的通风。

环境要求和危险

在封闭式环境(如数据中心)中, VSM 7 系统组件对腐蚀、振动和电气干扰较为敏感。因此,不可将设备置于生产、使用或存储危险品或腐蚀性材料的区域附近,或者置于超过正常电气干扰或振动水平的区域内。

为了实现最佳性能,设备应在额定环境条件下运行。如果 VSM 7 系统设备必须位于恶劣环境中或附近,则应在安装设备之前考虑额外的环境控制(并在可行的位置实施)以缓解这些因素的影响。

地板构造要求

VSM 7 系统设备设计为在活动地板或实心地板上使用。不建议使用铺有地毯的地面,因为这种地面会吸附灰尘并积聚可能产生破坏的静电电荷。活动地板比实心地板更可取,因为活动地板可使电源电缆和数据电缆安全地远离地板上的来来往往以及其他潜在危险。

地板负载要求

建议地板的总(叠加)负载额定值为 490 千克/平方米(100 磅/平方英尺)。如果地板未达到此额定值,场地工程师或设备管理员必须咨询地板生产商或结构工程师,以计算实际负载并确定是否可安全支持特定 VSM 7 系统配置的重量。

警告:

超过建议的活动地板负载可能会引起地板坍塌,从而导致人员重伤或死亡、设备和基础设施损坏。建议先请结构工程师进行地板负载分析,然后再开始安装 VSM 7 系统设备。

注意:

移动时,VSM 7 机柜产生的地板负载几乎是静止状态时的两倍。为减少地板负载和压力,以及移动 VSM 7 时可能产生的损坏或伤害,请考虑在机柜移动路径的地板上使用 19 毫米/0.75 英寸的胶合板。

地板负载规格和参考

  • 基本地板负载为 730 千克/平方米(149 磅/平方英尺)。

    这是一个未包装 VSM 7 机柜的占地面积(7093.7 平方厘米/1099.5 平方英寸)上的负载,最大重量为 803 千克/1700 磅(如果 192 个阵列磁盘驱动器全部加载)。

  • 最大叠加地板负载为 485 千克/平方米(99 磅/平方英尺)。

    这是假定最小 Z+Z 轴尺寸为 185.3 厘米/73.0 英寸(机柜深度 77.1 厘米/30.4 英寸 + 前端维修空间 54.1 厘米/21.3 英寸 + 后端维修空间 54.1 厘米/21.3 英寸),最小 X+X 轴尺寸为 104.9 厘米/41.2 英寸(机柜宽度 92.1 厘米/36.3 英寸 + 左侧空间 6.4 厘米/2.5 英寸 + 右侧空间 6.4 厘米/2.5 英寸)。

活动地板的横向稳定性额定值

在地震活动频发区域,必须考虑活动地板的横向稳定性。安装了 VSM 7 系统设备的活动地板必须能够承受基座顶部施加的以下水平压力:

  • 地震风险区域 1:13.5 千克/29.7 磅水平压力

  • 地震风险区域 2A:20.2 千克/44.6 磅水平压力

  • 地震风险区域 2B:26.9 千克/59.4 磅水平压力

  • 地震风险区域 3:40.4 千克/89.1 磅水平压力

  • 地震风险区域 4:53.9 千克/118.8 磅水平压力

    注:

    水平压力基于 1991 年的统一建筑规范 (Uniform Building Code, UBC) 第 2336 和 2337 节,并假定多个 VSM 7 机柜的操作间隙为最小值。在 UBC 未涵盖的区域进行安装应经过合理设计,以符合当地管辖区的地震带规定。

活动地板镶板额定值

活动地板镶板上的任意位置都必须能够承受 803 千克(1700 磅)的集中负载和 181 千克(400 磅)的滚动负载,并且最大偏度为 2 毫米(0.08 英寸)。VSM 7 系统设备不需要使用有孔地板镶板,但是如果使用了,则必须遵从相同的额定值。

活动地板基座额定值

活动地板的基座必须能够承受 2268 千克(5000 磅)的轴向负载。在切割了地板镶板以留出检修空间的位置,可能需要使用额外的基座来保持地板镶板的负载容量。

VSM 7 环境规范

注:

由于数据速率和发生的操作数会发生变化,电源和冷却数据的统计信息为近似值。

VSM 7 基本配置

VSM 7 由一个基本单元和多个可选容量升级组成。该基本单元是一个最低配置的 VSM 7,包括:

  • 一个标准 Sun Rack II 机柜,型号为 1242

  • 全高 Sun Rack 10 KV AMP(北美或国际)

  • 特定配置中针对 VSM 7 在出厂时预配置的两台 Oracle SPARC T7-2 服务器,包括 10GbE 以太网 NIC、FICON HBA、SAS3 HBA 和 TDX 卡

  • 两个 Oracle Storage Drive Enclosure DE3-24C 存储磁盘机箱,每个包含 5 个 200GB 闪存 SSD 和 19 个 8TB SAS HDD 驱动器,提供 150TB 本机容量

  • 采用高可用性机架顶端冗余配置的两台 Oracle Switch ES1-24 10GbE 以太网交换机,用于网络管理

  • 安装在 T7-2 FC HBA 中的 SFP(SR 或 LR)

  • 两个 VLE50HZ-POWER-Z 或两个 VLE60HZ-POWER-Z 电源配电设备 (Power Distribution Unit, PDU),具体取决于国家/地区

VSM 7 本机容量

对于包含 Oracle DE3-24C 存储磁盘机箱的 VSM 7,各种可能的本机容量配置如下:

  • VSM 7 基本单元(总共两个存储磁盘机箱):150TB

  • VSM 7 基本单元加一个容量升级套件(总共四个存储磁盘机箱):375TB

  • VSM 7 基本单元加两个容量升级套件(总共六个存储磁盘机箱):600TB

  • VSM 7 基本单元加三个容量升级套件(总共八个存储磁盘机箱):825TB

VSM 7 整体尺寸

SunRack II 1242 机柜(英寸):

  • 高度:78.7

  • 宽度:23.6

  • 深度:47.2

VSM 7 维修空间

SunRack II 1242 机柜(英寸):

  • 顶面:36 英寸这是一般的 Sun Rack II 规范。VSM 7 不需要通过顶面进行访问,除了布线。

  • 前面:42

  • 后面:36

VSM 7 重量

VSM 7 的重量因配置而异,差异在于配置中的存储磁盘机箱的数量。所有重量都是大约数。

基本单元(总共两个存储磁盘机箱):

  • 净重:827 磅/376 千克

  • 运输材料:280 磅/127 千克

  • 装入板条箱后的毛重:1107 磅/503 千克

基本单元加一个容量套件(总共四个存储磁盘机箱):

  • 净重:1047 磅/476 千克

  • 运输材料:280 磅/127 千克

  • 装入板条箱后的毛重:1327 磅/603 千克

基本单元加两个容量套件(总共六个存储磁盘机箱):

  • 净重:1267 磅/576 千克

  • 运输材料:280 磅/127 千克

  • 装入板条箱后的毛重:1547 磅/703 千克

基本单元加三个容量套件(总共八个存储磁盘机箱):

  • 净重:1490 磅/676 千克

  • 运输材料:280 磅/127 千克

  • 装入板条箱后的毛重:1770 磅/803 千克

VSM 7 功率

以瓦 (W) 为单位的典型功耗:

  • 基本单元(两台服务器加两个存储磁盘机箱):5404 W

  • 基本单元加一个扩展套件(两台服务器加四个存储磁盘机箱):6008 W

  • 基本单元加两个扩展套件(两台服务器加六个存储磁盘机箱):6584 W

  • 基本单元加三个扩展套件(两台服务器加八个存储磁盘机箱):7160 W

以瓦 (W) 为单位的最大功耗:

  • 基本单元(两台服务器加两个存储磁盘机箱):5727 W

  • 基本单元加一个扩展套件(两台服务器加四个存储磁盘机箱):6632 W

  • 基本单元加两个扩展套件(两台服务器加六个存储磁盘机箱):7537 W

  • 基本单元加三个扩展套件(两台服务器加八个存储磁盘机箱):8442 W

VSM 7 HVAC

典型散热(BTU/小时):

  • 基本单元(两台服务器加两个存储磁盘机箱):18440 BTU

  • 基本单元加一个扩展套件(两台服务器加四个存储磁盘机箱):20501 BTU

  • 基本单元加两个扩展套件(两台服务器加六个存储磁盘机箱):22466 BTU

  • 基本单元加三个扩展套件(两台服务器加八个存储磁盘机箱):24432 BTU

最大散热(BTU/小时):

  • 基本单元(两台服务器加两个存储磁盘机箱):19542 BTU

  • 基本单元加一个扩展套件(两台服务器加四个存储磁盘机箱):22630 BTU

  • 基本单元加两个扩展套件(两台服务器加六个存储磁盘机箱):25718 BTU

  • 基本单元加三个扩展套件(两台服务器加八个存储磁盘机箱):28806 BTU