The LSMS applications work together as shown below.

The LSMS applications provide the following functions:
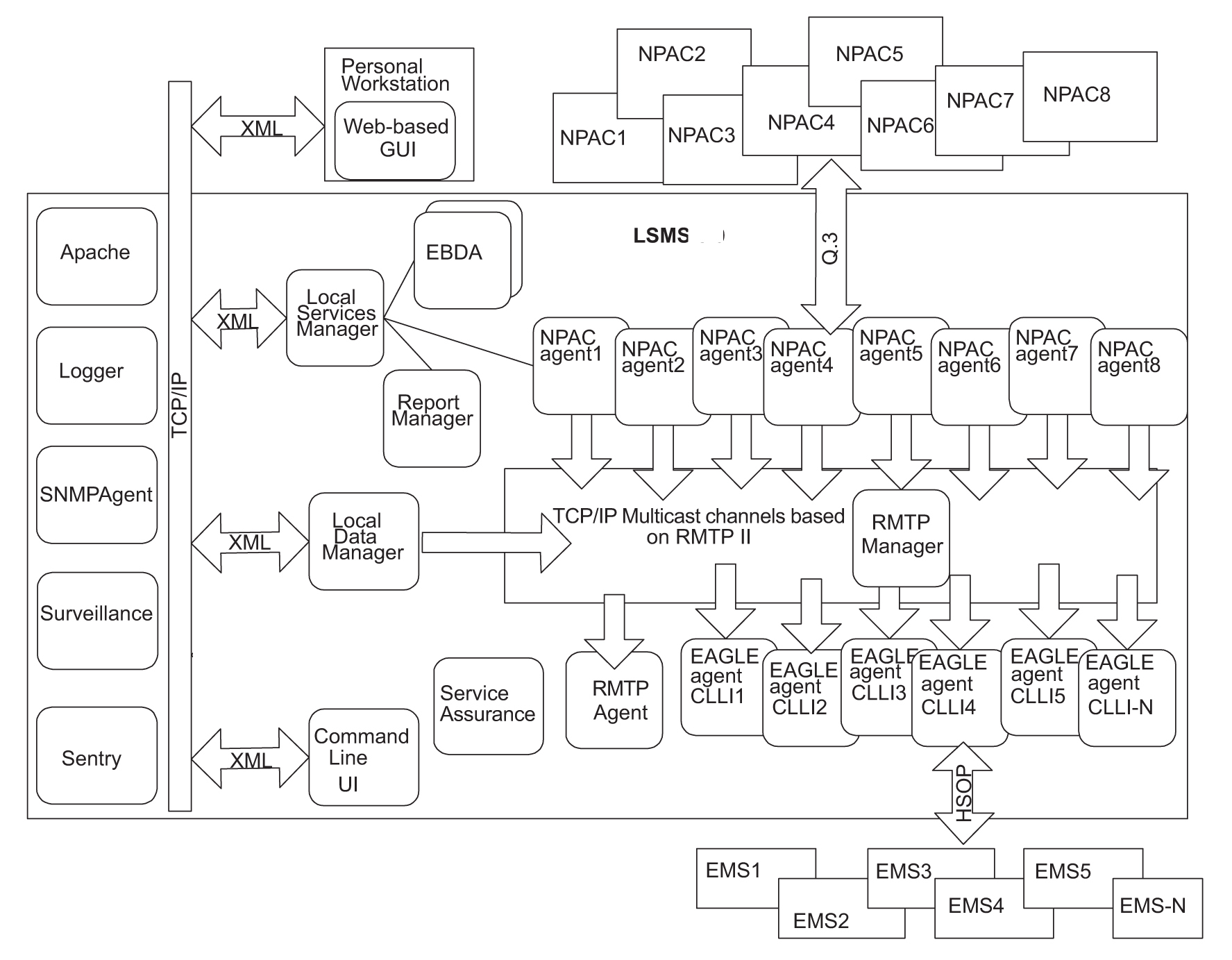
The Local Services Manager (lsman) is responsible for providing an interface between the Local GUI and the web-based GUIs and other LSMS processes. It acts as a gateway to the GUIs for processes (EBDA, Report Manager, and NPAC agents) that do not have direct access to the GUI, using Extensible Markup Language (XML) messages to communicate.
The Local Services Manager also manages how many users can be running simultaneously. The maximum number of users allowed on the LSMS system is eight. A user is defined as a GUI session.
A local GUI
A web-based GUI
A running lsmsclaa application instance. An lsmsclaa application instance provides a command-line interface that can be used by a script or by entering commands on a keyboard. For more information, see #GUID-8A85A4B9-90A0-4E5F-A18E-127102A5D334/34407 and Overview of LSMS Application Commands Entered at the Command-Line Prompt.
The Support for Additional Users optional feature enables you to have a maximum of 25 simultaneous users.
If you attempt to exceed the maximum allowable number of GUI sessions, an error message displays. For example, if you do not have the optional Support for Additional Users feature enabled and you start LSMS GUI sessions on eight different terminals and then attempted to start a ninth GUI session on another terminal, the following error message displays stating that the maximum number of users had been reached:
Maximum number of users reached.
The Local Data Manager (supman) is responsible for:
Provisioning of LSMS configuration information and local data
Communicating with the GUIs using XML messages
Broadcasts all locally provisioned LNP data updates using a Reliable Multicast Transport Protocol (RMTP II) multicast mechanism on a single channel
Updating the resynchronization database with locally provisioned data to facilitate automatic resynchronization with Element Management Systems (EMSs) at the supported network elements
The NPAC Agent application (npacagent) is responsible for:
Connecting with a single NPAC system using the Q.3 protocol and providing all functions required by published NPAC standards
Broadcasting all its updates using the RMTP II multicast mechanism over one broadcast channel
Communicating with the GUIs through the Local Services Manager
One instance of the npacagent process exists for each enabled NPAC region.
The EAGLE Agent application (eagleagent) is responsible for:
Subscribing to the broadcast channels to receive all NPAC and local data updates
Connecting with a single EAGLE node using the High Speed Operations Protocol (HSOP) and forwarding LNP updates to the EAGLE
Filtering LNP data based on the provisioned filter information before forwarding it to the EAGLE (for more information, refer to the Database Administrator's Guide)
Performing automatic resynchronization with an EAGLE node upon connection establishment (for more information, refer to the LNP Database Synchronization User's Guide)
One instance of the eagleagent process exists for each supported EAGLE node.
The RMTPManager (rmtpmgr) is responsible for facilitating the reliable multicast mechanism that allows LNP data updates to reach every EAGLE agent. It acts as a top node in an RMTP broadcast tree. A maximum of 9 broadcast channels exists (up to 8 channels for NPAC agents and 1 for the Local Data Manager).
The RMTPAgent (rmtpagent) is responsible for keeping the broadcast mechanism flowing even when no EAGLE agents are running. The RMTPAgent subscribes to all (up to 9) broadcast channels.
The Local GUI application is responsible for providing a graphical user interface to allow operation of the LSMS by users who are logged into the LSMS administration console or a network-connected workstation through which they have made a telnet connection to the LSMS. Multiple instances of the Local GUI can exist.
The Web-based GUI application runs outside of the LSMS system on a client platform. It provides an IP-based GUI to operate the LSMS and has the same appearance and functionality as the local GUI. Multiple instances of the Web-based GUI can exist.
The Report Manager (reportman) is responsible for producing reports on demand. It can produce up to 10 reports simultaneously.
The Enhanced Bulk Download and Audit process (ebda) is responsible for providing the capability of performing audits, reconciles, bulk loads and user-initiated resynchronizations of an EAGLE LNP database. Multiple instances of the ebda process can exist for different EAGLE nodes.
The Sentry process (sentryd) monitors other software processes and attempts to restart them automatically in certain failure conditions. For more information about the Sentry application, see “Automatically Restarting Software Processes”.
The LSMS Surveillance process (survMon) continually surveys the LSMS hardware and software and sends surveillance notifications to the server’s serial port. Users who want to display surveillance notifications on an administration console can connect Serial Port 3 to the administration console (see Configuring a Customer-Provided Administration Console).
Surveillance is also responsible for monitoring and restarting the sentryd and Service Assurance processes. For more information, see “Understanding the Surveillance Feature”.
The Service Assurance feature allows an external system to access subscription version data from the LNP databases in the LSMS. For more information, see “Understanding the Service Assurance Feature”.
The SNMPAgent (lsmsSNMPAgent) is a process running on the LSMS platform that supports only the SNMPv1 and SNMPv3 trap operation. This process receives (through UDP Linux sockets) LSMS notification events from other LSMS processes and formats these events into trap requests. For more information, see “Understanding the SNMP Agent Process”.
The Logger process (lsmslogd) is responsible for:
Receiving log entries from application processes
Storing them in appropriate log files
Starting new log files every midnight