Go to primary content
Oracle® Communications EAGLE Database Administration - GWS User's Guide
Release 46.6
E93314 Revision 1
Go To Table Of Contents
Contents

Previous
Previous
Next
Next

Gateway Screening Using Duplicate ITU National Point Codes

Note:

The Duplicate ITU National Point Code feature applies only to 14-bit ITU national point codes.

Gateway screening does not support the Duplicate ITU National Point Code Support feature. The point code value specified with the npc parameter can only be a 5-digit number and cannot contain any group code values. However, by assigning a different screenset to the linksets that have different group codes, you can screen on ITU national point codes that have group codes assigned to them. The screenset is assigned to the linkset with the scrn parameter of either the ent-ls or chg-ls command.

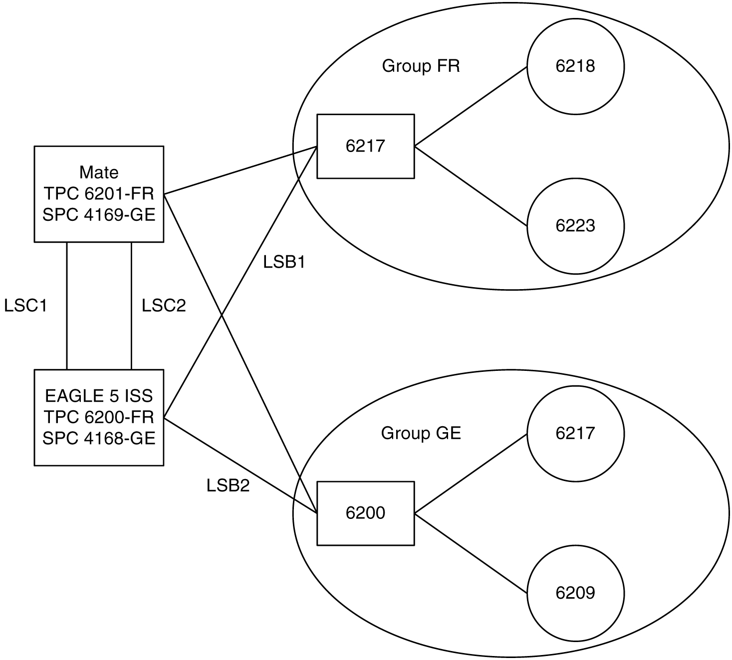
For example, in the network in Figure 2-1, if you want to screen out MSUs coming from OPC 6217 in group GE, but allow MSUs coming from OPC 6217 in group FR, you could assign different screensets to linksets LSB1 and LSB2. The screenset assigned to linkset LSB1 would allow MSUs from OPC 6217. The screenset assigned to linkset LSB2 would block MSUs from OPC 6217.

Figure 2-1 Sample Network Showing Gateway Screening Using Duplicate ITU National Point Codes