4 ラックへのOracle Database Applianceの設置

Oracle Database Applianceをラックに設置するには、次の手順を実行します。

タスクの概要

様々なモデルのOracle Database Applianceをラックに設置する際に実行するタスク。

適切な手順に従ってラックにシステムを取り付けてください。

ノート:

これらの手順では、アプライアンスをラックに設置する方法について説明します。配線の手順については、『デプロイメントおよびユーザー・ガイド』を参照してください。

オプションのコンポーネントの設置

様々なOracle Database Applianceモデルでサポートされているオプションのコンポーネントについて学習します。

オプションのコンポーネントは、ファクトリ構成とは別に購入できます(個別に出荷されます)。可能な場合、オプションのコンポーネントはラックにサーバーを設置する前に取り付けてください。

  • DIMMメモリー・キット:

    • 256 GB (4つの64 GB登録済DIMM)が付属するOracle Database Appliance X11-Sの場合は、512 GBまたは768 GBに拡張するオプションがあります。メモリー・キットは、4つの64 GB登録済DIMMのセットで提供されます。

    • 512 GB (8つの64 GB登録済DIMM)が付属するOracle Database Appliance X11-Lの場合は、1 TBまたは1.5 TBに拡張するオプションがあります。メモリー・キットは、4つの64 GB登録済DIMMのセットで提供されます。両方のプロセッサのDIMMスロットに同様に装着する必要があります。

    • 512 GB (サーバー・ノードごとに8 x 64 GB登録済DIMM)が付属するOracle Database Appliance X11-HAの場合は、サーバー・ノードごとに1 TBまたは1.5 TBへのメモリー拡張を注文するオプションがあります。メモリー・キットは、4つの64 GB登録済DIMMのセットで提供されます。両方のサーバー・ノードのDIMMスロットに同様に装着する必要があります。

    メモリーの設置手順は、サービス・マニュアルを参照してください。

  • ストレージ・ドライブ:

    • スモール・フォーム・ファクタ(SFF) NVMeドライブ2個が前面に取り付けられているデフォルト構成のOracle Database Appliance X11-Lの場合は、オプションで、前面ドライブ・スロット2-3用に2個の2.5インチ6.8 TB NVMe SSDを追加注文することもできます。ドライブはペアで設置する必要があります。

    • Oracle Database Appliance X11-HAの場合は、次のオプションがあります:

      • 基本構成に部分的に移入されたストレージ・シェルフが含まれている場合は、次のようにアップグレードできます。

        • 高パフォーマンス・シェルフの場合、最大18個の7.68 TB SSD (6パックで可能)を追加できます。システムが実行されているストレージを追加し、アプライアンスのCLIソフトウェア・コマンドを使用してストレージ構成を拡張できます。

        • 大容量シェルフの場合、18個の22 TB HDD (18パックで可能)を追加できます。アプライアンスの電源を切断し、ストレージを追加し、アプライアンス・ソフトウェアを再イメージ化して再デプロイする必要があります。これは、アプライアンスをデフォルトの高パフォーマンス・モードから大容量モードに再構成するために必要です。

      • 既存のアプライアンスのストレージ・シェルフが完全に移入されていた場合、あるいは7.68 TB SSD 6個の部分的に移入された基本ストレージ・シェルフ構成を7.68 TB SSD 18個または22 TB HDD 18個で拡張した場合は、ストレージ・シェルフを追加できます。システムが実行されているストレージ拡張シェルフを追加し、アプライアンスのCLIソフトウェア・コマンドを使用してストレージ構成を拡張できます。

        ノート:

        既存のストレージ・シェルフが完全に移入され、購入したストレージ・シェルフが既存のストレージ・シェルフと同一に構成(同じスロット内の同じドライブ)されていないかぎり、(完全に移入される)ストレージ拡張シェルフは追加できません。

    ストレージ・ドライブの設置手順については、サービス・マニュアルを参照してください。

  • オプションのPCIeアドイン・カード(AIC)ストレージ:

    Oracle Database Appliance X11-Lの場合は、システムごとに最大4つのOracle Flash Accelerator 680 PCIeカードを注文するオプションがあります。

    ノート:

    システムにOracle Flash Accelerator 680 PCIeカードを取り付ける前に、前面に取り付けられている4つすべてのSFF NVMeドライブのスロットが装着済であることを確認する必要があります。

    PCIeカードを取り付ける手順については、サービス・マニュアルを参照してください。カードの交換後のソフトウェア構成の手順については、デプロイメントおよびユーザーズ・ガイドを参照してください。

  • オプションのネットワーク・カード:

    Oracle Database Appliance X11シリーズでは、システムごと(X11-HAの場合はノードごと)に追加で最大2個のパブリック・ネットワークPCIeカードを注文するオプションがあります。サポートされるネットワーク・カードには、Oracle Dual Port 25 Gb Ethernet AdapterおよびOracle Quad Port 10GBase-T Adapterが含まれます。追加のパブリック・ネットワーク・カードは、すでに取り付けられているパブリック・ネットワーク・カード(タイプおよびモデル)と一致している必要がありません。

    ノート:

    すでにシステムにあるパブリック・ネットワーク・カードを交換する場合は、デプロイメントおよびユーザー・ガイドの手順に従って、ソフトウェア経由で既存のネットワーク・カードとインタフェースを削除する必要があります。ファクトリで取り付けられたPCIeスロット5のパブリック・ネットワーク・カードまたはPCIeスロット1のクラスタ・インターコネクト・カードは交換できません。

    PCIeカードを取り付ける手順については、サービス・マニュアルを参照してください。カードの交換後の配線およびソフトウェア構成の手順については、デプロイメントおよびユーザー・ガイドを参照してください。

ラック取付け時の安全上の注意

Oracle Database Applianceのラックを設置する際の安全上の注意事項について学習します。

この項では、サーバーをラックに設置するときの安全上の注意について説明します。

注意:

人的傷害または装置の損傷。ラックの転倒を防止してください。1) 設置前に、機器ラックの転倒防止バーまたは脚を伸ばしてください。2)ラックの上側が重くなって倒れないように、ラックには常に下から上に機器を搭載してください。3) 不均等または危険な機械的荷重が生じないようにラックに機器を搭載します。4) スライド・レールに取り付けられた機器を棚または作業空間として使用しないでください。

注意:

温度上昇による機器の損傷。1) 機器が密閉されたラック・アセンブリや複数ユニットのラック・アセンブリに設置されている場合、ラック内の動作時周囲温度がサーバーに規定された最大周囲温度を超えないようにしてください。サーバーの環境要件の詳細は、「環境仕様」を参照してください。2) 空気の流れを妨げないように、ラックに機器を設置してください。

注意:

電源回路の損傷およびデータの損失。システムに電源を供給するのに使用されるAC回路の定格電力は、システムに必要な最大値である必要があります。入力電力の要件の詳細は、「電気仕様」を参照してください。

注意:

装置の損傷。接地を確実に維持してください。分岐回路への直接接続以外の電源の接続(テーブル・タップの使用など)には特に注意してください。

注意:

装置の損傷。発送用パレットにラック・キャビネットを固定するために使用される発送用金具は、地震時にラック・キャビネットを固定するためにデータ・センターで使用するものではありません。

ESDの注意

Oracle Database Applianceのラック設置時の静電気放電に関する注意事項について学習します。

注意:

装置の損傷。静電破壊を回避するには、コンポーネントを設置または使用する際に次の事項に注意してください。

  • 静電気防止放電マット、静電気防止バッグまたは使い捨ての静電気防止マットなど、静電気を防止する面にコンポーネントを設置してください。

  • システム・コンポーネントを取り扱う際は、シャーシの金属表面に接続された静電気防止用ストラップを装着してください。

ラックの互換性要件

Oracle Database Applianceを設置するための基本的なラック要件について学習します。

ラック取付けハードウェアは、次の表の要件を満たす特別なラックにのみ使用できます。

特性 Oracle Database Appliance X11-S/X11-L Oracle Database Appliance X11-HA

ラック構造

4本柱のラック(前方と後方に取付け)。サポートされるラック・タイプ: 角穴(9.5 mm)および丸穴(M6または1/4-20ねじのみ)。2本柱のラックには互換性がありません。

4本柱のラック(前方と後方に取付け)。サポートされるラック・タイプ: 角穴(9.5 mm)および丸穴(M6または1/4-20ねじのみ)。2本柱のラックには互換性がありません。

使用可能なスペース

2ラック・ユニット(RU)の使用可能なスペースが必要です。

8RU (オプションのストレージ拡張シェルフなし)。

12RU (オプションのストレージ拡張シェルフあり)。

ラックの水平開口部とユニットの垂直間隔

ANSI/EIA 310-D-1992またはIEC 60297規格に準拠します。

ANSI/EIA 310-D-1992またはIEC 60297規格に準拠します。

前方取付け面と後方取付け面との距離

最小値610mmおよび最大値915mm(24インチから36インチ)。

最小値610mmおよび最大値915mm(24インチから36インチ)。

前方取付け面の前の隙間

前面のキャビネット・ドアまでの距離が25.4mm(1インチ)以上。

前面のキャビネット・ドアまでの距離が25.4mm(1インチ)以上。

前方取付け面の裏の隙間

背面のキャビネット・ドアまでの距離は、ケーブル管理アームを使用する場合は900mm (35.43インチ)以上、ケーブル管理アームを使用しない場合は800mm (31.5インチ)。

背面のキャビネット・ドアまでの距離は、ケーブル管理アームを使用する場合は900mm (35.43インチ)以上、ケーブル管理アームを使用しない場合は800mm (31.5インチ)。

前方取付け面と後方取付け面との隙間

構造支柱とケーブル・トラフとの距離が456mm(18インチ)以上。

構造支柱とケーブル・トラフとの距離が456mm(18インチ)以上。

サービス・アクセスのための最小の隙間

前方の隙間: 123.2cm (48.5インチ)

後方の隙間: 91cm (36インチ)

前方の隙間: 123.2cm (48.5インチ)

後方の隙間: 91cm (36インチ)

サーバー・ノードの寸法

Oracle Database Appliance X11シリーズの物理的仕様

Oracle Database Appliance X11シリーズの物理的仕様

ストレージ・シェルフの寸法

N/A

Oracle Database Appliance X11シリーズの物理的仕様

ラックへのシステムの設置

様々なOracle Database Applianceモデルをラックに設置する方法を説明する手順。

注意:

人的傷害または装置の損傷。ラックの上側が重くなって倒れないように、常に下から上にラックに機器を搭載してください。機器の設置中にラックが倒れないように、ラックの転倒防止バーを伸ばしてください。

ラックへのOracle Database Appliance X11-S/X11-Lの設置

Oracle Database Appliance X11-S/X11-Lをラックに設置する方法を説明する手順。

発送箱の内容

物理的な損傷の形跡があるかどうかについて、Oracle Database Applianceシステムの発送用梱包箱を点検してください。発送用段ボール箱に損傷がある場合は、運送業者の担当者に、段ボール箱を開梱する際の立ち合いを依頼してください。担当者による点検のために、すべての内容物および梱包材を保管しておいてください。

サーバーの発送キットには、次の品目が含まれています。

  • 電源コード(カントリ・キットとは別に梱包)

  • ラック・レール、ハードウェア、テンプレートおよび設置説明書を含むレール・キット

  • 様々なハードウェア、ケーブルおよびコネクタ

  • セットアップ・ブックレット

  • 法律および安全性に関するドキュメント

必要なツールおよび機器

Oracle Database Applianceの設置を開始する前に、次のツールと機器を用意します。

  • 長さ4インチ以上のNo. 2プラス・ドライバ

  • ねじ山のあるラックを使用する場合、T20 Torxドライバ

  • 機械式リフトを強くお薦めします

設置用のラックの固定

注意:

人的傷害または装置の損傷。人的傷害のリスクを軽減するには、ラック・キャビネットを固定し、サーバーの設置前に転倒防止デバイスを伸ばします。

詳細な手順については、ラック・キャビネットのドキュメントを参照してください。

  1. 設置場所で開梱する場合は、ラック・キャビネットを移動する前にラック・キャビネットの水平調整脚が上がっていることを確認してください。
  2. ラック・キャビネットの前面ドアと背面ドアが設置の妨げになっている場合は取り外します。
  3. 設置中にラック・キャビネットが倒れないように、ラック・キャビネットの前面の底にある、転倒防止脚または転倒防止バーを完全に伸ばします。
  4. 横転を防ぐために水平調整脚がラック・キャビネットの下にある場合は、ラック・キャビネットがデータ・センター内の位置に来たら、調整脚を床まで完全に伸ばします。
  5. 再梱包を含め、別の場所にラック・キャビネットを移動する場合は、ラック・キャビネットを移動する前に水平調整脚が上がっていることを確認します。
ラック取付けキットの内容

次の図は、ラック取付けキットの内容を示しています。スライドレールおよびケーブル管理アーム・オプションを使用してサーバーを4本柱のラックに設置する方法の詳細は、ラック取付けテンプレートを参照してください。
ラック取付けキットの内容を示す図。

コールアウト 説明

1

スライドレール

2

取付け用金具

3

4個のM4 x 5ファインピッチ取付け用金具固定ねじ(オプション)

4

ラック取付けテンプレート

サーバーへの取付け用金具の設置

サーバーの両側への取付け用金具の設置手順は次のとおりです。

  1. スライド・レール・ロックがサーバーの前面にくるように、取付け用金具の位置をシャーシに合わせ、取付け用金具の5個のキー穴をシャーシの側面の5個の位置決めピンに合わせます。
    aog-302_slide-mounting-bracket.pngの説明が続きます
    図aog-302_slide-mounting-bracket.pngの説明
    コールアウト 説明

    1

    シャーシ前面

    2

    スライドレール・ロック

    3

    取付け用金具

    4

    取付け用金具クリップ

  2. 5個のシャーシ位置決めピンの頭が取付け用金具の5つのキー穴からはみ出したら、取付け用金具クリップがカチッという音をたててロックされるまで、取付け用金具をシャーシの前面に向かって引っ張ります。
  3. 背面の位置決めピンが取付け用金具クリップにはまっていることを確認します。
  4. ステップ1から3を繰り返して、サーバーの反対側の他の取付け用金具を設置します。
ラック取付け位置のマーク

サーバーを設置するラック内の位置を特定します。Oracle Database Applianceサーバーには2ラック・ユニット(2U)が必要です。ラック取付けテンプレートを使用して、スライドレールの正しい取付け穴を特定します。

注意:

ラックの上側が重くなって倒れないように、常に下から上にラックに機器を搭載してください。機器の設置中にラックが倒れないように、ラックの転倒防止バーを伸ばしてください。

  1. ラック・キャビネットにサーバーを設置するための2ラック・ユニット(2U)以上の垂直空間があることを確認します。ラックの互換性を参照してください。
  2. ラック取付けテンプレートを前面レールに当てて、ラック取付けテンプレートの下部から測定します。ラック取付けテンプレート・カードの下端がサーバーの下端に対応します。mm-10237_rackmount-template.pngの説明が続きます
    図mm-10237_rackmount-template.pngの説明
  3. 前面スライド・レールの取付け穴をマークします。mm-10237_rackmount-template-4-drive.pngの説明が続きます
    図mm-10237_rackmount-template-4-drive.pngの説明
  4. 背面スライド・レールの取付け穴をマークします。
AC電源ケーブルとサーバー・スライドレールのラックへの接続

次の手順を使用して、サーバー・スライドレール・アセンブリをラックに接続します。

ノート:

システムに付属するサーバーの直角AC電源ケーブルを必ず取り付けてください。一部のラックでは、標準レール・キットのスライドレールによって配電盤(PDU)電気ソケットの前面へのアクセスが妨げられます。まずAC電源ケーブルをPDUに差し込み、次にスライドレールをラックに取り付けます。スライドレールを取り付けた後、標準AC電源ケーブルをPDUから取り外すことはできませんが、システムの電源装置から取り外すことができます。

  1. サーバー・スライドレールをラックに取り付ける前に、システムに付属しているAC電源ケーブルの直角の先端を、左側と右側のラックのPDU電気ソケットに取り付けます。

    ノート:

    左右のラックPDU間でAC電源コードを分割すると、冗長電源を備えたデバイスでプライマリ電源装置を1つのPDUに接続し、セカンダリ(冗長)電源装置を別のPDUに接続できるため、冗長性が向上します。
    mm-10238_ac-pwr-cords.pngの説明が続きます
    図illustration mm-10238_ac-pwr-cords.pngの説明
  2. ボールベアリング・トラックが前方で、適切な位置で固定されるように、システムのスライドレール・アセンブリを正しい向きに置きます。

    a1085_x4270m3_orient_sliderail.jpgの説明が続きます
    図a1085_x4270m3_orient_sliderail.jpgの説明
    コールアウト 説明

    1

    スライドレール

    2

    ボールベアリング・トラック

    3

    ボールベアリング固定機構

  3. ラックの左側または右側のいずれかから、スライドレール・アセンブリの背面を背面ラック・レールの内側に合わせ、カチッという音がしてロックされるまでアセンブリを押します。
  4. スライド・レール・アセンブリの前面をラック・レールの前面の外側に合わせ、カチッという音がしてロックされるまでアセンブリを押します。
  5. ステップ2から4を繰り返して、ラックの反対側にスライドレール・アセンブリを接続します。
スライド・レール・アセンブリへのサーバーの設置

次の手順により、サーバー・シャーシを、取付け用金具を使用して、ラックに取付けられたスライド・レール・アセンブリに設置します。

注意:

人的傷害または機器の破損: サーバーの重量のため、この手順には2人以上が必要です。この手順を1人で実行すると、装置が損傷したり、けがをする可能性があります。

ラックの上側が重くなって倒れないように、常に下から上にラックに機器を搭載してください。機器の設置中にラックが倒れないように、ラックの転倒防止バーを伸ばしてください。

  1. ラック・キャビネットの前面の底にある転倒防止バーを完全に伸ばします(まだ行っていない場合)。
  2. スライド・レールをラック内のスライド・レール・アセンブリへできるかぎり押し込みます。
  3. 取付け用金具の後端が、ラックに取付けられたスライド・レール・アセンブリと揃うようにサーバーの位置を決めます。
  4. 取付け用金具をスライドレールに挿入して、取付け用金具がスライドレールの終端と同じ高さになるまで(約30cmまたは12インチ)サーバーをラックに押し込みます。
    aog-250_server-mtng-brkt-rack.pngの説明が続きます
    図aog-250_server-mtng-brkt-rack.pngの説明
    コールアウト 説明

    1

    取付け用金具のスライド・レールへの挿入

    2

    スライド・レールの解放ボタン

    3

    スライドレール・ロック

  5. 各取付けブラケットにある緑色のスライドレール・リリース・ボタンを押したまま、サーバーをラックに押し込みます。スライド・レール・ロック(取付け用金具の前面にある)がカチッという音がしてスライド・レール・アセンブリにはまるまで、サーバーをラックに押し込みます。

    aog-248_maint-position-latch-release.pngの説明が続きます
    図aog-248_maint-position-latch-release.pngの説明

    注意:

    オプションのケーブル管理アームを設置する前に、サーバーが安全にラックに取り付けられており、スライド・レール・ロックが取付け用金具にはまっていることを確認してください。

  6. 次の内の1つを実行します。
    • オプションのケーブル管理アームを購入した場合は、次の項に進みます。
    • オプションのケーブル管理アームを購入していない場合は、ラックの転倒防止メカニズムを通常の位置に戻し、AC電源のプラグをシステムに差し込みます。
ケーブル管理アームの設置(オプション)

次の手順を使用してケーブル管理アーム(CMA)を設置します。これによりサーバーの背面に接続されたケーブルを管理できます。

ノート:

CMAを設置する前に、直角AC電源ケーブルに十分な長さがあり、CMAを介して配線する際にラックに取り付けられたサーバーに接続できることを必ず確認してください。

  1. 次のコンポーネントを含むCMAを開梱します。

    a2484_cma_components.jpgの説明が続きます
    図a2484_cma_components.jpgの説明
    コールアウト 説明

    1

    コネクタA

    2

    前面のスライド・バー

    3

    面ファスナー・ストラップ(6)

    4

    コネクタB

    5

    コネクタC

    6

    コネクタD

    7

    スライド・レール・ラッチ金具(コネクタDで使用)

    8

    背面のスライド・バー

    9

    サーバーのフラット・ケーブル・カバー

    10

    サーバーのラウンド・ケーブル・カバー(オプション)

  2. CMAの設置の準備を行います。
    1. サーバー用のフラット・ケーブル・カバーがCMAに取り付けられていることを確認します。
    2. 6個の面ファスナー・ストラップがCMAに装着されていることを確認します。

      ノート:

      ステップ1の図に示したとおり、前面のスライド・バーにある2個の面ファスナー・ストラップが、スライド・バーの上の穴を通って装着されていることを確認します。これにより、サーバーをラックから引き出したり、ラックに戻すときに、面ファスナー・ストラップがスライド・バーの伸縮の邪魔になりません。

    3. CMAの取付けを容易にするために、サーバーをラックの前面から約13cm (5インチ)引き出します。
    4. CMAを機器ラックの後ろに持っていき、サーバーの後ろに作業するのに十分な空間があることを確認します。

      ノート:

      この手順に出てくる"左"および"右"は、機器ラックの背面に向かっていると仮定しています。

      ノート:

      この設置手順全体で、4つの取付け地点のすべてで固定されるまで、CMAを支えて、重さで垂れ下がらないようにします。

  3. 左スライド・レールにCMAのコネクタAを取り付けるには:
    1. CMAのコネクタAを、カチッと音がして正しい位置に固定されるまで、左スライド・レールの前スロットに挿入します[1および2]。

      コネクタAのつまみ(コールアウト1)はスライド・レールの前スロットに挿入されます(コールアウト2)。

    2. 前面のスライド・バーの左側をやさしく引っ張り、コネクタAが正しく収まっていることを確認します。

      a2498_new_frt_slide_bar_connx72.pngの説明が続きます
      図a2498_new_frt_slide_bar_connx72.pngの説明
      コールアウト 説明

      1

      コネクタAのつまみ

      2

      左スライド・レールの前スロット

  4. 右スライド・レールにCMAのコネクタBを取り付けるには:
    1. CMAのコネクタBを、カチッと音がして正しい位置に固定されるまで、右スライド・レールの前スロットに挿入します[1および2]。

      コネクタBのつまみ(コールアウト1)はスライド・レールの前スロットに挿入されます(コールアウト2)。

    2. 前面のスライド・バーの右側をやさしく引っ張り、コネクタBが正しく収まっていることを確認します。

      a2502_cma_frt_side_bar_lt_installx72.pngの説明が続きます
      図a2502_cma_frt_side_bar_lt_installx72.pngの説明
      コールアウト 説明

      1

      コネクタBのつまみ

      2

      右スライド・レールの前スロット

  5. 右スライド・レールにCMAのコネクタCを取り付けるには:
    1. 固定用ばね(コールアウト1)が右スライド・レールの内側(サーバー側)に来るように、コネクタCをスライド・レールに合せます[1]。
      mm-10236_rt_slide_rear_conn.pngの説明が続きます
      図mm-10236_rt_slide_rear_conn.pngの説明
      コールアウト 説明

      1

      コネクタCの固定用ばね

    2. コネクタCを、カチッと音がして正しい位置に固定されるまで、右スライド・レールに挿入します[2および3]。
    3. CMAの背面のスライド・バーの右側をやさしく引っ張り、コネクタCが正しく収まっていることを確認します。
  6. CMAのコネクタDの取付けを準備するには、スライド・レール・ラッチ金具をコネクタDに固定しているテープを取り外し、ラッチ金具の位置がコネクタDと完全に合っていることを確認します[1および2]。

    ノート:

    CMAは、コネクタDにテープで貼られたスライド・レール・ラッチ金具とともに出荷されます。このコネクタを取り付ける前に、テープを剥がす必要があります。


    a2489_lft_latch_bracket_2_panels.jpgの説明が続きます
    図a2489_lft_latch_bracket_2_panels.jpgの説明
  7. 左スライド・レールにCMAのコネクタDを取り付けるには:
    1. スライド・レール・ラッチ金具を正しい位置で保持しながら、コネクタDおよびそれに関連するスライド・レール・ラッチ金具を、カチッと音がしてコネクタDが正しい位置に固定されるまで左スライド・レールに挿入します[1および2]。

      ノート:

      コネクタDをスライド・レールに挿入する場合に推奨される簡単な方法は、コネクタDとラッチ金具を1つのアセンブリとしてスライド・レールに取り付けることです。

    2. CMAの背面のスライド・バーの左側をやさしく引っ張り、コネクタDが正しく収まっていることを確認します。

      ノート:

      スライド・レール・ラッチ金具には緑色の解放つまみがあります。コネクタDを取り外せるように、このつまみを使用して、ラッチ金具を解放して取り外します。

      mm-10239_cma_frt_side_bar_lt_install.pngの説明が続きます
      図mm-10239_cma_frt_side_bar_lt_install.pngの説明
  8. CMAがその重みで垂れ下がる前に、4つのCMAの接続地点をやさしく引っ張り、CMAコネクタが完全に固定されていることを確認します。
  9. CMAにケーブルを通す前にスライド・レールとCMAが正しく動作することを確認するには:
    1. サーバーを引き出すときにラックが前方に倒れないように、ラックの転倒防止バーを必ず伸ばします。

      注意:

      人的傷害のリスクを軽減するには、ラック・キャビネットを固定し、サーバーをラックから引き出す前に転倒防止バーを伸ばします。

    2. スライド・レールが終端に届くまで、サーバーをラックからゆっくりと引き出します。
    3. 接続されたケーブルにねじれや引っかかりがないか検査します。
    4. スライド・レールでCMAが完全に伸びることを確認します。
  10. サーバーをラックに戻すには:
    1. 2つの緑色の解放つまみ(サーバーの各側に1つずつ)をサーバーの前面に向かって同時に引いたまま、サーバーをラックに押し込みます。ラックにサーバーを押し込むときに、CMAがひっかからずに引っ込むことを確認してください。
    2. 緑色の解放つまみを引っ張るには、各つまみの端ではなく中央に指を置いて、圧力を加えながら、サーバーの前面方向につまみを引きます。
    3. スライド・レールのロック(サーバーの前面にある)がスライド・レール・アセンブリにはまるまで、サーバーをラックに押し込みます。

      サーバーが通常のラック位置に来ると、カチッと音がします。

    4. ラックの転倒防止メカニズムを通常の位置に戻します。
  11. 必要に応じて、ケーブルをサーバーに接続します。
  12. CMAケーブル・カバーを開け、(次の各ステップで指定されている順序で)サーバー・ケーブルをCMAのケーブル・トラフに通して、ケーブル・カバーを閉じ、ケーブルを6個の面ファスナー・ストラップで固定します。
    1. 最初に、最も前のケーブル・トラフを通ります。
    2. 次に、小さなケーブル・トラフを通ります。
    3. 次に、最も後ろのケーブル・トラフを通ります。

      注意:

      前面のスライド・バーにある面ファスナー・ストラップでケーブルを固定するときには、面ファスナー・ストラップがスライド・バーの下部に巻き付いていないことを確認します。そうしないと、サーバーをラックから引き出したりラックに戻すときに、スライド・バーの伸縮が妨げられる可能性があります。

      mm-10240_2u_cabls_installed.pngの説明が続きます
      図mm-10240_2u_cabls_installed.pngの説明
  13. 固定したケーブルが、それが接続されているサーバーの上部の上や下部の下まで伸びていないことを確認します。

    そうしないと、サーバーをラックから引き出したりラックに戻したりするときに、そのケーブルがラックに設置された他の装置に引っかかる可能性があります。

  14. 必要に応じて、追加の面ファスナー・ストラップでケーブルを束にまとめ、他の装置の邪魔にならないようにします。

    ノート:

    追加の面ファスナー・ストラップを取り付ける必要がある場合は、ストラップをケーブルにのみ巻き付け、CMAコンポーネントには巻き付けないでください。そうしないと、サーバーをラックから引き出したりラックに戻すときに、CMAスライド・バーの伸縮が妨げられる可能性があります。

ラックへのOracle Database Appliance X11-HAの設置

Oracle Database Appliance X11-HAをラックに設置する方法を説明する手順。

注意:

システム障害。Oracle Database Applianceは一緒に設置する必要のある適合セットのコンポーネントで出荷されます。別のシステムのコンポーネントと混合するとシステム障害が発生する可能性があります。

発送箱の内容

Oracle Database Appliance X11-HAの発送箱の内容一覧。

Oracle Database Appliance X11-HAの場合、サーバー・ノードは1つのパレットに載って出荷され、ストレージ・シェルフとストレージ拡張シェルフは別々に出荷されます。各コンポーネントには、取付けハードウェア、ケーブルおよびラベルが含まれます。

注意:

システム障害。出荷内のすべてのアイテムは1つのシステムとして一緒に使用されるように設計されています。別の出荷のコンポーネントと混合しないでください。システム障害が発生することがあります。詳細は、「コンポーネントの互換性の確認」を参照してください。

アプライアンスに必要な項目は次のとおりです。

  • サーバー・ノード0およびサーバー・ノード1 (一緒に出荷されます)

  • サーバー・ノード0および1の取付けハードウェア、ケーブルおよびラベル

  • 1個のストレージ・シェルフ(別途出荷される場合があります)

  • ストレージ・シェルフのラック取付けハードウェア

オプションのストレージ拡張シェルフを注文した場合、そのシェルフは別個に出荷されます。

設置順序

Oracle Database Appliance X11-HAをラックに設置する際の正しい設置順序を把握します。

機器のラックへの設置は、必ず下から開始して上へ向かって作業してください。Oracle Database Appliance X11-HAの場合、次の順序で機器を設置します:

  1. 装備される場合はストレージ拡張シェルフ(利用可能なラック・スペースの最下部)。

  2. ストレージ・シェルフ(その上側のラック・スペース)。

  3. サーバー・ノード0 (その上側のラック・スペース)。

  4. サーバー・ノード1 (その上側のラック・スペース)。

コンポーネントの互換性の確認

ファクトリから一緒にバンドルされたアプライアンス・コンポーネントが接続されていることを確認します。

Oracle Database Appliance X11-HAの場合、サーバー・ノードはファクトリでバンドルされ、システムに適合した最上位レベル識別子(TLI)番号になります。両方のサーバー・ノードのTLIは同じである必要があります。ストレージ・シェルフとストレージ拡張シェルフのTLIは別々になります。

ノート:

最初の設置後に、システムにストレージ拡張シェルフを追加する(つまり、ストレージ拡張シェルフがアプライアンスの初期構成注文の一部ではなかった)場合、そのTLIはシステムのその他の部分とは異なります。このシナリオの場合、追加コンポーネントがメイン・アプライアンスのTLIとは異なるTLIを持つのは適切です。

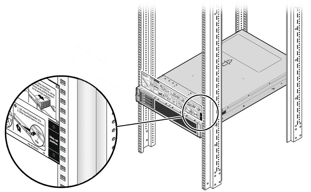
  1. 両方のサーバー・ノード、ストレージ・シェルフ、および(ある場合)ストレージ拡張シェルフのTLIを探します。

    TLIラベルは、コンポーネントの上部、左側、前面近くにあります。次の図に、TLIラベルの例を示します。

  2. 前述のように、それが必要なシステム内のすべてのコンポーネントに同じTLI番号(TLI部品番号とTLIシリアル番号)が付いていることを確認します。
必要なツールおよび機器

Oracle Database Appliance X11-HAを設置するために必要なツール一覧。

Oracle Database Appliance X11-HAの設置を開始する前に、次のツールと機器を用意します。

  • 長さ4インチ以上のNo. 2プラス・ドライバ

  • ねじ山のあるラックを使用する場合、T20 Torxドライバ

  • 機械式リフトを強くお薦めします

    注意:

    人的傷害または装置の損傷。ストレージ・シェルフの重さは約51ポンド(23kg)あります。機械式リフトが使用できない場合、3名でラックへ格納してください。

設置用のラックの固定

注意:

人的傷害または装置の損傷。人的傷害のリスクを軽減するには、ラック・キャビネットを固定し、サーバーの設置前に転倒防止デバイスを伸ばします。

詳細な手順については、ラック・キャビネットのドキュメントを参照してください。

  1. 設置場所で開梱する場合は、ラック・キャビネットを移動する前にラック・キャビネットの水平調整脚が上がっていることを確認してください。
  2. ラック・キャビネットの前面ドアと背面ドアが設置の妨げになっている場合は取り外します。
  3. 設置中にラック・キャビネットが倒れないように、ラック・キャビネットの前面の底にある、転倒防止脚または転倒防止バーを完全に伸ばします。
  4. 横転を防ぐために水平調整脚がラック・キャビネットの下にある場合は、ラック・キャビネットがデータ・センター内の位置に来たら、調整脚を床まで完全に伸ばします。
  5. 再梱包を含め、別の場所にラック・キャビネットを移動する場合は、ラック・キャビネットを移動する前に水平調整脚が上がっていることを確認します。
サーバー・ノードへのラベルの貼付

アプライアンスをラックに設置する前にサーバー・ノードのラベルを貼付するには、このタスクを実行します。

  1. ラベルを探します。

    発送キットにはサーバー・ノードのラベルが含まれています。ストレージ・シェルフ・ラベルは、出荷時に貼付されています。

  2. ラベルを貼付する場所の油分や塵がきれいに除去されていることを確認してください。
  3. 必要な場所にラベルを貼付します。

    接着ラベルの裏紙をはがして、アプライアンスのフロント・パネルの右側の対応する場所に、ラベルを貼付します。

    • サーバー・ノード1: このラベルを上のサーバー・ノードに貼付します[1]。

    • サーバー・ノード0: このラベルを下のサーバー・ノードに貼付します[2]。

    次の図は、ラベルを貼付ける場所を示しています。



    コールアウト 説明

    1

    サーバー・ノード1

    2

    サーバー・ノード0

    3

    ストレージ・シェルフ

ラックへのストレージ・シェルフの設置

Oracle Database Appliance X11-HAストレージ・シェルフをラックに設置する方法について説明します。

Oracle Database Appliance X11-HAでは、Oracle Storage Drive Enclosure DE3-24Cをストレージ・シェルフとして使用します。ストレージ・シェルフには、キャビネット内に4本の標準取付けユニット(4RU)のための垂直方向の空間が必要です。

  1. キャビネットの下部から開始して、ラック・ユニット(RU)の適切な高さを見つけます。

    ラックの転倒を防止するため、ストレージ・シェルフはサーバー・ノードの下に設置する必要があります。

  2. ストレージ・シェルフ・レール・キット・ボックスを開き、キットに含まれるケージ・ナット・パケットを見つけて、ラックで角穴と丸穴のどちらが使用されているかを確認します。

    ケージ・ナット・パケットには、ケージ・ナットを配置するために丸穴型ラックと角穴型ラック用のいずれかの特別なテンプレートが含まれています。

    ノート:

    次のステップは、角穴型ラックを使用したレール・キットの取付けを示しています。丸穴型ラックにも同じステップが適用されます。

    次の図は、ラック・レール取付けキットの内容を示しています。

    コールアウト 説明

    1

    2本の調整可能なストレージ・シェルフ・レール

    2

    ケージ・ナットの取付けテンプレート

    3

    背面10-32 7mmの輸送用ねじ6本(2本は予備)

    4

    1セットごとに4本の丸型7mm 10-32ケージ・ナット(2本は予備)。角型または丸型の1セットのみが必要です。

    5

    ケージ・ナット・ツール

    6

    1セットごとに4本の角型9.5mm 10-32ケージ・ナット(2本は予備)。角型または丸型の1セットのみが必要です。

  3. 次のように、ストレージ・シェルフ・レールをラックに取り付けます。
    1. 刻印されたラベル(LEFTまたはRIGHT)がラックの内側を向くように、レールの向きを決めます。
    2. ラックの前面と背面に収まるようにレールの長さを調整します。

      ノート:

      ストレージ・シェルフ・レールを最初に均等かつ正しく設置するために、使用するラック・レールの穴をマークします。

    3. クランプ・レバー[1]を押してレールの各端にあるレール・クランプを開いたままにし、レールの両端を適切なラック穴[2]に挿入します。

      次の図は、ストレージ・シェルフ・レールをラックに取り付ける方法を示しています。

    4. クランプ・レバーを解放して、レール・クランプをレール上で閉じます。

      クランプがラック・レール上で所定の位置にロックされると、カチッと音がします。

    5. 2つ目のレールについて、ステップ3aから3dを繰り返します。
  4. ラックを通して各レールの背面に1本のねじを設置します。

    次の図は、ストレージ・シェルフ・レールをラックに固定する方法を示しています。

  5. 前面ケージ・ナットを取り付けます。

    注意:

    前面ケージ・ナットを使用せずにストレージ・シェルフを設置すると、ストレージ・シェルフが不安定になります。ストレージ・シェルフをラックから取り外してケージ・ナットを取り付ける必要があります。

    次の図は、前面ケージ・ナットをラックに取り付ける方法を示しています。

    コールアウト 説明

    1

    ケージ・ナット

    2

    ケージ・ナットの取付けテンプレート

    3

    ケージ・ナット・ツール

    1. テンプレート[2]を使用して、ケージ・ナットの配置を決定します。
    2. ケージ・ナットを取り出し、ナットの1つの口先を適切なレール穴[1]に引っかけます。
    3. ケージ・ナット挿入ツールの先端をレール穴に通して挿入し[3]、ケージ・ナットのもう一方の口先を引っかけます。口先が所定の位置にはまるまで、穴を通してケージ・ナットを引っ張ります。
    4. 2番目のケージ・ナットについて、ステップ5aから5cを繰り返します。
  6. 機械式リフトを使用するか、3名の作業員を配置し(ストレージ・シェルフの両側に1名ずつと前面に1名)、シェルフを慎重に持ち上げて左右のレールの下部にある突起に載せます。電源装置のハンドルを使用して持ち上げないでください。

    次の図は、ストレージ・シェルフをラックに取り付ける方法を示しています。

  7. キャビネット内にシェルフを慎重にスライドします。シェルフがレールにしっかり固定されていることを確認します。シェルフを取り外して付けなおす場合は、常に支え続けてください。
  8. 4つの脱落防止機構付き取り付けねじ[1 - 4]を使用してシェルフの前面を固定します。

    次の図は、ストレージ・シェルフの前面を固定する方法を示しています。

  9. 輸送用にストレージ・シェルフをラックに固定するには、背面ストレージ・シェルフ・シャーシの各耳にねじを取り付けます。

    次の図に、ストレージ・シェルフ背面の輸送用の耳を固定する方法を示します。

  10. AC電源コードをストレージ・シェルフの電源装置とラックのPDU (配電盤)に接続します。

    ノート:

    左右のラックPDU間でAC電源コードを分割すると、冗長電源を備えたデバイスでプライマリ電源装置を1つのPDUに接続し、セカンダリ(冗長)電源装置を別のPDUに接続できるため、冗長性が向上します。
  11. 追加のストレージ・シェルフを設置する場合は、これらのステップを繰り返します。
既存のシステムへのストレージ拡張シェルフの追加

すでに実行されているアプライアンス・システムにストレージ拡張シェルフを追加するには、この手順を使用します。

この作業は、すでに実行中のOracle Database Appliance (完全に移入されたストレージ・シェルフが必要)にストレージ拡張シェルフを追加することを想定しています。

特に明記しないかぎり、この作業を完了するのに、システムを停止する必要はありません。

次の例外条件に注意してください。

  • ストレージ拡張シェルフは通常、Oracle Database Applianceの下部の、ストレージ・シェルフの下に設置されます。しかし、ラックは通常、下から上へプロビジョニングされる必要があるので、空きがない場合があります。そのような場合、システム全体を再度ラックに取り付けなくても済むように、サーバー・ノードの上、または別のラックに配置することもできます。

  • 「コンポーネントの互換性の確認」で説明しているように、ストレージ拡張シェルフの最上位レベル識別子(TLI)はシステムのその他の部分と一致しません。しかし、最初のアプライアンスの購入とセットアップの後にストレージ拡張シェルフを追加することは、サポートされている構成です。

  1. 「ラックへのストレージ・シェルフの設置」の説明に従い、ストレージ拡張シェルフを設置します。
  2. ケーブルを接続し、電源を入れて、新しいストレージが追加されたことを確認します。

    詳細は、該当するデプロイメントおよびユーザーズ・ガイドを参照してください。

ラック取付けキットの内容

次の図は、ラック取付けキットの内容を示しています。スライドレールおよびケーブル管理アーム・オプションを使用してサーバーを4本柱のラックに設置する方法の詳細は、ラック取付けテンプレートを参照してください。
ラック取付けキットの内容を示す図。

コールアウト 説明

1

スライドレール

2

取付け用金具

3

4個のM4 x 5ファインピッチ取付け用金具固定ねじ(オプション)

4

ラック取付けテンプレート

サーバーへの取付け用金具の設置

サーバーの両側への取付け用金具の設置手順は次のとおりです。

  1. スライド・レール・ロックがサーバーの前面にくるように、取付け用金具の位置をシャーシに合わせ、取付け用金具の5個のキー穴をシャーシの側面の5個の位置決めピンに合わせます。
    aog-302_slide-mounting-bracket.pngの説明が続きます
    図aog-302_slide-mounting-bracket.pngの説明
    コールアウト 説明

    1

    シャーシ前面

    2

    スライドレール・ロック

    3

    取付け用金具

    4

    取付け用金具クリップ

  2. 5個のシャーシ位置決めピンの頭が取付け用金具の5つのキー穴からはみ出したら、取付け用金具クリップがカチッという音をたててロックされるまで、取付け用金具をシャーシの前面に向かって引っ張ります。
  3. 背面の位置決めピンが取付け用金具クリップにはまっていることを確認します。
  4. ステップ1から3を繰り返して、サーバーの反対側の他の取付け用金具を設置します。
ラック取付け位置のマーク

サーバーを設置するラック内の位置を特定します。Oracle Database Applianceサーバーには2ラック・ユニット(2U)が必要です。ラック取付けテンプレートを使用して、スライドレールの正しい取付け穴を特定します。

注意:

ラックの上側が重くなって倒れないように、常に下から上にラックに機器を搭載してください。機器の設置中にラックが倒れないように、ラックの転倒防止バーを伸ばしてください。

  1. ラック・キャビネットにサーバーを設置するための2ラック・ユニット(2U)以上の垂直空間があることを確認します。ラックの互換性を参照してください。
  2. ラック取付けテンプレートを前面レールに当てて、ラック取付けテンプレートの下部から測定します。ラック取付けテンプレート・カードの下端がサーバーの下端に対応します。mm-10237_rackmount-template.pngの説明が続きます
    図mm-10237_rackmount-template.pngの説明
  3. 前面スライド・レールの取付け穴をマークします。mm-10237_rackmount-template-4-drive.pngの説明が続きます
    図mm-10237_rackmount-template-4-drive.pngの説明
  4. 背面スライド・レールの取付け穴をマークします。
AC電源ケーブルとサーバー・スライドレールのラックへの接続

次の手順を使用して、サーバー・スライドレール・アセンブリをラックに接続します。

ノート:

システムに付属するサーバーの直角AC電源ケーブルを必ず取り付けてください。一部のラックでは、標準レール・キットのスライドレールによって配電盤(PDU)電気ソケットの前面へのアクセスが妨げられます。まずAC電源ケーブルをPDUに差し込み、次にスライドレールをラックに取り付けます。スライドレールを取り付けた後、標準AC電源ケーブルをPDUから取り外すことはできませんが、システムの電源装置から取り外すことができます。

  1. サーバー・スライドレールをラックに取り付ける前に、システムに付属しているAC電源ケーブルの直角の先端を、左側と右側のラックのPDU電気ソケットに取り付けます。

    ノート:

    左右のラックPDU間でAC電源コードを分割すると、冗長電源を備えたデバイスでプライマリ電源装置を1つのPDUに接続し、セカンダリ(冗長)電源装置を別のPDUに接続できるため、冗長性が向上します。
    mm-10238_ac-pwr-cords.pngの説明が続きます
    図illustration mm-10238_ac-pwr-cords.pngの説明
  2. ボールベアリング・トラックが前方で、適切な位置で固定されるように、システムのスライドレール・アセンブリを正しい向きに置きます。

    a1085_x4270m3_orient_sliderail.jpgの説明が続きます
    図a1085_x4270m3_orient_sliderail.jpgの説明
    コールアウト 説明

    1

    スライドレール

    2

    ボールベアリング・トラック

    3

    ボールベアリング固定機構

  3. ラックの左側または右側のいずれかから、スライドレール・アセンブリの背面を背面ラック・レールの内側に合わせ、カチッという音がしてロックされるまでアセンブリを押します。
  4. スライド・レール・アセンブリの前面をラック・レールの前面の外側に合わせ、カチッという音がしてロックされるまでアセンブリを押します。
  5. ステップ2から4を繰り返して、ラックの反対側にスライドレール・アセンブリを接続します。
スライド・レール・アセンブリへのサーバーの設置

次の手順により、サーバー・シャーシを、取付け用金具を使用して、ラックに取付けられたスライド・レール・アセンブリに設置します。

注意:

人的傷害または機器の破損: サーバーの重量のため、この手順には2人以上が必要です。この手順を1人で実行すると、装置が損傷したり、けがをする可能性があります。

ラックの上側が重くなって倒れないように、常に下から上にラックに機器を搭載してください。機器の設置中にラックが倒れないように、ラックの転倒防止バーを伸ばしてください。

  1. ラック・キャビネットの前面の底にある転倒防止バーを完全に伸ばします(まだ行っていない場合)。
  2. スライド・レールをラック内のスライド・レール・アセンブリへできるかぎり押し込みます。
  3. 取付け用金具の後端が、ラックに取付けられたスライド・レール・アセンブリと揃うようにサーバーの位置を決めます。
  4. 取付け用金具をスライドレールに挿入して、取付け用金具がスライドレールの終端と同じ高さになるまで(約30cmまたは12インチ)サーバーをラックに押し込みます。
    aog-250_server-mtng-brkt-rack.pngの説明が続きます
    図aog-250_server-mtng-brkt-rack.pngの説明
    コールアウト 説明

    1

    取付け用金具のスライド・レールへの挿入

    2

    スライド・レールの解放ボタン

    3

    スライドレール・ロック

  5. 各取付けブラケットにある緑色のスライドレール・リリース・ボタンを押したまま、サーバーをラックに押し込みます。スライド・レール・ロック(取付け用金具の前面にある)がカチッという音がしてスライド・レール・アセンブリにはまるまで、サーバーをラックに押し込みます。

    aog-248_maint-position-latch-release.pngの説明が続きます
    図aog-248_maint-position-latch-release.pngの説明

    注意:

    オプションのケーブル管理アームを設置する前に、サーバーが安全にラックに取り付けられており、スライド・レール・ロックが取付け用金具にはまっていることを確認してください。

  6. 次の内の1つを実行します。
    • オプションのケーブル管理アームを購入した場合は、次の項に進みます。
    • オプションのケーブル管理アームを購入していない場合は、ラックの転倒防止メカニズムを通常の位置に戻し、AC電源のプラグをシステムに差し込みます。
ケーブル管理アームの設置(オプション)

次の手順を使用してケーブル管理アーム(CMA)を設置します。これによりサーバーの背面に接続されたケーブルを管理できます。

ノート:

CMAを設置する前に、直角AC電源ケーブルに十分な長さがあり、CMAを介して配線する際にラックに取り付けられたサーバーに接続できることを必ず確認してください。

  1. 次のコンポーネントを含むCMAを開梱します。

    a2484_cma_components.jpgの説明が続きます
    図a2484_cma_components.jpgの説明
    コールアウト 説明

    1

    コネクタA

    2

    前面のスライド・バー

    3

    面ファスナー・ストラップ(6)

    4

    コネクタB

    5

    コネクタC

    6

    コネクタD

    7

    スライド・レール・ラッチ金具(コネクタDで使用)

    8

    背面のスライド・バー

    9

    サーバーのフラット・ケーブル・カバー

    10

    サーバーのラウンド・ケーブル・カバー(オプション)

  2. CMAの設置の準備を行います。
    1. サーバー用のフラット・ケーブル・カバーがCMAに取り付けられていることを確認します。
    2. 6個の面ファスナー・ストラップがCMAに装着されていることを確認します。

      ノート:

      ステップ1の図に示したとおり、前面のスライド・バーにある2個の面ファスナー・ストラップが、スライド・バーの上の穴を通って装着されていることを確認します。これにより、サーバーをラックから引き出したり、ラックに戻すときに、面ファスナー・ストラップがスライド・バーの伸縮の邪魔になりません。

    3. CMAの取付けを容易にするために、サーバーをラックの前面から約13cm (5インチ)引き出します。
    4. CMAを機器ラックの後ろに持っていき、サーバーの後ろに作業するのに十分な空間があることを確認します。

      ノート:

      この手順に出てくる"左"および"右"は、機器ラックの背面に向かっていると仮定しています。

      ノート:

      この設置手順全体で、4つの取付け地点のすべてで固定されるまで、CMAを支えて、重さで垂れ下がらないようにします。

  3. 左スライド・レールにCMAのコネクタAを取り付けるには:
    1. CMAのコネクタAを、カチッと音がして正しい位置に固定されるまで、左スライド・レールの前スロットに挿入します[1および2]。

      コネクタAのつまみ(コールアウト1)はスライド・レールの前スロットに挿入されます(コールアウト2)。

    2. 前面のスライド・バーの左側をやさしく引っ張り、コネクタAが正しく収まっていることを確認します。

      a2498_new_frt_slide_bar_connx72.pngの説明が続きます
      図a2498_new_frt_slide_bar_connx72.pngの説明
      コールアウト 説明

      1

      コネクタAのつまみ

      2

      左スライド・レールの前スロット

  4. 右スライド・レールにCMAのコネクタBを取り付けるには:
    1. CMAのコネクタBを、カチッと音がして正しい位置に固定されるまで、右スライド・レールの前スロットに挿入します[1および2]。

      コネクタBのつまみ(コールアウト1)はスライド・レールの前スロットに挿入されます(コールアウト2)。

    2. 前面のスライド・バーの右側をやさしく引っ張り、コネクタBが正しく収まっていることを確認します。

      a2502_cma_frt_side_bar_lt_installx72.pngの説明が続きます
      図a2502_cma_frt_side_bar_lt_installx72.pngの説明
      コールアウト 説明

      1

      コネクタBのつまみ

      2

      右スライド・レールの前スロット

  5. 右スライド・レールにCMAのコネクタCを取り付けるには:
    1. 固定用ばね(コールアウト1)が右スライド・レールの内側(サーバー側)に来るように、コネクタCをスライド・レールに合せます[1]。
      mm-10236_rt_slide_rear_conn.pngの説明が続きます
      図mm-10236_rt_slide_rear_conn.pngの説明
      コールアウト 説明

      1

      コネクタCの固定用ばね

    2. コネクタCを、カチッと音がして正しい位置に固定されるまで、右スライド・レールに挿入します[2および3]。
    3. CMAの背面のスライド・バーの右側をやさしく引っ張り、コネクタCが正しく収まっていることを確認します。
  6. CMAのコネクタDの取付けを準備するには、スライド・レール・ラッチ金具をコネクタDに固定しているテープを取り外し、ラッチ金具の位置がコネクタDと完全に合っていることを確認します[1および2]。

    ノート:

    CMAは、コネクタDにテープで貼られたスライド・レール・ラッチ金具とともに出荷されます。このコネクタを取り付ける前に、テープを剥がす必要があります。


    a2489_lft_latch_bracket_2_panels.jpgの説明が続きます
    図a2489_lft_latch_bracket_2_panels.jpgの説明
  7. 左スライド・レールにCMAのコネクタDを取り付けるには:
    1. スライド・レール・ラッチ金具を正しい位置で保持しながら、コネクタDおよびそれに関連するスライド・レール・ラッチ金具を、カチッと音がしてコネクタDが正しい位置に固定されるまで左スライド・レールに挿入します[1および2]。

      ノート:

      コネクタDをスライド・レールに挿入する場合に推奨される簡単な方法は、コネクタDとラッチ金具を1つのアセンブリとしてスライド・レールに取り付けることです。

    2. CMAの背面のスライド・バーの左側をやさしく引っ張り、コネクタDが正しく収まっていることを確認します。

      ノート:

      スライド・レール・ラッチ金具には緑色の解放つまみがあります。コネクタDを取り外せるように、このつまみを使用して、ラッチ金具を解放して取り外します。

      mm-10239_cma_frt_side_bar_lt_install.pngの説明が続きます
      図mm-10239_cma_frt_side_bar_lt_install.pngの説明
  8. CMAがその重みで垂れ下がる前に、4つのCMAの接続地点をやさしく引っ張り、CMAコネクタが完全に固定されていることを確認します。
  9. CMAにケーブルを通す前にスライド・レールとCMAが正しく動作することを確認するには:
    1. サーバーを引き出すときにラックが前方に倒れないように、ラックの転倒防止バーを必ず伸ばします。

      注意:

      人的傷害のリスクを軽減するには、ラック・キャビネットを固定し、サーバーをラックから引き出す前に転倒防止バーを伸ばします。

    2. スライド・レールが終端に届くまで、サーバーをラックからゆっくりと引き出します。
    3. 接続されたケーブルにねじれや引っかかりがないか検査します。
    4. スライド・レールでCMAが完全に伸びることを確認します。
  10. サーバーをラックに戻すには:
    1. 2つの緑色の解放つまみ(サーバーの各側に1つずつ)をサーバーの前面に向かって同時に引いたまま、サーバーをラックに押し込みます。ラックにサーバーを押し込むときに、CMAがひっかからずに引っ込むことを確認してください。
    2. 緑色の解放つまみを引っ張るには、各つまみの端ではなく中央に指を置いて、圧力を加えながら、サーバーの前面方向につまみを引きます。
    3. スライド・レールのロック(サーバーの前面にある)がスライド・レール・アセンブリにはまるまで、サーバーをラックに押し込みます。

      サーバーが通常のラック位置に来ると、カチッと音がします。

    4. ラックの転倒防止メカニズムを通常の位置に戻します。
  11. 必要に応じて、ケーブルをサーバーに接続します。
  12. CMAケーブル・カバーを開け、(次の各ステップで指定されている順序で)サーバー・ケーブルをCMAのケーブル・トラフに通して、ケーブル・カバーを閉じ、ケーブルを6個の面ファスナー・ストラップで固定します。
    1. 最初に、最も前のケーブル・トラフを通ります。
    2. 次に、小さなケーブル・トラフを通ります。
    3. 次に、最も後ろのケーブル・トラフを通ります。

      注意:

      前面のスライド・バーにある面ファスナー・ストラップでケーブルを固定するときには、面ファスナー・ストラップがスライド・バーの下部に巻き付いていないことを確認します。そうしないと、サーバーをラックから引き出したりラックに戻すときに、スライド・バーの伸縮が妨げられる可能性があります。

      mm-10240_2u_cabls_installed.pngの説明が続きます
      図mm-10240_2u_cabls_installed.pngの説明
  13. 固定したケーブルが、それが接続されているサーバーの上部の上や下部の下まで伸びていないことを確認します。

    そうしないと、サーバーをラックから引き出したりラックに戻したりするときに、そのケーブルがラックに設置された他の装置に引っかかる可能性があります。

  14. 必要に応じて、追加の面ファスナー・ストラップでケーブルを束にまとめ、他の装置の邪魔にならないようにします。

    ノート:

    追加の面ファスナー・ストラップを取り付ける必要がある場合は、ストラップをケーブルにのみ巻き付け、CMAコンポーネントには巻き付けないでください。そうしないと、サーバーをラックから引き出したりラックに戻すときに、CMAスライド・バーの伸縮が妨げられる可能性があります。