74 DBMS_DEBUG
DBMS_DEBUG is deprecated. Use DBMS_DEBUG_JDWP instead.
See DBMS_DEBUG_JDWP for more information.
DBMS_DEBUG is a PL/SQL interface to the PL/SQL debugger layer, Probe, in the Oracle server.
This package is primarily intended to implement server-side debuggers and it provides a way to debug server-side PL/SQL program units.
Note:
The term program unit refers to a PL/SQL program of any type (procedure, function, package, package body, trigger, anonymous block, object type, or object type body).
This chapter contains the following topics:
74.1 DBMS_DEBUG Overview
To debug server-side code, you must have two database sessions: one session to run the code in debug mode (the target session), and a second session to supervise the target session (the debug session).
The target session becomes available for debugging by making initializing calls with DBMS_DEBUG. This marks the session so that the PL/SQL interpreter runs in debug mode and generates debug events. As debug events are generated, they are posted from the session. In most cases, debug events require return notification: the interpreter pauses awaiting a reply.
Meanwhile, the debug session must also initialize itself using DBMS_DEBUG: This tells it which target session to supervise. The debug session may then call entry points in DBMS_DEBUG to read events that were posted from the target session and to communicate with the target session.
The following subprograms are run in the target session (the session that is to be debugged):
DBMS_DEBUG does not provide an interface to the PL/SQL compiler, but it does depend on debug information optionally generated by the compiler. Without debug information, it is not possible to examine or modify the values of parameters or variables.
74.2 DBMS_DEBUG Constants
A breakpoint status may have the following value: breakpoint_status_unused—breakpoint is not in use.
Otherwise, the status is a mask of the following values:
-
breakpoint_status_active—a line breakpoint -
breakpoint_status_disabled—breakpoint is currently disabled -
breakpoint_status_remote—a shadow breakpoint (a local representation of a remote breakpoint)
74.3 DBMS_DEBUG Variables
The DBMS_DEBUG uses the variables shown in the following table.
Table 74-1 DBMS_DEBUG Variables
| Variable | Description |
|---|---|
|
|
The timeout value (used by both sessions).The smallest possible timeout is 1 second. If this value is set to 0, then a large value (3600) is used. |
74.4 DBMS_DEBUG Exceptions
These values are returned by the various functions called in the debug session (SYNCHRONIZE, CONTINUE, SET_BREAKPOINT, and so on). If PL/SQL exceptions worked across client/server and server/server boundaries, then these would all be exceptions rather than error codes.
Table 74-2 DBMS_DEBUG Exceptions
| Status | Description |
|---|---|
|
|
Normal termination |
Statuses returned by GET_VALUE and SET_VALUE:
Table 74-3 DBMS_DEBUG Exceptions Returned by GET_VALUE and SET_VALUE
| Status | Description |
|---|---|
|
|
No such entrypoint on the stack |
|
|
Program was compiled without debug symbols |
|
|
No such variable or parameter |
|
|
Debug information is unreadable |
|
|
Returned by |
|
|
No such element exists in the collection |
|
|
Table is atomically |
|
|
Value is |
Statuses returned by SET_VALUE:
Table 74-4 DBMS_DEBUG Exceptions Returned by SET_VALUE
| Status | Description |
|---|---|
|
|
Constraint violation |
|
|
Constraint violation |
|
|
Unable to decipher the given value |
|
|
Some other error |
|
|
Name did not resolve to a scalar |
Statuses returned by the breakpoint functions:
Table 74-5 Statuses Returned by the Breakpoint Functions
| Status | Description |
|---|---|
|
|
No such breakpoint |
|
|
Cannot enable or disable an unused breakpoint |
|
|
Unable to set breakpoint in given program (nonexistent or security violation) |
General error codes (returned by many of the DBMS_DEBUG subprograms):
Table 74-6 DBMS_DEBUG Subprograms Error Codes
| Status | Description |
|---|---|
|
|
Functionality is not yet implemented |
|
|
No program running; operation deferred |
|
|
An exception was raised in the |
|
|
Some error other than a timeout occurred |
|
|
Timout occurred |
Table 74-7 illegal_init Exceptions
| Exception | Description |
|---|---|
|
i |
|
The following exceptions are raised by procedure SELF_CHECK:
Table 74-8 SELF_CHECK Procedure Exceptions
| Exception | Description |
|---|---|
|
|
Could not create a pipe |
|
|
Could not write data to the pipe |
|
|
Could not read data from the pipe |
|
|
Datatype in the pipe was wrong |
|
|
Data got garbled in the pipe |
74.5 DBMS_DEBUG Operational Notes
There are two ways to ensure that debug information is generated: through a session switch, or through individual recompilation.
To set the session switch, enter the following statement:
ALTER SESSION SET PLSQL_DEBUG = true;
This instructs the compiler to generate debug information for the remainder of the session. It does not recompile any existing PL/SQL.
To generate debug information for existing PL/SQL code, use one of the following statements (the second recompiles a package or type body):
ALTER [PROCEDURE | FUNCTION | PACKAGE | TRIGGER | TYPE] <name> COMPILE DEBUG; ALTER [PACKAGE | TYPE] <name> COMPILE DEBUG BODY;
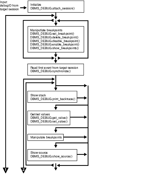
Figure 74-1 and Figure 74-2 illustrate the flow of operations in the session to be debugged and in the debugging session.
Control of the Interpreter
The interpreter pauses execution at the following times:
-
At startup of the interpreter so any deferred breakpoints may be installed prior to execution.
-
At any line containing an enabled breakpoint.
-
At any line where an interesting event occurs. The set of interesting events is specified by the flags passed to
DBMS_DEBUG.CONTINUEin thebreakflagsparameter.
Session Termination
There is no event for session termination. Therefore, it is the responsibility of the debug session to check and make sure that the target session has not ended. A call to DBMS_DEBUG.SYNCHRONIZE after the target session has ended causes the debug session to hang until it times out.
Deferred Operations
The diagram suggests that it is possible to set breakpoints prior to having a target session. This is true. In this case, Probe caches the breakpoint request and transmits it to the target session at first synchronization. However, if a breakpoint request is deferred in this fashion, then:
-
SET_BREAKPOINTdoes not set the breakpoint number (it can be obtained later fromSHOW_BREAKPOINTSif necessary). -
SET_BREAKPOINTdoes not validate the breakpoint request. If the requested source line does not exist, then an error silently occurs at synchronization, and no breakpoint is set.
Diagnostic Output
To debug Probe, there are diagnostics parameters to some of the calls in DBMS_DEBUG. These parameters specify whether to place diagnostic output in the RDBMS tracefile. If output to the RDBMS tracefile is disabled, these parameters have no effect.
Common Debug Session Sections
-
Common Section
-
Target Session
-
Debug Session Section
Common Section
The following subprograms may be called in either the target or the debug session:
Target Session
The following subprograms may be called only in the target session:
Debug Session Section
The following subprograms should be run in the debug session only:
OER Breakpoints
Exceptions that are declared in PL/SQL programs are known as user-defined exceptions. In addition, there are Oracle Errors (OERs) that are returned from the Oracle kernel. To tie the two mechanisms together, PL/SQL provides the exception_init pragma that turns a user-defined exception into an OER, so that a PL/SQL handler may be used for it, and so that the PL/SQL engine can return OERs to the Oracle kernel. As of the current release, the only information available about an OER is its number. If two user-defined exceptions are exception_init'd to the same OER, they are indistinguishable.
Namespaces
Program units on the server reside in different namespaces. When setting a breakpoint, specify the desired namespace.
-
Namespace_cursorcontains cursors (anonymous blocks). -
Namespace_pgkspec_or_toplevelcontains:-
Package specifications.
-
Procedures and functions that are not nested inside other packages, procedures, or functions.
-
Object types.
-
-
Namespace_pkg_bodycontains package bodies and type bodies. -
Namespace_triggercontains triggers.
Libunit Types
These values are used to disambiguate among objects in a given namespace. These constants are used in PROGRAM_INFO when Probe is giving a stack backtrace.
-
LibunitType_cursor -
LibunitType_procedure -
LibunitType_function -
LibunitType_package -
LibunitType_package_body -
LibunitType_trigger -
LibunitType_Unknown
Breakflags
These are values to use for the breakflags parameter to CONTINUE, in order to tell Probe what events are of interest to the client. These flags may be combined.
| Value | Description |
|---|---|
|
|
Break at next source line (step over calls) |
|
|
Break at next source line (step into calls) |
|
|
Break after returning from current entrypoint (skip over any entrypoints called from the current routine) |
|
|
Break the next time an entrypoint gets ready to return. (This includes entrypoints called from the current one. If interpreter is running |
|
|
Break when an exception is raised |
|
|
Break when an exception handler is executed |
|
|
Stop execution and force an 'exit' event as soon as |
Information Flags
These are flags which may be passed as the info_requested parameter to SYNCHRONIZE, CONTINUE, and GET_RUNTIME_INFO.
| Flag | Description |
|---|---|
|
|
Get the current depth of the stack |
|
|
Get the breakpoint number |
|
|
Get program unit information |
Reasons for Suspension
After CONTINUE is run, the program either runs to completion or breaks on some line.
| Reason | Description |
|---|---|
|
|
- |
|
|
Interpreter is starting |
|
|
Hit a breakpoint |
|
|
Procedure entry |
|
|
Procedure is about to return |
|
|
Procedure is finished |
|
|
Reached a new line |
|
|
An interrupt occurred |
|
|
An exception was raised |
|
|
Interpreter is exiting (old form) |
|
|
Kernel is exiting |
|
|
Start exception-handler |
|
|
A timeout occurred |
|
|
Instantiation block |
|
|
Interpreter is aborting |
74.6 DBMS_DEBUG Data Structures
The DBMS_DEBUG package defines RECORD types and TABLE types.
74.6.1 BREAKPOINT_INFO Record Type
This type gives information about a breakpoint, such as its current status and the program unit in which it was placed.
Syntax
TYPE breakpoint_info IS RECORD ( name VARCHAR2(30), owner VARCHAR2(30), dblink VARCHAR2(30), line# BINARY_INTEGER, libunittype BINARY_INTEGER, status BINARY_INTEGER);
Fields
Table 74-9 BREAKPOINT_INFO Fields
| Field | Description |
|---|---|
|
|
Name of the program unit |
|
|
Owner of the program unit |
|
|
Database link, if remote |
|
|
Line number |
|
|
|
|
|
See Constants for values of |
74.6.2 PROGRAM_INFO Record Type
The PROGRAM_INFO record type of the DBMS_DEBG package specifies a program location. It is a line number in a program unit.
This is used for stack backtraces and for setting and examining breakpoints. The read-only fields are currently ignored by Probe for breakpoint operations. They are set by Probe only for stack backtraces.
Syntax
TYPE program_info IS RECORD(
-- The following fields are used when setting a breakpoint
namespace BINARY_INTEGER,
name VARCHAR2(30),
owner VARCHAR2(30),
dblink VARCHAR2(30),
line# BINARY_INTEGER,
-- Read-only fields (set by Probe when doing a stack backtrace)
libunittype BINARY_INTEGER,
entrypointname VARCHAR2(30));Fields
Table 74-10 PROGRAM_INFO Fields
| Field | Description |
|---|---|
|
|
See DBMS_DEBUG Operational Notes for more information about namespaces. |
|
|
Name of the program unit |
|
|
Owner of the program unit |
|
|
Database link, if remote |
|
|
Line number |
|
|
|
|
|
A read-only field, to disambiguate among objects that share the same namespace (for example, procedure and package specifications). See DBMS_DEBUG Operational Notes for more information about the libunit types. |
74.6.3 RUNTIME_INFO Record Type
This type gives context information about the running program.
Syntax
TYPE runtime_info IS RECORD(
line# BINARY_INTEGER,
terminated binary_integer,
breakpoint binary_integer,
stackdepth BINARY_INTEGER,
interpreterdepth BINARY_INTEGER,
reason BINARY_INTEGER,
program program_info);Fields
Table 74-11 RUNTIME_INFO Fields
| Field | Description |
|---|---|
|
|
Duplicate of |
|
|
Whether the program has terminated |
|
|
Breakpoint number |
|
|
Number of frames on the stack |
|
|
[A reserved field] |
|
|
Reason for suspension |
|
|
Source location |
74.6.4 BACKTRACE_TABLE Table Type
This type is used by PRINT_BACKTRACE.
Syntax
TYPE backtrace_table IS TABLE OF program_info INDEX BY BINARY_INTEGER;
74.6.5 BREAKPOINT_TABLE Table Type
This type is used by SHOW_BREAKPOINTS.
Syntax
TYPE breakpoint_table IS TABLE OF breakpoint_info INDEX BY BINARY_INTEGER;
74.6.6 INDEX_TABLE Table Type
This type is used by GET_INDEXES to return the available indexes for an indexed table.
Syntax
TYPE index_table IS table of BINARY_INTEGER INDEX BY BINARY_INTEGER;
74.7 Summary of DBMS_DEBUG Subprograms
This table lists the DBMS_DEBUG subprograms in alphabetical order and briefly describes them.
Table 74-12 DBMS_DEBUG Package Subprograms
| Subprogram | Description |
|---|---|
|
Notifies the debug session about the target debugID |
|
|
Continues execution of the target program |
|
|
Turns debug-mode off |
|
|
Turns debug-mode on |
|
|
Deletes a breakpoint |
|
|
Deletes an OER breakpoint |
|
|
Stops debugging the target program |
|
|
Disables a breakpoint |
|
|
Activates an existing breakpoint |
|
|
Executes SQL or PL/SQL in the target session |
|
|
Returns the set of indexes for an indexed table |
|
|
Provides additional source in the event of buffer overflow when using SHOW_SOURCE |
|
|
Returns information about line numbers in a program unit |
|
|
Returns information about the current program |
|
|
Returns the current timeout behavior |
|
|
Gets a value from the currently-running program |
|
|
Sets debugID in target session |
|
|
Pings the target session to prevent it from timing out |
|
|
Prints a stack backtrace |
|
|
Prints a stack backtrace |
|
|
Returns the version number of |
|
|
Performs an internal consistency check |
|
|
Sets a breakpoint in a program unit |
|
|
Sets an OER breakpoint |
|
|
Sets the timeout value |
|
|
Tells Probe what to do with the target session when a timeout occurs |
|
|
Sets a value in the currently-running program |
|
|
Returns a listing of the current breakpoints |
|
|
Fetches the frame source |
|
|
Fetches program source |
|
|
Waits for program to start running |
|
|
Returns |
74.7.1 ATTACH_SESSION Procedure
This procedure notifies the debug session about the target program.
Syntax
DBMS_DEBUG.ATTACH_SESSION ( debug_session_id IN VARCHAR2, diagnostics IN BINARY_INTEGER := 0);
Parameters
Table 74-13 ATTACH_SESSION Procedure Parameters
| Parameter | Description |
|---|---|
|
|
Debug ID from a call to |
|
|
Generate diagnostic output if nonzero |
74.7.2 CONTINUE Function
This function passes the given breakflags (a mask of the events that are of interest) to Probe in the target process. It tells Probe to continue execution of the target process, and it waits until the target process runs to completion or signals an event.
If info_requested is not NULL, then calls GET_RUNTIME_INFO.
Syntax
DBMS_DEBUG.CONTINUE ( run_info IN OUT runtime_info, breakflags IN BINARY_INTEGER, info_requested IN BINARY_INTEGER := NULL) RETURN BINARY_INTEGER;
Parameters
Table 74-14 CONTINUE Function Parameters
| Parameter | Description |
|---|---|
|
|
Information about the state of the program |
|
|
Mask of events that are of interest (see the discussion about break flags under DBMS_DEBUG Operational Notes) |
|
|
Which information should be returned in |
Return Values
Table 74-15 CONTINUE Function Return Values
| Return | Description |
|---|---|
|
|
|
|
|
Timed out before the program started running |
|
|
Other communication error |
74.7.3 DEBUG_OFF Procedure
This procedure notifies the target session that debugging should no longer take place in that session. It is not necessary to call this function before ending the session.
WARNING:
There must be a debug session waiting if immediate is TRUE.
Syntax
DBMS_DEBUG.DEBUG_OFF;
Usage Notes
The server does not handle this entrypoint specially. Therefore, it attempts to debug this entrypoint.
74.7.4 DEBUG_ON Procedure
This procedure marks the target session so that all PL/SQL is run in debug mode. This must be done before any debugging can take place.
Syntax
DBMS_DEBUG.DEBUG_ON ( no_client_side_plsql_engine BOOLEAN := TRUE, immediate BOOLEAN := FALSE);
Parameters
Table 74-16 DEBUG_ON Procedure Parameters
| Parameter | Description |
|---|---|
|
|
Should be left to its default value unless the debugging session is taking place from a client-side PL/SQL engine |
|
|
If this is |
74.7.5 DELETE_BREAKPOINT Function
This function deletes a breakpoint.
Syntax
DBMS_DEBUG.DELETE_BREAKPOINT ( breakpoint IN BINARY_INTEGER) RETURN BINARY_INTEGER;
Parameters
Table 74-17 DELETE_BREAKPOINT Function Parameters
| Parameter | Description |
|---|---|
|
|
Breakpoint number from a previous call to |
Return Values
Table 74-18 DELETE_BREAKPOINT Function Return Values
| Return | Description |
|---|---|
|
|
|
|
|
No such breakpoint exists |
|
|
Cannot delete an unused breakpoint |
|
|
The program unit was redefined since the breakpoint was set |
74.7.6 DELETE_OER_BREAKPOINT Function
This function deletes an OER breakpoint.
Syntax
DBMS_DEBUG.DELETE_OER_BREAKPOINT ( oer IN PLS_INTEGER) RETURN PLS_INTEGER;
Parameters
Table 74-19 DELETE_OER_BREAKPOINT Function Parameters
| Parameter | Description |
|---|---|
|
|
The OER (positive 4-byte number) to delete |
74.7.7 DETACH_SESSION Procedure
This procedure stops debugging the target program.
This procedure may be called at any time, but it does not notify the target session that the debug session is detaching itself, and it does not terminate execution of the target session. Therefore, care should be taken to ensure that the target session does not hang itself.
Syntax
DBMS_DEBUG.DETACH_SESSION;
74.7.8 DISABLE_BREAKPOINT Function
This function makes an existing breakpoint inactive but leaves it in place.
Syntax
DBMS_DEBUG.DISABLE_BREAKPOINT ( breakpoint IN BINARY_INTEGER) RETURN BINARY_INTEGER;
Parameters
Table 74-20 DISABLE_BREAKPOINT Function Parameters
| Parameter | Description |
|---|---|
|
|
Breakpoint number from a previous call to |
Return Values
Table 74-21 DISABLE_BREAKPOINT Function Return Values
| Returns | Description |
|---|---|
|
|
|
|
|
No such breakpoint exists |
|
|
Cannot disable an unused breakpoint |
74.7.9 ENABLE_BREAKPOINT Function
This function is the reverse of disabling. This enables a previously disabled breakpoint.
Syntax
DBMS_DEBUG.ENABLE_BREAKPOINT ( breakpoint IN BINARY_INTEGER) RETURN BINARY_INTEGER;
Parameters
Table 74-22 ENABLE_BREAKPOINT Function Parameters
| Parameter | Description |
|---|---|
|
|
Breakpoint number from a previous call to |
Return Values
Table 74-23 ENABLE_BREAKPOINT Function Return Values
| Return | Description |
|---|---|
|
|
Success |
|
|
No such breakpoint exists |
|
|
Cannot enable an unused breakpoint |
74.7.10 EXECUTE Procedure
This procedure executes SQL or PL/SQL code in the target session. The target session is assumed to be waiting at a breakpoint (or other event). The call to DBMS_DEBUG.EXECUTE occurs in the debug session, which then asks the target session to execute the code.
Syntax
DBMS_DEBUG.EXECUTE ( what IN VARCHAR2, frame# IN BINARY_INTEGER, bind_results IN BINARY_INTEGER, results IN OUT NOCOPY dbms_debug_vc2coll, errm IN OUT NOCOPY VARCHAR2);
Parameters
Table 74-24 EXECUTE Procedure Parameters
| Parameter | Description |
|---|---|
|
|
SQL or PL/SQL source to execute |
|
|
The context in which to execute the code. Only -1 (global context) is supported at this time. |
|
|
Whether the source wants to bind to 0 = No 1 = Yes |
|
|
Collection in which to place results, if |
|
|
Error message, if an error occurred; otherwise, |
Examples
Example 1
This example executes a SQL statement. It returns no results.
DECLARE
coll sys.dbms_debug_vc2coll; -- results (unused)
errm VARCHAR2(100);
BEGIN
dbms_debug.execute('insert into emp(ename,empno,deptno) ' ||
'values(''LJE'', 1, 1)',
-1, 0, coll, errm);
END;Example 2
This example executes a PL/SQL block, and it returns no results. The block is an autonomous transaction, which means that the value inserted into the table becomes visible in the debug session.
DECLARE
coll sys.dbms_debug_vc2coll;
errm VARCHAR2(100);
BEGIN
dbms_debug.execute(
'DECLARE PRAGMA autonomous_transaction; ' ||
'BEGIN ' ||
' insert into emp(ename, empno, deptno) ' ||
' values(''LJE'', 1, 1); ' ||
' COMMIT; ' ||
'END;',
-1, 0, coll, errm);
END;Example 3
This example executes a PL/SQL block, and it returns some results.
DECLARE
coll sys.dbms_debug_vc2coll;
errm VARCHAR2(100);
BEGIN
dbms_debug.execute(
'DECLARE ' ||
' pp SYS.dbms_debug_vc2coll := SYS.dbms_debug_vc2coll(); ' ||
' x PLS_INTEGER; ' ||
' i PLS_INTEGER := 1; ' ||
'BEGIN ' ||
' SELECT COUNT(*) INTO x FROM emp; ' ||
' pp.EXTEND(x * 6); ' ||
' FOR c IN (SELECT * FROM emp) LOOP ' ||
' pp(i) := ''Ename: '' || c.ename; i := i+1; ' ||
' pp(i) := ''Empno: '' || c.empno; i := i+1; ' ||
' pp(i) := ''Job: '' || c.job; i := i+1; ' ||
' pp(i) := ''Mgr: '' || c.mgr; i := i+1; ' ||
' pp(i) := ''Sal: '' || c.sal; i := i+1; ' ||
' pp(i) := null; i := i+1; ' ||
' END LOOP; ' ||
' :1 := pp;' ||
'END;',
-1, 1, coll, errm);
each := coll.FIRST;
WHILE (each IS NOT NULL) LOOP
dosomething(coll(each));
each := coll.NEXT(each);
END LOOP;
END;74.7.11 GET_INDEXES Function
Given a name of a variable or parameter, this function returns the set of its indexes, if it is an indexed table. An error is returned if it is not an indexed table.
Syntax
DBMS_DEBUG.GET_INDEXES ( varname IN VARCHAR2, frame# IN BINARY_INTEGER, handle IN program_info, entries OUT index_table) RETURN BINARY_INTEGER;
Parameters
Table 74-25 GET_INDEXES Function Parameters
| Parameter | Description |
|---|---|
|
|
Name of the variable to get index information about |
|
|
Number of frame in which the variable or parameter resides; |
|
|
Package description, if object is a package variable |
|
|
1-based table of the indexes: if non- |
Return Values
Table 74-26 GET_INDEXES Function Return Values
| Return | Description |
|---|---|
|
|
One of the following: - The package does not exist - The package is not instantiated - The user does not have privileges to debug the package - The object does not exist in the package |
74.7.12 GET_MORE_SOURCE Procedure
When the source does not fit in the buffer provided by the SHOW_SOURCE Procedure version which produced a formatted buffer, this procedure provides additional source.
Syntax
DBMS_DEBUG.GET_MORE_SOURCE ( buffer IN OUT VARCHAR2, buflen IN BINARY_INTEGER, piece# IN BINARY_INTEGER);
Parameters
Table 74-27 GET_MORE_SOURCE Procedure Parameters
| Parameter | Description |
|---|---|
|
|
The buffer |
|
|
The length of the buffer |
|
|
A value between 2 and the value returned in the parameter pieces from the call to the relevant version of the SHOW_SOURCE Procedures |
Usage Notes
This procedure should be called only after the version of SHOW_SOURCE that returns a formatted buffer.
Related Topics
74.7.13 GET_LINE_MAP Function
This function finds line and entrypoint information about a program so that a debugger can determine the source lines at which it is possible to place breakpoints.
Syntax
DBMS_DEBUG.GET_LINE_MAP ( program IN program_info, maxline OUT BINARY_INTEGER, number_of_entry_points OUT BINARY_INTEGER, linemap OUT RAW) RETURN BINARY_INTEGER;
Parameters
Table 74-28 GET_LINE_MAP Function Parameters
| Parameter | Description |
|---|---|
|
|
A top-level program unit (procedure / package / function / package body, and so on). Its |
|
|
The largest source code line number in 'program' |
|
|
The number of subprograms in 'program' |
|
|
A bitmap representing the executable lines of 'program'. If line number N is executable, bit number N MOD 8 will be set to 1 at linemap position N / 8. The length of returned linemap is either |
Return Values
Table 74-29 GET_LINE_MAP Function Return Values
| Return | Description |
|---|---|
|
|
A successful completion |
|
|
The program unit exists, but has no debug info |
|
|
No such program unit exists |
74.7.14 GET_RUNTIME_INFO Function
This function returns information about the current program. It is only needed if the info_requested parameter to SYNCHRONIZE or CONTINUE was set to 0.
Note:
This is currently only used by client-side PL/SQL.
Syntax
DBMS_DEBUG.GET_RUNTIME_INFO ( info_requested IN BINARY_INTEGER, run_info OUT runtime_info) RETURN BINARY_INTEGER;
Parameters
Table 74-30 GET_RUNTIME_INFO Function Parameters
| Parameter | Description |
|---|---|
|
|
Which information should be returned in |
|
|
Information about the state of the program |
74.7.15 GET_TIMEOUT_BEHAVIOUR Function
This procedure returns the current timeout behavior. This call is made in the target session.
Syntax
DBMS_DEBUG.GET_TIMEOUT_BEHAVIOUR RETURN BINARY_INTEGER;
Parameters
Table 74-31 GET_TIMEOUT_BEHAVIOUR Function Parameters
| Parameter | Description |
|---|---|
|
|
The OER (a 4-byte positive number) |
Return Values
Table 74-32 GET_TIMEOUT_BEHAVIOUR Function Return Values
| Return | Description |
|---|---|
|
|
A successful completion |
Information Flags
info_getOerInfo CONSTANT PLS_INTEGER:= 32;
Usage Notes
Less functionality is supported on OER breakpoints than on code breakpoints. In particular, note that:
-
No "breakpoint number" is returned - the number of the OER is used instead. Thus it is impossible to set duplicate breakpoints on a given OER (it is a no-op).
-
It is not possible to disable an OER breakpoint (although clients are free to simulate this by deleting it).
-
OER breakpoints are deleted using
delete_oer_breakpoint.
74.7.16 GET_VALUE Function
This function gets a value from the currently-running program. There are two overloaded GET_VALUE functions.
Syntax
DBMS_DEBUG.GET_VALUE ( variable_name IN VARCHAR2, frame# IN BINARY_INTEGER, scalar_value OUT VARCHAR2, format IN VARCHAR2 := NULL) RETURN BINARY_INTEGER;
Parameters
Table 74-33 GET_VALUE Function Parameters
| Parameter | Description |
|---|---|
|
|
Name of the variable or parameter |
|
|
Frame in which it lives; 0 means the current procedure |
|
|
Value |
|
|
Optional date format to use, if meaningful |
Return Values
Table 74-34 GET_VALUE Function Return Values
| Return | Description |
|---|---|
|
|
A successful completion |
|
|
Frame does not exist |
|
|
Entrypoint has no debug information |
|
|
|
|
|
The type information in the debug information is illegible |
|
|
Value is |
|
|
The object is a table, but no index was provided |
This form of GET_VALUE is for fetching package variables. Instead of a frame#, it takes a handle, which describes the package containing the variable.
Syntax
DBMS_DEBUG.GET_VALUE ( variable_name IN VARCHAR2, handle IN program_info, scalar_value OUT VARCHAR2, format IN VARCHAR2 := NULL) RETURN BINARY_INTEGER;
Parameters
Table 74-35 GET_VALUE Function Parameters
| Parameter | Description |
|---|---|
|
|
Name of the variable or parameter |
|
|
Description of the package containing the variable |
|
|
Value |
|
|
Optional date format to use, if meaningful |
Return Values
Table 74-36 GET_VALUE Function Return Values
| Return | Description |
|---|---|
|
|
One of the following: - Package does not exist - Package is not instantiated - User does not have privileges to debug the package - Object does not exist in the package |
|
|
The object is a table, but no index was provided |
Examples
This example illustrates how to get the value with a given package PACK in schema SCOTT, containing variable VAR:
DECLARE
handle dbms_debug.program_info;
resultbuf VARCHAR2(500);
retval BINARY_INTEGER;
BEGIN
handle.Owner := 'SCOTT';
handle.Name := 'PACK';
handle.namespace := dbms_debug.namespace_pkgspec_or_toplevel;
retval := dbms_debug.get_value('VAR', handle, resultbuf, NULL);
END;74.7.17 INITIALIZE Function
This function initializes the target session for debugging.
Syntax
DBMS_DEBUG.INITIALIZE ( debug_session_id IN VARCHAR2 := NULL, diagnostics IN BINARY_INTEGER := 0) RETURN VARCHAR2;
Parameters
Table 74-37 INITIALIZE Function Parameters
| Parameter | Description |
|---|---|
|
|
Name of session ID. If |
|
|
Indicates whether to dump diagnostic output to the tracefile: 0 = (default) no diagnostics 1 = print diagnostics |
Return Values
The newly-registered debug session ID (debugID)
Usage Notes
You cannot use DBMS_DEBUG and the JDWP-based debugging interface simultaneously. This call will either fail with an ORA-30677 error if the session is currently being debugged with the JDWP-based debugging interface or, if the call succeeds, any further use of the JDWP-based interface to debug this session will be disallowed.
Calls to DBMS_DEBUG will succeed only if either the caller or the specified debug role carries the DEBUG CONNECT SESSION privilege. Failing that, an ORA-1031 error will be raised. Other exceptions are also possible if a debug role is specified but the password does not match, or if the calling user has not been granted the role, or the role is application-enabled and this call does not originate from within the role-enabling package.
The CREATE ANY PROCEDURE privilege does not affect the visibility of routines through the debugger. A privilege DEBUG for each object has been introduced with a corresponding DEBUG ANY PROCEDURE variant. These are required in order to see routines owned by users other than the session's login user.
Authentication of the debug role and the check for DEBUG CONNECT SESSION privilege will be done in the context of the caller to this routine. If the caller is a definer's rights routine or has been called from one, only privileges granted to the defining user, the debug role, or PUBLIC will be used to check for DEBUG CONNECT SESSION. If this call is from within a definer's rights routine, the debug role, if specified, must be one that has been granted to that definer, but it need not also have been granted to the session login user or be enabled in the calling session at the time the call is made.
The checks made by the debugger after this call is made looking for the DEBUG privilege on individual procedures will be done in the context of the session's login user, the roles that were enabled at session level at the moment this call was made (even if those roles were not available within a definer's rights environment of the call), and the debug role.
74.7.18 PING Procedure
This procedure pings the target session to prevent it from timing out. Use this procedure when execution is suspended in the target session, for example at a breakpoint.
If the timeout_behaviour is set to retry_on_timeout then this procedure is not necessary.
Syntax
DBMS_DEBUG.PING;
Exceptions
Oracle will display the no_target_program exception if there is no target program or if the target session is not currently waiting for input from the debug session.
Usage Notes
Timeout options for the target session are registered with the target session by calling set_timeout_behaviour:
-
retry_on_timeout- Retry. Timeout has no effect. This is like setting the timeout to an infinitely large value. -
continue_on_timeout- Continue execution, using same event flags. -
nodebug_on_timeout- Turn debug-mode OFF (in other words, call debug_off) and then continue execution. No more events will be generated by this target session unless it is re-initialized by calling debug_on. -
abort_on_timeout- Continue execution, using the abort_execution flag, which should cause the program to terminate immediately. The session remains in debug-mode.
retry_on_timeout CONSTANT BINARY_INTEGER:= 0;
continue_on_timeout CONSTANT BINARY_INTEGER:= 1;
nodebug_on_timeout CONSTANT BINARY_INTEGER:= 2;
abort_on_timeout CONSTANT BINARY_INTEGER:= 3;
74.7.19 PRINT_BACKTRACE Procedure
This procedure prints a backtrace listing of the current execution stack. This should only be called if a program is currently running.
There are two overloaded PRINT_BACKTRACE procedures.
Syntax
DBMS_DEBUG.PRINT_BACKTRACE ( listing IN OUT VARCHAR2); DBMS_DEBUG.PRINT_BACKTRACE ( backtrace OUT backtrace_table);
Parameters
Table 74-38 PRINT_BACKTRACE Procedure Parameters
| Parameter | Description |
|---|---|
|
|
A formatted character buffer with embedded newlines |
|
|
1-based indexed table of backtrace entries. The currently-running procedure is the last entry in the table (that is, the frame numbering is the same as that used by |
74.7.20 PRINT_INSTANTIATIONS Procedure
This procedure returns a list of the packages that have been instantiated in the current session.
Syntax
DBMS_DEBUG.PRINT_INSTANTIATIONS ( pkgs IN OUT NOCOPY backtrace_table, flags IN BINARY_INTEGER);
Parameters
Table 74-39 PRINT_INSTANTIATIONS Procedure Parameters
| Parameter | Description |
|---|---|
|
|
The instantiated packages |
|
|
Bitmask of options:
|
Exceptions
no_target_program - target session is not currently executing
Usage Notes
On return, pkgs contains a program_info for each instantiation. The valid fields are: Namespace, Name, Owner, and LibunitType.
In addition, Line# contains a bitmask of:
-
1 - the libunit contains debug info
-
2 - the libunit is shrink-wrapped
74.7.21 PROBE_VERSION Procedure
This procedure returns the version number of DBMS_DEBUG on the server.
Syntax
DBMS_DEBUG.PROBE_VERSION ( major out BINARY_INTEGER, minor out BINARY_INTEGER);
Parameters
Table 74-40 PROBE_VERSION Procedure Parameters
| Parameter | Description |
|---|---|
|
|
Major version number |
|
|
Minor version number: increments as functionality is added |
74.7.22 SELF_CHECK Procedure
This procedure performs an internal consistency check. SELF_CHECK also runs a communications test to ensure that the Probe processes are able to communicate.
If SELF_CHECK does not return successfully, then an incorrect version of DBMS_DEBUG was probably installed on this server. The solution is to install the correct version (pbload.sql loads DBMS_DEBUG and the other relevant packages).
Syntax
DBMS_DEBUG.SELF_CHECK ( timeout IN binary_integer := 60);
Parameters
Table 74-41 SELF_CHECK Procedure Parameters
| Parameter | Description |
|---|---|
|
|
The timeout to use for the communication test. Default is 60 seconds. |
Exceptions
Table 74-42 SELF_CHECK Procedure Exceptions
| Exception | Description |
|---|---|
|
|
Probe version is inconsistent |
|
|
Could not create a pipe |
|
|
Could not write data to the pipe |
|
|
Could not read data from the pipe |
|
|
Datatype in the pipe was wrong |
|
|
Data got garbled in the pipe |
All of these exceptions are fatal. They indicate a serious problem with Probe that prevents it from working correctly.
74.7.23 SET_BREAKPOINT Function
This function sets a breakpoint in a program unit, which persists for the current session.
Syntax
Execution pauses if the target program reaches the breakpoint.
DBMS_DEBUG.SET_BREAKPOINT ( program IN program_info, line# IN BINARY_INTEGER, breakpoint# OUT BINARY_INTEGER, fuzzy IN BINARY_INTEGER := 0, iterations IN BINARY_INTEGER := 0) RETURN BINARY_INTEGER;
Parameters
Table 74-43 SET_BREAKPOINT Function Parameters
| Parameter | Description |
|---|---|
|
|
Information about the program unit in which the breakpoint is to be set. (In version 2.1 and later, the namespace, name, owner, and dblink may be set to |
|
|
Line at which the breakpoint is to be set |
|
|
On successful completion, contains the unique breakpoint number by which to refer to the breakpoint |
|
|
Only applicable if there is no executable code at the specified line: 0 means return 1 means search forward for an adjacent line at which to place the breakpoint -1 means search backward for an adjacent line at which to place the breakpoint |
|
|
Number of times to wait before signalling this breakpoint |
Return Values
Note:
The fuzzy and iterations parameters are not yet implemented
Table 74-44 SET_BREAKPOINT Function Return Values
| Return | Description |
|---|---|
|
|
A successful completion |
|
|
Cannot set a breakpoint at that line |
|
|
No such program unit exists |
74.7.24 SET_OER_BREAKPOINT Function
This function sets an OER breakpoint.
Syntax
DBMS_DEBUG.SET_OER_BREAKPOINT ( oer IN PLS_INTEGER) RETURN PLS_INTEGER;
Parameters
Table 74-45 SET_OER_BREAKPOINT Function Parameters
| Parameter | Description |
|---|---|
|
|
The OER (positive 4-byte number) to set |
Return Values
Table 74-46 SET_OER_BREAKPOINT Function Return Values
| Return | Description |
|---|---|
|
|
A successful completion |
|
|
No such OER breakpoint exists |
74.7.25 SET_TIMEOUT Function
This function sets the timeout value and returns the new timeout value.
Syntax
DBMS_DEBUG.SET_TIMEOUT ( timeout BINARY_INTEGER) RETURN BINARY_INTEGER;
Parameters
Table 74-47 SET_TIMEOUT Function Parameters
| Parameter | Description |
|---|---|
|
|
The timeout to use for communication between the target and debug sessions |
74.7.26 SET_TIMEOUT_BEHAVIOUR Procedure
This procedure tells Probe what to do with the target session when a timeout occurs. This call is made in the target session.
Syntax
DBMS_DEBUG.SET_TIMEOUT_BEHAVIOUR ( behaviour IN PLS_INTEGER);
Parameters
Table 74-48 SET_TIMEOUT_BEHAVIOUR Procedure Parameters
| Parameter | Description |
|---|---|
|
|
|
|
|
Retry. Timeout has no effect. This is like setting the timeout to an infinitely large value. |
|
|
Continue execution, using same event flags |
|
|
Turn debug-mode OFF (in other words, call |
|
|
Continue execution, using the |
Exceptions
unimplemented - the requested behavior is not recognized
Usage Notes
The default behavior (if this procedure is not called) is continue_on_timeout, since it allows a debugger client to reestablish control (at the next event) but does not cause the target session to hang indefinitely.
74.7.27 SET_VALUE Function
This function sets a value in the currently-running program. There are two overloaded SET_VALUE functions.
Syntax
DBMS_DEBUG.SET_VALUE ( frame# IN binary_integer, assignment_statement IN varchar2) RETURN BINARY_INTEGER; DBMS_DEBUG.SET_VALUE ( handle IN program_info, assignment_statement IN VARCHAR2) RETURN BINARY_INTEGER;
Parameters
Table 74-49 SET_VALUE Function Parameters
| Parameter | Description |
|---|---|
|
|
Frame in which the value is to be set; 0 means the currently executing frame. |
|
|
Description of the package containing the variable |
|
|
An assignment statement (which must be legal PL/SQL) to run in order to set the value. For example, 'x := 3;'. Only scalar values are supported in this release. The right side of the assignment statement must be a scalar. |
Return Values
Table 74-50 SET_VALUE Function Return Values
| Return | Description |
|---|---|
|
|
- |
|
|
Not possible to set it to that value |
|
|
Cannot set to |
|
|
Value is not a scalar |
|
|
The assignment statement does not resolve to a scalar. For example, 'x := 3;', if x is a record. |
|
|
One of the following: - Package does not exist - Package is not instantiated - User does not have privileges to debug the package - Object does not exist in the package |
Usage Notes
In some cases, the PL/SQL compiler uses temporaries to access package variables, and does not guarantee to update such temporaries. It is possible, although unlikely, that modification to a package variable using SET_VALUE might not take effect for a line or two.
Examples
To set the value of SCOTT.PACK.var to 6:
DECLARE handle dbms_debug.program_info; retval BINARY_INTEGER; BEGIN handle.Owner := 'SCOTT'; handle.Name := 'PACK'; handle.namespace := dbms_debug.namespace_pkgspec_or_toplevel; retval := dbms_debug.set_value(handle, 'var := 6;'); END;
74.7.28 SHOW_BREAKPOINTS Procedures
There are two overloaded procedures that return a listing of the current breakpoints. There are three overloaded SHOW_BREAKPOINTS procedures.
Syntax
DBMS_DEBUG.SHOW_BREAKPOINTS ( listing IN OUT VARCHAR2); DBMS_DEBUG.SHOW_BREAKPOINTS ( listing OUT breakpoint_table); DBMS_DEBUG.SHOW_BREAKPOINTS ( code_breakpoints OUT breakpoint_table, oer_breakpoints OUT oer_table);
Parameters
Table 74-51 SHOW_BREAKPOINTS Procedure Parameters
| Parameter | Description |
|---|---|
|
|
A formatted buffer (including newlines) of the breakpoints. Indexed table of breakpoint entries. The breakpoint number is indicated by the index into the table. Breakpoint numbers start at 1 and are reused when deleted. |
|
|
The indexed table of breakpoint entries, indexed by breakpoint number |
|
|
The indexed table of OER breakpoints, indexed by OER |
74.7.29 SHOW_FRAME_SOURCE Procedure
The procedure gets the source code. There are two overloaded SHOW_SOURCE procedures.
Syntax
DBMS_DEBUG.SHOW_FRAME_SOURCE ( first_line IN BINARY_INTEGER, last_line IN BINARY_INTEGER, source IN OUT NOCOPY vc2_table, frame_num IN BINARY_INTEGER);
Parameters
Table 74-52 SHOW_FRAME_SOURCE Procedure Parameters
| Parameter | Description |
|---|---|
|
|
Line number of first line to fetch (PL/SQL programs always start at line 1 and have no holes) |
|
|
Line number of last line to fetch. No lines are fetched past the end of the program. |
|
|
The resulting table, which may be indexed by line# |
|
|
1-based frame number |
Usage Notes
-
You use this function only when backtrace shows an anonymous unit is executing at a given frame position and you need to view the source in order to set a breakpoint.
-
If frame number is top of the stack and it's an anonymous block then
SHOW_SOURCEcan also be used. -
If it's a stored PL/SQL package/function/procedure then use SQL as described in the Usage Notes to SHOW_SOURCE Procedures.
74.7.30 SHOW_SOURCE Procedures
The procedure gets the source code. There are two overloaded SHOW_SOURCE procedures.
Syntax
DBMS_DEBUG.SHOW_SOURCE ( first_line IN BINARY_INTEGER, last_line IN BINARY_INTEGER, source OUT vc2_table); DBMS_DEBUG.SHOW_SOURCE ( first_line IN BINARY_INTEGER, last_line IN BINARY_INTEGER, window IN BINARY_INTEGER, print_arrow IN BINARY_INTEGER, buffer IN OUT VARCHAR2, buflen IN BINARY_INTEGER, pieces OUT BINARY_INTEGER);
Parameters
Table 74-53 SHOW_SOURCE Procedure Parameters
| Parameter | Description |
|---|---|
|
|
Line number of first line to fetch (PL/SQL programs always start at line 1 and have no holes) |
|
|
Line number of last line to fetch. No lines are fetched past the end of the program. |
|
|
The resulting table, which may be indexed by line# |
|
|
'Window' of lines (the number of lines around the current source line) |
|
|
Nonzero means to print an arrow before the current line |
|
|
Buffer in which to place the source listing |
|
|
Length of buffer |
|
|
Set to nonzero if not all the source could be placed into the given buffer |
Return Values
An indexed table of source-lines. The source lines are stored starting at first_line. If any error occurs, then the table is empty.
Usage Notes
The best way to get the source code (for a program that is being run) is to use SQL. For example:
DECLARE
info DBMS_DEBUG.runtime_info;
BEGIN
-- call DBMS_DEBUG.SYNCHRONIZE, CONTINUE,
-- or GET_RUNTIME_INFO to fill in 'info'
SELECT text INTO <buffer> FROM all_source
WHERE owner = info.Program.Owner
AND name = info.Program.Name
AND line = info.Line#;
END;
However, this does not work for nonpersistent programs (for example, anonymous blocks and trigger invocation blocks). For nonpersistent programs, call SHOW_SOURCE. There are two flavors: one returns an indexed table of source lines, and the other returns a packed (and formatted) buffer.
The second overloading of SHOW_SOURCE returns the source in a formatted buffer, complete with line-numbers. It is faster than the indexed table version, but it does not guarantee to fetch all the source.
If the source does not fit in bufferlength (buflen), then additional pieces can be retrieved using the GET_MORE_SOURCE procedure (pieces returns the number of additional pieces that need to be retrieved).
74.7.31 SYNCHRONIZE Function
This function waits until the target program signals an event. If info_requested is not NULL, then it calls GET_RUNTIME_INFO.
Syntax
DBMS_DEBUG.SYNCHRONIZE ( run_info OUT runtime_info, info_requested IN BINARY_INTEGER := NULL) RETURN BINARY_INTEGER;
Parameters
Table 74-54 SYNCHRONIZE Function Parameters
| Parameter | Description |
|---|---|
|
|
Structure in which to write information about the program. By default, this includes information about what program is running and at which line execution has paused. |
|
|
Optional bit-field in which to request information other than the default (which is |
Return Values
Table 74-55 SYNCHRONIZE Function Return Values
| Return | Description |
|---|---|
|
|
A successful completion |
|
|
Timed out before the program started execution |
|
|
Other communication error |


