4 NRF Features
This section explains the NRF features.
Note:
The performance and capacity of the NRF system may vary based on the call model, Feature or Interface configuration, and underlying CNE and hardware environment.4.1 Egress Gateway Pod Throttling
Egress Gateway microservice handles all the outgoing traffic from NRF to other NFs. In the event of unexpected high traffic, uneven traffic distribution, or traffic bursts due to network fluctuations, the Egress Gateway pods may get overloaded. This further may impact the system latency and performance. It is required to protect the Egress Gateway microservice from these conditions to prevent high impact on the outgoing traffic.
With the implementation of this feature, each Egress Gateway pod monitors its incoming traffic and if the traffic exceeds the defined capacity, the excess traffic is not processed and gets rejected. The traffic capacity is applied at each pod and applicable to all the incoming requests irrespective of the message type.
Egress Gateway Pod Throttling Mechanism
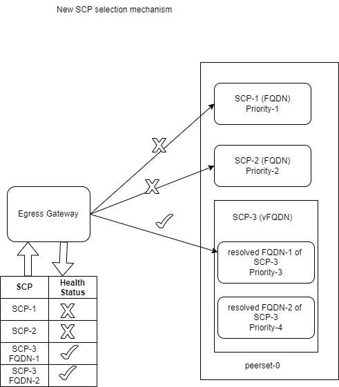
The following image describes the pod throttling mechanism when the requests received from NRF microservices like NFDiscovery, NFRegistration, NFSubscription, and NFAccessToken exceeds the defined capacity in Egress Gateway microservice.
Figure 4-1 Egress Gateway Pod Throttling Mechanism

- NRF microservice sends the requests to the Egress Gateway microservice.
- Egress Gateway microservice evaluates the number of requests received
from the other NRF microservices:
- If the number of incoming requests are 2500 and the maximum defined limit is 2700, then Egress Gateway microservice processes all the 2500 requests.
- If the number of incoming requests are 3000 and the maximum defined limit is 2700, then Egress Gateway microservice processes only 2700 requests, and rejects the additional 300 requests with response code 429 to the NRF microservice.
Note: When NRF Discovery microservice receives an overload response from Egress Gateway microservice, it does not retry or re-reroute this request. An error response will be generated based on the specific feature configurations like NRF Forwarding, Subscriber Location Function, and Roaming.
Managing the Egress Gateway Pod Throttling
Enable
This feature can be enabled or disabled at the time of NRF deployment using the following Helm Parameters:
Perform the following configuration for this feature using the Helm:
- Open the
ocnrf_custom_values_25.1.100.yamlfile. - Set the value of
egressgateway.podLevelMessageThrottling.enabledto true under Egress Gateway Microservice parameters section.Note:
- This feature is enabled by default.
- This feature also uses the following parameters which are
read-only:
egressgateway.podLevelMessageThrottling.durationegressgateway.podLevelMessageThrottling.requestLimitglobal.egwGeneratedErrorCheckDuringOverLoadglobal.egwResponseCodesDuringOverLoadglobal.noRetryDuringEgwOverload
For more information about the above parameters, see the "Egress Gateway Microservice" and "Global Parameters" sections in Oracle Communications Cloud Native Core, Network Repository Function Installation, Upgrade, and Fault Recovery Guide.
- Save the file.
- Install NRF. For more information about installation procedure, see Oracle Communications Cloud Native Core, Network Repository Function Installation, Upgrade, and Fault Recovery Guide.
- Run Helm upgrade, if you are enabling this feature after NRF deployment. For more information about upgrade procedure, see Oracle Communications Cloud Native Core, Network Repository Function Installation, Upgrade, and Fault Recovery Guide.
Observability
Metrics
Following metrics are added in the Egress Gateway Metrics section:
oc_egressgateway_podlevel_throttling_allowed_totaloc_egressgateway_podlevel_throttling_discarded_total
The route_id dimension is added in NRF Metrics.
Alerts
Following alerts are added in the Egress Gateway Pod Throttling section:
For more information about alerts, see NRF Alerts section.
KPIs
Added the Egress Gateway Pod Throttling KPI in the Egress Gateway Pod Throttling section.
Maintain
If you encounter alerts at system or application levels, see NRF Alerts section for resolution steps.
In case the alert persists, perform the following:
1. Collect the logs and Troubleshooting Scenarios: For more information on how to collect logs and troubleshooting information, see Oracle Communications Cloud Native Core, Network Repository Function Troubleshooting Guide.
2. Raise a service request: See My Oracle Support for more information on how to raise a service request.
4.2 Traffic Segregation
This feature provides an option for traffic segregation at NRF based on traffic types. Within a Kubernetes cluster, traffic segregation can divide applications or workloads into distinct sections such as Operations Administration and Maintenance (OAM), Service Based Interface (SBI), Kubernetes control traffic, and so on. The Multus Container Network Interface (CNI) plugin for Kubernetes enables attaching multiple network interfaces to pods to help segregate traffic to/from NRF edge microservices like Ingress and Egress Gateway microservices.
This feature addresses the challenge of logically separating IP traffic of different traffic types, which are typically handled through a single network (Kubernetes overlay). The new functionality ensures that critical networks are not cross-connected or sharing the same routes, thereby preventing network congestion.
The feature requires configuration of separate networks, Network Attachment Definitions (NADs), and the Cloud Native Load Balancer (CNLB). These configurations are crucial for facilitating Ingress/Egress gateway traffic segregation, and optimizing load distribution in NRF.
Note:
The Traffic Segregation feature is only available in NRF if OCCNE is installed with CNLB.Cloud Native Load Balancer (CNLB)
CNE provides CNLB for managing the ingress and egress network as an alternate
to the existing Load Balancing of Virtual Machine (LBVM), lb-controller, and
egress-controller solutions. You can enable or disable this feature only during a fresh
CNE installation. When this feature is enabled, CNE automatically uses CNLB to control
ingress traffic. To manage the egress traffic, you must preconfigure the egress network
details in the cnlb.ini file before installing CNE.
For more information about enabling and configuring CNLB, see Oracle Communications Cloud Native Core, Cloud Native Environment User Guide, and Oracle Communications Cloud Native Core, Cloud Native Environment Installation, Upgrade, and Fault Recovery Guide.
Network Attachment Definitions for CNLB
A Network Attachment Definition (NAD) is a resource used to set up a network attachment, in this case, a secondary network interface to a pod. NRF supports two types of CNLB NADs:
- Ingress Network Attachment Definitions
Ingress NADs are used to handle inbound traffic only. This traffic enters the CNLB application through an external interface service IP address and is routed internally using interfaces within CNLB networks.
Naming Convention:
nf-<service_network_name>-int - Egress Only Network Attachment Definitions
Egress Only NADs enable outbound traffic only. An NRF Egress Gateway pod can initiate traffic and route it through a CNLB application, translating the source IP address to an external egress IP address. An egress NAD contains network information to create interfaces for NRF Egress Gateway pods and routes to external subnets.
- Prerequisites:
- Ingress NADs are already created for the desired internal networks.
- Destination (egress) subnet addresses are known
beforehand and defined under the
cnlb.inifile'segress_destvariable to generate NADs. - The use of an Egress NAD on a deployment can be combined with Ingress NADs to route traffic through specific CNLB apps.
- Naming Convention:
nf-<service_network_name>-egr
- Prerequisites:
Ingress Traffic Segregation
Figure 4-2 Ingress Traffic Segregation

Here AMF-1 and AMF-2 send messages to the Ingress Gateway of the NRF. Internal traffic between NRF Backend and the Ingress Gateway travels through the default interface, eth0, which is connected to the pods. The signaling traffic between AMF-1 and NRF, as well as between AMF-2 and NRF, travels through a new interface, veth1, created using the Multus plugin. The Ingress service IPs and ports will be set up in Cloud Native Load Balancers (CNLBs), which will direct traffic to the Ingress Gateway. This gateway will then handle the requests and route them to the NRF.
Egress Traffic Segregation
The following image describes the traffic segregation at Egress Gateway.
Figure 4-3 Egress Traffic Segregation

Here NRF is connected to SLF and another NRF, which are on different PLMNs and different networks. Internal traffic between NRF Backend and the NRF Egress Gateway passes through the default interface, eth0, which is connected to the pods. The signaling traffic between NRF and SLF, as well as between NRF and NRF-2, travels through a new interface, veth1, created using the Multus plugin. Egress IPs will be defined at the CNLBs, which will perform Source Network Address Translation (SNAT) on the IP addresses in requests sent to SLF and NRF-2.
Managing Traffic Segregation
Enable
This feature is disabled by default. To enable this feature, you need to
configure the network attachment annotations in the
ocnrf_custom_values_25.1.100.yaml file.
Configuration
For more information about Traffic Segregation configuration, see " Configuring Traffic Segregation" section in Oracle Communications Cloud Native Core, Network Repository Function Installation, Upgrade, and Fault Recovery Guide.
Observe
There are no Metrics, KPIs, or Alerts available for this feature.
Maintain
To resolve any alerts at the system or application level, see NRF Alerts section. If the alerts persist, perform the following:
- Collect the logs: For more information on how to collect logs, see Oracle Communications Cloud Native Core, Network Repository Function Troubleshooting Guide.
- Raise a service request: See My Oracle Support for more information on how to raise a service request.
4.3 Support for Server Header
NRF handles various requests from consumer Network Functions (NFs) and other network entities over HTTP protocol. On receiving these requests, NRF validates and processes them before responding to these requests. When NRF sends an error response, it includes the source of the error to troubleshoot and take corrective measures.
This feature offers the support for Server Header in NRF responses, which contain information about the origin of an error response.
With this feature, NRF adds or passes the server header in the error responses as described in the following scenarios:
- When NRF acts as a standalone server.
- In NRF Forwarding scenarios, NRF propagates the server header received from peer NRF to the Consumer NF without any changes.
- In NRF Roaming scenarios, NRF propagates the server header received from other NFs to the Consumer NF without any changes.
This enhancement improves NRF’s error-handling scenarios by determining the originator of the error response for better troubleshooting.
When the server header feature is enabled, NRF adds the server header while generating the error responses.
The server header format is as follows:
<NRF>-<NrfInstanceId>Where,
<NRF>is the NF type.<NrfInstanceId>is the unique identifier of the NRF instance.
For example: NRF-6faf1bbc-6e4a-4454-a507-a14ef8e1bc5c
The following image illustrates the NRF behavior while processing the error responses:
Figure 4-4 Server Header Details

- Consumer or Client NF sends requests to NRF.
- NRF receives the requests from the Consumer or Client NF and validates them for further processing.
- In case, NRF sends an error response while processing the incoming requests, it adds the server header {NRF-<NrfInstanceId>} in the error response and sends it back to the Consumer or Client NF.
Managing Support for Server Header
Enable
- Enable using REST API:
- Global: Set the value of the
enabledattribute totruein the {apiRoot}/nrf/nf-common-component/v1/igw/serverheaderdetails configuration API. For more information about the API, see "Server Header Details" section in Oracle Communications Cloud Native Core, Network Repository Function REST Specification Guide. - Route level: Set the value of the
enabledattribute totruein the {apiRoot}/nrf/nf-common-component/v1/igw/routesconfiguration configuration API. For more information about the API, see "Routes Configuration" section in Oracle Communications Cloud Native Core, Network Repository Function REST Specification Guide.
- Global: Set the value of the
- Enable using CNC Console:
- Global: Switch Enabled on the Server Header Details page to enable the feature. For more information about enabling the feature using CNC Console, see Server Header Details.
- Route level: Switch Enabled on the Routes Configuration page to enable the feature. For more information about enabling the feature using CNC Console, see Routes Configuration.
For more information about server header propagation in service-mesh deployment, see Adding Filters for Server Header Propagation.
Configure
Perform the configurations in the following sequence to configure this feature using REST API or CNC Console:
- Configure {apiRoot}/nrf/nf-common-component/v1/igw/errorcodeserieslist to update the errorcodeserieslist that is used to list the configurable exception or error for an error scenario in Ingress Gateway.
- Perform the following global configuration in {apiRoot}/nrf/nf-common-component/v1/igw/serverheaderdetails API.
- (Optional) Perform the following configuration at route level based on
the
idattribute in {apiRoot}/nrf/nf-common-component/v1/igw/routesconfiguration API.Note:
- If the feature is not configured at route level, global configuration is taken into consideration.
- Route-level configuration will take precedence over the global configuration.
Observability
Metrics
There are no metrics added to this feature.
Alerts
There are no alerts added or updated for this feature.
KPIs
There are no KPIs related to this feature.
Maintain
If you encounter alerts at system or application levels, see the NRF Alerts section for resolution steps.
In case the alerts still persist, perform the following:
1. Collect the logs: For more information on collecting logs, see Oracle Communications Cloud Native Core, Network Repository Function Troubleshooting Guide.
2. Raise a service request: See My Oracle Support for more information on how to raise a service request.
4.4 Support for TLS
- Handshake Protocol: Exchanges the security parameters of a connection. Handshake messages are supplied to the TLS record layer.
- Record Protocol: Receives the messages to be transmitted, fragments the data into multiple blocks, secures the records, and then transmits the result. Received data is delivered to higher-level peers.
From Release 24.2.0 onwards, NRF supports TLS 1.3 for all Consumer NFs, Producer NFs, Data Director, SBI Interfaces, and interfaces where TLS 1.2 was supported. TLS 1.2 will continue to be supported.
TLS Handshake
This section describes the differences between TLS 1.2 and TLS 1.3 and the advantages of TLS 1.3 over TLS 1.2 and earlier versions.
Figure 4-5 TLS Handshake

Step 1: The connection or handshake starts when the client sends a “client hello” message to the server. This message consists of cryptographic information such as supported protocols and supported cipher suites. It also contains a random value or random byte string.
Step 2: To respond to the “client hello” message, the server sends the “server hello” message. This message contains the CipherSuite that the server has selected from the options provided by the client. The server also sends its certificate along with the session ID and another random value.
Step 3: The client verifies the certificate sent by the server. When the verification is complete, it sends a byte string and encrypts it using the public key of the server certificate.
Step 4: When the server receives the secret, both the client and server generate a master key along with session keys (ephemeral keys). These session keys are used to symmetrically encrypt the data.
Step 5: The client sends an “HTTP Request” message to the server to enable the server to switch to symmetric encryption using the session keys.
Step 6: To respond to the client’s “HTTP Request” message, the server does the same and switches its security state to symmetric encryption. The server concludes the handshake by sending an HTTP response.
Step 7: The client-server handshake is completed in two round-trips.
TLS 1.3Step 1: The connection or handshake starts when the client sends a “client hello” message to the server. The client sends the list of supported cipher suites. The client also sends its key share for that particular key agreement protocol.
Step 2: To respond to the “client hello” message, the server sends the key agreement protocol that it has chosen. The “Server Hello” message comprises the server key share, server certificate, and the “Server Finished” message.
Step 3: The client verifies the server certificate, generates keys as it has the key share of the server, and sends the “Client Finished” message along with an HTTP request.
Step 4: The server completes the handshake by sending an HTTP response.
The following digital signature algorithms are supported in TLS handshake:
Table 4-1 Digital Signature Algorithms
| Algorithm | Key Size (Bits) | Elliptic Curve (EC) |
|---|---|---|
| RS256 (RSA) | 2048 | NA |
| 4096 This is the recommended value. | NA | |
| ES256 (ECDSA) | NA | SECP384r1
This is the recommended value. |
Comparison Between TLS 1.2 and TLS 1.3
The following table provides a comparison of TLS 1.2 and TLS 1.3:
Table 4-2 Comparison of TLS 1.2 and TLS 1.3
| Feature | TLS 1.2 | TLS 1.3 |
|---|---|---|
| TLS Handshake |
|
|
| Cipher Suites |
|
|
| Round-Trip Time (RTT) | This has a high RTT during the TLS handshake. | This has low RTT during the TLS handshake. |
| Perfect Forward Secrecy (PFS) | This doesn't support PFS. | TLS 1.3 supports PFS. PFS ensures that each session key is completely independent of long-term private keys, which are keys that are used for an extended period to decrypt encrypted data. |
| Privacy | This is less secure, as the ciphers used are weak. | This is more secure, as the ciphers used are strong. |
| Performance | This has high latency and a less responsive connection. | This has low latency and a more responsive connection. |
Advantages of TLS 1.3
TLS 1.3 handshake offers the following improvements over earlier versions:
- all handshake messages after the ServerHello are encrypted.
- improves efficiency in the handshake process by requiring fewer round trips than TLS 1.2. It also uses cryptographic algorithms that are faster.
- better security than TLS 1.2. It addresses known vulnerabilities in the handshake process.
- got rid of data compression.
The following table describes the TLS versions supported in the client and server side. The last column indicates which version will be used.
When NRF is acting as a client or a server, it can have different TLS versions.
The following table gives information about which TLS version will be used when you have various combinations of TLS versions between the server and the client.
Table 4-3 TLS Version Used
| Client Support | Server Support | TLS Version Used |
|---|---|---|
| TLS 1.2, TLS 1.3 | TLS 1.2, TLS 1.3 | TLS 1.3 |
| TLS 1.3 | TLS 1.3 | TLS 1.3 |
| TLS 1.3 | TLS 1.2, TLS 1.3 | TLS 1.3 |
| TLS 1.2, TLS 1.3 | TLS v1.3 | TLS 1.3 |
| TLS 1.2 | TLS 1.2, TLS 1.3 | TLS 1.2 |
| TLS 1.2, TLS 1.3 | TLS 1.2 | TLS 1.2 |
| TLS 1.3 | TLS 1.2 |
Sends an error message. For more information about the error message, see "Troubleshooting TLS Version Compatibilities" section in Oracle Communications Cloud Native Core, Network Repository Function Troubleshooting Guide. |
| TLS 1.2 | TLS 1.3 |
Sends an error message. For more information about the error message, see "Troubleshooting TLS Version Compatibilities" section in Oracle Communications Cloud Native Core, Network Repository Function Troubleshooting Guide. |
Note:
- If Egress Gateway is deployed with both the versions of TLS that is TLS 1.2 and TLS 1.3, then Egress Gateway as client will send both versions of TLS in the client hello message during the handshake and the server needs to decide which version to be used.
- If Ingress Gateway is deployed with both the version of TLS that is with TLS 1.2 and TLS 1.3, then Ingress Gateway as the server will use the TLS version received from the client in the server hello message during the handshake.
- This feature does not work in ASM deployment.
Managing Support for TLS 1.2 and TLS 1.3
Enable
This feature can be enabled or disabled at the time of NRF deployment using the following Helm Parameters:
- enableIncomingHttps - This flag is used for
enabling/disabling HTTPS/2.0 (secured TLS) in the Ingress Gateway. If the
value is set to false, NRF will not accept any HTTPS/2.0 (secured) traffic.
If the value is set to true, NRF will accept HTTPS/2.0 (secured) Traffic.
Note: Do not change
For more information on enabling this flag, see the "Enabling HTTPS at Ingress Gateway" section in Oracle Communications Cloud Native Core, Network Repository Function Installation, Upgrade, and Fault Recovery Guide.&enableIncomingHttpsRefreference variable. - enableOutgoingHttps -This flag is used for
enabling/disabling HTTPS/2.0 (secured TLS) in the Egress Gateway. If the
value is set to false, NRF will not accept any HTTPS/2.0 (secured) traffic.
If the value is set to true, NRF will accept HTTPS/2.0 (secured) traffic.
For more information on enabling this flag, see the "Enabling HTTPS at Egress Gateway" section in Oracle Communications Cloud Native Core, Network Repository Function Installation, Upgrade, and Fault Recovery Guide.
Configure
You can configure this feature using Helm parameters.
The following parameters in the Ingress Gateway and Egress Gateway microservices must be customized to support TLS 1.2 or TLS 1.3.
- Generate HTTPS certificates for both the Ingress and Egress Gateways. Ensure that the certificates are correctly configured for secure communication. After generating the certificates, create a Kubernetes secret for each Gateway (Ingress and Egress). Then, configure these secrets to be used by the respective Gateways. For more information about HTTPS configuration, generating certificates, and creating secrets, see the "Configuring Secrets for Enabling HTTPS" section in the Oracle Communications Cloud Native Core, Network Repository Function Installation, Upgrade, and Fault Recovery Guide.
- Open the
ocnrf_custom_values_25.1.100.yamlfile. - Configure the following parameters under Ingress Gateway and
Egress Gateway parameters section.
- Parameters required to support TLS 1.2:
service.ssl.tlsVersionindicates the TLS version.cipherSuitesindicates supported cipher suites.allowedCipherSuitesindicates allowed cipher suites.messageCopy.security.tlsVersionindicates the TLS version for establishing communication between Kafka and NF when security is enabled.
- Parameters required to support TLS 1.3:
service.ssl.tlsVersionindicates the TLS version.cipherSuitesindicates the supported cipher suites.allowedCipherSuitesindicates the allowed cipher suites.messageCopy.security.tlsVersionindicates the TLS version for establishing communication between Kafka and NF when security is enabled.clientDisabledExtensionis used to disable the extension sent by messages originated by clients during the TLS handshake with the server.serverDisabledExtensionis used to disable the extension sent by messages originated by servers during the TLS handshake with the client.tlsNamedGroupsis used to provide a list of values sent in the supported_groups extension. These are comma-separated values.clientSignatureSchemesis used to provide a list of values sent in the signature_algorithms extension.
For more information about configuring the values of the above-mentioned parameters, see the "Ingress Gateway Microservice" and "Egress Gateway Microservice" sections in Oracle Communications Cloud Native Core, Network Repository Function Installation, Upgrade, and Fault Recovery Guide.
- Parameters required to support TLS 1.2:
- Save the file.
- Install NRF. For more information about installation procedure, see Oracle Communications Cloud Native Core, Network Repository Function Installation, Upgrade, and Fault Recovery Guide.
- Run Helm upgrade, if you are enabling this feature after NRF deployment. For more information about upgrade procedure, see Oracle Communications Cloud Native Core, Network Repository Function Installation, Upgrade, and Fault Recovery Guide.
Note:
- NRF does not prioritize cipher suites based on priorities. To select a cipher based on priorities, you must write the cipher suites in decreasing order of priority.
- NRF does not prioritize supported groups based on priorities. To select a supported group based on priorities, you must write the supported group values in the decreasing order of priority.
- If you want to provide values for the signature_algorithms extension
using the clientSignatureSchemes parameter, the following
comma-separated values must be provided to deploy the services:
- rsa_pkcs1_sha512
- rsa_pkcs1_sha384
- rsa_pkcs1_sha256
- The mandatory extensions as listed in RFC 8446 cannot be disabled using
the clientDisabledExtension attribute on the client or using the
serverDisabledExtension attribute on the server side. The
following is the list of the extensions that cannot be disabled:
- supported_versions
- key_share
- supported_groups
- signature_algorithms
- pre_shared_key
Metrics
Following metrics are added in the NRF Gateways Metrics section:
oc_ingressgateway_incoming_tls_connectionsoc_egressgateway_outgoing_tls_connectionssecurity_cert_x509_expiration_seconds
For more information about metrics, see NRF Metrics section.
Alerts
Following alerts are added in the NRF Alerts section:
Note:
Alert gets raised for every certificate that will expire in the above time frame. For example, NRF supports both RSA and ECDSA. So, we have configured two certificates. Accordingly, let us suppose RSA certificate is about to expire in 6 months in this situation only one alert will be raised and if both are about to expire then two alerts will be raised. Moreover, alerts can be differentiated using "serialNumber" tag.For example, serialNumber=4661 is used for RSA and serialNumber =4662 is used for ECDSA.
Maintain
If you encounter alerts at system or application levels, see NRF Alerts section for resolution steps.
In case the alert persists, perform the following:
- Collect the logs and Troubleshooting Scenarios: For more information on how to collect logs and troubleshooting information, see Oracle Communications Cloud Native Core, Network Repository Function Troubleshooting Guide.
- Raise a service request: See My Oracle Support for more information on how to raise a service request.
4.5 Error Messages Enhancement
4.5.1 Error Response Enhancement for NRF
NRF receives the
message requests from Consumer NFs and may send error responses while processing them.
The error response generated by NRF included the error description in the detail attribute of
the ProblemDetails. This description is used to identify the issue and
troubleshoot them.
ProblemDetails before the error details
enhancement is as follows:
{
“title”: “Not Found”,
“status”: 404,
“detail”: “NRF Forwarding Error Occurred”,
“cause”: “UNSPECIFIED_MSG_FAILURE”
}
With the enhanced error response mechanism, NRF sends additional information such
as server FQDN, NF service name, vendor NF name, and application error Id in the
detail attribute of the ProblemDetails. This
enhancement provides more information about the error and troubleshoot them.
ProblemDetails is as
follows:
{
“title”:“<title of Problem Details>”,
“status”:“<status code of Problem Details>”,
“detail”:“<Server-FQDN>:<NF Service>:<Application specific problem detail>:<VendorNF>-<App-Error-Id>“,
“cause”:“<cause value of Problem Details>”
}{
“title”: “Not Found”,
“status”: 404,
“detail”: “NRF-d5g.oracle.com: Nnrf_NFManagement: NRF Forwarding Error Occurred: ONRF-REG-NFPRFWD-E0299; 404; NRF-d5g.oracle.com: Nnrf_NFManagement: Could not find Profile records for NfInstanceId=8cfc6828-bd5d-4a3a-93d4-6bdd848d6bab: ONRF-REG-NFPR-E1004”,
“cause”: “UNSPECIFIED_MSG_FAILURE”
}The updated format for the detail attribute will be sent only
for the error responses generated by NRF application. For all other scenarios (like response generated by the
underlying stack) the detail attribute will not provide the information
in the updated format.
Note:
All responses sent by NRF application towards the peer follows this format. All internal microservice responses and OAM responses may or may not follow this format.The following table describes the detail attribute of the
ProblemDetails parameter:
Table 4-4 Detail Attributes of the ProblemDetails
| Attribute | Description |
|---|---|
<Server-FQDN> |
Indicates the NRF FQDN. It is obtained from the
nfFqdn Helm parameter.
Sample Value: NRF-d5g.oracle.com |
<NF Service> |
Indicates the service name. This service name can be
3GPP defined NRF
service name or an internal one.
Possible Values:
|
<Application specific problem
detail> |
Indicates a short description of the error. Sample Value:
|
<VendorNF> |
Indicates the Oracle NF Type. For NRF, this value is always ONRF. Here, O is the prefixed value. NF type is obtained from thenfType Helm parameter.
|
<App-Error-Id> |
Indicates the application specific error Id. This Id is a unique error Id which includes the Microservice ID, Category, and the Error Code. The format of Where,
Sample Value:
|
Table 4-5 Microservice Ids List
| Microservice Ids | Microservice Name |
|---|---|
REG |
nfregistration |
SUB |
nfsubscription |
DIS |
nfdiscovery |
ACC |
nfaccesstoken |
CDS |
nrfcachedata |
AUD |
nrfauditor |
CFG |
nrfconfiguration |
ART |
nrfartisan |
IGW |
ingressgateway |
EGW |
egressgateway |
ARS |
alternate-route |
Table 4-6 List of Categories
| Category Id | Category Description |
|---|---|
ACAUTHN |
Authentication during Access Token service operation. |
ACAUTHZ |
Authorization during Access Token service operation. |
ACCOPT |
Access Token configuration. |
ACFWD |
Access Token service operation during forwarding. |
ACROAM |
Access Token service operation during roaming. |
ACTOK |
Access Token service operation. |
AUTHOPT |
Authentication options configuration. |
CNCCDTN |
CNCC Controller configuration. |
CSHTOPT |
Control shutdown options configuration. |
DEREG |
NFDeregister service operation. |
DISAUTH |
NFDiscover service operation during authorization. |
DISC |
NFDiscover service operation. |
DISCOPT |
Discovery options configuration. |
DISCSLF |
SLF for NFDiscover. |
DISCFWD |
NFDiscover service operation during forwarding. |
DISROAM |
NFDiscover service operation during roaming. |
FULLUPD |
NFUpdate with Full Replacement (PUT) service operation. |
FWDOPT |
Forwarding options configuration. |
GENOPT |
General options configuration. |
GROPT |
GeoRedundancy options configuration. |
GTSUB |
Get subscription. |
GWTHFOR |
Growth configuration for forwarding. |
GWTHOPT |
Growth options configuration. |
HB |
NFHeartbeat service operation. |
HBAUD |
Heart beat for NRF Auditor service operation. |
HBRMAUD |
Remote heart beat for NRF Auditor. |
INVSROP |
UnSupported HTTP Method for service operation. |
LOGOPT |
Logging options configuration. |
MGMTOPT |
Management options configuration. |
NFDTLS |
Fetching NF State data |
NFINSTS |
Get remote discovery instance and remote instance data. |
NFLR |
NFListRetrieval service operation. |
NFPR |
NFProfileRetrieval service operation. |
NFPRAUD |
NRF Auditor service operation for NF profiles. |
NFPRFWD |
NFProfileRetrieval service operation during forwarding. |
NPTRDRG |
NRF Artisan for notification event to DNS NAPTR on deleting AMF profile. |
NPTROPT |
NAPTR options configuration. |
NPTRREC |
Status API for DNS NAPTR record. |
NPTRREG |
NRF Artisan for NAPTR registration. |
NPTRUPD |
NRF Artisan for DNS NAPTR update. |
NRFCFG |
Fetching NRF Configuration. |
NRFOPER |
NRF operation state configuration. |
PARTUPD |
NFUpdate with Partial Replacement (PATCH) service operation. |
POPROPT |
Pod protection options configuration. |
REGN |
NFRegister service operation. |
RELDVER |
NRF Auditor service operation for reloading site and network version info. |
ROAMOPT |
Roaming options configuration. |
RTNPTR |
Manual cache update of DNS NAPTR records. |
SCRNOPT |
Screening options configuration. |
SCRNRUL |
Screening rules configuration. |
SLFOPT |
SLF options configuration. |
SNOTIF |
NFStatusNotify service operation. |
SUBAUD |
NRF Auditor service operation for subscription. |
SUBDTLS |
Retrieve subscription details based on query attributes for configuring the non-signaling API. |
SUBFWD |
NFStatusSubscribe service operation during forwarding. |
SUBRAUD |
NRF Auditor service operation for remote subscription. |
SUBROAM |
NFStatusSubscribe service operation during roaming. |
SUBSCR |
NFStatusSubscribe service operation. |
UNKSROP |
UnSupported media type. |
UNSFWD |
NFStatusUnsubscribe service operation during forwarding. |
UNSROAM |
NFStatusUnsubscribe service operation during roaming. |
UNSUBSC |
NFStatusUnsubscribe service operation. |
UPDSUBS |
NFStatusSubscribe update (PATCH) service operation. |
UPSFWD |
NFStatusSubscribe update (PATCH) service operation during forwarding. |
UPSROAM |
NFStatusSubscribe update (PATCH) service operation during roaming. |
The error response codes are available in the Error Response Code Detailssection.
Managing the Error Response Enhancements for NRF
This section explains the procedure to enable and configure the feature.
Enable
This feature is an enhancement to the existing detail
attribute in the ProblemDetails and hence there is no specific flag to
enable or disable this feature.
Configure
You can configure the feature using Helm.
Helm
- Open the
ocnrf_custom_values_25.1.100.yamlfile. - Configure the following parameters under global parameters:
global.nfFqdnparameter to indicate the NRF FQDN.global.nfTypeparameter to indicate the NF type.global.maxDetailsLengthis used to determine the maximum length limit of compiled error string by NRF in the details field.
- Save the file.
- Install NRF. For more information about installation procedure, see Oracle Communications Cloud Native Core, Network Repository Function Installation, Upgrade, and Fault Recovery Guide.
- Run Helm upgrade, if you are enabling this feature after NRF deployment. For more information about upgrade procedure, see Oracle Communications Cloud Native Core, Network Repository Function Installation, Upgrade, and Fault Recovery Guide.
Observability
Metrics
There are no new metrics added to this feature.
Alerts
There are no alerts added or updated for this feature.
KPIs
There are no new KPIs related to this feature.
Maintain
If you encounter alerts at system or application levels, see the NRF Alerts section for resolution steps.
In case the alerts still persist, perform the following:
1. Collect the logs: For more information on collecting logs, see Oracle Communications Cloud Native Core, Network Repository Function Troubleshooting Guide.
2. Raise a service request: See My Oracle Support for more information on how to raise a service request.
4.5.2 Error Log Messages Enhancement
NRF uses the logs to register the system events along with their date and time of occurrence. They also provide important details about the chain of events that could have led to an error or problem. These log details are further used to identify the source of the error and troubleshoot them. NRF supports various log levels that can be set for a microservice with any of the following values:
- TRACE
- DEBUG
- INFO
- WARN
- ERROR
For more information on details of these log levels, see the “Log Levels” section in Oracle Communications Cloud Native Core, Network Repository Function Troubleshooting Guide.
With this feature, NRF adds additional information to the existing “ERROR” log messages. This additional information can provide more details about the error which can help to identify the problem details, error generating entity and subscriber information.
The Error Log Messages Enhancement feature adds the following additional attributes to the existing "ERROR" logs with appropriate values during the failure scenarios:
errorStatuserrorTitleerrorDetailserrorCausesenderreceiversubscriberId
For more information about the new attributes, see Table 4-7.
Sample enhanced log details for the NRF Subscription Microservice:
{
"instant": {
"epochSecond": 1717077558,
"nanoOfSecond": 256932930
},
"thread": "boundedElastic-8",
"level": "ERROR",
"loggerName": "com.oracle.cgbu.cne.nrf.routes.SubscriptionHandler",
"message": "Response sent: 500 Subscription global limit breached for uri : http://ocnrf-ingressgateway.nrf1-ns/nnrf-nfm/v1/subscriptions with the problem cause : INSUFFICIENT_RESOURCES and problem details : NRF-d5g.oracle.com: Nnrf_NFManagement: Subscription global limit breached: ONRF-SUB-SUBSCR-E2003",
"endOfBatch": false,
"loggerFqcn": "org.apache.logging.log4j.spi.AbstractLogger",
"threadId": 39547,
"threadPriority": 5,
"messageTimestamp": "2024-05-30T13:59:18.256+0000",
"configuredLevel": "WARN",
"subsystem": "NfSubscribe",
"processId": "1",
"nrfTxId": "nrf-tx-2103278974",
"ocLogId": "1717077558225_77_ocnrf-ingressgateway-854464d548-426bz:1717077558237_110_ocnrf-nfsubscription-766d45f5c7-t4xp8",
"xRequestId": "",
"numberOfRetriesAttempted": "",
"hostname": "ocnrf-nfsubscription-766d45f5c7-t4xp8",
"errorStatus": "500",
"errorTitle": "Subscription global limit breached",
"errorDetails": "NRF-d5g.oracle.com: Nnrf_NFManagement: Subscription global limit breached: ONRF-SUB-SUBSCR-E2003",
"errorCause": "INSUFFICIENT_RESOURCES",
"sender": "NRF-6faf1bbc-6e4a-4454-a507-a14ef8e1bc5c",
"subscriberId": "imsi-345012123123126"
}In the above example, the following new attributes are added to the error logs.
"errorStatus": "500",
"errorTitle": "Subscription global limit breached",
"errorDetails": "NRF-d5g.oracle.com: Nnrf_NFManagement: Subscription global limit breached: ONRF-SUB-SUBSCR-E2003",
"errorCause": "INSUFFICIENT_RESOURCES",
"sender": "NRF-6faf1bbc-6e4a-4454-a507-a14ef8e1bc5c",
"subscriberId": "imsi-345012123123126"The additionalErrorLogging feature flag is added to the
logging API for the supported microservices. When the feature flag is enabled, it adds
the errorStatus, errorTitle,
errorDetails, errorCause, sender,
receiver attributes to the ERROR logs.
Additionally, the logSubscriberInfo flag is added to the logging API for
the supported microservices. When additionalErrorLogging and
logSubscriberInfo are enabled, the subscriber information is also
added to the ERROR logs.
When the logSubscriberInfo flag is enabled and if the
subscriberId information is available, then NRF adds the
subscriberId value in the log messages. If
logSubscriberInfo is disabled, and the
subscriberId information is still available NRF adds the
subscriberId value as XXXX in the log messages.
Note:
The subscriberId value can be any of the following:
- 3GPP-Sbi-Correlation-Info header present in the request header received at NRF.
- 3GPP-Sbi-Correlation-Info header present in the response header received from the peer in the case of NRF acting as a client.
- Either SUPI or GPSI values or both SUPI and GPSI values.
For more information about the subscriberId attribute,
see Table 4-7.
Example with both SUPI and GPSI values:
{
"instant": {
"epochSecond": 1717489820,
"nanoOfSecond": 998846286
},
"thread": "@608f310a-49",
"level": "ERROR",
"loggerName": "com.oracle.cgbu.cne.nrf.service.NFDiscoveryService",
"message": "Response sent: 503 null for uri : /nnrf-disc/v1/nf-instances?{target-nf-type=[UDR], requester-nf-type=[UDM], supi=[imsi-10000005], gpsi=[msisdn-77195225555]} with the problem cause : null and problem details : NRF-d5g.oracle.com: Nnrf_NFDiscovery: SLF Lookup Error Occurred: ONRF-DIS-DISCSLF-E0499; 503; null; 503; null",
"endOfBatch": false,
"loggerFqcn": "org.apache.logging.log4j.spi.AbstractLogger",
"threadId": 49,
"threadPriority": 5,
"messageTimestamp": "2024-06-04T08:30:20.998+0000",
"configuredLevel": "WARN",
"processId": "1",
"nrfTxId": "nrf-tx-2050587612",
"ocLogId": "1717489820750_308_ocnrf-ingressgateway-54594dfd87-9fq2k:1717489820763_73_ocnrf-nfdiscovery-744ff58c64-5cdh9",
"serviceOperation": "NFDiscover",
"xRequestId": "",
"requesterNfType": "UDM",
"targetNfType": "UDR",
"discoveryQuery": "/nnrf-disc/v1/nf-instances?{target-nf-type=[UDR], requester-nf-type=[UDM], supi=[imsi-10000005], gpsi=[msisdn-77195225555]}",
"hostname": "ocnrf-nfdiscovery-744ff58c64-5cdh9",
"subsystem": "discoveryNfInstances",
"errorStatus": "503",
"errorDetails": "NRF-d5g.oracle.com: Nnrf_NFDiscovery: SLF Lookup Error Occurred: ONRF-DIS-DISCSLF-E0499; 503; null; 503; null",
"sender": "NRF-6faf1bbc-6e4a-4454-a507-a14ef8e1bc5c",
"subscriberId": "imsi-10000005;msisdn-77195225555"
}Note:
The log with updates attributes will be printed only for the error responses generated by NRF application. For all other scenarios (like error responses generated by the underlying stack) the log with updated attributes will not be printed.Mapping Error Log Attributes
The following table explains the mapping of the new attributes with the
existing attributes of ProblemDetails, subscriberId,
sender, and receiver in the error logs.
Table 4-7 Mapping Error Log Attributes
| New Attribute in Logs | Value when NRF acting as Standalone Server(Example: NFRegister, NFUpdate, NFListRetrieval, NFProfileRetrieval service operations and so on) | Value when NRF is acting as Standalone Client(Example: NfStatusNotify service operation) | Value when NRF acting as both Server and Client(Example: NRF Forwarding, Roaming, SLF) | |
|---|---|---|---|---|
| As Server | As Client | |||
errorStatus |
status sent by NRF in
ProblemDetails of HTTP response
|
status received byNRF in
ProblemDetails of HTTP response
|
status sent by NRF in
ProblemDetails of HTTP response
|
status received by NRF in
ProblemDetails of HTTP response
|
errorTitle |
title sent by NRF in
ProblemDetails of HTTP response
|
title received by NRF in
ProblemDetails of HTTP response
|
title sent by NRF in
ProblemDetails of HTTP response
|
title received by NRF in
ProblemDetails of HTTP response
|
errorDetails |
detail sent by NRF in
ProblemDetails of HTTP response
|
detail received by NRF in
ProblemDetails of HTTP response
|
detail sent by NRF in
ProblemDetails of HTTP response
|
detail received by NRF in
ProblemDetails of HTTP response
|
errorCause |
cause sent by NRF in
ProblemDetails of HTTP response
|
cause received by NRF in
ProblemDetails of HTTP response
|
cause sent by NRF in
ProblemDetails of HTTP response
|
cause received by NRF in
ProblemDetails of HTTP response
|
sender |
NRF-NRF Instance Id | Server header value as received in the error response. | NRF-NRF Instance Id | Server header value as received in the error response |
receiver |
Not applicable | NRF-NRF Instance Id | Not applicable | NRF-NRF Instance Id |
subscriberId |
The priority is considered as follows:
|
The priority is considered as follows:
|
The priority is considered as follows:
|
The priority is considered as follows:
|
Note:
In case, if any of the above newly added attributes does not have a value, then these attributes will not be present in the log.Access Token Error Mappings
In case of ERROR generated for Access Token service operation, the failure responses
generated can be an instance of problemDetails or an
AccessTokenErr. In case of problemDetails, the
mappings are mentioned as Table 4-7 table. In case of AccessTokenErr the mapping is as
follows:
Table 4-8 Access Token Err
| New Attributes in Logs | AccessTokenErr |
|---|---|
| errorStatus | 400 |
| errorTitle | Bad Request |
| errorDetails | error_description |
| errorCause | error |
Sample AccessTokenErr message
{
"error": "unauthorized_client",
"error_description": "NRF-d5g.oracle.com: Nnrf_AccessToken: NfType in oAuth request is different from the registered profile: ONRF-ACC-ACTOK-E4004",
"error_uri": None
}Sample Error Log Messages for Access Token Error
{
"instant": {
"epochSecond": 1717078943,
"nanoOfSecond": 335260003
},
"thread": "XNIO-1 task-2",
"level": "ERROR",
"loggerName": "com.oracle.cgbu.cne.nrf.rest.NFAccessTokenController",
"message": "Response sent: 400 Bad Request for uri : http://ocnrf-ingressgateway.nrf1-ns/oauth2/token with the problem cause : Bad Request and problem details : Bad Request",
"endOfBatch": false,
"loggerFqcn": "org.apache.logging.log4j.spi.AbstractLogger",
"threadId": 71,
"threadPriority": 5,
"messageTimestamp": "2024-05-30T14:22:23.335+0000",
"configuredLevel": "WARN",
"subsystem": "accessToken",
"processId": "1",
"nrfTxId": "nrf-tx-1682094534",
"ocLogId": "1717078942906_77_ocnrf-ingressgateway-854464d548-426bz:1717078942947_71_ocnrf-nfaccesstoken-79b55d9b45-qm4gn",
"xRequestId": "",
"hostname": "ocnrf-nfaccesstoken-79b55d9b45-qm4gn",
"errorStatus": "400",
"errorTitle": "Bad Request",
"errorDetails": "NRF-d5g.oracle.com: Nnrf_AccessToken: NfType in oAuth request is different from the registered profile: ONRF-ACC-ACTOK-E4004",
"errorCause": "unauthorized_client",
"sender": "NRF-6faf1bbc-6e4a-4454-a507-a14ef8e1bc5c",
"subscriberId": "imsi-345012123123129"
}Managing the Error Log Messages Enhancements
This section explains the procedure to enable and configure the feature.
Enable
You can enable the Error Log Messages Enhancements feature using the REST API or Console:
- Enable Using REST API: Set the value of the feature flags
additionalErrorLoggingandlogSubscriberInfoas ENABLED for each of the supported microservices as described in Oracle Communications Cloud Native Core, Network Repository Function REST Specification Guide.Sample API
{ "appLogLevel": "WARN", "packageLogLevel": [ { "packageName": "root", "logLevelForPackage": "WARN" } ], "additionalErrorLogging": "ENABLED", "logSubscriberInfo": "ENABLED" }- {apiRoot}/nrf-configuration/v1/nfAccessToken/logging
- {apiRoot}/nrf-configuration/v1/nfDiscovery/logging
- {apiRoot}/nrf-configuration/v1/nfRegistration/logging
- {apiRoot}/nrf-configuration/v1/nfSubscription/logging
- {apiRoot}/nrf-configuration/v1/nrfArtisan/logging
- {apiRoot}/nrf-configuration/v1/nrfAuditor/logging
- {apiRoot}/nrf-configuration/v1/nrfConfiguration/logging
- {apiRoot}/nrf-configuration/v1/nrfCacheData/logging
- Enable Using CNC Console: Set the value of the feature flags Additional Error Logging and Log Subscriber Info as ENABLED for each of the supported microservices in Logging Level Options. For more information, see Logging Level Options.
You can configure the feature using Helm.
Perform the following steps to configure this feature using Helm:
- Open the
ocnrf_custom_values_25.1.100.yamlfile. - Configure the following existing parameters:
global.nrfInstanceIdto determine the NRF NfInstanceId.global.nfTypeto determine the NF type.
- Save the file.
- Install NRF. For more information about the installation procedure, see Oracle Communications Cloud Native Core, Network Repository Function Installation, Upgrade, and Fault Recovery Guide.
- Run Helm upgrade, if you are enabling this feature after NRF deployment. For more information about the upgrade procedure, see Oracle Communications Cloud Native Core, Network Repository Function Installation, Upgrade, and Fault Recovery Guide.
Observability
Metrics
There are no new metrics added for this feature.
Alerts
There are no alerts added or updated for this feature.
KPIs
There are no new KPIs related for this feature.
Maintain
If you encounter alerts at system or application levels, see the NRF Alerts section for the resolution steps.
In case the alerts still persist, perform the following:
1. Collect the logs: For more information on collecting logs, see Oracle Communications Cloud Native Core, Network Repository Function Troubleshooting Guide.
2. Raise a service request: See My Oracle Support for more information on how to raise a service request.
4.6 Limiting Number of NFProfiles in NFDiscover Response
limit: Maximum number of NFProfiles to be returned in the response.Minimum: 1
max-payload-size: Maximum payload size of the response, expressed in kilo octets. When present, the NRF limits the number of NFProfiles returned in the response so as to not to exceed the maximum payload size indicated in the request.Default: 124 kilo octets
Maximum: 2000 (that is, 2 mega octet)
limit Attribute
While returning the NFProfiles in the NFDiscover service operation response, NRF
limits the number of NFProfiles that can be returned after processing the NFDiscover
service operation request based on the value of the limit
attribute.
In case the limit attribute is not present in the
NFDiscover search query, then NRF limits the number of NFProfiles based on the value
of the profilesCountInDiscoveryResponse attribute in the
{apiRoot}/nrf-configuration/v1/nfDiscoveryOptions API.
max-payload-size Attribute
max-payload-size
attribute, excluding the size of the following attributes defined by 3GPP of the
NFDiscover service operation response:
- validityPeriod (Mandatory)
- nfInstances (Mandatory)
- preferredSearch (Conditional)
- nrfSupportedFeatures (Conditional)
In case this attribute is not present in the NFDiscover search query, then NRF considers the default value (124 kilo octets) as defined by 3GPP TS 29.510.
4.7 Support for cnDBTier APIs in CNC Console
NRF earlier fetched the status of cnDBTier using the CLI-based mechanism.
Table 4-9 cnDBTier APIs
| Console Parameter | cnDBTier API name | Description |
|---|---|---|
| cnDBTier Health | http://<base-uri>/{unique_prefix}/ocdbtier/health-info |
This API lists the health info of cnDBTier pods. |
| Backup Manager Health Status | http://<base-uri>/{unique_prefix}/ocdbtier/health-info/backup-mgr-svc/status |
This is a read-only API. This API displays the health status of the backup manager service. It checks the following:
|
| Monitor Health Status | http://<base-uri>/{unique_prefix}/ocdbtier/health-info/monitor-svc/status |
This is a read-only API. This API displays the health status of the monitor service. It checks the following:
|
| NDB Health Status | http://<base-uri>/{unique_prefix}/ocdbtier/health-info/ndb-svc/status |
This is a read-only API. This API displays the health status of the NDB service pods such as (data pods, sql pods, app-my-sql pods, mgmt pods). It checks the following:
Note: PVC Health Status attribute is set to NA when some of the database pods are not connected to the PVC. |
| Replication Health Status | http://<base-uri>/{unique_prefix}/ocdbtier/health-info/replication-svc/status |
This is a read-only API. This API displays the health status of the replication service. It checks the following:
|
| cnDBTier Version | http://<base-uri>/ocdbtier/version |
This is a read-only API. This API displays the cnDBTier version. |
| Backup List | http://<base-uri>/ocdbtier/list/backups |
This is a read-only API. This API displays the details of completed backups along with backup ID, backup creation timestamp, and backup size. |
| Database Statistics Report | http://<base-uri>/ocdbtier/statistics/report/dbinfo |
This is a read-only API. This API displays the number of available database. |
| Geo Replication Status | dbconfig-geoReplicationStatus |
This API displays the georeplication status. |
| Real Time Overall Replication Status | http://<base-uri>/ocdbtier/status/replication/realtime |
This is a read-only API. This API displays the overall replication status in multisite deployments. For example, in a four-site deployment, it provides the replication status between the following sites: site1-site2, site1-site3, site1-site4. This is applicable for all other sites, such as, site 2, site 3, and site 4. |
| Site Specific Real Time Replication Status | http://<base-uri>/ocdbtier/status/replication/realtime/{remoteSiteName} |
This is a read-only API. This API displays the site-specific replication status. |
| HeartBeat Status | http://<base-uri>/ocdbtier/heartbeat/status |
This is a read-only API. This API displays the connectivity status between the local site and the remote site name to which NRF is connected. |
| Local Cluster Status | http://<base-uri>/db-tier/status/cluster/local/realtime |
This is a read-only API. This API displays the status of the local cluster. |
| On Demand Backup | http://<base-uri>/ocdbtier/on-demand/backup/initiate |
This API is used to initiate a new backup. This API displays the status of initiated on-demand backups and helps to create a new backup. |
| Georeplication Recovery | NA | This API displays the geo replication recovery status. |
| Update Cluster As Failed | http://<base-uri>/ocdbtier/markcluster/failed |
This API is used to mark a disrupted cnDBTier cluster as failed. |
| Start Georeplication Recovery | http://<base-uri>/ocdbtier/faultrecovery/start |
This API is used to start the georeplication recovery process. |
| Georeplication Recovery Status | http://<base-uri>/ocdbtier/faultrecovery/status |
This is a read-only API. This API is used to monitor the recovery status of georeplication for both FAILED and ACTIVE cnDBTier sites. |
Enable
The CNC console section for accessing the cnDBTier APIs is available in NRF if the cnDBTier is configured as an instance during the CNC Console deployment. For more information about integrating cnDBTier APIs in CNC Console, see the "NF Single Cluster Configuration With cnDBTier Menu Enabled" section in Oracle Communications Cloud Native Configuration Console Installation, Upgrade, and Fault Recovery Guide.
There is no option to disable this feature.
Configure
cnDBTier APIs can be accessed or configured using the CNC Console. For more information, see cnDBTier APIs in the CNC Console.
If you encounter alerts at system or application levels, see the NRF Alerts section for resolution steps.
In case the alerts still persist, perform the following:
- Collect the logs: For more information on collecting logs, see Oracle Communications Cloud Native Core, Network Repository Function Troubleshooting Guide.
- Raise a service request: See My Oracle Support for more information on how to raise a service request.
4.8 Enhanced NRF Set Based Deployment (NRF Growth)
NRF was supporting the deployment of two segments of NRF in a network. In the case of capacity expansion of the network to support increased traffic, a single NRF set cannot be scaled beyond a certain capacity.
Figure 4-6 NRF Segments

A dedicated cnDBTier instance is deployed for each NRF that is georeplicated within the specific NRF set. Each NRF in the set synchronizes with its most preferred NRFs in the other sets within the segment to retrieve the state data of that set. Thus, every NRF has the complete segment-level view of all the sets in a specific segment.
The state data in each NRF comprises of:
- local data
- georeplicated data of the specific set
- remote data from the other sets.
Figure 4-7 State Data in NRF

The Cache Data Service (CDS), which is multipod deployment, builds and maintains the state data of the local NRF set and the remote NRF sets in the in-memory cache. Each pod of CDS maintains its cache independently. CDS maintains the segment-level view of the state data. This segment-level view is not pushed to cnDBTier. For more information about CDS, see NRF Architecture.
The cache of local NRF set data:
- is built or updated by querying the cnDBTier periodically
- uses the last known information about the NFs when CDS is not updated due to a database error
The cache of remote set data:
- is built or updated by synchronizing the state data of remote
NRF sets
periodically.
Note:
The periodicity at which the remote NRF set data is synchronized with CDS in-memory cache is 2 seconds. Remote NRF set data synchronization is not performed for each request as it is performed over the WAN network. This may cause higher latency as it involves retries also. - uses the last known information about the NFs in case remote NRF set sync is failed.
Figure 4-8 Cache Data Service

During pod initialization, the CDS service marks itself as available only after the local and remote set state data is loaded in the in-memory cache. CDS is only used for reading local and remote state data. The NRF microservices continue to write state data directly to the cnDBTier.
Note:
CDS tries to fetch the state data from all the NRFs in remote sets. In case all the NRFs in any of the specific remote sets are unavailable, then CDS will come up with the state data of the remaining NRF sets (if any) and the local data.The following NRF core microservices read data from CDS for various service operation requests as explained below. The write operations are directed to cnDBTier.
- NF Registration Microservice (nfregistration): The registration microservice queries the CDS for service operations such as NFListRetrieval and NFProfileRetrieval.
- NF Subscription Microservice (nfsubscription): The subscription microservice queries the CDS for service operations such as NFStatusSubscribe, NfStatusSubscribe(Patch), NfStatusUnsubscribe, NfStatusNotify.
- NRF Auditor Microservice (nrfauditor): The auditor microservice queries the CDS to retrieve the total number of NFs per NfType in the segment.
- NF Access Token Microservice (nfaccesstoken): The AccessToken microservice queries the CDS for processing the access token service operations.
- NRF Configuration Microservice (nrfconfiguration): The configuration microservice queries CDS for processing the state data API requests.
- NF Discovery Microservice (nfdiscovery): The discovery microservice queries the CDS periodically to update its local cache.
For more information about the microservices, see the Impacted Service Operations section.
Note:
All the remaining NRF microservices don't query CDS.This feature interacts with some of the existing NRF features, for more information about this, see the Interaction with Existing Features section.
Enable
Installation and Upgrade Impact
- Upon 24.1.0 installation or upgrade, CDS microservice pod is deployed by default. The NRF core microservices queries the CDS for state data information. In case CDS is not available, NRF core microservices fall back to the cnDBTier for service operation.
- Release 23.4.x microservice pods retrieve the state data from the cnDBTier for processing the service operations.
- Release 24.1.x microservice pods retrieve queries CDS to retrieve the state data for processing the service operations.
- In case of in-service upgrade:
- CDS updates its in-memory cache with state data. The readiness probes of the CDS are configured to succeed only after at least one cache update attempt is performed. The cache is updated with the local NRF set data from the cnDBTier and if the NRF Growth feature is enabled the cache is updated with remote NRF set data.
- During the above-mentioned upgrade scenario, until the CDS pod is available, the previous and new release pods of other microservices will query the old release pod of the CDS for the state data. This will ensure there are no in-service traffic failures during the upgrade.
Enable
Prerequisites
A minimum of two NRF sets are required to enable the feature.
Steps to Enable
- Upgrade all existing sites to NRF 24.1.0 version or above. Ensure that all the sites are on the same version.
- Configure a unique
nfSetIdfor each NRF set using the/nrf-configuration/v1/nrfGrowth/featureOptions. Ensure that the samenfSetIdmust be configured for all the NRFs in the set.For example: Consider a case of three NRF instances in a set and the
nfSetIdis set1. Set1 has NRF11, NRF12, and NRF13. Configure set1 asnfSetIdfor NRF11, NRF12, and NRF13. See Figure 4-9 for more details. - Install new NRF set(s) or upgrade an existing NRF set(s) to the NRF
24.1.0 version or above.
For example: Consider the new NRF set as Set2 with three NRF instances, NRF21, NRF 22, and NRF23. See Figure 4-9 for more details.
- Using the following state data API, retrieve the nf-instances and
subscription details in each NRF of each set. Save the output for validation
later.
- Use
/nrf-state-data/v1/nf-detailsto retrieve the nf-instances details. - Use
/nrf-state-data/v1/subscription-detailsto retrieve the subscription details.
For more information about the query parameters, see the REST Based NRF State Data Retrieval section.
- Use
- Configure the
nfSetIdof the new NRF set by setting the attributenfSetIdusing the API/nrf-configuration/v1/nrfGrowth/featureOptions. Ensure that the samenfSetIdmust be configured for all the NRFs in the set.For example:
nfSetIdof Set2 is set2. Configure set2 asnfSetIdfor NRF21, NRF 22, and NRF23. See Figure 4-9 for more details. - Load the NRF Growth feature specific alerts in both the sets. For more information about the alert configuration, see the NRF Alert Configuration section.
- Configure the NRFs of the remote NRF sets in each NRF by setting the
attribute
nrfHostConfigListusing the API/nrf-configuration/v1/nrfGrowth/featureOptions.Note:
- Once configured, the NRFs will start syncing with the remote NRF sets. The remote set data will not be used for service operations until the feature is enabled.
- One of the entries in the
staticNrfConfigListattribute must contain the details of the local NRF set.
For example: Configure the host details of NRFs in Set2 as the remote NRF sets in each NRFs of Set1. For instance, configure the
nrfHostConfigListattribute in NRF11 of Set1 as remote NRFs host details of NRF21, NRF 22, and NRF23. Similarly, configure each NRFs in Set1 and Set2. - Ensure that the following alerts are not present in any of the sets in the
network:
- OcnrfRemoteSetNrfSyncFailed
- OcnrfSyncFailureFromAllNrfsOfAllRemoteSets
- OcnrfSyncFailureFromAllNrfsOfAnyRemoteSet
If present, wait for 30 seconds to 1 minute and retry till the alerts are cleared. If the alerts are not cleared, see alerts for resolution steps.
- Use the state data API to validate the nf-instances and
subscriptions as below to ensure that the remote synching is successful, and all
the NFs and subscriptions are synced.
- Use
/nrf-state-data/v1/nf-details?testSegmentData=trueto validate the nf-instances. - Use
/nrf-state-data/v1/subscription-details?testSegmentData=trueto validate the subscriptions.
Where,
testSegmentDataquery is used to validate the state data of the segment before enabling the NRF Growth feature.Note:
Ensure that the state data of the NRFs in Set1 is available in the NRFs of Set2. In case you are upgrading the existing set, then ensure that the state data of the NRFs in Set2 is available in the NRFs of Set1.For more information about the query parameters, see the REST Based NRF State Data Retrieval section.
- Use
- Enable NRF Growth Forwarding feature, if
forwarding is applicable.
Note:
When NRF Growth feature is enabled, the existing forwarding options will not be used. - Enable the NRF Growth feature in all the NRFs. Enable the feature
using the API
/nrf-configuration/v1/nrfGrowth/featureOptions. - Ensure that the following alerts are not present in any of the sets in the
network:
- OcnrfRemoteSetNrfSyncFailed
- OcnrfSyncFailureFromAllNrfsOfAllRemoteSets
- OcnrfSyncFailureFromAllNrfsOfAnyRemoteSet
- OcnrfDatabaseFallbackUsed
If present, wait for 30 seconds to 1 minute and retry till the alerts are cleared. If the alerts are not cleared, see alerts for resolution steps.
- After the above configurations are complete, all service operations
consider complete segment data for processing the request.
You can migrate the NFs from Set1 to Set2 or vice-versa. For more information about the steps to migrate NFs, see the Migration of NFs section.
Figure 4-9 NRF Growth nfSetId Configuration

Migration of NFs
- Make sure that the NF subscription list is available.
- Use the following state data API at the remote NRF set to validate
the NRF has record of this NF record as remote host details. If present, wait
for 5-10 seconds and retry the API till the nfInstanceId is not present in the
response.
- Use
/nrf-state-data/v1/nf-details?nf-instance-id=<the nfInstanceId of the NF>to validate the nf-instances. - Use
/nrf-state-data/v1/subscription-details?subscription-id= <subscription ID of the subscription>to validate the subscriptions.
- Use
- Unsubscribe the subscriptions of the NF from the NRF.
- NF sends NfStatusUnsubscribe request to NRF.
- NRF sends NfStatusUnsubscribe response to NF.
- Deregister the NF from the NRF.
- NF sends NfDeregister request to NRF.
- NRF sends NfDeregister response to NF.
- Use the following state data API at the target NRF to validate the
NRF does not have the NF record. If present, wait for 5-10 seconds and retry the
API till the nfInstanceId is not present in the response.
- Use
/nrf-state-data/v1/nf-details?nf-instance-id=<the nfInstanceId of the NF>to validate the nf-instances. - Use
/nrf-state-data/v1/subscription-details?subscription-id= <subscription ID of the subscription>to validate the subscriptions.
- Use
- Register the NF with the NRF at the target NRF set.
- NF sends NfRegister request to NRF.
- NRF sends NfRegister response to NF.
- Create the new subscription as required.
- NF sends NfStatusSubscribe request to NRF.
- NRF sends NfStatusSubscribe response to NF.
- Use the following state data API at the target NRF to validate that
the NF is registered and the subscription is created. The NF record is stored as
local registered NF. If not present, wait for 5-10 seconds and retry the API
till the nfInstanceId is present in the response.
- Use
/nrf-state-data/v1/nf-details?nf-instance-id=<the nfInstanceId of the NF>to validate the nf-instances. - Use
/nrf-state-data/v1/subscription-details?subscription-id= <subscription ID of the subscription>to validate the subscription.
- Use
Figure 4-10 Migration of NF from one set to another

Configure
- Configure Forwarding Options for NRF Growth feature using REST API: Perform the configurations as described in the "Forwarding Options for NRF Growth" section of Oracle Communications Cloud Native Core, Network Repository Function REST Specification Guide.
- Configure Forwarding Options for NRF Growth feature using CNC Console: Perform the configurations as described in the Forwarding Options section.
- Configure NRF Growth feature using REST API: Perform the feature configurations as described in the "NRF Growth Options" section of Oracle Communications Cloud Native Core, Network Repository Function REST Specification Guide.
- Configure NRF Growth feature using CNC Console: Perform the feature configurations as described in NRF Growth Options.
Note:
The forwarding rules for nfDiscover service requests are based on following 3GPP discovery request parameters:
- target-nf-type (Mandatory Parameter)
- service-names (Optional Parameter)
The forwarding rules for access token service requests are based on the following 3GPP access token request parameter:
- scope (Mandatory Parameter)
Observe
Metrics
ocnrf_cds_rx_requests_totalocnrf_cds_tx_responses_totalocnrf_cds_round_trip_time_secondsocnrf_query_remote_cds_requests_totalocnrf_query_remote_cds_responses_totalocnrf_query_remote_cds_round_trip_time_secondsocnrf_query_remote_cds_message_size_bytesocnrf_cache_fallback_totalocnrf_db_fallback_totalocnrf_query_cds_requests_totalocnrf_query_cds_responses_totalocnrf_query_cds_round_trip_time_secondsocnrf_dbmetrics_totalocnrf_nf_registered_countocnrf_cache_sync_count_totalocnrf_remote_set_unavailable_totalocnrf_all_remote_sets_unavailable_total
For more information on the above metrics, see the NRF Cache Data Metrics section.
Alerts
- OcnrfRemoteSetNrfSyncFailed
- OcnrfSyncFailureFromAllNrfsOfAnyRemoteSet
- OcnrfSyncFailureFromAllNrfsOfAllRemoteSets
- OcnrfCacheDataServiceDown
- OcnrfDatabaseFallbackUsed
- OcnrfTotalNFsRegisteredAtSegmentBelowMinorThreshold
- OcnrfTotalNFsRegisteredAtSegmentBelowMajorThreshold
- OcnrfTotalNFsRegisteredAtSegmentBelowCriticalThreshold
For more information on the above alerts, see the Feature Specific Alerts section.
KPIs
- Cache Sync
- Total Number of CDS Requests
- Total Number of CDS Responses
- Total Number of CDS Requests per Service Operation
- Total Number of CDS Responses per Service Operation
- CDS Latency 50%
- CDS Latency 90%
- CDS Latency 95%
- CDS Latency 99%
- Total Number of CDS Requests per Request Type
- Total Number of CDS Responses per Request Type
- Total Number of Remote CDS Requests
- Total Number of Remote CDS Responses
- Remote CDS Query Latency 50%
- Remote CDS Query Latency 90%
- Remote CDS Query Latency 95%
- Remote CDS Query Latency 99%
- Database Fallback
- CDS Cache Sync
For more information on the above metrics, see the NRF Growth Specific KPIs section.
If you encounter alerts at system or application levels, see the NRF Alerts section for resolution steps.
In case the alerts still persist, perform the following:
- Collect the logs: For more information on collecting logs, see Oracle Communications Cloud Native Core, Network Repository Function Troubleshooting Guide.
- Raise a service request: See My Oracle Support for more information on how to raise a service request.
4.8.1 Impacted Service Operations
This section explains the change in the functionality of the service operation when multiple NRF sets are deployed.
nfRegistration Service Operation
NFRegister, NFUpdate, or NFDeregister
The NF registers and heartbeats to the Primary NRF. When the nfRegistration service receives an NFRegister, NFUpdate, or NFDeregister request, it processes the request and if successful, it creates, updates, or deletes the nf-instances records from the cnDBTier. The nf-instances is made available and used by the service operation in the remote set as well.
The nfRegistration service does not query the Cache Data Service (CDS) for these service operations. It directly updates or saves the data in the local cnDBTier.
NFProfileRetrieval
When the nfRegistration service receives the NFProfileRetrieval request, it queries the CDS to fetch the NFProfile.
The CDS provides the NFProfile of the local NRF set by querying the cnDBTier. The CDS queries the remote NRF sets periodically and caches the data in the in-memory cache. If the growth feature is enabled, the CDS provides the NFProfile registered at the remote NRF sets by querying the in-memory cache.
The response contains the matching NFProfile either from the local NRF set or from the remote NRF set. The NFProfileRetrieval response is created by the nfRegistration service with the nf-instances provided by the CDS.
The responses from the nfRegistration service vary based on the following conditions:
- If the NFProfile is not present in the response from the CDS, a response with status code 404 NOT FOUND is sent to the consumer NF.
- If the CDS is unreachable or a non-2xx status code is received, the registration service relies on the cnDBTier to obtain the nf-instances local data and fulfill the service operation. The nfRegistration service fetches data from the cnDBTier and only the matching NFProfile from the local NRF set data is sent.
- If the NRF Growth feature is enabled and the remote NRF set is not reachable, CDS provides state data of the local NRF set received from cnDBTier and the last known state data of the remote set from its in-memory cache.
NFListRetrieval
When the nfRegistration service receives an NFListRetrieval request, it queries the CDS to get the list of nfInstanceIDs.
The CDS provides the nf-instances of the local NRF set by querying the cnDBTier. The CDS queries the remote set periodically and caches the data in the in-memory cache. If the growth feature is enabled, the CDS provides the nf-instances of the remote NRF sets by querying the in-memory cache.
The response contains the matching nf-instances from the local NRF set and the remote NRF set. The NFListRetrieval response is created by the nfRegistration service with the nf-instances provided by the CDS.
The responses from the nfRegistration service vary based on the following conditions:
- If there are no matching nf-instances in either of the sets, an empty response is sent.
- If the CDS is unreachable or a non-2xx status code is received, the registration service falls back to the cnDBTier to get the nf-instances local data and fulfill the service operation. The nfRegistration service fetches data from the cnDBTier and only the matching nf-instances from the local NRF set data is sent.
- If the NRF Growth feature is enabled and the remote NRF set is not reachable, CDS provides state data of the local NRF set received from cnDBTier and the last known state data of the remote set from its in-memory cache.
nfSubscription Service Operation
The NFs continue to subscribe for Producer NFs and update their subscriptions using the NRFs of the same georedundant set. The nfSubscription service is responsible for creating and maintaining the subscriptions in NRF. It also takes care of triggering NfStatusNotify to the consumer NFs for their subscriptions.
NFStatusSubscribe
When the nfSubscription service receives the NfStatusSubscribe request to create a subscription, the nfSubscription service checks the following constraints before creating the subscription:
- duplicate subscription based on the
allowDuplicateSubscriptionsparameter configuration. This check is performed across all the sets in the segment. For more information about the configuration of this parameter, see NF Management Options. For more information about the functionality of this parameter for different values configured, see Use Cases for Allow Duplicate Subscriptions. - subscription limit conditions based on the
subscriptionLimitparameter configuration. This check is applicable for all the subscriptions at the local NRF set. For more information about the Subscription Limit feature, see the Subscription Limit section.
If the constraints are passed, the nfSubscription service creates the subscription and saves it to the cnDBTier. The nfSubscription service queries the CDS to get the subscription already created. The CDS provides subscriptions at the local NRF set by querying the cnDBTier. The CDS queries the remote set periodically and caches the data in the in-memory cache. If the growth feature is enabled, the CDS provides the subscriptions of the remote NRF sets by querying the in-memory cache.
The responses from the nfSubscription service vary based on the following conditions:
- If the CDS is unreachable or a non-2xx status code is received, the nfSubscription service relies on the cnDBTier to get the subscription in local NRF and fulfill the service operation. The nfSubscription service creates subscriptions only in the local NRF.
- If the NRF Growth feature is enabled and the remote NRF set is not reachable, CDS provides subscription details of the local NRF set, and the last known information of the remote NRF set is provided.
NfStatusSubscribe(Patch)
When the nfSubscription service receives the NfStatusSubscribe (Patch) request to update a subscription, the nfSubscription service checks the following constraints before updating the subscription:
- checks if the subscription exists. This check is performed across all the sets in the segment.
- subscription limit conditions based on the
subscriptionLimitparameter configuration. This check is applicable for all the subscriptions at the local NRF set.
If the constraints are passed, the nfSubscription service updates the subscription and saves it to the cnDBTier.
The subscription microservice queries the CDS to retrieve the subscriptions that are created at the local NRF set. The CDS provides the corresponding subscriptions created at the local NRF set by querying the cnDBTier. If the NRF Growth feature is enabled, the CDS provides the matching subscriptions created at the remote NRF sets by querying the in-memory cache.
The responses from the nfSubscription service vary based on the following conditions:
- If the CDS is unreachable or a non-2xx status code is received, the nfSubscription service relies on the cnDBTier to get the subscription in local NRF and fulfill the service operation. The nfSubscription service updates subscriptions only in the local NRF.
- If the NRF Growth feature is enabled and the remote NRF set is not reachable, CDS provides subscription details of the local NRF set, and the last known information of the remote NRF set is provided.
NfStatusUnsubscribe
When the nfSubscription service receives the NfStatusUnsubscribe request to delete a subscription, the nfSubscription service checks if the subscription exists. This check is performed across all the sets in the segment.
The subscription microservice queries the CDS to retrieve the matching subscriptions that are created at the local NRF set. The CDS provides the corresponding subscriptions created at the local NRF set by querying the cnDBTier. If the NRF Growth feature is enabled, the CDS provides the matching subscriptions created at the remote NRF sets by querying the in-memory cache.
If the subscription is present, it deletes the subscription from the cnDBTier and responds with the 200 OK status code. If the subscriptions created at the one NRF set cannot be deleted at any other NRF set and such requests are rejected. If the subscription is not present, the response with a 404 status code is sent.
The responses from the nfSubscription service vary based on the following conditions:
- If the CDS is unreachable or a non-2xx status code is received, the nfSubscription service relies on the cnDBTier to get the subscription in local NRF and fulfill the service operation. The nfSubscription service unsubscribes the subscriptions only in the local NRF.
- If the NRF Growth feature is enabled and the remote NRF set is not reachable, CDS provides subscription details of the local NRF set, and the last known information of the remote NRF set is provided.
NfStatusNotify
When the nfSubscription service triggers notifications towards the consumer NFs that are subscribed for nf-instances status events when the conditions specified in the nfSubscription condition are met. This check is performed across all the sets in the segment.
The subscription service queries the CDS to retrieve the subscriptions matching the nf-instances event that is created at the local NRF set. The CDS provides the corresponding subscriptions created at the local NRF set by querying the cnDBTier. If the NRF Growth feature is enabled, the CDS retrieves the subscriptions matching the nf-instances event at the remote NRF sets by querying the in-memory cache.
The nfSubscription service triggers the notification event to the consumer NFs for all the subscriptions received from the CDS.
The responses from the nfSubscription service vary based on the following conditions:
- If the CDS is unreachable or a non-2xx status code is received, the nfSubscription service relies on the cnDBTier to get the subscription in local NRF and fulfill the service operation. The nfSubscription service triggers the notification for the subscriptions only in the local NRF.
- If the NRF Growth feature is enabled and the remote NRF set is not reachable, CDS provides subscription details of the local NRF set, and the last known information of the remote NRF set is provided.
NFDiscover
When the NFDiscover service receives a discovery request, it looks for Producer NFProfile maintained at the in-memory cache in the discovery service. The discovery service cache is periodically updated by querying the CDS.
CDS updates the local cache of the discovery microservice with the latest local NRF set data CDS sends the response with the latest local NRF set data and cached remote NRF data
Additionally, if the NRF Growth feature is enabled CDS updates the local cache of the discovery microservice with the latest local NRF set data and cached remote NRF data.
In case the CDS is not reachable or a non-2xx status code is received, the discovery service relies on the cnDBTier to get local NRF set data and update its in-memory cache for the local NRF set state data. If the NRF Growth feature is enabled, the last known data of the remote NRF set is used for the discovery service operation.
NfAccessToken
When the nfAccessToken service receives a nfAccessToken request with
targetNfInstanceId, it queries the CDS to validate if the target NF
and/or requester NF is registered.
The nfAccessToken service queries the CDS to retrieve the
targetNfInstanceId and requesterNfInstanceId that
are created at the local NRF set. The CDS provides the corresponding NF instances
created at the local NRF set by querying the cnDBTier. If the NRF Growth feature is
enabled, the CDS provides the matching NF instances created at the remote NRF sets by
querying the in-memory cache.
Note:
TherequesterNfInstanceId is validated as part of the Access Token Request Authorization feature.
If the CDS is unreachable or a non-2xx status code is received, the nfAccessToken service falls back to the cnDBTier to get the NfInstanceId local NRF set and fulfill the service operation.
4.8.2 Interaction with Existing Features
With the deployment of multiple sets of NRFs, the functionality of the following features is impacted.
When the growth feature is enabled, the service requests can be forwarded to NRF in another segment. The service requests are forwarded to NRF in another segment if the requested Producer NfInstances are not registered in any of the NRF sets in the segment.
For more information about configuring the forwarding options, see the Enhanced NRF Set Based Deployment (NRF Growth) section.
When dynamic SLF is
configured and growth feature is enabled, the dynamic selection of the SLF profiles
is performed across local and remote NRF sets. In a given NRF set, the preferredSLFLocality attribute
can be utilized to prefer SLFs of the local NRF set over SLFs of remote NRF set for sending SLF query. For
more information about the dynamic SLF feature, see the Subscriber Location Function section.
When the growth feature is enabled, the subscription count is evaluated within each set.
Note Ensure that the total number of subscriptions in all the sets in
the segment must not exceed the globalMaxLimit value. Configure the
globalMaxLimit value accordingly.
For
example, consider there are two sets deployed in the segment, the total subscription
that is supported in the segment is 1000, and the globalMaxLimit of
set1 is 300 and set2 is 700. In this case, NRF validates that the subscription count of set1 does not
cross 300 and set2 does not cross 700.
For more information about the Subscription Limit feature, see the Subscription Limit section.
REST-based NRF state data retrieval feature provides options for Non-Signaling APIs to access NRF state data. It allows the operator to access the NRF state data to understand and debug in the event of failures. NRF exposes the following APIs that are used to fetch the NfProfiles and NfSubscriptions at NRF across the local and remote NRF sets. When the growth feature is enabled, the API behavior is as follows:
{apiRoot}/nrf-state-data/v1/nf-detailsThe API returns the NfProfiles registered at the NRF and its mated sites. The response includes the NfProfiles registered at the local site, and its mated sites if the replication channel between the given site and the mate site is UP.
When the growth feature is disabled, the remote profiles can still be fetched by setting the query parameter
?testSegmentData=true.Refer Enable section to know the usage of this query parameter.
The NfProfiles are filtered based on the query parameters mentioned in Oracle Communications Cloud Native Core, Network Repository Function REST Specification Guide. The filtered NFProfiles are included in the response.
{apiRoot}/nrf-state-data/v1/subscription-detailsThe API returns the NfSubscriptions created at the NRF and its mated sites. The response includes the NfSubscriptions created at the local site, and its mated sites if the replication channel between the given site and the mate site is UP.
When the growth feature is disabled, the remote subscriptions can still be fetched by setting the query parameter
?testSegmentData=true.Refer Enable section to know the usage of this query parameter.
The NfSubscriptions are filtered based on the query parameters mentioned in Oracle Communications Cloud Native Core, Network Repository Function REST Specification Guide. The filtered NfSubscriptions are included in the response.
Startup Probe
The Cache Data Service startup probe proceeds when the following conditions are met:
- Connectivity to the cnDBTier is successful.
- The NRF State and Configuration tables are present, and configuration data is present in the cnDBTier.
Readiness Probe
The Cache Data Service readiness probe runs the container only if the following conditions are met:
- Connectivity to the cnDBTier is successful.
- The NRF State and Configuration tables are present, and configuration data is present in the cnDBTier.
- One successful attempt to load the local NRF set state data into the local cache. The state data is the NfInstances and NFSubscriptions. If no NfInstances or NfSubscriptions are present in the cnDBTier, the cache will remain empty and the start-up probe is considered a success. This check is done only once when the pod comes up for the first time. Subsequent readiness probes will not check this condition.
- If the growth feature is enabled, there will be one successful attempt to load the state data from all the remote NRF sets that are configured. If no NfInstances or NfSubscriptions are received from the remote NRF Set, that request is considered a success. If the remote set NRFs are not reachable, then after all the reattempts and reroutes, the request is considered a success.
Liveness Probe
The Liveness Probe monitors the health of the critical threads running the Cache Data Service. If any of the threads are detected to be in a deadlock state or non-running, the liveness Probe will fail.
For more information about Kubernetes probes, see the Kubernetes Probes section.
4.9 Support for Automated Certificate Lifecycle Management
In NRF 23.3.x and earlier, X.509 and Transport Layer Security (TLS) certificates were managed manually. When multiple instances of NRF were deployed in a 5G network, certificate management, such as certificate creation, renewal, removal, and so on, became tedious and error-prone.
Starting with NRF 23.4.x, you can integrate NRF with Oracle Communications Cloud Native Core, Certificate Management (OCCM) to support automation of certificate lifecycle management. OCCM manages TLS certificates stored in Kubernetes secrets by integrating with Certificate Authority (CA) using the Certificate Management Protocol Version 2 (CMPv2) protocol in the Kubernetes secret. OCCM obtains and signs TLS certificates within the NRF namespace. For more information about OCCM, see Oracle Communications Cloud Native Core, Certificate Management User Guide.
Figure 4-11 Support for OCCM

OCCM can automatically manage the following TLS certificates:
- 5G Service Based Architecture (SBA) client TLS certificates
- 5G SBA server TLS certificates
- Message Feed TLS certificates
This feature enables NRF to monitor, create, recreate, and renew TLS certificates using OCCM, based on their validity. For information about enabling HTTPS, see "Configuring Secrets for Enabling HTTPS" in Oracle Communications Cloud Native Core, Network Repository Function Installation, Upgrade, and Fault Recovery Guide.
- Upgrade: When NRF is deployed with OCCM, follow the specific upgrade procedure. For information about the upgrade strategy, see "Upgrade Strategy" in Oracle Communications Cloud Native Core, Network Repository Function Installation, Upgrade, and Fault Recovery Guide.
- Rollback: For more information on migrating the secrets from NRF to OCCM and removal of Kubernetes secrets from the yaml file, see "Postupgrade Task" in Oracle Communications Cloud Native Core, Network Repository Function Installation, Upgrade, and Fault Recovery Guide.
There are no additional configuration changes required at NRF.
This feature uses the existing metrics:
oc_egressgateway_connection_failure_totaloc_ingressgateway_connection_failure_total
For more information, see NRF Gateways Metrics.
If you encounter any OCCM-specific alerts, see the "OCCM Alerts" section in Oracle Communications Cloud Native Core, Certificate Management User Guide.
If you encounter alerts at system or application levels, see the NRF Alerts section for resolution steps.
In case the alerts still persist, perform the following:
- Collect the logs: For more information on collecting logs, see Oracle Communications Cloud Native Core, Network Repository Function Troubleshooting Guide.
- Raise a service request: See My Oracle Support for more information on how to raise a service request.
4.10 Egress Gateway Route Configuration for Different Deployments
Table 4-10 Egress Gateway Route Configuration for Static Peers
| Egress Traffic | Egress Gateway Configuration | Outgoing Message Details | ||||
|---|---|---|---|---|---|---|
| Peer under PeerSetConfiguration | RoutesConfiguration.httpsTargetOnly | RoutesConfiguration.httpRuriOnly | 3gpp-Sbi-Target-apiRoot | Scheme | Authority Header | |
| HTTPS Outgoing Traffic (TLS) | httpsConfiguration | true | false | Target FQDN
Example: <SLF FQDN>/ <NotificationServer> |
https | Peer FQDN
Example: SCP/SEPP FQDN |
| HTTP Outgoing Traffic (non-TLS) | httpsConfiguration | true | true | Target FQDN
Example: <SLF FQDN>/ <NotificationServer> |
http | Peer FQDN
Example: SCP/SEPP FQDN |
Table 4-11 Egress Gateway Route Configuration for virtualHost Peers
| Egress Traffic | Egress Gateway Configuration | Outgoing Message Details | ||||
|---|---|---|---|---|---|---|
| Peer under PeerSetConfiguration | RoutesConfiguration.httpsTargetOnly | RoutesConfiguration.httpRuriOnly | 3gpp-Sbi-Target-apiRoot | Scheme | Authority Header | |
| HTTPS Outgoing Traffic (TLS) | httpsConfiguration | true | false | Target FQDN
Example: <SLF FQDN>/ <NotificationServer> |
https | Resolved Peer FQDN
Example: Resolved SCP/SEPP FQDN |
| HTTP Outgoing Traffic (non-TLS) | httpConfiguration | false | true | Target FQDN
Example: <SLF FQDN>/ <NotificationServer> |
http | Resolved Peer FQDN
Example: Resolved SCP/SEPP FQDN |
Note:
- For service-mesh based deployment, NRF Egress Gateway application container sends HTTP outgoing traffic only. The sidecar container is responsible for sending out the traffic as HTTPS traffic. Hence, for service-mesh based deployment, perform the configuration as per HTTP Outgoing Traffic (non-TLS).
- Update the PeerConfiguration as follows:
sample PeerConfiguration.json [ { "id": "peer1", "host": "scp-stub-service01", "port": "8080", "apiPrefix": "/", "healthApiPath":"/{scpApiRoot}/{apiVersion}/status" } ] - Update the PeerSetConfiguration as
follows:
sample peerset.json [ { "id":"set0", "httpsConfiguration":[ { "priority": 1, "peerIdentifier": "peer1" }] } ] - Update the RoutesConfiguration as
follows:
sample RoutesConfiguration.json { "id":"egress_scp_proxy2", "uri":"http://localhost:32069/", "order":3, "metadata":{ "httpsTargetOnly":true, "httpRuriOnly":false, "sbiRoutingEnabled":true }, "predicates":[ { "args":{ "pattern":"/nudr-group-id-map/v1/nf-group-ids" }, "name":"Path" } ], "filters":[ { "name":"SbiRouting", "args":{ "peerSetIdentifier":"set0", "customPeerSelectorEnabled":false } } ] }
- Update the PeerConfiguration as follows:
sample PeerConfiguration.json [ { "id": "peer1", "host": "scp-stub-service01", "port": "8080", "apiPrefix": "/", "healthApiPath":"/{scpApiRoot}/{apiVersion}/status" } ] - Update the PeerSetConfiguration as
follows:
sample PeerSetConfiguration.json [ { "id":"set0", "httpsConfiguration":[ { "priority": 1, "peerIdentifier": "peer1" }] } ] - Update the RoutesConfiguration as
follows:
sample RoutesConfiguration.json { "id":"egress_scp_proxy2", "uri":"http://localhost:32069/", "order":3, "metadata":{ "httpsTargetOnly":true, "httpRuriOnly":true, "sbiRoutingEnabled":true }, "predicates":[ { "args":{ "pattern":"/nudr-group-id-map/v1/nf-group-ids" }, "name":"Path" } ], "filters":[ { "name":"SbiRouting", "args":{ "peerSetIdentifier":"set0", "customPeerSelectorEnabled":false } } ] }
4.11 Routing Egress Messages through SCP
- SLF requests
- Notification requests
- NRF Forwarding requests
- Roaming requests
NRF supports routing of the Egress requests through SCP configured with FQDN and virtual FQDN as peer instances.
Alternate route service is used for the resolution of virtual FQDN using DNS-SRV. Egress Gateway uses the virtual FQDN of peer instances to query the Alternate Route Service to get the list of alternate FQDNs, each of which has a priority assigned to them. The Egress Gateway selects the peer instances based on the priority value.
Figure 4-12 Routing Egress Messages through SCP

- Open the
ocnrf_custom_values_25.1.100.yamlfile. - Set
enableNrfArtisanServiceto true to enable Artisan microservice.Note:
This parameter must be enabled when dynamic SLF feature is configured. - Set
alternateRouteServiceEnableto true to enable alternate route service. For more information on enabling alternate route service, see the "Global Parameters" section in Oracle Communications Cloud Native Core, Network Repository Function Installation, Upgrade, and Fault Recovery Guide.Note:
This parameter must be enabled when alternate route service through DNS-SRV is required. - Save the file.
- Run helm install. For more information about installation procedure, see Oracle Communications Cloud Native Core, Network Repository Function Installation, Upgrade, and Fault Recovery Guide.
- If you are enabling this parameter after NRF deployment, run helm upgrade. For more information about upgrade procedure, see Oracle Communications Cloud Native Core, Network Repository Function Installation, Upgrade, and Fault Recovery Guide.
Configure
Configure using REST API: Perform the following Egress Gateway configuration as described in the "Egress Gateway Configuration" section of the Oracle Communications Cloud Native Core, Network Repository Function REST Specification Guide.
- create or update the
peerconfigurationwith SCP FQDN details. - create or update the
peersetconfigurationto assign these peers. - create or update the
sbiroutingerrorcriteriasets. - create or update the
sbiroutingerroractionsets. - create or update the
routesconfigurationto provide the SCP details. For more information about the routes configuration specific to the above-mentioned requests, see the following sections: - If all the requests must be routed through SCP, then create or
update the
routesconfigurationas follows:[ { "id": "egress_scp_proxy1", "uri": "http://localhost:32068/", "order": 0, "metadata": { "httpsTargetOnly": true, "httpRuriOnly": true, "sbiRoutingEnabled": true }, "predicates": [ { "args": { "pattern": "/**" }, "name": "Path" } ], "filters": [ { "name": "SbiRouting", "args": { "peerSetIdentifier": "set0", "customPeerSelectorEnabled": false, "errorHandling": [ { "errorCriteriaSet": "criteria_1", "actionSet": "action_1", "priority": 1 }, { "errorCriteriaSet": "criteria_0", "actionSet": "action_0", "priority": 2 } ] } } ] }, { "id": "default_route", "uri": "egress://request.uri", "order": 100, "filters": [ { "name": "DefaultRouteRetry" } ], "predicates": [ { "args": { "pattern": "/**" }, "name": "Path" } ] } ]For more information about the routes configuration on different deployments, see Egress Gateway Route Configuration for Different Deployments.
If you encounter alerts at system or application levels, see the NRF Alerts section for resolution steps.
- Collect the logs: For more information on how to collect logs, see Oracle Communications Cloud Native Core, Network Repository Function Troubleshooting Guide.
- Raise a service request: See My Oracle Support for more information on how to raise a service request.
4.11.1 SLF Requests
NRF supports routing of SLF queries through SCP towards SLF or UDR.
Managing SLF Requests through SCP
Configure
-
Configure using REST API: Perform the following feature configurations as described in the "Egress Gateway Configuration" section of Oracle Communications Cloud Native Core, Network Repository Function REST Specification Guide:
- Create or update
{apiRoot}/nrf/nf-common-component/v1/egw/peerconfiguration. - Create or update the
{apiRoot}/nrf/nf-common-component/v1/egw/peersetconfigurationto assign these peers. - Create or update
{apiRoot}/nrf/nf-common-component/v1/egw/sbiroutingerrorcriteriasets. - Create or update
{apiRoot}/nrf/nf-common-component/v1/egw/sbiroutingerroractionsets. - Update the
{apiRoot}/nrf/nf-common-component/v1/egw/routesconfigurationas mentioned below:curl -v -X PUT "http://10.75.226.126:32247/nrf/nf-common-component/v1/egw/routesconfiguration" -H "Content-Type: application/json" -d @header.json sample header.json:- [ { "id":"egress_scp_proxy1", "uri":"http://localhost:32068/", "order":0, "metadata":{ "httpsTargetOnly":true, "httpRuriOnly":false, "sbiRoutingEnabled":true }, "predicates":[ { "args":{ "pattern":"/nudr-group-id-map/v1/nf-group-ids" }, "name":"Path" } ], "filters":[ { "name":"SbiRouting", "args":{ "peerSetIdentifier":"set0", "customPeerSelectorEnabled":true, "errorHandling":[ { "errorCriteriaSet":"criteria_1", "actionSet":"action_1", "priority":1 }, { "errorCriteriaSet":"criteria_0", "actionSet":"action_0", "priority":2 } ] } } ] }, { "id": "default_route", "uri": "egress://request.uri", "order": 100, "predicates": [{ "args": { "pattern": "/**" }, "name": "Path" }] } ]
- Create or update
-
Configure using Console: Perform the following feature configurations as described:
- Create or update Peer Configuration.
- Create or update the Peer Set Configuration to assign these peers.
- Create or update SBI Error Criteria Sets.
- Create or update SBI Error Action Sets.
- Update the Routes Configuration as mentioned above.
Note:
To disable the routing of SLF queries through SCP, remove the Egress
Gateway configuration from the
{apiRoot}/nrf/nf-common-component/v1/egw/routesconfiguration,
and retain the default_route configuration. This
default_route configuration is available by default during
fresh installation or upgrade.
{
"id": "default_route",
"uri": "egress://request.uri",
"order": 100,
"predicates": [{
"args": {
"pattern": "/**"
},
"name": "Path"
}]
}
4.11.2 Notifications Requests
NRF allows you to route the notification messages through SCP based on the configuration in the Egress Gateway.
Managing Notifications Requests through SCP
This section explains the procedure to configure the feature.Configure
-
Configure using REST API: Perform the following feature configurations as described in the "Egress Gateway Configuration" section of Oracle Communications Cloud Native Core, Network Repository Function REST Specification Guide:
- Create or update
{apiRoot}/nrf/nf-common-component/v1/egw/peerconfiguration. - Create or update the
{apiRoot}/nrf/nf-common-component/v1/egw/peersetconfigurationto assign these peers. - Create or update
{apiRoot}/nrf/nf-common-component/v1/egw/sbiroutingerrorcriteriasets. - Create or update
{apiRoot}/nrf/nf-common-component/v1/egw/sbiroutingerroractionsets. - Update the
{apiRoot}/nrf/nf-common-component/v1/egw/routesconfigurationas mentioned below:curl -v -X PUT "http://10.75.226.126:32247/nrf/nf-common-component/v1/egw/routesconfiguration" -H "Content-Type: application/json" -d @header.json sample header.json:- { "id": "egress_scp_proxy2", "uri": "http://localhost:32068/", "order": 20, "filters": [ { "args": { "errorHandling": [ { "priority": 1, "actionSet": "action_1", "errorCriteriaSet": "criteria_1" }, { "priority": 2, "actionSet": "action_0", "errorCriteriaSet": "criteria_0" } ], "peerSetIdentifier": "set0", "customPeerSelectorEnabled": false }, "name": "SbiRouting" } ], "metadata": { "httpRuriOnly": false, "httpsTargetOnly": true, "sbiRoutingEnabled": true }, "predicates": [ { "args": { "header": "3gpp-Sbi-Callback", "regexp": "Nnrf_NFManagement_NFStatusNotify" }, "name": "Header" } ], { "id": "default_route", "uri": "egress://request.uri", "order": 100, "predicates": [{ "args": { "pattern": "/**" }, "name": "Path" }] } }
- Create or update
-
Configure using Console: Perform the following feature configurations as described:
- Create or update Peer Configuration.
- Create or update the Peer Set Configuration to assign these peers.
- Create or update SBI Error Criteria Sets.
- Create or update SBI Error Action Sets.
- Update the Routes Configuration as mentioned above.
Note:
To disable the routing of notification through SCP, remove theSbiRouting filter for SCP
from the
{apiRoot}/nrf/nf-common-component/v1/egw/routesconfiguration,
and add the default_route configuration. Following the sample
default_route
configuration:{
"id": "default_route",
"uri": "egress://request.uri",
"order": 100,
"predicates": [{
"args": {
"pattern": "/**"
},
"name": "Path"
}]
}4.11.3 NRF Forwarding Requests
NRF allows you to route the NRF-NRF forwarding messages through SCP based on the configuration in the Egress Gateway.
Managing NRF Forwarding Requests through SCP
This section explains the procedure to configure the feature.Configure
-
Configure using REST API: Perform the following feature configurations as described in the "Egress Gateway Configuration" section of Oracle Communications Cloud Native Core, Network Repository Function REST Specification Guide:
- Create or update
{apiRoot}/nrf/nf-common-component/v1/egw/peerconfiguration. - Create or update the
{apiRoot}/nrf/nf-common-component/v1/egw/peersetconfigurationto assign these peers. - Create or update
{apiRoot}/nrf/nf-common-component/v1/egw/sbiroutingerrorcriteriasets. - Create or update
{apiRoot}/nrf/nf-common-component/v1/egw/sbiroutingerroractionsets. - Update the
{apiRoot}/nrf/nf-common-component/v1/egw/routesconfigurationas mentioned below:curl -v -X PUT "http://10.75.226.126:32247/nrf/nf-common-component/v1/egw/routesconfiguration" -H "Content-Type: application/json" -d @header.json sample header.json:- [ { "id": "egress_scp_proxy1", "uri": "http://localhost:32068/", "order": 0, "filters": [ { "args": { "errorHandling": [ { "priority": 1, "actionSet": "action_1", "errorCriteriaSet": "criteria_1" }, { "priority": 2, "actionSet": "action_0", "errorCriteriaSet": "criteria_0" } ], "peerSetIdentifier": "set0", "customPeerSelectorEnabled": false }, "name": "SbiRouting" }, { "args": { "name": "OC-NRF-Forwarding" }, "name": "RemoveRequestHeader" } ], "metadata": { "httpRuriOnly": false, "httpsTargetOnly": true, "sbiRoutingEnabled": true }, "predicates": [ { "args": { "header": "OC-NRF-Forwarding", "regexp": ".*" }, "name": "Header" } ] }, { "id": "default_route", "uri": "egress://request.uri", "order": 100, "filters": [ { "name": "DefaultRouteRetry" } ], "predicates": [{ "args": { "pattern": "/**" }, "name": "Path" }] } ]
- Create or update
-
Configure using Console: Perform the following feature configurations as described:
- Create or update Peer Configuration.
- Create or update the Peer Set Configuration to assign these peers.
- Create or update SBI Error Criteria Sets.
- Create or update SBI Error Action Sets.
- Update the Routes Configuration as mentioned above.
Note:
To disable the NRF-NRF forwarding messages through SCP, remove the Egress Gateway configuration from the{apiRoot}/nrf/nf-common-component/v1/egw/routesconfiguration, and
retain the default_route configuration. This
default_route configuration is available by default during fresh
installation or upgrade. Following the sample default_route
configuration:{
"id": "default_route",
"uri": "egress://request.uri",
"order": 100,
"filters": [
{
"name": "DefaultRouteRetry"
}
],
"predicates": [{
"args": {
"pattern": "/**"
},
"name": "Path"
}]
}4.11.4 Roaming Requests
NRF allows you to route the roaming messages through SCP based on the configuration in the Egress Gateway.
Managing Roaming Requests through SCP
This section explains the procedure to configure the feature.Configure
-
Configure using REST API: Perform the following feature configurations as described in the "Egress Gateway Configuration" section of Oracle Communications Cloud Native Core, Network Repository Function REST Specification Guide:
- Create or update
{apiRoot}/nrf/nf-common-component/v1/egw/peerconfiguration. - Create or update the
{apiRoot}/nrf/nf-common-component/v1/egw/peersetconfigurationto assign these peers. - Create or update
{apiRoot}/nrf/nf-common-component/v1/egw/sbiroutingerrorcriteriasets. - Create or update
{apiRoot}/nrf/nf-common-component/v1/egw/sbiroutingerroractionsets. - Update the
{apiRoot}/nrf/nf-common-component/v1/egw/routesconfigurationas mentioned below:curl -v -X PUT "http://10.75.226.126:32247/nrf/nf-common-component/v1/egw/routesconfiguration" -H "Content-Type: application/json" -d @header.json sample header.json:- [ { "id": "egress_scp_proxy1", "uri": "http://localhost:32068/", "order": 0, "filters": [ { "args": { "errorHandling": [ { "priority": 1, "actionSet": "action_1", "errorCriteriaSet": "criteria_1" }, { "priority": 2, "actionSet": "action_0", "errorCriteriaSet": "criteria_0" } ], "peerSetIdentifier": "set0", "customPeerSelectorEnabled": false }, "name": "SbiRouting" }, { "args": { "name": "OC-MCCMNC" }, "name": "RemoveRequestHeader" }], "metadata": { "httpRuriOnly": false, "httpsTargetOnly": true, "sbiRoutingEnabled": true }, "predicates": [ { "args": { "header": "OC-MCCMNC", "regexp": "310014" }, "name": "Header" } ] }, { "id": "default_route", "uri": "egress://request.uri", "order": 100, "filters": [ { "name": "DefaultRouteRetry" } ], "predicates": [{ "args": { "pattern": "/**" }, "name": "Path" }] } ]
- Create or update
-
Configure using Console: Perform the following feature configurations as described:
- Create or update Peer Configuration.
- Create or update the Peer Set Configuration to assign these peers.
- Create or update SBI Error Criteria Sets.
- Create or update SBI Error Action Sets.
- Update the Routes Configuration as mentioned above.
Note:
To disable the routing of roaming messages through SCP, remove the Egress Gateway configuration from the{apiRoot}/nrf/nf-common-component/v1/egw/routesconfiguration, and
retain the default_route configuration. This
default_route configuration is available by default during fresh
installation or upgrade. Following the sample default_route
configuration:{
"id": "default_route",
"uri": "egress://request.uri",
"order": 100,
"filters": [
{
"name": "DefaultRouteRetry"
}
],
"predicates": [{
"args": {
"pattern": "/**"
},
"name": "Path"
}]
}4.12 Ingress Gateway Pod Protection
Ingress Gateway handles all the incoming traffic towards NRF. It may undergo overload conditions due to uneven distribution of traffic, network fluctuations leading to traffic bursts, or unexpected high traffic volume.
This feature protects the Ingress Gateway container from getting overloaded due to uneven traffic distribution, traffic bursts, and congestion. It ensures the protection and mitigation of container from entering an overload condition, while also facilitating necessary actions for recovery.
The pod protection is performed based on the CPU usage and the Pending Message Count of the container as explained in the Congestion State Parameters. These congestion parameters are measured at various states mentioned in the Ingress Gateway Load States to detect the overload condition.
In a service mesh based deployment, all incoming connections to the pod get terminated at the sidecar container, then the sidecar container creates a new connection toward the application container. These incoming connections from the peer are managed by the sidecar and outside the purview of the application container.
Hence when the Ingress Gateway container reaches DOC or Congested level, in a service mesh based deployment, the Ingress Gateway container will only be able to stop accepting new connections from the sidecar container. Also in this state, the Ingress Gateway container will reduce the concurrency of the existing connections between the sidecar container and the Ingress Gateway container. Any new request received over a new connection may get accepted or rejected based on the sidecar connection management.
In a non service mesh based deployment, all incoming connections to the pod get terminated at the Ingress Gateway container. Hence when the Ingress Gateway container reaches DOC or Congested level, the Ingress Gateway container will stop accepting new connections. Also in this state, the Ingress Gateway container will reduce the concurrency of the existing connections between the peer and the Ingress Gateway container. Any new request received over a new connection will result in to a request timeout at the peer.
Congestion State Parameter
As part of the Pod Protection feature, every Ingress Gateway microservice pod monitors its congestion state. Following are the congestion parameters to monitor the pod state:
- CPU
The congestion state is monitored based on CPU usage to determine the congestion level. The CPU usage is monitored using the Kubernetes cgroup (
cpuacct.usage) and it is measured in nanoseconds.It is monitored periodically and calculated using the following formula and then compared against the configured CPU thresholds to determine the congestion state. For more information about the parameters and the proposed threshold values, see Oracle Communications Cloud Native Core, Network Repository Function REST Specification Guide.
Figure 4-13 CPU Measurement

Where,
CurrentCpuUsageis the counter reading at current periodic cycle.LastCpuUsageis the counter reading at previous periodic cycle.CurrentTimeis the current time snapshot.LastSampleTimeis the previous periodic cycle time snapshot.CPUsis the total number of CPUs for a given pod.
- Pending Message Count: The pending message count is the number of requests that are received by the Ingress Gateway pod from other NFs and yet to send the response. This includes all the requests triggered towards the Ingress Gateway pod. The pending message count is monitored periodically and compared against the configured thresholds to determine the congestion state.
Ingress Gateway Pod States
Following are the various states to detect overload conditions. This will protect and mitigate the pod entering into an unstable condition, and to take necessary actions to recover from this condition.
Figure 4-14 Pod Protection State Transition

Note:
The transition can occur between any states. The threshold for these congestion parameters are preconfigured and must not be changed.- Congested State: This is the upper bound state
where the pod is congested. This means one or more
congestion parameters are above the configured thresholds
for the congested state. For more information about the
configuration, see Oracle Communications Cloud Native Core, Network Repository Function REST
Specification Guide. The pod can be transitioned to the
Congested state either from the Normal State or the DoC
state. When the pod reaches this state, the following
actions are performed:
- new incoming HTTP2 connection requests are not accepted.
- the pod gradually decrements the
number of concurrent streams by updating
SETTINGS_MAX_CONCURRENT_STREAMS parameter in a
SETTINGS frame to the configured
maxConcurrentStreamsPerConvalue at a regular interval. The number of concurrent streams are decremented based on the value configured indecrementByparameter. And, the regular interval is configured in thedecrementSamplingPeriodparameter.
-
Danger of Congestion (DoC) State: This is the intermediate state where the pod is approaching a congested state. This means if one or more congestion parameters are above the configured thresholds for the DoC state. For more information about the configuration, see Oracle Communications Cloud Native Core, Network Repository Function REST Specification Guide.
When the pod reaches this state, the following actions are performed:- any new incoming HTTP2 connection requests are not accepted.
- if the pod is transitioning from
the Normal state to the DoC state, the pod
gradually decrements the number of concurrent
streams by updating
SETTINGS_MAX_CONCURRENT_STREAMS parameter in a
SETTINGS frame to the configured
maxConcurrentStreamsPerConvalue at a regular interval. The number of concurrent streams are decremented based on the value configured indecrementByparameter. And, the regular interval is configured in thedecrementSamplingPeriodparameter. - if the pod is transitioning from
the Congested state to the DoC state, the pod
gradually increments the number of concurrent
streams by updating
SETTINGS_MAX_CONCURRENT_STREAMS parameter in a
SETTINGS frame to the configured
maxConcurrentStreamsPerConvalue at a regular interval. The number of concurrent streams are incremented based on the value configured inincrementByparameter. And, the regular interval is configured in theincrementSamplingPeriodparameter.
-
Normal State: This is the lower bound state where the CPU usage is below the configured thresholds for DoC and Congested states. For more information about the configuration, see Oracle Communications Cloud Native Core, Network Repository Function REST Specification Guide.
When the pod reaches this state, the following actions are performed:- the pod will continue accepting new incoming HTTP2 connection requests.
- in case the pod is transitioning
from the Congested or DoC state to Normal state,
the pod gradually increments the number of
concurrent streams by updating
SETTINGS_MAX_CONCURRENT_STREAMS parameter in a
SETTINGS frame to the configured
maxConcurrentStreamsPerConvalue at a regular interval. The number of concurrent streams are incremented based on the value configured inincrementByparameter. And, the regular interval is configured in theincrementSamplingPeriodparameter.
To avoid toggling between these states due to traffic pattern, it is required for the pod to satisfy the condition of the target state for a given period before transitioning it to target state. For example, if the pod is transitioning from DoC to Congested state, then the pod must satisfy the threshold parameters of Congested state for a given period, before moving to Congested state.
stateChangeSampleCountmonitoringInterval
Formula for calculating the period is:
(stateChangeSampleCount *
monitoringInterval)
For more information about the configuration, see Oracle Communications Cloud Native Core, Network Repository Function REST Specification Guide.
Managing Ingress Gateway Pod Protection
This section explains the procedure to enable and configure the feature.Enable
- Enable using REST API: Perform the
following configurations
- Use the API path as
{
apiRoot}/nf-common-component/v1/igw/podprotection. - Set
podprotection.enabledto true. - Set
podProtection.congestionControl.enabledto true. - Run the API using PUT method with
the proposed values given in the Rest API.
For more information about the configuration using REST API, see Oracle Communications Cloud Native Core, Network Repository Function REST Specification Guide.
Note:
The proposed values are engineering configured values and must not be changed.
- Use the API path as
{
- Enable using Console: Perform the
following configurations in Pod Protection:
- Switch Enabled to enable the feature.
- Switch Enabled under Congestion Control section.
- Click Save to save the changes.
Configure
- Configure using REST API: Perform the following feature configurations as described in the "Ingress Gateway Configuration" section of Oracle Communications Cloud Native Core, Network Repository Function REST Specification Guide.
- Configure using Console: Perform the feature configurations as described in Pod Protection.
Observe
Metrics
Following metrics are added in the NRF Gateways Metrics section:- oc_ingressgateway_pod_congestion_state
- oc_ingressgateway_pod_resource_stress
- oc_ingressgateway_pod_resource_state
- oc_ingressgateway_incoming_pod_connections_rejected_total
Alerts
Following metrics are added in the NRF Alerts section:- OcnrfIngressGatewayPodInDangerOfCongestionState
- OcnrfIngressGatewayPodInCongestedState
- OcnrfIngressGatewayPodCpuUsageInCongestedState
- OcnrfIngressGatewayPodCpuUsageInDangerOfCongestionState
- OcnrfIngressGatewayPodPendingMessageInCongestedState
- OcnrfIngressGatewayPodPendingMessageInDangerOfCongestionState
KPIs
Added the feature specific KPIs in the Ingress Gateway Pod Protection section.
Maintain
If you encounter alerts at system or application levels, see NRF Alerts section for resolution steps.
In case the alerts still persists, perform the following:
- Collect the logs: For more information about how to collect logs, see Oracle Communications Cloud Native Core, Network Repository Function Troubleshooting Guide.
- Raise a service request: See My Oracle Support for more information on how to raise a service request.
4.13 Network Slice Specific Metrics
The 5G Network slices are identified by Network Slice Instances (NSIs) and Single Network Slice Selection Assistance Information (SNSSAI).
A Network Function (NF) can have multiple NSIs and SNSSAIs listed under them to support multiple slices. NRF supports measuring the number of requests and responses for various service operation per network slice. This measurement is performed using the metrics mentioned in Observe.
Observe
Metrics
- ocnrf_nfDiscover_rx_requests_perSnssai_total
- ocnrf_nfDiscover_tx_success_response_perSnssai_total
- ocnrf_nfDiscover_tx_empty_response_perSnssai_total
- ocnrf_nfDiscover_tx_failure_response_perSnssai_total
- ocnrf_nfDiscover_rx_requests_perNsi_total
- ocnrf_nfDiscover_tx_success_response_perNsi_total
- ocnrf_nfDiscover_tx_empty_response_perNsi_total
- ocnrf_nfDiscover_tx_failure_response_perNsi_total
- ocnrf_nfDiscover_tx_forwarded_requests_perSnssai_total
- ocnrf_nfDiscover_rx_success_forwarded_responses_perSnssai_total
- ocnrf_nfDiscover_rx_empty_forwarded_responses_perSnssai_total
- ocnrf_nfDiscover_rx_failure_forwarded_responses_perSnssai_total
- ocnrf_nfDiscover_tx_forwarded_requests_perNsi_total
- ocnrf_nfDiscover_rx_success_forwarded_responses_perNsi_total
- ocnrf_nfDiscover_rx_empty_forwarded_responses_perNsi_total
- ocnrf_nfDiscover_rx_failure_forwarded_responses_perNsi_total
- ocnrf_nfRegister_requests_perSnssai_total
- ocnrf_nfRegister_success_responses_perSnssai_total
- ocnrf_nfRegister_failure_responses_perSnssai_total
- ocnrf_nfRegister_requests_perNsi_total
- ocnrf_nfRegister_success_responses_perNsi_total
- ocnrf_nfRegister_failure_responses_perNsi_total
- ocnrf_nfUpdate_requests_perSnssai_total
- ocnrf_nfUpdate_success_responses_perSnssai_total
- ocnrf_nfUpdate_failure_responses_perSnssai_total
- ocnrf_nfUpdate_requests_perNsi_total
- ocnrf_nfUpdate_success_responses_perNsi_total
- ocnrf_nfUpdate_failure_responses_perNsi_total
- ocnrf_nfDeregister_requests_perSnssai_total
- ocnrf_nfDeregister_success_responses_perSnssai_total
- ocnrf_nfDeregister_failure_responses_perSnssai_total
- ocnrf_nfDeregister_requests_perNsi_total
- ocnrf_nfDeregister_success_responses_perNsi_total
- ocnrf_nfDeregister_failure_responses_perNsi_total
- ocnrf_nfHeartBeat_requests_perSnssai_total
- ocnrf_nfHeartBeat_success_responses_perSnssai_total
- ocnrf_nfHeartBeat_failure_responses_perSnssai_total
- ocnrf_nfHeartBeat_requests_perNsi_total
- ocnrf_nfHeartBeat_success_responses_perNsi_total
- ocnrf_nfHeartBeat_failure_responses_perNsi_total
For more information about the metrics, see Network Slice Specific Metrics section.
KPIs
The feature specific KPIs are added in the Network Slice Specific KPIs section.
Maintain
If you encounter alerts at system or application levels, see NRF Alerts section for resolution steps.
In case the alerts still persist, perform the following:
- Collect the logs: For more information on how to collect logs, see "Collecting Logs" section in Oracle Communications Cloud Native Core, Network Repository Function Troubleshooting Guide.
- Raise a service request: See My Oracle Support for more information on how to raise a service request.
4.14 CCA Header Validation in NRF for Access Token Service Operation
Client Credentials assertion (CCA) is a token signed by the Consumer NF. It enables NRF to authenticate the Consumer NF which includes the signed token in Access Token service request. CCA header contains the Consumer NF's NfInstanceId that gets checked against the certificate by the NRF. The CCA also includes a timestamp as the basis for the restriction of its lifetime.
Consumer NF sends the 3gpp-Sbi-Client-Credentials header containing the CCA in the HTTP request and NRF performs the CCA validation. The CCA header validation is a JWT-based validation at NRF where the Consumer NF sends a JWT token as part of the header to NRF in Access Token request. The JWT token has an X5c certificate and other NF-specific information that is validated against the configuration values defined in NRF. The signature of the JWT token is validated against the CA root certificate configured at NRF.
Figure 4-15 Client Credentials JWT Token

Table 4-12 JOSE header
| Attribute name | Data type | P | Cardinality | Description |
|---|---|---|---|---|
| typ | String | M | 1 | The "typ" (type) Header Parameter is used to declare the media type of the JWS. Default value: JWT |
| alg | String | M | 1 | The "alg" (algorithm) Header Parameter is used to secure the JWS. Supported Algorithm types: RSA/ECDSA. |
| X5c | Array | M | 1 | The "X5c" (X.509 certificate) Header Parameter contains the X.509 public key certificate corresponding to the key used to digitally sign the JWT. |
Table 4-13 JWT claims
| Attribute name | Data type | P | Cardinality | Description |
|---|---|---|---|---|
| sub | NfInstanceId | M | 1 | This IE contains the NF instance ID of the NF service consumer, corresponding to the standard "Subject" claim. |
| iat | integer | M | 1 | This IE indicates the time at which the JWT was issued, corresponding to the standard "Issued At" claim. This claim may be used to determine the age of the JWT. |
| exp | integer | M | 1 | This IE contains the expiration time after which the client credentials assertion is considered to be expired, corresponding to the standard "Expiration Time" claim. |
| aud | array(NFType) | M | 1..N | This IE contains the NF type of NRF, for which the claim is applicable, corresponding to the standard "Audience" claim. |
The digitally signed client credentials assertion is further converted to the JWS compact serialization encoding as a string.
If the validation is successful, the Access Token request is processed further.
If CCA header validation fails, the Access Token request is rejected by NRF
with "403 Forbidden" with the cause attribute set to
"CCA_VERIFICATION_FAILURE".
Managing CCA Header validation in NRF for Access Token Service Operation
- Create Ingress Gateway Secret. For more information about configuring secrets, see section “Configuring Secret to Enable CCA Header” in Oracle Communications Cloud Native Core, Network Repository Function Installation, Upgrade, and Fault Recovery Guide.
- Configure the secret containing the CA root bundle and enable CCA
header feature for AccessToken either using REST or Console:
- Using REST API: Perform the feature configurations for CCA Header Validation in Ingress Gateway as described in Oracle Communications Cloud Native Core, Network Repository Function REST Specification Guide
- Using Console: Perform the feature configurations for CCA Header Validation in Ingress Gateway as described in CCA Header.
- Enable the feature using Helm, as follows:
- Customize the
ocnrf_custom_values_25.1.100.yamlfile. - To enable this feature in Helm, set the
metadata.ccaHeaderValidation.enabledto true foraccesstoken_mappingid under routesConfig of Ingress Gateway microservice.metadata: ccaHeaderValidation: enabled: trueNote:
This feature can be enabled only by using Helm. - Save the file.
- Run Helm upgrade, if you are enabling this feature after NRF deployment. For more information about upgrade procedure, see Oracle Communications Cloud Native Core, Network Repository Function Installation, Upgrade, and Fault Recovery Guide.
- Customize the
Observe
Metrics
oc_ingressgateway_cca_header_request_totaloc_ingressgateway_cca_header_response_totaloc_ingressgateway_cca_certificate_info
KPIs
There are no KPIs for this feature.
Alerts
Maintain
If you encounter alerts at system or application levels, see NRF Alerts section for resolution steps.
In case the alerts persist, perform the following:
- Collect the logs: For more information on how to collect logs, see "Collecting Logs" section in Oracle Communications Cloud Native Core, Network Repository Function Troubleshooting Guide.
- Raise a service request: See My Oracle Support for more information on how to raise a service request.
4.15 Monitoring the Availability of SCP Using SCP Health APIs
NRF determines the availability and reachability status of all SCPs irrespective of the configuration types.
This feature is an enhancement to the existing SBI routing functionality. Egress Gateway microservice interacts with SCP on their health API endpoints using HTTP2 OPTIONS method. It monitors the health of configured SCP peers to ensure that the traffic is routed directly to the healthy peers. This enhancement avoids routing or rerouting towards unhealthy peers, thus minimizing the latency time.
Egress Gateway microservice maintains the health status of all available and unavailable SCPs. It maintains the latest health of SCPs by periodically monitoring and uses this data to route egress traffic to the most preferred healthy SCP.
Figure 4-16 SCP Selection Mechanism

peermonitoringconfiguration is set to false by default. Since, this
feature is an add-on to the existing SBI Routing feature and will be activated if the
sbirouteconfig feature is enabled. To enable this feature, perform
the following:
- configure
peerconfigurationwithhealthApiPathas/{scpApiRoot}/{apiVersion}/status - configure
peersetconfiguration - configure
routesconfiguration - configure
sbiroutingerrorcriteriasets - configure
sbiroutingerroractionsets - enable
peermonitoringconfiguration
healthApi
in peerconfiguration should be attached manually to existing configured
peers. If the operator tries to enable peermonitoringconfiguration and
the targeted peers do not have the healthApiPath then an appropriate
error response is sent.
Managing Monitoring the Availability of SCP Using SCP Health APIs
This section explains the procedure to enable and configure the feature.Configure
-
Configure using REST API: Perform the following feature configurations as described in Oracle Communications Cloud Native Core, Network Repository Function REST Specification Guide:
- Create or update
{apiRoot}/nrf/nf-common-component/v1/egw/peerconfiguration. - Create or update the
{apiRoot}/nrf/nf-common-component/v1/egw/peersetconfigurationto assign these peers. - Create or update
{apiRoot}/nrf/nf-common-component/v1/egw/sbiroutingerrorcriteriasets. - Create or update
{apiRoot}/nrf/nf-common-component/v1/egw/sbiroutingerroractionsets. - create or update routesets
{apiRoot}/nrf/nf-common-component/v1/egw/routesconfigurationto use the above peerset. - enable the feature using the below peermonitoring
configuration
{apiRoot}/nrf/nf-common-component/v1/egw/peermonitoringconfiguration.
Note:
Health Monitoring of the peer will start only after the feature is enabled and the corresponding peerset is used insbirouteconfig. - Create or update
-
Configure using Console: Perform the following feature configurations as described:
- create or update Peer Configuration with health status endpoint details.
- create or update the Peer Set Configuration to assign these peers.
- create or update SBI Error Criteria Sets.
- create or update SBI Error Action Sets.
- create or update Routes Configuration to use the above peerset.
- enable the feature using the below Peer Monitoring Configuration.
Note:
Health Monitoring of the peer will start only after the feature is enabled and the corresponding peerset is used insbirouteconfig.
Observe
- oc_egressgateway_peer_health_status
- oc_egressgateway_peer_health_ping_request_total
- oc_egressgateway_peer_health_ping_response_total
- oc_egressgateway_peer_health_status_transitions_total
- oc_egressgateway_peer_count
- oc_egressgateway_peer_available_count
Added the feature specific KPIs in the SCP Health Status section.
Maintain
If you encounter alerts at system or application levels, see NRF Alerts section for resolution steps.
In case the alerts persists, perform the following:
- Collect the logs: For more information on how to collect logs, see Oracle Communications Cloud Native Core, Network Repository Function Troubleshooting Guide.
- Raise a service request: See My Oracle Support for more information on how to raise a service request.
4.16 Controlled Shutdown of NRF
NRF supports controlled shutdown feature to isolate NRF from the current network at a particular site. This isolation helps to perform any maintenance activities or recovery procedures as required without uninstalling the NRF at the particular site. During this time the operations of the Ingress Gateway, Egress Gateway, and NrfAuditor microservices are paused. These services read the operational state from the database periodically. The operational state of NRF can be changed by using REST API or CNC Console at any time.
The two operational states defined for NRF are as follows:
- NORMAL
- COMPLETE_SHUTDOWN
Note:
- Ensure that the database is up and the NRF services must be able to connect and communicate with the database to change the operational state.
- In either state, if the database goes down, the back-end pods go to the NOT_READY state, but the Ingress Gateway microservice will continue to be in the last known operational state. When the Controlled Shutdown feature is enabled and the database is not available, all the incoming messages will be rejected with the Service Unavailable messages if the operational state is "NORMAL", or with a configurable error code if the operational state is COMPLETE_SHUTDOWN". However, the operators will not be able to see the operational state in CNC Console due to database unavailability.
If the controlled shutdown operational state is NORMAL, then NRF processes the message as normal.
If the controlled shutdown operational state is COMPLETE_SHUTDOWN, then NRF rejects all incoming requests with a configurable error code.
Figure 4-17 Operational State changes

The following behavior changes occur when the operational state changes:
From NORMAL to COMPLETE_SHUTDOWN
- The Ingress Gateway microservice rejects all new requests towards
the services that have been configured for controlled shutdown with a
configurable error code. In this case, all the inflight transactions will be
gracefully handled. The controlled shutdown applies to the following
services:
- nfregistration
- nfdiscovery
- nfsubscription
- nfaccesstoken
controlledshutdownerrormappinganderrorcodeprofilesAPIs. - The NrfAuditor microservice pauses all its audit procedures, hence
no notifications are generated.
OcnrfAuditOperationsPausedalert is raised to indicate that the audit is paused. - The Egress Gateway microservice handles all the inflight requests
gracefully. Since the Ingress Gateway and NrfAuditor microservices are in a
COMPLETE_SHUTDOWN operational state, there would be no requests from the backend
services.
Note:
No specific configuration for controlled shutdown needs to be applied on the routes for the Egress Gateway microservice. - The NrfConfiguration microservice continues to process any configuration requests in the COMPLETE_SHUTDOWN state.
OcnrfOperationalStateCompleteShutdownalert is raised to indicate the operational state of NRF is COMPLETE_SHUTDOWN.- The operational state change is recorded and can be viewed using
the
controlledShutdownOptionsREST API. Additionally, the history of operational state changes can be viewed using theoperationalStateHistoryREST API.
From COMPLETE_SHUTDOWN to NORMAL
- The Ingress Gateway microservice resumes processing all incoming requests.
- The Egress Gateway microservice resumes processing all outgoing requests.
-
The NrfAuditor pod waits for a preconfigured waiting period before resuming its audit procedures to allow the NFs to move back to this NRF after the NRF has changed to the NORMAL operational state. Once the waiting period has expired, the audit procedures resume, and the
OcnrfAuditOperationsPausedalert is cleared. The waiting period is defined as(defaultHbTimer * nfHeartBeatMissAllowed) + maxReplicationLatency(s) + replicationLatencyThreshold * latencyMultiplierWhere,defaultHbTimer- defaultHbTimer configured innfManagementOptions.nfHeartBeatTimerswhere the nfType is "ALL_NF_TYPE". For more information about the parameter, see "NF Management Options" in Oracle Communications Cloud Native Core, Network Repository Function REST Specification Guide.nfHeartBeatMissAllowed- nfHeartBeatMissAllowed configured innfManagementOptions.nfHeartBeatTimerswhere the nfType is "ALL_NF_TYPE". For more information about the parameter, see "NF Management Options" in Oracle Communications Cloud Native Core, Network Repository Function REST Specification Guide.maxReplicationLatency- The maximum replication latency detected across all the sites. This parameter supports dynamic value.replicationLatencyThreshold- The replicationLatencyThreshold configured in geoRedundancyOptions. For more information about the parameter, see "Georedundancy Options" in Oracle Communications Cloud Native Core, Network Repository Function REST Specification Guide.latencyMultiplier- A preconfigured fixed offset value set as 3.
OcnrfOperationalStateCompleteShutdownalert is cleared to indicate that the operational state of NRF is NORMAL.- The operational state change is recorded and can be viewed using the
controlledShutdownOptionsREST API. Additionally, the history of operational state changes can be viewed using theoperationalStateHistoryREST API.
NRF Behavior Post Fault Recovery
During the database restore procedure, along with the configuration data, the NFProfile data/subscription data also gets restored which may not always be the latest state data at that moment. In this state, the NrfAuditor microservice may act upon the NFProfiles/NFsubscriptions which are not up-to-date yet. Also, the NFs is in process of moving to the current NRF which is available now. In this state, if the audit procedure is performed, NRF suspends those NFs and send out notifications to the consumer NFs. The same is applicable for NfSubscriptions, where the subscriptions may get deleted due to an older lastUpdatedTimestamp in the backup data.
To avoid this problem, NrfAuditor microservice waits for a waiting
period before resuming the auditing of NFProfiles and subscriptions as soon as it
comes to Ready state from NotReady state. An alert
("OcnrfAuditOperationsPaused") is raised to indicate that the
audit processes have paused, see NRF Alerts section. Once the
waiting period is elapsed, the audit processes resume and the alert is cleared.
To know about the computation of the waiting period, see Controlled Shutdown of NRF .
Note:
The NrfAuditor pod goes to NotReady state whenever it loses connectivity with the database. During temporary connectivity fluctuations, the NrfAuditor pod may transition between Ready and NotReady states cause the cool off period to kick in for every NotReady to Ready transition. To avoid such short and frequent transitions, NrfAuditor microservice applies the waiting period only when the pod is in NotReady for more than 5 seconds.Managing Controlled Shutdown of NRF
ocnrf_custom_values_25.1.100.yaml file to
configure the feature.
global.enableControlledShutdownis the flag to enable the feature. The default value is true. To disable the feature, set the value of the flag to false.Please note that the below configurations are required for the feature to work.
controlled shutdown filterunder routesConfig.Note:
The route configuration must not be modified.
global.enableControlledShutdown attribute, see Oracle Communications Cloud Native Core, Network Repository Function
Installation, Upgrade, and Fault Recovery Guide.You can configure the Controlled Shutdown of NRF feature using the REST API or Console:
- REST API: Perform the following feature configurations as
described in Oracle Communications Cloud Native Core, Network Repository Function REST
Specification Guide.
{apiRoot}/nrf/nf-common-component/v1/igw/errorcodeprofiles{apiRoot}/nrf/nf-common-component/v1/igw/controlledshutdownerrormapping{apiRoot}/nrf-configuration/v1/controlledShutdownOptions{apiRoot}/nrf-configuration/v1/operationalStateHistory
- CNC Console:
- You can configure error code profiles as described in the Error Code Profile section.
- You can configure error mapping as described in the Controlled Shutdown Error Mapping section.
- You can change only the Operational State and view the Operational State History as described in the Controlled Shutdown section.
Observe
- ocnrf_operational_state
- ocnrf_audit_status
For more information about the metrics for the controlled shutdown of NRF see the NRF Metrics section.
For more information about the alerts raised for the controlled shutdown of NRF see the Controlled Shutdown of NRF Feature section.
- Operational State {{ pod }}
- NRF Audit status
For more information about the KPIs in NRF see the Controlled Shutdown of NRF section.
Maintain
If you encounter alerts at system or application levels, see NRF Alerts section for resolution steps.
In case the alerts still persist, perform the following:
- Collect the logs: For more information on how to collect logs, see "Collecting Logs" section in Oracle Communications Cloud Native Core, Network Repository Function Troubleshooting Guide.
- Raise a service request: See My Oracle Support for more information on how to raise a service request.
4.17 User-Agent Header for Outgoing Requests
NRF supports the addition of User-Agent header for outgoing messages for NFStatusNotify and SLF query requests. NRF adds the User-Agent header with the configured value to the mentioned outgoing messages.
In addition, NRF propagates the User-Agent header received in all forwarding and roaming requests.
Managing User-Agent Header for Outgoing Requests
Configure
You can configure User-Agent header value feature using the REST API or CNC Console.
- Configure using REST API: Provide the value for
ocnrfUserAgentHeaderin generalOptions configuration API. For more information about this API, see Oracle Communications Cloud Native Core, Network Repository Function REST Specification Guide. - Configure using CNC Console: Provide the value for OCNRF User-Agent Header on the General Options Page. For more information about the field, see General Options page.
Maintain
If you encounter alerts at system or application levels, see NRF Alerts section for resolution steps.
In case the alerts persist, perform the following:
- Collect the logs: For more information on how to collect logs, see "Collecting Logs" section in Oracle Communications Cloud Native Core, Network Repository Function Troubleshooting Guide.
- Raise a service request: See My Oracle Support for more information on how to raise a service request.
4.18 Support for Kubernetes Resource
4.18.1 Node Selector
The Node Selector feature allows the Kubernetes scheduler to determine the type of nodes in which the NRF pods are scheduled, depending on the predefined node labels or constraints.
Node selector is a basic form of cluster node selection constraint. It allows you to define the node labels (constraints) in the form of key-value pairs. When the nodeSelector feature is used, Kubernetes assigns the pods to only the nodes that match with the node labels you specify.
To see all the default labels assigned to a Kubernetes node, run the following command:
kubectl describe node <node_name>Where,
<node_name> is the name of Kubernetes node.
For example:
kubectl describe node pollux-k8s-node-1
Name: pollux-k8s-node-1
Roles: <none>
Labels: beta.kubernetes.io/arch=amd64
kubernetes.io/hostname=pollux-k8s-node-1
kubernetes.io/os=linux
topology.kubernetes.io/region=RegionOne
topology.kubernetes.io/zone=novaManaging NRF Node Selector Feature
Enable
You can enable Node Selector feature using the Helm:
- Open the
ocnrf_custom_values_25.1.100.yamlfile. - Set
global.nodeSelectionto ENABLED to enable the node selection.For more information about the parameters, see Oracle Communications Cloud Native Core, Network Repository Function Installation, Upgrade, and Fault Recovery Guide.
- Save the file.
- Install NRF. For more information about installation procedure, see Oracle Communications Cloud Native Core, Network Repository Function Installation, Upgrade, and Fault Recovery Guide.
Configure
- Configure the following parameters in the global, NRF
microservices and Gateways sections:
nodeSelectionhelmBasedConfigurationNodeSelectorApiVersionnodeSelector.nodeKeynodeSelector.nodeValue
- Configure the following parameters in the appinfo section:
nodeSelectionhelmBasedConfigurationNodeSelectorApiVersionnodeSelector
- Configure the following parameters in the perfinfo section:
nodeSelectorEnabledhelmBasedConfigurationNodeSelectorApiVersionnodeSelectorKeynodeSelectorValue
For more information about the parameters, see Oracle Communications Cloud Native Core, Network Repository Function Installation, Upgrade, and Fault Recovery Guide.
Maintain
If you encounter alerts at system or application levels, see NRF Alerts section for resolution steps.
In case the alerts still persists, perform the following:
- Collect the logs: For more information on how to collect logs, see Oracle Communications Cloud Native Core, Network Repository Function Troubleshooting Guide.
- Raise a service request: See My Oracle Support for more information on how to raise a service request.
4.18.2 Kubernetes Probes
One of the key feature that Kubernetes provides is high availability. This is achieved by the smallest deployment model called Pods. The health check of these Pods are performed by Kubernetes Probes.
- Liveness Probe: Indicates if the container is operating. If the container is operating, no action is taken. If not, the kubelet kills and restarts the container.
- Readiness Probe: Indicates whether the application running in the container is ready to accept requests. If the application is ready, services matching the pod are allowed to send traffic to it. If not, the endpoints controller removes the pod from all matching Kubernetes Services.
- Startup Probe: Indicates whether the application running in the container has started. If the application is started, other probes start functioning. If not, the kubelet kills and restarts the container.
Managing Kubernetes Probes Feature
Configure
You can configure Kubernetes Probes feature using the Helm:
- Open the
ocnrf_custom_values_25.1.100.yamlfile. - Configure the probes for each microservices. For more information about configuration parameters, see Oracle Communications Cloud Native Core, Network Repository Function Installation, Upgrade, and Fault Recovery Guide.
- Save the file.
- Install NRF. For more information about installation procedure, see Oracle Communications Cloud Native Core, Network Repository Function Installation, Upgrade, and Fault Recovery Guide.
- If you are configuring these parameter after NRF deployment, upgrade NRF. For more information about upgrade procedure, see Oracle Communications Cloud Native Core, Network Repository Function Installation, Upgrade, and Fault Recovery Guide.
Maintain
If you encounter alerts at system or application levels, see NRF Alerts section for resolution steps.
In case the alerts still persists, perform the following:
- Collect the logs: For more information on how to collect logs, see Oracle Communications Cloud Native Core, Network Repository Function Troubleshooting Guide.
- Raise a service request: See My Oracle Support for more information on how to raise a service request.
4.18.3 Pod Disruption Budget
PodDisruptionBudget (PDB) is a Kubernetes resource that allows you to achieve high availability of scalable application services when the cluster administrators perform voluntary disruptions to manage the cluster nodes.
PDB restricts the number of pods that are down simultaneously from voluntary disruptions. Defining PDB is helpful to keep the services running undisrupted when a pod is deleted accidentally or deliberately. PDB can be defined for high available and scalable NRF services.
It allows safe eviction of pods when a Kubernetes node is drained to perform maintenance
on the node. It uses the maxPdbUnavailable parameter specified in the
Helm chart to determine the maximum number of pods that can be unavailable during a
voluntary disruption.
Managing Pod Disruption Budget
Enable
This feature is enabled automatically if you are deploying NRF with Release 16.
Configure
You can configure this feature using Helm. For information about configuring PDB, see Oracle Communications Cloud Native Core, Network Repository Function Installation, Upgrade, and Fault Recovery Guide.
Observe
There is no specific metrics and alerts required for the Support of PDB functionality.
4.18.4 Network Policies
NetworkPolicies are an application-centric construct that allows you to specify how a pod is allowed to communicate with various network entities. To control communication between the cluster's pods and services and to determine which pods and services can access one another inside the cluster, it creates pod-level rules.
Previously, NRF had the privilege to communicate with other namespaces, and pods of one namespace could communicate with others without any restriction. Now, namespace-level isolation is provided for the NRF pods, and some scope of communications is allowed between the NRF and pods outside the cluster. The network policies enforces access restrictions for all the applicable data flows except communication from Kubernetes node to pod for invoking container probe.
Managing Support for Network Policies
Enable
To use this feature, network policies need to be applied to the namespace in which NRF is deployed.
Configure
You can configure this feature using Helm. For information about configuring PDB, see Oracle Communications Cloud Native Core, Network Repository Function Installation, Upgrade, and Fault Recovery Guide.
Observe
There is no specific metrics and alerts required for the Network Policy feature.
4.18.5 Tolerations
Taints and tolerations are Kubernetes mechanism that allows you to ensure that pods are not placed on inappropriate nodes. Taints are added to nodes, while tolerations are defined in the pod specification. One or more taints are applied to a node, this marks that the node should not accept any pods that do not tolerate the taints.
When a taint is assigned by Kubernetes configurations, it repels all the pods except those that have a matching toleration for that taint. Tolerations are applied to pods to allow the pods to schedule onto nodes with matching taints. Tolerations allow scheduling but do not guarantee scheduling. For more information about the Kubernetes documentation.
Managing Kubernetes Tolerations
Enable
- Open the
ocnrf_custom_values_25.1.100.yamlfile. - Set
global.tolerationsSettingto ENABLED to enable toleration.For more information about the parameters, see Oracle Communications Cloud Native Core, Network Repository Function Installation, Upgrade, and Fault Recovery Guide.
- Save the file.
- Install NRF. For more information about installation procedure, see Oracle Communications Cloud Native Core, Network Repository Function Installation, Upgrade, and Fault Recovery Guide.
Configure
- Configure
global.tolerationsas per the requirement based on the taints on the node. For more information about the parameters, see the Tolerations table. - By default
global.tolerationsis applied to all the microservices. In case you want to modify the tolerations for a specific microservice, configuretolerationsSettingunder the specific microservice.
Table 4-14 Tolerations
| Parameter | Description |
|---|---|
key |
It is name of the key. |
value |
It is a value for the configured key. |
effect |
Indicates the taint effect applied for the node. The effect is defined by one of the following:
|
operator |
Indicates the criteria to match the tolerations with the taint configuration. The value can be:
|
Observe
There are no specific metrics and alerts required for this feature.
4.18.6 Dual Stack
According to RFC 4213, Dual stack supports both versions of the Internet Protocol (IPv4 and IPv6).
- coexistence strategy that allows hosts to reach IPv4 and IPv6 simultaneously.
- IPv4 and IPv6 allocation to the Kubernetes clusters during cluster creation. This allocation is applicable for all the Kubernetes resources unless explicitly specified during the cluster creation.
Using the dual stack mechanism, NRF communicates within services or deployments in a Kubernetes cluster using IPv4 or IPv6 or both simultaneously depending on the configured deployment mode. Previously, NRF was supporting only dual stack with IPv4 preferred deployment on a platform configured as dual stack with IPv4 preferred.
From 25.1.100, NRF also supports dual stack with IPv6 preferred deployment on a platform configured as dual stack with IPv4 preferred. This can be achieved by configuring the ipFamilyPolicy and ipFamilies based on the deployment mode for all the NRF microservices. For more information about the attributes, see Table 4-16.
In a 5G network, for a dual stack based deployment, NRF microservices can be grouped as follows:
- Edge Microservices: The edge microservice is Ingress Gateway microservice which handles the incoming requests from other NFs. NRF supports dual stack for Ingress Gateway microservice. The Ingress Gateway microservice can accept any IP address types (IPv4 or IPv6) from other NFs.
Note:
Ingress Gateway microservice establishes connection with NRF backend microservices on a single stack with IPv6 preferred.- Backend Microservices: All other microservices except the Ingress Gateway microservice is considered as backend microservice. NRF supports single stack IPv4 or IPv6 for backend microservices. All the backend microservices interacts with each other using single stack.
- Egress Gateway microservice provide options for sending outgoing request using IPv4
or IPv6. The preferred routing mode can be configured using
global.egressRoutingModeHelm parameter. For more information about this parameter, see the "Customizing NRF" section in the Oracle Communications Cloud Native Core, Network Repository Function Installation, Upgrade, and Fault Recovery Guide.
Note:
The IP type defined in Dynamic SLF feature (preferredRoutingParameter.routingParameter) should match with the
IP type configured in Egress Gateway microservice dual stack preference.
IP Address Allocation to Pods
IP address allocation to pods depends on the IP address preference which is set in the Kubernetes cluster. Pods do not have the privilege to choose an IP address. For example, if the Kubernetes cluster has IPv4 preferred configuration, both IPv4 and IPv6 are allocated to the pod, but the primary address is IPv4.
Status: Running
IP: 10.xxx.xxx.xxx
IPs:
IP: 10.xxx.xxx.xxx
IP: fd00::1:1xxx:9xxx:bxxx:fxxxIP address allocation to pods depends on the IP address preference set in the Kubernetes cluster. Pods do not have the privilege to choose an IP address. For example, if the Kubernetes cluster has IPv6 preferred configuration, both IPv4 and IPv6 are allocated to the pod, but the primary IP address is IPv6.
Example of a pod with primary address as IPv6 deployed in an IPv4 preferred infrastructure:
Status: Running
IP: fd00::1:1xxx:9xxx:bxxx:fxxx
IPs:
IP: fd00::1:1xxx:9xxx:bxxx:fxxx
IP: 10.xxx.xxx.xxxIP Address Allocation to Services
IP address allocation to all the NRF services, depends on the NRF deployment mode as defined as per Supported Deployment Mode Table. When the Helm parameters are configured appropriately, NRF automatically configures IP Family Policy and IP Families attributes to the NRF services.
Table 4-15 Supported Deployment Mode
| Supported Mode | Required Configurations in Helm | ||
|---|---|---|---|
| Edge Deployment Mode (global.edgeDeploymentMode) | Backend Deployment Mode(global.backEndDeploymentMode) | Egress Routing Mode (global.egressRoutingMode) | |
| IPv4 Only | IPv4 | IPv4 | IPv4 |
| IPv6 Only | IPv6 | IPv6 | IPv6 |
| IPv4 over IPv6 | IPv4_IPv6 | IPv6 | any |
| IPv6 over IPv4 | IPv6_IPv4 | IPv6 | any |
| ClusterPreferred | ClusterPreferred | ClusterPreferred | None |
For more information about the parameters, see the "Customizing NRF" section in the Oracle Communications Cloud Native Core, Network Repository Function Installation, Upgrade, and Fault Recovery Guide.
You can customize the IP address allocation to services based on the above Helm parameters. Services route the traffic to the destination endpoints based on this configuration. If the Helm parameter is set to IPv4, then IPv4 is allocated to services, and services use IPv4 pod IPs to send the traffic to endpoints.
IP Family Policy Attribute, IP Families Attribute, Pod IP and Service IP indicates the Ingress Gateway Microservice whereas the Endpoint belongs to backend microservice.
IP address allocation for the edge microservice (Ingress Gateway Microservice) is
configured using the global.edgeDeploymentMode Helm parameter.
IP address allocation for all the backend microservices are performed based on the value
configured at the global.backEndDeploymentMode Helm parameter.
IP selection control and connections for the Egress Gateway microservice or the outgoing
traffic is handled by the global.egressRoutingMode Helm parameter.
For more information about the above parameters, see the "Customizing NRF" section in the Oracle Communications Cloud Native Core, Network Repository Function Installation, Upgrade, and Fault Recovery Guide.
The following table describes how IP address allocation, ipFamilyPolicy, and ipFamilies vary based on the above parameter configuration for services:
Table 4-16 IP Address Allocation
| Infrastructure Preference | Backend Deployment Mode Helm Parameter | ipFamilyPolicy Attribute | ipFamilies Attribute | Pod IP | Service IP | Endpoints |
|---|---|---|---|---|---|---|
| IPv4 Preferred | IPv4 | SingleStack | IPv4 | Ipv4,IPv6 | IPv4 | IPv4 |
| IPv6 Preferred | IPv4 | SingleStack | IPv4 | Ipv6,IPv4 | IPv4 | IPv4 |
| IPv4 Preferred | IPv6 | SingleStack | IPv6 | Ipv4,IPv6 | IPv6 | IPv6 |
| IPv6 Preferred | IPv6 | SingleStack | IPv6 | Ipv6,IPv4 | IPv6 | IPv6 |
| IPv4 Preferred | IPv4_IPv6(IPv4 Preferred) | RequiredDualStack | IPv4 Preferred | Ipv4,IPv6 | Ipv4,IPv6 | IPv4 |
| IPv6 Preferred | IPv4_IPv6(IPv4 Preferred) | RequiredDualStack | IPv4 Preferred | Ipv6,IPv4 | Ipv4,IPv6 | IPv4 |
| IPv4 Preferred | IPv6_IPv4(IPv6 Preferred) | RequiredDualStack | IPv6 Preferred | Ipv4,IPv6 | Ipv6,IPv4 | IPv6 |
| IPv6 Preferred | IPv6_IPv4(IPv6 Preferred) | RequiredDualStack | IPv6 Preferred | Ipv6,IPv4 | Ipv6,IPv4 | IPv6 |
Note:
NRF defines all theglobal.edgeDeploymentMode and
global.backEndDeploymentMode as ClusterPreferred by default. This
helps NRF or other microservices to
fallback to the single stack support.
Upgrade Impact
In a dual stack environment, all the NRF backend services are configured as single stack. As per Kubernetes limitation, NRF upgrade is not supported when there is a mismatch in ipFamilies configured between NRF backend microservices and the deployment mode ipFamilies configuration. In this case, NRF recommends a fresh installation to change the preferred ipFamilies. However, this is not applicable for the edge microservice (Ingress Gateway microservice) as they can choose to increase the list of ipFamilies by setting it as dual stack according to the cluster preference.
Managing Dual Stack
Enable
The dual stack support is a core functionality of NRF. You do not need to enable or disable this feature.
Configure
This section lists the configuration details for this feature.
Helm
- Customize the
ocnrf_custom_values_25.1.100.yamlfile. - Set
global.edgeDeploymentModeto clusterPreferred to indicate the edge deployment mode. - Set
global.backEndDeploymentModeto clusterPreferred to indicate the backend deployment mode. - Set
global.egressRoutingModeto None to control the IP address selection and connection for the Egress Gateway microservice. For more information about the parameters, see Oracle Communications Cloud Native Core, Network Repository Function Installation, Upgrade, and Fault Recovery Guide. - Save the file.
- Install NRF. For more information about installation procedure, see Oracle Communications Cloud Native Core, Network Repository Function Installation, Upgrade, and Fault Recovery Guide.
Observe
Metrics
The following metrics are added in the Ingress Gateway Metrics section:
oc_ingressgateway_incoming_ip_typeoc_ingressgateway_outgoing_ip_type
The following metrics are added in the Egress Gateway Metrics section:
oc_egressgateway_incoming_ip_typeoc_egressgateway_outgoing_ip_typeoc_egressgateway_dualstack_ip_rejected_total
Maintain
If you encounter alerts at system or application levels, see NRF Alerts section for resolution steps.
In case the alerts still persist, perform the following:
- Collect the logs: For more information on how to collect logs, see "Collecting Logs" section in Oracle Communications Cloud Native Core, Network Repository Function Troubleshooting Guide.
- Raise a service request: See My Oracle Support for more information on how to raise a service request.
4.19 Pod Protection Support for NRF Subscription Microservice
The NRF subscription microservice is responsible for the following service operations:
- NfStatusSubscribe
- NfStatusUnsubscribe
- NfStatusNotify
Of the above service operations, NfStatusSubscribe and NfStatusUnsubscribe requests are received by the subscription pod through the Ingress Gateway service. The registration (nfregistration) and auditor (nrfauditor) pods trigger notification events towards the subscription pod, which in turn triggers the NfStatusNotify requests to the consumer NFs.
The subscription pod currently undergo a risk of the congested condition. A congested condition is defined as a state where the pod's resource utilization (CPU and Pending Message count) is higher than the expected thresholds. This would result in higher latency, pod restarts, or traffic loss.
This situation may occur due to:
- increase of notification events received from the registration and auditor pods.
- increase of NfStatusSubscribe or NfStatusUnsubscribe events.
- a large number of NfStatusNotify events being triggered.
The Overload Control feature through Ingress Gateway only ensures the traffic through the Ingress Gateway to the subscription pods is regulated. For more information about the Overload Control feature, see Overload Control Based on Percentage Discards.
However, in the NRF traffic call model, this traffic constitutes only 1% of the traffic to this service while 99% of the traffic is because of the NfStatusNotify events. Hence, the overload feature alone does not prevent the NRF subscription microservice pod from going into the congested state. The Pod Protection feature is introduced as a solution to address the overload situation by protecting the pod independently and continuing to provide service.
Note:
Horizontal POD Autoscaling (HPA) at subscription microservice and pod protection mechanism at subscription microservice are independent features with different trigger conditions. While HPA considers microservice load, pod protection mechanism works only on the POD load. Therefore, their order of triggering cannot be predicted.- CPU: The CPU consumption of the Subscription microservice container
is used to determine the congestion level. The CPU usage is monitored using the
Kubernetes cgroup (cpuacct.usage) and it is measured in nanoseconds.
It is monitored periodically and calculated using the following formula and then compared against the configured CPU thresholds to determine the congestion state.
Figure 4-18 CPU Measurement

Where,
CurrentCpuUsageis the counter reading at current periodic cycle.LastCpuUsageis the counter reading at previous periodic cycle.CurrentTimeis the current time snapshot.LastSampleTimeis the previous periodic cycle time snapshot.CPUsis the total number of CPUs for a given pod.
- Pending Message Count: The pending message count is the number of requests that are received by the subscription pod and yet to send the response. This includes all the requests triggered towards the Subscription pods from the registration, auditor, and Ingress Gateway microservices. The processing of the requests may include DB operations, forwarding the request to another NRF, and triggering notifications. The pending message count is monitored periodically and then compared against the configured thresholds to determine the congestion state.
Subscription Microservice Load States
Following are the different overload states to detect overload conditions. This will protect and mitigate the pod entering into an overload condition, and to take necessary actions to recover from overload.
Figure 4-19 Pod Protection State Transition

Note:
The transition can occur between any states based on the congestion parameters. These congestion parameters are preconfigured and cannot be changed.- Congested State: This is the upper bound state where the pod is
congested. This means one or more congestion parameters is above the configured
thresholds for the congested state. For more information about the configuration
using CNC Console, see Pod Protection Options. The pod can be transitioned to the Congested State either
from the Normal State or the DoC state.
When pod reaches this state, the following actions are performed:
- new incoming HTTP2 connection requests are not accepted.
- the pod gradually decrements the number of concurrent
streams by updating SETTINGS_MAX_CONCURRENT_STREAMS parameter in a
SETTINGS frame to the configured
maxConcurrentStreamsPerConvalue at a regular interval. The concurrent streams are decremented based on the value configured indecrementByparameter. And, the regular interval is configured in thedecrementSamplingPeriodparameter.
Alerts are raised when any of the subscription pods go into this state. For more information about alerts, see NRF Alerts.
- Danger of Congestion (DoC) State: This is the intermediate state
where the pod is approaching a congested state. This means one or more
congestion parameters, CPU or Pending Message Count, is above the configured
thresholds for the DoC state. For more information about the configuration using
CNC Console, see Pod Protection Options.
- When pod reaches this state, the following actions are performed:
- any new incoming HTTP2 connection requests are not accepted.
- if the pod is transitioning from the Normal State to
the DoC state, the pod gradually decrements the number of
concurrent streams by updating SETTINGS_MAX_CONCURRENT_STREAMS
parameter in a SETTINGS frame to the configured
maxConcurrentStreamsPerConvalue at a regular interval. The concurrent streams are decremented based on the value configured indecrementByparameter. And, the regular interval is configured in thedecrementSamplingPeriodparameter. - if the pod is transitioning from the Congested
State to the DoC state, the pod gradually increments the number
of concurrent streams by updating
SETTINGS_MAX_CONCURRENT_STREAMS parameter in a SETTINGS frame to
the configured
maxConcurrentStreamsPerConvalue at a regular interval. The concurrent streams are incremented based on the value configured inincrementByparameter. And, the regular interval is configured in theincrementSamplingPeriodparameter.
- When pod reaches this state, the following actions are performed:
- Normal State: This is the lower bound state where all the congestion
parameters for the pod are below the configured thresholds for DoC and Congested
states. For more information about the configuration using CNC Console, see
Pod Protection Options.
When pod reaches this state, the following actions are performed:
- the pod will continue accepting new incoming HTTP2 connection requests.
- in case the pod is transitioning from the Congested or
DoC state to Normal state, the pod gradually increments the number
of concurrent streams by updating SETTINGS_MAX_CONCURRENT_STREAMS
parameter in a SETTINGS frame to the configured
maxConcurrentStreamsPerConvalue at a regular interval. The concurrent streams are incremented based on the value configured inincrementByparameter. And, the regular interval is configured in theincrementSamplingPeriodparameter.
stateChangeSampleCountmonitoringInterval
Formula for calculating the period is: (stateChangeSampleCount *
monitoringInterval)
When the Subscription pods are in DoC or Congested state, it forces the client pods, registration, auditor, and Ingress Gateway to send lesser traffic towards the subscription pod. Subscription pod receives traffic in following scenarios:
- The registration pod sends a notification trigger request to the
subscription pods when:
- an NF registers itself with NRF.
- an NF updates its registered profiles.
- an NF deregisters itself from NRF.
- The auditor pod sends a notification trigger request to the
subscription pods when:
- the auditor marks an NF as SUSPENDED.
- the auditor deregisters an NF when an NF is SUSPENDED state for a configurable amount of time.
- The subscription pod receives the below requests through the
Ingress Gateway service when:
- the consumer NF creates a new subscription in NRF using NFStatusSubscribe request.
- the consumer NF updates an existing Subscription in NRF using NFStatusSubscribe request.
- the consumer NF unsubscribes using NFStatusUnsubscribe request.
If the registration and auditor pods are unable to trigger a notification request to the subscription pods since they are in DoC or Congested State, It is possible that the consumer NFs will not be notified about the particular change in the consumer NfProfile. However, this is mitigated as the consumer NFs are expected to perform rediscovery of the producer NFs whenever the discovery validity time expires. This will ensure that their producer NF data will be refreshed, despite the dropped NfStatusNotify message.
The registration pod will not reject any of the incoming requests, like NfRegister, NfUpdate, NfDeregister, and NfHeartbeat even if it is unable to trigger a notification to the subscription pods for the same reason.
It is expected that the requests through the Ingress Gateway to the congested subscription pods may timeout, or get rejected.
Managing Subscription Microservice Pod Protection
This section explains the procedure to enable and configure the feature.Enable
You can enable the Pod Protection feature using the CNC Console or REST API.
- Enable using REST API: Set
podProtectionOptions.enabledto true andpodProtectionOptions.congestionControl.enabledto true in Pod Protection Options configuration API. For more information about API path, see Oracle Communications Cloud Native Core, Network Repository Function REST Specification Guide. - Enable using CNC Console: Set
Enabledto true for Pod Protection andEnabledto true for Congestion Control in Pod Protection Options page. For more information about enabling the feature using CNC Console, see the Pod Protection Options section.
Observe
- ocnrf_pod_congestion_state
- ocnrf_pod_cpu_congestion_state
- ocnrf_pod_pending_message_count_congestion_state
- ocnrf_incoming_connections
- ocnrf_max_concurrent_streams
- ocnrf_pod_cpu_usage
- ocnrf_pod_pending_message_count
- ocnrf_pod_incoming_connection_rejected_total
- ocnrf_nfNotification_trigger_total
Added the feature specific KPIs in the Subscription Pod Protection section.
Maintain
If you encounter alerts at system or application levels, see NRF Alerts section for resolution steps.
In case the alerts still persists, perform the following:
- Collect the logs: For more information on how to collect logs, see Oracle Communications Cloud Native Core, Network Repository Function Troubleshooting Guide.
- Raise a service request: See My Oracle Support for more information on how to raise a service request.
4.20 Pre and Post Install/Upgrade Validations
This feature applies validation checks on the infrastructure, application, databases, and its related tables before and after the installation, upgrade, or fault recovery.
Note:
Validation of database and tables during rollback procedures is not supported.The below diagram depicts the flow where the validations occur:
Figure 4-20 Pre and Post Install/Upgrade Validations

Database and its Related Tables Validation
Each microservice is responsible for validating the database and the tables that it creates and manages.
- NrfConfiguration Service validates the following tables in the
NRF Application database:
- NrfSystemOptions
- NfScreening
- SiteIdToNrfInstanceIdMapping
- NrfEventTransactions
- NfRegistration Service validates the following tables in the
NRF Application database:
- NfInstances
- NfStatusMonitor
- NfSubscription service validates the following table in the NRF
Application database:
- NfSubscriptions
- NrfAuditor service validates the following table in NRF Leader
Election database:
- NrfAuditorLeaderPod
- NrfConfiguration Service validates the following tables in the
NRF Network Database:
- NfScreening_backup
- NrfSystemOptions_backup
- SiteIdToNrfInstanceIdMapping_backup
Note:
- The common configuration database and its tables are currently not validated in the preinstallation, fault recovery, and postinstallation validation.
- The schema of the ReleaseConfig table is not currently validated in the preinstallation and postinstallation validation.
NRF Pre and Post Validations
Managing Pre and Post Install/Upgrade Validations Feature
Enable
You can enable the feature using the Helm:
- Open the
ocnrf_custom_values_25.1.100.yamlfile. - Set
global.appValidate.preValidateEnabledto true to validate the database tables during preinstallation and preupgrade. - Set
global.appValidate.postValidateEnabledto true to validate the database tables during postinstallation and postupgrade. - Set
global.appValidate.infraValidateEnabledto true to validate the database tables during infrastructure validation. Configure the following appInfo attributes:- Configure
replicationUriwith the database monitoring service FQDN or port as per the deployment. The URI must be provided as "http://<db monitor service name>:<db monitor service port>/db-tier/status/replication/realtime". - Configure
dbTierVersionUriwith the database monitoring service FQDN or port to retrieve the cnDBTier version. The URI must be provided as"http://<db monitor service name>:<db monitor service port>/db-tier/version". - Configure
alertmanagerUrlwith the database monitoring service FQDN or port to retrieve the cnDBTier version. The URI must be provided as"http://<alert manager service name>:<alert manager service port>/cluster/alertmanager".
- Configure
- Set
global.appValidate.faultRecoveryModeto true to install NRF in fault recovery mode.For more information about the parameters, see Oracle Communications Cloud Native Core, Network Repository Function Installation, Upgrade, and Fault Recovery Guide.
- Save the file.
- Install or upgrade NRF. For more information about the procedure, see Oracle Communications Cloud Native Core, Network Repository Function Installation, Upgrade, and Fault Recovery Guide.
4.20.1 NRF Infrastructure Validation
The infrastructure validations are performed as part of the preinstallation and preupgrade validations. The validation is done by the preinstallation and preupgrade hooks of the app-info service. The infrastructure validation is disabled by default.
Note:
- It is highly recommended to enable it, and perform the required configuration to detect incompatibilities early. The infrastructure validation will be enabled by default from the next releases.
- Infrastructure validation is not supported during rollback procedures.
This validation is enabled by setting
global.appValidate.infraValidateEnabled parameter to
true in the ocnrf_custom_values_25.1.100.yaml file. The
following checks are performed as part of the infrastructure validation before
installing or upgrading NRF:
- Validate the minimum viable path from the previous NRF version to
the current NRF version for an upgrade. This is validated based on the value
configured in the
global.minViablePathparameter. If this minimum viable path is not supported, NRF upgrade will not proceed. - Validate that the installed Kubernetes version is compatible with
the target NRF version being installed or upgraded. This is validated based on
the value configured in the
global.minKubernetesVersionparameter. If the Kubernetes version is not compatible, NRF installation or upgrade will not proceed. - Validate that the installed cnDBTier version is compatible with the
target NRF version being installed or upgraded. This is validated based on the
value configured in the
global.minDbTierVersionparameter. If the cnDBTier version is not compatible, NRF installation or upgrade will not proceed. - Verify the replication status with the connected peer. This is
validated based on the value configured in the
appinfo.defaultReplicationStatusOnErrorparameter. If the replication is disabled or failed for all peers, NRF installation or upgrade will not proceed. - Verify that there are no critical alerts raised in the system. If critical alerts are found, installation or upgrade will not proceed.
4.20.2 NRF Preinstallation Validation
The following sections describe the preinstallation validation performed when NRF is installed for fresh installation mode and fault recovery mode.
4.20.2.1 For Fresh Installation
The preinstallation validation is performed as part of the preinstallation hooks of each NRF microservice. It is the first set of actions performed. For more information about the list of microservices that perform validation, see NRF Microservice Table Validation.
global.appValidate.preValidateEnabled parameter to true
in the ocnrf_custom_values_25.1.100.yaml. The following checks are performed as
part of the preinstallation validation:
- Validate the presence of the database. If not present, the installation will not proceed. The database is expected to be present, before proceeding with installation.
- Validate the ReleaseConfig table does not have release information about the site being installed. If present, the installation will not proceed, as it will not be a fresh installation.
- Validate the presence of the required tables. Each microservice validates the tables that it is responsible for. If all the required tables are present, then the table schema is validated against the schema expected as per the release version. If the tables are partially present or if the schema validation fails, installation will not proceed. The tables are expected to be present when multisite georedundant NRF is deployed.
4.20.2.2 For Fault Recovery
global.appValidate.faultRecoveryMode parameter to true
in the ocnrf_custom_values_25.1.100.yaml. When NRF is deployed in the fault
recovery mode, with a database backup in place, the following checks are performed
as part of the preinstallation validation:
- Validate the presence of the database. If not present, the installation will not proceed. The database is expected to be present, before proceeding with installation.
- Validate if the ReleaseConfig table contains release information about the site. If not present, the installation will not proceed as the table is expected to contain information from the database backup.
- Validate the presence of the required tables. Each microservice validates the tables that it is responsible for. If the tables are present, then the table schema is validated against the schema expected as per the release version. If the tables are partially present or if the schema validation fails, installation will not proceed.
- Validate the configType in the NrfSystemOptions table against the configTypes expected as per the releaseVersion of the specific site. If validation fails, installation will not proceed.
- Validate the nfScreeningRulesListType in the NfScreening table against the nfScreeningRulesListType expected as per the releaseVersion of the specific site.
Note:
It is recommended that after the installation is completed in fault recovery mode, this flag has to be set tofalse. This can be done while performing future
upgrades.
In case preinstallation fails, the error reason is logged in the preinstallation hook job of the particular microservice.
4.20.3 NRF Postinstallation Validations
The following sections describe the postinstallation validation performed when NRF is installed in fresh installation mode and fault recovery mode.
4.20.3.1 For Fresh Installation
The following sections describe the postinstallation validation performed when NRF is installed in fresh installation mode and fault recovery mode.
The postinstallation validation is done as part of the postinstallation hooks of each NRF microservice and is the last set of actions performed. For more information about the list of microservices that perform validation, see NRF Microservice Validation.
global.appValidate.postValidateEnabled parameter to
true. The following checks are performed as part of the postinstallation
validation:
- Validate if the ReleaseConfig table contains release information about the site. If not present, the installation will not proceed.
- Validate the presence of the database. If not, the installation will not proceed.
- Validate the presence of the required tables. Each microservice validates the tables that it is responsible for. If all the required tables are present, then the table schema is validated against the schema expected as per the release version. If the tables are partially present or if the schema validation fails, installation will not proceed. The tables are expected to be present when multisite georedundant NRF is deployed.
- Validate the configType in the NrfSystemOptions table against the configTypes expected as per the releaseVersion of the specific site. If validation fails, installation will not proceed,
- Validate the nfScreeningRulesListType in the NfScreening table against the nfScreeningRulesListType expected as per the releaseVersion of the specific site.
The tables are expected to be present when multisite georedundant NRF is deployed.
In case postinstallation fails, the error reason will be logged in the postinstallation hook job of the particular microservice.
4.20.3.2 For Fault Recovery
Note:
It is recommended that after the installation is complete in fault recovery mode, this flag has to be set tofalse. This can be done while performing future
upgrades.
4.20.4 NRF Preupgrade Validation
The following sections describe the preupgrade validation done as part of the preupgrade hooks of each NRF microservice and is the first set of actions performed. The following checks are performed as part of the preupgrade validation.
For more information about the list of microservices that perform validation, see NRF Microservice Validation.
global.appValidate.preValidateEnabled parameter to true
in the ocnrf_custom_values_25.1.100.yaml file. The following checks are
performed as part of the preupgrade validation:
- Validate if the ReleaseConfig table contains release information about the site. If not present, the upgrade will not proceed.
- Validate the presence of the database required to proceed with the upgrade. If not present, the upgrade will not proceed.
- Validate the presence of the required tables required to proceed with the upgrade. Each microservice validates the tables that it is responsible for. If all the tables are not present or partially present, the upgrade will not proceed.
- Validate the table schema against the schema expected as per the release version. If validation fails, upgrade will not proceed.
- Validate the configType in the NrfSystemOptions table against the configTypes expected as per the releaseVersion of the specific site. If validation fails, upgrade will not proceed.
- Validate the nfScreeningRulesListType in the NfScreening table against the nfScreeningRulesListType expected as per the releaseVersion of the specific site.
The tables are expected to be present when multisite georedundant NRF is deployed.
4.20.5 NRF Postupgrade Validation
The following sections describe the postupgrade validation done as part of the postupgrade hooks of each NRF microservice and is the last set of actions performed. The following checks are performed as part of the postupgrade validation.
For more information about the list of services that perform validation, see NRF Microservice Validation.
global.appValidate.postValidateEnabled parameter to true
in the ocnrf_custom_values_25.1.100.yaml file. The following checks are
performed as part of the postupgrade validation:
- Validate if the ReleaseConfig table contains release information about the site. If not present, the upgrade will not proceed.
- Validate the presence of the database required to proceed with the upgrade. If not present, the upgrade will not proceed.
- Validate the presence of the required tables required to proceed with the upgrade. Each microservice validates the tables that it is responsible for. If all the tables are not present or partially present, the upgrade will not proceed.
- Validate the table schema against the schema expected as per the release version. If validation fails, upgrade will not proceed.
- Validate the configType in the NrfSystemOptions table against the configTypes expected as per the releaseVersion of the specific site. If validation fails, upgrade will not proceed.
- Validate the nfScreeningRulesListType in the NfScreening table against the nfScreeningRulesListType expected as per the releaseVersion of the specific site.
The tables are expected to be present when multisite georedundant NRF is deployed.
4.21 Ignore Unknown Attribute in NFDiscover Search Query
NRF by default rejects any nfDiscover request (400 Bad Request) with query attributes that are not supported. As part of this feature, instead of rejecting the request, NRF allows processing the nfDiscover request by ignoring the unsupported and unknown search query attributes. The list of query attributes that should be ignored while processing the nfDiscover request is configured using Helm.
Enable
You can enable this feature using the Helm:- Open the ocnrf_custom_values_25.1.100.yaml file.
- List the search query in
searchQueryIgnoreListundernfdiscoverysetion. For more information about the parameter, see Oracle Communications Cloud Native Core, Network Repository Function Installation, Upgrade, and Fault Recovery Guide. - Save the file.
- Run helm install. For more information about the installation procedure, see Oracle Communications Cloud Native Core, Network Repository Function Installation, Upgrade, and Fault Recovery Guide.
- If you are setting this parameter after NRF deployment, run the Helm upgrade. For more information about the upgrade procedure, see Oracle Communications Cloud Native Core, Network Repository Function Installation, Upgrade, and Fault Recovery Guide.
4.22 NF Authentication using TLS Certificate
This feature supports authentication of the Network Function before accessing the, NRF services. In case, authentication fails, NRF rejects the service operation requests. In this feature, NRF challenges some attributes from the TLS certificate against defined attributes.
4.22.1 XFCC Header Validation
HTTPS support is a minimum requirement for 5G NFs as defined in 3GPP TS 33.501. This feature enables extending identity validation from the Transport layer to the Application layer and provides a mechanism to validate the NF FQDN presence in Transport Layer Security (TLS) certificate as added by the Service Mesh against the NF Profile FQDN present in the request.
NRF provides
configurations to dynamically enable or disable the feature. To enable the feature on
Ingress Gateway in NRF
deployment, see xfccHeaderValidation attribute in User Configurable
Section of Oracle Communications Cloud Native Core, Network Repository Function
Installation, Upgrade, and Fault Recovery Guide for more details.
Note:
- This feature is disabled by default. The feature needs to be enabled at API Gateway and NRF. At NRF, the feature enabling or disabling can be performed using the following configuration.
- Once this feature is enabled, all of NFs must re-register with FQDN in NF Profile or NFs can send NFUpdate with FQDN. For Subscription Service Operations, Network Functions must register with NRF. The NFs that are subscribed before enabling the feature, must register with NRF for further service operations.
Managing NF Authentication using TLS Certificate
To enable the feature on Ingress Gateway in NRF deployment:
- Customize the
ocnrf_custom_values_25.1.100.yamlfile. - Set enabled parameter to
true under XFCC header validation/extraction in
Ingress Gateway Global Parameters
section:
xfccHeaderValidation: extract: enabled: false - Save the file.
- Run helm upgrade, if you are enabling this feature after NRF deployment. For more information about upgrade procedure, see Oracle Communications Cloud Native Core, Network Repository Function Installation, Upgrade, and Fault Recovery Guide.
Configure
- Configure NF Authentication using TLS Certificate using REST
API: Perform the feature configurations as described in Oracle Communications Cloud Native Core, Network Repository Function REST
Specification Guide.
Refer to attributes under
nfAuthenticationOptionsin Oracle Communications Cloud Native Core, Network Repository Function REST Specification Guide for more details. - Configure NF Authentication using TLS Certificate using CNC Console: Perform the feature configurations as described in NF Authentication Options.
Observe
For more information on NF Authentication using TLS certificate feature metrics and KPIs, see NRF Metrics and NRF KPIs sections.
Maintain
If you encounter alerts at system or application levels, see NRF Alerts section for resolution steps.
In case the alerts still persist, perform the following:
- Collect the logs: For more information on how to collect logs, see Oracle Communications Cloud Native Core, Network Repository Function Troubleshooting Guide.
- Raise a service request: See My Oracle Support for more information on how to raise a service request.
4.22.2 TLS SNI Header Validation
- Direct Routing – Egress Gateway adds the target server's FQDN in the SNI. If the target server has only IP address, then the SNI header will not be populated in the outgoing TLS requests.
- Indirect Routing – Egress Gateways uses the FQDN of the selected Peer (For example, host of the SCP or SEPP) for populating the SNI header. If the selected peer has an IP address, SNI header is not populated in the outgoing TLS requests.
WARNING:
This feature should be enabled only for non-servicemesh-based deployments.Note:
When the feature is enabled, SNI header is populated at Egress Gateway only when an FQDN is available.Managing TLS SNI Header Validation
Enable
You can enable the TLS SNI header feature in NRF deployment:
- Open the ocnrf_custom_values_25.1.100.yaml file.
- Set
egress-gateway.sniHeader.enabledto true to enable TLS SNI header validation. - Save the file.
- Run helm install. For more information about the installation procedure, see Oracle Communications Cloud Native Core, Network Repository Function Installation, Upgrade, and Fault Recovery Guide.
- If you are setting this parameter after NRF deployment, run the Helm upgrade. For more information about the upgrade procedure, see Oracle Communications Cloud Native Core, Network Repository Function Installation, Upgrade, and Fault Recovery Guide.
Observe
For more information on TLS SNI header validation feature metrics
oc_egressgateway_sni_error_total see NRF Metrics section.
Maintain
In case the SNI header is not sent in the TLS 1.2 handshake, perform the following:
- Collect the logs: The logs are collected during the following
scenarios:
- To ensure that the SNI header is added and the feature is running as
expected, look up the
SNI feature is enabledlog statement at the debug level. - To identify when the Peer rejected the client handshake due to invalid
SNI sent by Egress Gateway, look up the
Unrecognized server name indicationlog statement at the debug level. - To verify if both service mesh and SNI feature are enabled, look up the
Service mesh is enabled. As a result, SNI will not be populated even though it is enabledlog statement at the warn level.For more information on how to collect logs, see Oracle Communications Cloud Native Core, Network Repository Function Troubleshooting Guide.
- To ensure that the SNI header is added and the feature is running as
expected, look up the
- Raise a service request: See My Oracle Support for more information on how to raise a service request.
4.23 Subscriber Location Function
Subscriber Location Function (SLF) feature of NRF allows you to select the network function based on the Subscription Permanent Identifier (SUPI) and Generic Public Subscription Identifier (GPSI) subscriber identities. The SLF feature supports Authentication Server Function (AUSF), Unified Data Repository (UDR), Unified Data Management (UDM), Policy Control Function (PCF), and Charging Function (CHF) nfTypes for discovery query.
-
NRF checks if SLF feature is enabled or not. If the feature is enabled:
- Check
slfLookupConfigcontains details fortarget-nf-typein NFDiscover query:- In case any of the NFDiscover search query
attributes are present in configured
skipSLFLookupParametersthen the SLF lookup is not performed.For example, if the search query attribute is
group-id-listand the same attribute is configured inskipSLFLookupParameters, then NRF will not perform SLF lookup rather NRF will use thegroup-id-listpresent in the search query while processing of NFDiscover service operation. - In case the configured
skipSLFLookupParametersattribute does not match with any of the NFDiscover search query, then the mandatory parameter (either SUPI or GPSI) required for SLF lookup must be present in the NFDiscover search query. - In
case none of the mandatory attributes (SUPI or GPSI) are
present in NFDiscover search query and if NFDiscover
search query attribute is present in configured
exceptionListForMissingMandatoryParameterattribute, then NRF does not perform SLF lookup and processes the NFDiscover service operation without rejecting the NFDiscover search query. - In case both the mandatory
attributes (SUPI or GPSI) are present in NFDiscover
search query and if NFDiscover search query attribute is
present in configured
exceptionListForMissingMandatoryParameterattribute, NRF performs SLF lookup and drops the SUPI or GPSI and processes the NFDiscover service operation. - In case none of the
mandatory attributes (SUPI or GPSI) are present in
NFDiscover search query and if NFDiscover search query
attribute is present in configured
exceptionListForMissingMandatoryParameterattribute, then NRF will process the NFDiscover service operation without rejecting the NFDiscover search query. - In case none of the
mandatory attributes (SUPI or GPSI) are present in the
NFDiscover search query and if NFDiscover search query
attribute is not present in configured
exceptionListForMissingMandatoryParameterattribute then NRF rejects the discovery query. - In case both of the mandatory attributes
(SUPI or GPSI) are present in NFDiscover search query,
then configured
preferredSubscriberIdTypeis used to decide which of the mandatory attribute is used to perform the SLF query by ignoring the other attributes.
- In case any of the NFDiscover search query
attributes are present in configured
- Check
- Finds the NF Group Id by sending SLF query (that is, Nudr_GroupIDmap service operation) with the received Subscriber Identity (like SUPI and GPSI).
- Generates NFDiscover service response using the NFGroupId received in SLF response and other parameters. The received Subscriber Identifier is not used during NF Producer selection.
accessTokenCacheEnabledflag enables caching of the oAuth2 token for SLF communication at NRF.Note:
accessTokenCacheEnabledflag is functional only when the oAuth2 token is required for SLF communication that is controlled by theaccessTokenCacheEnabledparameter.- Operators must enable the
accessTokenCacheEnabledflag only after NRF deployment is successfully upgraded to 25.1.100.
- For direct routing, see Static Selection of SLF.
- For dynamic routing, see Dynamic Selection of SLF.
Managing Subscriber Location Function Feature
- Enable using REST API: Set
featureStatustoENABLEDin SLF Options configuration API. For more information about API path, see Oracle Communications Cloud Native Core, Network Repository Function REST Specification Guide. - Enable using CNC Console: Set Feature Status to ENABLED on the SLF Options page. For more information about enabling the feature using CNC Console, see SLF Options.
Configure
- Configure using REST API: Perform the feature configurations as described in Oracle Communications Cloud Native Core, Network Repository Function REST Specification Guide.
- Configure using CNC Console: Perform the feature configurations as described in SLF Options.
Note:
- Atleast one of the attributes fqdn, ipv4Address, or ipv6Address must be included by the registered UDR.
- For routing, the NfService level attributes are considered
first. If none of the attributes are present at NfService level, then the
NfProfile level attributes are considered, not in a mix mode where some of
the attributes are from NfService and some from NfProfile.
However, with Support for Configurable Port and Routing Parameter Selection feature, routing selection parameter can be picked either from NfService or NfProfile in a mix mode as per the availability.
- Of the three attributes, the endpoint is selected in the
following order:
ipv4Addressipv6Addressfqdn
However with the Support for Configurable Port and Routing Parameter Selection feature, the order of the attributes can be configured.
- For the cases where ports are not present, (example:
ipv4Address and ipv6Address in NfProfile or FQDN from NfService/NfProfile or
ipEndpoints with no port in NfService), scheme configured in the NfService
is used to determine the port.
- If NfService.scheme is set to http, port 80 is used.
- If NfService.scheme is set to https, port 443 is used.
However with Support for Configurable Port and Routing Parameter Selection feature, the port selection can be configured.
Observe
Metrics
- ocnrf_nfDiscover_ForSLF_rx_requests_total
- ocnrf_nfDiscover_ForSLF_tx_responses_total
- ocnrf_SLF_tx_requests_total
- ocnrf_SLF_rx_responses_total
- ocnrf_slf_jetty_latency_seconds
- ocnrf_nfDiscover_SLFlookup_skipped_total
- ocnrf_nfDiscover_continue_mandatoryAttributes_missing_total
- ocnrf_max_slf_attempts_exhausted_total
For more information about SLF metrics, see NRF SLF Metrics section.
Alerts
Maintain
If you encounter alerts at system or application levels, see NRF Alerts section for resolution steps.
In case the alerts still persist, perform the following:
- Collect the logs: For more information about how to collect logs, see "Collecting Logs" section in Oracle Communications Cloud Native Core, Network Repository Function Troubleshooting Guide.
- Raise a service request: See My Oracle Support for more information about how to raise a service request.
4.23.1 Static Selection of SLF
NRF supports static
selection of SLF to perform direct routing of discovery queries. These queries are sent
to Unified Data Repository (UDR) or SLF (that is, Nudr_GroupIDmap service) to retrieve
the corresponding NFGroupId. In the current configuration, the SLF or UDR is selected
based on the slfHostConfig configuration and establishes direct
communication with the selected SLF or UDR. For SLF query through Service Communication
Proxy (SCP), see the SLF Requests section.
SLF host configuration attribute (slfHostConfig) allows the
user to configure the details of SLF or UDR network functions.
The slfHostConfig configuration consists of attributes like
apiVersion, scheme, FQDN, port, priority. NRF allows the configuration of more than two hosts. The host
with the highest priority is considered as the Primary Host. The host with the second
highest priority is considered as a Secondary Host.
Note:
- Refer to 3GPP TS 29.510 (release 15.5) for definition and
allowed range for
slfHostConfigattribute (apiVersion, scheme, FQDN, port, priority, and so on). - Apart from priority attribute, no other attributes plays any role in primary or secondary host selection.
- Apart from primary or secondary host, other configured hosts (if any) are not used during any message processing.
- When more than one host is configured with highest priority, then two of them is picked as primary or secondary host randomly.
- rerouteOnResponseHttpStatusCodes: This attribute is used to
determine if SLF retry must be performed to an alternate SLF based on the
response code received from the SLF. The alternate SLF is picked from the SLF
Host Config, if
slfConfigModeis set to STATIC_SLF_CONFIG_MODE or from the slfDiscoveredCandidateList ifslfConfigModeis set to DISCOVERED_SLF_CONFIG_MODE. For primary and secondary SLF details, seeslfHostConfigattribute. - maximumHopCount: This configuration determines the maximum number of hops (SLF or NRF) that NRF can forward in a given service request. This configuration is useful during NRF Forwarding and SLF feature interaction.
Enable the feature in Static mode
The default configuration for slfConfigMode is
STATIC_SLF_CONFIG_MODE. Perform the following steps to enabled the SLF
feature in static mode:
- Configure
slfHostConfigandslfLookupConfigparameters. For more information on the parameters, see Oracle Communications Cloud Native Core, Network Repository Function REST Specification Guide. - Set
featureStatusto ENABLED.
4.23.2 Dynamic Selection of SLF
NRF supports dynamic
selection of SLF based on the registered SLF or UDR profiles. This configuration is
defined based on the SLF Configuration Mode attribute (slfConfigMode).
This attribute allows the user to decide whether the SLF lookup can be performed based
on preconfigured slfHostConfig configuration or use the SLFs registered
with NRF.
The dynamic selection of producer network functions is as follows.
NRF checks if the SLF feature is enabled or not. When the feature is enabled:
- If
slfConfigModeattribute is set to STATIC_SLF_CONFIG_MODE, the SLF lookup is performed based on preconfiguredslfHostConfigas described in Static Selection of SLF. - To perform SLF lookup based on the SLFs registered with
NRF:
- Set
populateSlfCandidateListto true:("populateSlfCandidateList": true) - Wait until atleast one entry of SLF candidate is listed
under
slfDiscoveredCandidateList. Perform GET operation to check if any SLF candidate is listed in the output. - Change
slfConfigModeto DISCOVERED_SLF_CONFIG_MODE:{ "featureStatus": "ENABLED", "slfLookupConfig": [{ "nfType": "UDR" }], "slfConfigMode": "DISCOVERED_SLF_CONFIG_MODE" }
Note:
SettingpopulateSlfCandidateListto true andslfConfigModeto DISCOVERED_SLF_CONFIG_MODE must be performed in two separate requests. - Set
Note:
Upgrade NRF to enable NrfArtisan service, if not enabled during installation. For more information on enabling Artisan Microservice, see Oracle Communications Cloud Native Core, Network Repository Function Installation, Upgrade, and Fault Recovery Guide.
The slfHostConfig must be configured before or while
setting the slfConfigMode as STATIC_SLF_CONFIG_MODE when
featureStatus is ENABLED.
Once the featureStatus is ENABLED, and the
slfConfigMode is STATIC_SLF_CONFIG_MODE, the
slfHostConfig cannot be empty.
If slfConfigMode is set to DISCOVERED_SLF_CONFIG_MODE,
slfHostConfig is not considered for discovery query.
The slfConfigMode can be set to
DISCOVERED_SLF_CONFIG_MODE only if there is atleast one slfCandidate present in the
slfDiscoveredCandidateList. To trigger the population of
slfDiscoveredCandidateList, set
populateSlfCandidateList to true.
slfDiscoveredCandidateList by sending an nfDiscovery query to the
nfDiscovery service to fetch the registered SLF or UDR NfProfiles. The discovery query
used
is:/nnrf-disc/v1/nf-instances?target-nf-type=UDR&requester-nf-type=NRF&service-names=nudr-group-id-map&preferred-locality=<slfOptions.preferredSLFLocality>&limit=0slfDiscoveredCandidateList.
Note:
If nrfArtisan service does not receive a success response from the discovery service, theslfDiscoveredCandidateList will contain the SLF producers that
were received from the discovery service in the last successful response.
The order of the UDR or SLF profiles in the
slfDiscoveredCandidateList list will be decided based on the
sorting algorithms in nfDiscovery Service. The same is considered when NRF sends the SLF
query to the SLF.
Refer Preferred Locality Feature Set for details on how the NfProfiles are sorted based on preferred-locality and extended-preferred-locality.
Prior to 22.2.x of NRF, Egress Gateway used to return 503 response for timeout exceptions (for example, No response received for SLF query or No Response received for Query sent to Forwarding NRF).
{
"rerouteOnResponseHttpStatusCodes": {
"pattern": "^[3,5][0-9]{2}$|408$"
}
}rerouteOnResponseHttpStatusCodes”), then
- if forwarding is enabled and the message is a candidate to forward, NRF will forward the request to the other segment NRF.
- if forwarding is disabled, NRF will reject the discovery query with the configured error code under “SLF_Not_Reachable”
rerouteOnResponseHttpStatusCodes”, then,
- NRF will retry to secondary or tertiary SLFs.
- forwarding is not performed in this case (there is an explicit code was added to have this functionality as per the SLF requirement).
Enable the feature in Dynamic mode
Prerequisite
Artisan Microservice (NrfArtisan) must be ENABLED. For more information on enabling alternate route service, see the "Global Parameters" section in Oracle Communications Cloud Native Core, Network Repository Function Installation, Upgrade, and Fault Recovery Guide
Configuring slfConfigMode to Dynamic
Perform the following steps to enable the SLF feature using registered SLF profiles:
- Configure
slfLookupConfigparameter. For more information on the parameters, see Oracle Communications Cloud Native Core, Network Repository Function REST Specification Guide. - Set
populateSlfDiscoveredCandidateListto true. This will trigger the population ofslfDiscoveredCandidateList. - Perform GET on the slfOptions to see if
slfDiscoveredCandidateListhas atleast one candidate. If present, go to step 4. If not, then wait till theslfDiscoveredCandidateListis populated with SLF profiles. - Set
slfConfigModeto DISCOVER_SLF_CONFIG_MODE andfeatureStatusto ENABLED.
Moving from Dynamic to Static
Perform the following to switch from dynamic to static configuration:
- Configure
slfHostConfigparameter. For more information on the parameters, see Oracle Communications Cloud Native Core, Network Repository Function REST Specification Guide. - Set
slfConfigModeto STATIC_SLF_CONFIG_MODE, providedslfHostConfigandslfLookupConfigare already present. - Set
populateSlfDiscoveredCandidateListto false.
Moving from Static to Dynamic
Perform the following to switch from static to dynamic configuration:
- Upgrade NRF to enable NrfArtisan service, if not enabled previously.
Configure
enableNrfArtisanServiceunder global attributes to true in theocnrf_custom_values_25.1.100.yamlfile. - Set
populateSlfDiscoveredCandidateListto true. This triggers the population ofslfDiscoveredCandidateList. - Perform GET on the slfOptions to see if
slfDiscoveredCandidateListhas atleast one candidate. If present, go to step 4. If not, then wait till theslfDiscoveredCandidateListis populated with SLF profiles. - Set
slfConfigModeto DISCOVER_SLF_CONFIG_MODE andfeatureStatusto ENABLED.Note:
IfslfConfigModeis set to DISCOVERED_SLF_CONFIG_MODE,slfHostConfigis not considered for discovery query.
4.23.3 Support for Configurable Port and Routing Parameter Selection
NRF provides a configurable option to select a port, if not configured explicitly, either from IPEndpoint or using the scheme attribute of NfService. The scenario where this configuration is used for port selection is when the routing attribute is IPv4Address/Ipv6Addresses of NfProfile or FQDN of NfService/NfProfile.
Additionally, NRF allows to configure the preferred routing attribute in case more than one of the below attribute is present in the NfProfile or NfService:
- IPv4 (ipv4Addresses from IpEndpoint of NfService if present, or ipv4Addresses of NfProfile)
- IPv6 (ipv6Addresses from IpEndpoint of NfService if present, or ipv6Addresses of NfProfile)
- FQDN (fqdn of NfService if present, or fqdn of NfProfile)
Managing Configurable Port and Routing Parameter Selection Feature
Configure
- Configure using REST API: Perform the
preferredPortFromIPEndpointandpreferredRoutingParameterfeature configurations as described in Oracle Communications Cloud Native Core, Network Repository Function REST Specification Guide. - Configure using CNC Console: Perform the feature configurations as described in SLF Options.
4.23.4 Rerouting SLF Requests Using Alternate SCP and Alternate SLF
NRF supports routing SLF requests through SCP as per the configuration in the Egress Gateway SBI routing configuration. SLFs are selected based on Static or Dynamic SLF feature configuration.
In case an error response is received from SLF, NRF reroutes the SLF request to an alternate SLF. However, in this case, the same SCP that was used in the previous route is always used. It is possible that SCP had rerouted the SLF request to the alternate SLF in the first attempt and it failed. In the subsequent attempt if the same SCP is used, there is a possibility that this reroute might also fail. Also, NRF doesn't consider the number of SLFs that are already been attempted by SCP.
With the implementation of this feature, NRF allows you to configure maximum number of SLF attempts or an alternate SCP route to enhance the routing strategy and minimize the number of reroutes. When an error response is received, the subsequent reroutes to SLF are through alternate SCP and SLF path, improving resilience and service continuity.
NRF discovery microservice sends the Nudr_GroupIDmap request
to SLF through SCP based on the Egress Gateway routes configuration.
This feature allows you to configure the maximum number of SLF attempts or an alternate SCP route to process the subsequent attempts.
- Limiting number of SLF attempts: This is performed by
configuring the number of SLF attempts in the
maxSLFattemptsparameter. For more information, see Maximum SLF Attempts. - Choosing an alternate SCP: This is performed by enabling the
useAlternateScpparameter. For more information, see Use Alternate SCP.
Note:
If the Egress Gateway is down, then no reroute is performed and an error response is sent to the producer NF.Maximum SLF Attempts
In a routing using SCP deployment, when the discovery service receives a non-2xx response, NRF extracts the server header to deduce the number of SLFs that have been attempted.
For example:
- If the server header is
Server: UDR-UDR1-Instance-Id UDR-UDR2-Instance-Id, the number of attempts is considered as 2. - If the server header is
Server: UDR-UDR1-Instance-Id UDR-UDR2-Instance-Id SCP-SCP1-Instance-Id, the number of attempts is considered as 2. - If the server header is
Server: envoy, the number of attempts is considered as 1. - If the server header is
Server: UDR-UDR1-Instance-Id, the number of attempts is considered as 1. - If the server header is
Server: SCP-SCP1-Instance-Id, the number of attempts is considered as 1. - If there is no server header received or server header is empty, the number of attempts is considered as 1.
- If the request has timed out, the number of attempts is considered as 1.
maxSLFattempts parameter, as follows:
- If the
maxSLFattemptsis not exhausted, discovery selects the next SLF to reroute the request. - If the
maxSLFattemptsis exhausted and there is no successful response, discovery sends the error response. If there is only one SLF, NRF will not reroute to the already attempted SLF and send the error response. - If the
maxSLFattemptsis exhausted and forwarding is enabled, NRF routes the discovery request to another NRF based onmaximumHopCountconfiguration.The
maximumHopCountprovides the total number of SLF attempts and NRFs forwarding attempts performed. NRF tries to attempt to all available SLFs and then ifmaximumHopCountis left, NRF will forward the request to another NRF. When themaxSLFattemptsparameter is configured, the operator can choose how many maximum SLF attempts can be done before forwarding the request.
For example:
In 3 SLF and 4 NRF deployments,
- If
maximumHopCountis set to 5 andmaxSLFattemptsis set as 0, then the number of attempts to SLF is 3 and number of attempts to NRF is 2. - If
maximumHopCountis set to 5 andmaxSLFattemptsis set as 2, the following combinations are possible:- the number of attempts to SLF is 1 and number of attempts to NRF is 4.
- the number of attempts to SLF is 2 and number of attempts to NRF is 3.
Note:
The value ofmaxSLFattempts parameter must be less than or equal to the
value configured for maximumHopCount parameter in
{apiRoot}/nrf-configuration/v1/generalOptions API. For more
information about the maximumHopCount parameter, see Oracle Communications Cloud Native Core, Network Repository Function REST
Specification Guide.
For more information about server header propagation in service-mesh deployment, see Adding Filters for Server Header Propagation.
Use Alternate SCP
In a routing using SCP deployment, when the discovery service receives a
non-2xx response, NRF checks the useAlternateScp parameter
value.
If useAlternateScp parameter is set to true, then
NRF chooses an alternate SCP, if available, to reroute the in a round-robin format
to reroute the request. If there is only one SCP instance, NRF reroutes the request
using the same SCP irrespective of the useAlternateScp
configuration.
If all the available SCPs are tired and attempts are left, then NRF revolves back to the first SCP and repeat the SCP selection based on the round-robin.
Note:
- When
useAlternateScpis set to true, alternate SCP selection will not guaranteed if SCP Health APIs feature is enabled. Hence, it is recommended to disable SCP Health APIs feature whenuseAlternateScpis set to true. For more information about the SCP Health APIs feature, see the Monitoring the Availability of SCP Using SCP Health APIs section. - When
useAlternateScpis set to true,customPeerSelectorEnabledparameter in{apiRoot}/nrf/nf-common-component/v1/egw/routesconfigurationmust also be set to true.
Managing the feature
This section explains the procedure to enable and configure the feature.
Configure
- Configure using REST API: Perform the following feature
configurations as described in the "Egress Gateway Configuration" section of
Oracle Communications Cloud Native Core, Network Repository Function REST
Specification Guide:
- Configure the value of
maxSLFattemptsparameter greater than 0 to limit the number of SLF attempts. The number of attempts is calculated based on the server header received in the response. - (Optional) Enable
useAlternateScpin the{apiRoot}/nrf-configuration/v1/slfOptionsto allow alternate routing using SCP. - Create or update the alternate SCP peer details in the
{apiRoot}/nrf/nf-common-component/v1/egw/peerconfiguration. - Create or update the
{apiRoot}/nrf/nf-common-component/v1/egw/peersetconfigurationto assign these peers. - Update the
{apiRoot}/nrf/nf-common-component/v1/egw/routesconfigurationas mentioned in the below sample:Note:
WhenmaxSLFattemptsis greater than 0 oruseAlternateScpis set to true, don't configureerrorHandlingunderroutesconfiguration, as NRF discovery microservice will handle the reroute.Sample body:
[ { "id": "egress_scp_proxy1", "uri": "http://localhost:32068/", "order": 3, "metadata": { "httpsTargetOnly": true, "httpRuriOnly": true, "sbiRoutingEnabled": true }, "predicates": [ { "args": { "pattern": "/nudr-group-id-map/v1/nf-group-ids" }, "name": "Path" } ], "filters": [ { "name": "SbiRouting", "args": { "peerSetIdentifier": "set0", "customPeerSelectorEnabled": true } } ] }, { "id": "default_route", "uri": "egress://request.uri", "order": 100, "filters": [ { "name": "DefaultRouteRetry" } ], "predicates": [ { "args": { "pattern": "/**" }, "name": "Path" } ] } ]
- Configure the value of
-
Configure using Console: Perform the following feature configurations as described:
- Configure the value of Maximum SLF Attempts parameter greater than 0 in the SLF Options to limit the number of SLF attempts.
- (Optional) Enable Use Alternate SCP in the SLF Options to allow alternate routing using SCP.
- Create or update Peer Configuration.
- Create or update the Peer Set Configuration to assign these peers.
- Update the Routes Configuration as mentioned above.
Note:
When Maximum SLF Attempts is greater than 0 or Use Alternate SCP is set to true, don't configure Error Handling under Routes Configuration, as NRF discovery microservice will handle the reroute.
Observe
Metrics
- Updated the dimension list for the following metrics with
slfFqdndimension:ocnrf_SLF_tx_requests_totalin Table 6-132.ocnrf_SLF_rx_responses_totalin Table 6-133.
- Updated the description of the
ocnrf_max_slf_attempts_exhausted_totalmetric in the Table 6-136.
Alerts
Updated the description of the OcnrfMaxSlfAttemptsExhausted alert.
KPIs
There are no KPIs for this feature.
Maintain
If you encounter alerts at system or application levels, see NRF Alerts section for resolution steps.
In case the alerts still persists, perform the following:
- Collect the logs: For more information about how to collect logs, see Oracle Communications Cloud Native Core, Network Repository Function Troubleshooting Guide.
- Raise a service request: See My Oracle Support for more information about how to raise a service request.
4.23.5 Discovery Parameter Value Based Skip SLF Lookup
Currently, NRF does not have an option to skip SLF lookup based on specific values of the discovery query parameter.
With the implementation of this feature, when NRF receives a discovery request, it
provides an option to skip the Subscriber Location Function (SLF) lookup if a certain
discovery query parameter, configured under skipSLFLookupParameters is
present in the discovery request. In this case, the SLF lookup is skipped regardless of
the parameter's value.
This feature provides an option to configure a set of allowed values for the discovery query parameter. If the parameter is present in the discovery request and its value matches the configured values, the SLF lookup will be skipped.
NRF processes the discovery request and performs skip SLF lookup as follows:
- If the value of
enableValueBasedSkipSLFLookupparameter is set as true, NRF validates the discovery query parameters and its values received in the discovery request against the values configured invalueBasedSkipSLFLookupParamsparameter to determine if the SLF lookup is to be skipped. ThevalueBasedSkipSLFLookupParamsparameter comprises ofparameterNameandparameterValueattributes.valueBasedSkipSLFLookupParams": [ {"parameterName": "dnn","parameterValue": "abc*"},{"parameterName": "group-id-list" ,"parameterValue": ".*"}]Where,
parameterName- indicates a valid discovery query parameter supported by NRF for which the SLF lookup is to be skipped.Note:
In 25.1.100, this feature supports only dnn based skipSlfLookup.parameterValue- indicates the value for the corresponding discovery parameter name for which the SLF lookup is skipped. This value can be configured as a regular expression.- If the
parameterValueis configured as .* , it indicates all values. NRF skips the SLF lookup for any value received for the discovery parameter. - If the
parameterValueis a regular expression, NRF matches this value with the discovery request.- If the values match, NRF skips the SLF lookup for a value that matches with the expression and proceeds with discovery processing.
- If the expression does not match the value, NRF
performs SLF lookup. NRF will not fallback to the skip
SLF lookup feature, even if
(
skipSLFLookupParameters) is configured.
Note:
Pattern matching is performed using Java Platform Standard Ed. 8 Documentation. For more information, about regular expressions, see https://docs.oracle.com/javase/8/docs/api/java/util/regex/Pattern.html.
- If the
- If the value of
enableValueBasedSkipSLFLookupis set as false, NRF falls back to the existing skip SLF lookup feature based on the list of discovery parameters configured in theskipSLFLookupParametersparameter.
The following table describes the functionality of the feature based on the sample values
configured in valueBasedSkipSLFLookupParams and the incoming discovery
query parameters.
Table 4-17 Examples for Discovery Parameter Value Based Skip SLF Lookup
| Value of enableValueBasedSkipSLFLookup parameter | parameterName and parameterValue
configured in valueBasedSkipSLFLookupParams |
Query Parameter name and value received in the incoming discovery requests | Result |
|---|---|---|---|
| true | {"parameterName":"dnn","parameterValue":".*"} |
dnn=dnn-c4, dnn=dnn-1, dnn=DnNvAl123 |
SLF lookup is skipped for all the values
(dnn-c4, dnn-1 , and
DnNvAl123).
|
| true | {"parameterName":"dnn","parameterValue":"dnn*"} |
dnn=dnn-c4, dnn=dnn-1, dnn=DnvAl123,
dnn=DnaaAl123 |
SLF lookup is skipped for the following incoming
requests with the values dnn-c4 and
dnn-1 and but SLF lookup will be performed for the
incoming requests with the values DnvAl123 and
DnaaAl123.
|
| true | {"parameterName":"dnn","parameterValue":"^dnn-c4$"} |
dnn=dnn-c4, dnn=adnn-c4, dnn=dnn-1, dnn=dnnAl123,
dnn=DnaaAl123 |
SLF lookup is skipped for the incoming request with
value dnn-c4 and SLF lookup is performed for the
incoming requests with the values adnn-c4,
dnn-1, dnnAl123, and
DnaaAl123.
|
| true | {"parameterName":"dnn","parameterValue":"^prov[a-g\d]{1,3}\w{3}$"} |
dnn=prova5aaa, dnn=provaa15aaa, dnn=prova5a |
SLF lookup is skipped for the incoming request with
value prova5aaa and SLF lookup is performed for the
incoming requests with the values provaa15aaa and
prova5a.
|
| true | {"parameterName":"dnn","parameterValue":"^province1\.mnc\d{3}\.mcc\d{3}\.gprs$"} |
dnn=province1.mnc014.mcc310.gprs,
dnn=province3.mnc012.mcc3150.gprs,
dnn=province1.mnc0141.mcc001.gprs,
dnn=province1.mnc001.mcc003.gprs |
SLF lookup is skipped for the incoming request with
value province1.mnc014.mcc310.gprs,
and SLF
lookup is performed for the incoming requests with the values
province3.mnc012.mcc3150.gprs,
andprovince1.mnc0141.mcc001.gprs
|
| true | {"parameterName":"dnn","parameterValue":"parameterValue":".+\.mnc012\.mcc345\.gprs"} |
prov.mnc012.mcc345.gprs,
prov2.mnc011.mcc234.gprs,prov2.mnc001.mcc233.gprs |
SLF lookup is skipped for the incoming request with
value prov.mnc012.mcc345.gprs and SLF lookup is
performed for the incoming requests with the values
prov2.mnc011.mcc234.gprs and
prov2.mnc001.mcc233.gprs.
|
| false | {"parameterName":"dnn","parameterValue":"dnn
*"} |
dnn=dnn-c4, dnn=dnn-1, dnn=DnvAl123,
dnn=DnaaAl123 |
Value based SLF lookup is not performed as the feature is disabled.
falls
back to the existing skip SLF lookup feature
(skipSLFLookupParameters), if it is configured.
|
Managing Discovery Parameter Value Based Skip SLF Lookup
Configure
- Configure using REST API: Configure the values for
valueBasedSkipSLFLookupParamsas described in Oracle Communications Cloud Native Core, Network Repository Function REST Specification Guide. - Configure using CNC Console: Configure the values for Value Based Skip SLF Lookup Parameter List as described in SLF Options.
Note:
After NRF upgrade to 25.1.100, thevalueBasedSkipSLFLookupParams is empty by default. Populate the
values for valueBasedSkipSLFLookupParams attribute and then enable
the enableValueBasedSkipSLFLookup parameter. The feature cannot be
enabled when the valueBasedSkipSLFLookupParams is empty.
Enable
- Enable using REST API: Set
enableValueBasedSkipSLFLookupto true in SLF Options configuration API. For more information about API path, see Oracle Communications Cloud Native Core, Network Repository Function REST Specification Guide. - Enable using CNC Console: Set Enable Value Based Skip SLF Lookup to true on the SLF Options page. For more information about enabling the feature using CNC Console, see SLF Options.
Observability
Metrics
The existing ocnrf_nfDiscover_SLFlookup_skipped_total metric is
enhanced with a new dimension SkipSLFLookupValue for this
feature.
For more information about SLF metrics, see NRF SLF Metrics section.
Alerts
There are no alerts added or updated for this feature.
KPIs
There are no KPIs related to this feature.
Maintain
If you encounter alerts at system or application levels, see NRF Alerts section for resolution steps.
In case the alerts persist, perform the following:
1. Collect the logs: For more information on how to collect logs, see "Collecting Logs" section in Oracle Communications Cloud Native Core, Network Repository Function Troubleshooting Guide.
2. Raise a service request: See My Oracle Support for more information on how to raise a service request.
4.24 NRF Forwarding
Note:
Service operations explained below with specific cases or scenarios are eligible for forwarding.A consumer NF instance can perform the following:
- Subscribe to changes of NF instances registered in an NRF to which it is not directly interacting. The NF subscription message is forwarded by an intermediate NRF to another NRF.
- Retrieve the NF profile of the NF instances registered in an NRF to which it is not directly interacting. The NF profile retrieval message is forwarded by an intermediate NRF to another NRF.
- Discover the NF profile of the NF instances registered in an NRF to which it is not directly interacting. The NF discover message is forwarded by an intermediate NRF to another NRF.
- Request OAuth 2.0 access token for the NF instances registered in an NRF to which it is not directly interacting. The OAuth 2.0 access token service request is forwarded by an intermediate NRF to NRF (which may issue the token).
NRF also enables the users to define the forwarding criteria for NFDiscover and AccessToken Service Requests from NRF to an intermediate NRF. The user can configure the preferred NF Type, the NF Services, or both for which forwarding is applicable. This provides the flexibility to regulate the traffic between the NRFs. For enabling Forwarding Rules Feature configuration, see the Enable Forwarding Rules section.
Managing NRF Forwarding Feature
The Forwarding feature is a core functionality of NRF. You need not enable or disable this feature.
If you are enabling NRF Growth feature, then perform the configuration as described in Configure Forwarding Options for NRF Growth.
Enable Forwarding Rules
- Enable using REST API: Set
featureStatustoENABLEDin Forwarding Options configuration API. For more information about API path, see Oracle Communications Cloud Native Core, Network Repository Function REST Specification Guide. - Enable using CNC Console: Set Feature Status to ENABLED on the Forwarding Options page. For more information about enabling the feature using CNC Console, see Forwarding Options.
Note:
- Before enabling
forwardingRulesFeatureConfig, ensure that corresponding configurations are completed. - The
featureStatusflag underforwardingRulesFeatureConfigcan be ENABLED, only ifdiscoveryStatusoraccessTokenStatusattributes are already ENABLED. - Once
featureStatusflag underforwardingRulesFeatureConfigis ENABLED, bothdiscoveryStatusandaccessTokenStatusattributes cannot be DISABLED.
Configure
- Configure NRF Forwarding feature using REST API: Perform the feature configurations as described in Oracle Communications Cloud Native Core, Network Repository Function REST Specification Guide.
- Configure NRF Forwarding feature using CNC Console: Perform the feature configurations as described in Forwarding Options.
Note:
The forwarding rules for nfDiscover service requests are based on following 3GPP discovery request parameters:
- target-nf-type (Mandatory Parameter)
- service-names (Optional Parameter)
The forwarding rules for access token service requests are based on the following 3GPP access token request parameter:
- scope (Mandatory Parameter)
Configure Forwarding Options for NRF Growth
- Configure NRF Forwarding Options for NRF Growth feature using REST API: Perform the feature configurations as described in Oracle Communications Cloud Native Core, Network Repository Function REST Specification Guide.
- Configure NRF Forwarding Options for NRF Growth feature using CNC Console: Perform the feature configurations as described in Forwarding Options.
Note:
The forwarding rules for nfDiscover service requests are based on following 3GPP discovery request parameters:
- target-nf-type (Mandatory Parameter)
- service-names (Optional Parameter)
The forwarding rules for access token service requests are based on the following 3GPP access token request parameter:
- scope (Mandatory Parameter)
NRF Host configuration attribute (nrfHostConfig) allows
the user to configure the details of another NRF to which the service operation
messages are forwarded.
Note:
For NRF-NRF Forwarding feature to work,nrfHostConfig attribute must be configured in both NRFs with
each other values.
For example: NRF1 is forwarding requests towards
NRF2, then
nrfHostConfig configuration attribute of NRF1 shall have NRF2 details and similarly
nrfHostConfig configuration attribute of NRF2 shall have NRF1 details. These configurations are used
while handling different service operations of NRF.
The nrfHostConfig configuration consists of attributes
like apiVersion, scheme, FQDN, port, priority, and so on. NRF allows to configure maximum of four host
details. However, the host with the highest priority is considered as the Primary
host.
Note:
- Refer 3GPP TS 29.510 (release 15.5) for definition and allowed range for NfHostConfig attributes (apiVersion, scheme, FQDN, port, priority, and so on).
- Apart from priority attribute, no other attributes plays any role in the host selection.
- Apart from Primary, three more hosts (if configured) can used as alternate NRF.
- When more than one host is configured with same priority, the order of NRF host selection between the same priority is random.
nrfRerouteOnResponseHttpStatusCodes: This configuration is used to determine if the service operation message can be forwarded to alternate NRF or not. After receiving a response from the primary NRF, if the response status code from the primary NRF matches with this configuration, then NRF reroutes the request to the alternate NRF. RefernrfHostConfigattribute for host NRF details.Prior to 22.2.x of NRF, Egress Gateway used to return 503 response for timeout exceptions (for example, No response received for SLF query or No Response received for Query sent to Forwarding NRF).
From 22.3.x onwards, Egress Gateway returns 408 response codes for timeout exceptions (REQUEST_TIMEOUT and CONNECTION_TIMEOUT), to keep the behavior in line with the HTTP standard. Hence, after upgrading to 22.3.x or a fresh install of 22.3.x, if a retry needs to be performed for the timeout scenario, 408 error code explicitly needs to be configured under forwarding reroute option. Following is the configuration for forwarding options:{ "nrfRerouteOnResponseHttpStatusCodes": { "pattern": "^[3,5][0-9]{2}$|408$" } }maximumHopCount: This configuration determines maximum number of hops (SLF or NRF) that NRF can forward in a given service request. This configuration useful during NRF Forwarding and SLF feature interaction.
Observe
- ocnrf_forward_accessToken_tx_requests_total
- ocnrf_forward_accessToken_rx_responses_total
- ocnrf_forward_nfProfileRetrieval_tx_requests_total
- ocnrf_forward_nfProfileRetrieval_rx_responses_total
- ocnrf_forward_nfStatusSubscribe_tx_requests_total
- ocnrf_forward_nfStatusSubscribe_rx_responses_total
- ocnrf_forward_nfDiscover_tx_requests_total
- ocnrf_forward_nfDiscover_rx_responses_total
- ocnrf_forwarding_jetty_latency_seconds
- ocnrf_forward_nfDiscover_barred_total
- ocnrf_forward_accessToken_barred_total
- ocnrf_forward_nfStatusSubscribe_barred_total
- ocnrf_forward_profileRetrieval_barred_total
For more information on NRF Forwarding feature metrics and KPIs, see NRF Forwarding Metrics, and NRF KPIs sections.
Maintain
If you encounter alerts at system or application levels, see NRF Alerts section for resolution steps.
In case the alerts still persist, perform the following:
- Collect the logs: For more information on how to collect logs, see "Collecting Logs" section in Oracle Communications Cloud Native Core, Network Repository Function Troubleshooting Guide.
- Raise a service request: See My Oracle Support for more information on how to raise a service request.
4.25 NRF Georedundancy
NRF supports georedundancy to ensure high availability and redundancy. It offers a two, three, or four-sites georedundancy to ensure service availability when one of the NRF site is down. When NRF is deployed as georedundant site, all the sites work in an active state and the same data is available at all the sites.
The NFs send service requests to its primary NRF. When the primary NRF site is unavailable, the NFs redirect the service requests to the alternate site NRF. In this case, NFs get the same information from alternate NRF, and each site maintains and uses its set of configurations.
The NRF's state data gets replicated between the georedundant sites using DBTier's replication service.
Following are the prerequisites for georedundancy:
- Each site configures the remote NRF sites that it is georedundant with.
- Once the georedundancy feature is enabled on a site, it cannot be disabled.
- Georedundant sites must be time synchronized.
- Georedundant sites must be reachable from NFs or Peers on all the sites.
- NFs are required to configure primary and alternate NRFs so that when one site is down, the alternate NRF can provide the required service operations.
- At any given instance, NFs communicate with only one NRF, that is, NFs register services and maintain heartbeats with only one NRF. The data is replicated across the georedundant NRFs, thereby allowing the NFs to seamlessly move between the NRFs in case of failure.
- Ensure that site is isolated before performing georeplication.
Managing NRF Georedundancy Feature
- cnDBTier is installed and configured for each site. The DB replication channels between the sites are up. For more information about cnDBTier installation, see
- Configure MySQL Database, Users, and Secrets. For the configuration procedure, see Oracle Communications Cloud Native Core, Network Repository Function Installation, Upgrade, and Fault Recovery Guide.
-
Preconfigurations using Helm:
- Before performing upgrade, update the Database Monitor
service host and port in the below attributes as per the deployment in
appInfoparameter section.The attribute indicates to monitor the database status watchMySQL: true #The URI used by the appinfo service to retrieve the replication channel status from the CN DB Tier. The service name used is the db-monitor service.The URI should be provided as "http://<db monitor service name>:<db monitor service port>/db-tier/status/replication/realtime" replicationUri: "http://mysql-cluster-db-monitor-svc.occne-infra:8080/db-tier/status/replication/realtime" #The URI used by the appinfo service to retrieve the database status from the CN DB Tier. This is for future usage. The service name used is the db-monitor service. It is recommended to configure these URI correctly to avoid continuous error log in App-info.The URI should be provided as "http://<db monitor service name>:<db monitor service port>/db-tier/status/local" dbStatusUri: "http://mysql-cluster-db-monitor-svc.occne-infra:8080/db-tier/status/local" #The URI used by the appinfo service to retrieve the realtime database status from the CN DB Tier. This is for future usage.It is recommended to configure these URI correctly to avoid continuous error log in App-info.The service name used is the db-monitor service.The URI should be provided as "http://<db monitor service name>:<db monitor service port>/db-tier/status/local" realtimeDbStatusUri: "http://mysql-cluster-db-monitor-svc.occne-infra:8080/db-tier/status/cluster/local/realtime" #The URI used by the appinfo service to retrieve the dbTier version from the CN DB Tier. [This url is supported from CN DBTier 22.4.0].The service name used is the db-monitor service.The URI should be provided as "http://<db monitor service name>:<db monitor service port>/db-tier/version" dbTierVersionUri: "http://mysql-cluster-db-monitor-svc.occne-infra:8080/db-tier/version" #The URI used by the appinfo service to retrieve alerts from alert manager. The service name used is the alert manager service name of the CNE.The URI should be provided as "http://<alert manager service name>:<alert manager service port>/<cluster name>/alertmanager". alertmanagerUrl: "http://occne-prom-alertmanager.occne-infra:80/cluster/alertmanager" - Run
helm upgradeto apply the above configuration. - Verify if the appinfo service is able to fetch the database
replication status by querying the following
API:
Resource Method : GET Resource URI: <appinfo-svc>:<appinfo-port>/status/category/replicationstatusWhere,
<appinfo-svc>is the appinfo service name.<appinfo-port>is the port of appinfo service.Sample response:[ { "localSiteName": "nrf1", "remoteSiteName": "nrf2", "replicationStatus": "UP", "secondsBehindRemote": 0, "replicationGroupDelay": [ { "replchannel_group_id": "1", "secondsBehindRemote": 0 } ] } ]Recheck the configuration if the sample response is not received. If the sample response is not received, appinfo is not querying the Database Monitor service correctly.
- This step must be done only after verifying that appinfo is
able to fetch the status correctly. If the above configuration is not
correct, NRF services will receive incorrect information about the
database replication channel status and hence will assume replication
channel status as DOWN.
Configure the NRF microservice to query appinfo for the replication status using the Georedundancy Options API or CNC Console:
Resource Method : PUT Resource URI: <configuration-svc>:<configuration-port>/nrf-configuration/v1/geoRedundancyOptions { “replicationStatusUri”: "http://<appinfo-svc>:<appinfo-port>/status/category/replicationstatus" }Where,
<configuration-svc>is the nrfconfiguration service name.<configuration-port>is the port of nrfconfiguration service.<appinfo-svc>is the appinfo service name.<appinfo-port>is the port of appinfo service.Perform the configurations in CNC Console as described in Georedundancy Options.
- Verify that the
OcnrfDbReplicationStatusInactiveandOcnrfReplicationStatusMonitoringInactivealerts are not raised on the alert dashboard.
- Before performing upgrade, update the Database Monitor
service host and port in the below attributes as per the deployment in
- Preconfigurations using REST API:
- Deploy NRF as per the installation procedure provided in Oracle Communications Cloud Native Core, Network Repository Function Installation, Upgrade, and Fault Recovery Guide.
- Enable the Georedundancy feature using the CNC Console or
REST API:
Following is the sample configuration at Site Chicago which is georedundant with Sites Atlantic (siteName: Atlantic, NrfInstanceId: 723da493-528f-4bed-871a-2376295c0020) and Pacific (siteName: Pacific, NrfInstanceId: cfa780dc-c8ed-11eb-b8bc-0242ac130003)
# Resource URI: {apiRoot}/nrf-configuration/v1/geoRedundancyOptions # Method: GET # Content Type: application/json { "useRemoteDataWhenReplDown":false, "featureStatus":"ENABLED", "monitorNrfServiceStatusInterval":"5s", "monitorDBReplicationStatusInterval":"5s", "replicationDownTimeTolerance":"10s", "replicationUpTimeTolerance":"10s", "replicationLatencyThreshold":"20s", "replicationStatusUri": "http://<appinfo-svc>:<appinfo-port>/status/category/replicationstatus", "siteNameToNrfInstanceIdMappingList": [{"siteName":"atlantic", "nrfInstanceId":"723da493-528f-4bed-871a-2376295c0020"}, {"siteName":"pacific", "nrfInstanceId":"cfa780dc-c8ed-11eb-b8bc-0242ac130003"} ]} }
NRF considers NfProfiles, registered across georedundant sites, for all its service operations. However, if NRF detects that the replication status with its mated sites is down, it will consider NfProfiles registered at local site only. If NfProfiles that are registered across georedundant sites must be considered for certain service operations (for example, service operations that result into DB Update), set the
useRemoteDataWhenReplDownattribute to true.This attribute is applicable only for the NfHeartBeat, NfUpdate (Patch), NfDeregister, NfStatusSubscribe (Patch), and NfStatusUnSubscribe service operations. It ensures that during the NRF site down scenario, if the NF is moving to its mated NRFs, NF need not reregister or resubscribe again. However, if this attribute is set to false and NF is switching to mated site, then the NF receives a 404 response and:- for NfUpdate (Patch), NfDeregister, and NfHeartBeat opearations, the NF is expected to register again with the NRF using NfRegister service operations.
- for NfStatusSubscribe (Patch) and NfStatusUnSubscribe, the NF is expected to subscribe again with the NRF using NfStatusSubscribe service operation.
Note:
This attribute is not applicable for NfDiscovery, NfAccessToken, NfProfileRetrieval, and NfListRetrieval service operations. - Preconfigurations using CNC Console:
- Configure Replication Status Uri to
"http://<appinfo-svc>:<appinfo-port>/status/category/replicationstatus" - Configure Site Name To NRF InstanceId Mapping List group with the NRF Instance Id and the corresponding database Site Name of the remote site(s) with which the given NRF is georedundant.
Note:
Configure these mandatory attributes before enabling the Georedundancy feature. If these attributes are not configured during deployment or using the CNC Console postdeployment, georedundancy cannot be enabled, and NRF at the site acts as a standalone NRF. - Configure Replication Status Uri to
After performing the above mentioned preconfigurations, enable the NRF georedundancy feature using the REST API or CNC Console.
- Enable using REST API: Set
featureStatustoENABLEDin Georedundancy Options configuration API. For more information about API path, see Oracle Communications Cloud Native Core, Network Repository Function REST Specification Guide. - Enable using CNC Console: Set Feature Status to ENABLED on the Georedundancy Options page. For more information about enabling the feature using CNC Console, see Georedundancy Options.
Configure
- Configure Georedundancy using REST API: Perform the feature configurations as described in Oracle Communications Cloud Native Core, Network Repository Function REST Specification Guide.
- Configure Georedundancy using CNC Console: Perform the feature configurations as described in Georedundancy Options.
Fetching the Database Replication Channel Status Using appinfo Microservice
- Nfregistration
- Nfsubscription
- NfDiscover
- nrfAuditor
- NfAccessToken
- NrfConfiguration
- NrfArtisan
Currently, all pods of the above services perform the REST API query towards the Database Monitor service periodically, and maintains the status in memory. When NRF is scaled to handle high traffic rate, the number of pods querying the Database Monitor service is very high. But, the Database Monitor service is not designed to handle high traffic rate.
Observe
- ocnrf_dbreplication_status
- ocnrf_dbreplication_down_time_seconds
- ocnrf_nf_switch_over_total
- ocnrf_nfSubscriptions_switch_over_total
- ocnrf_stale_nf_deleted_total
- ocnrf_stale_nfSubscriptions_deleted_total
- ocnrf_reported_dbreplication_status
For more information on georedundancy metrics and KPIs, see Georedundancy Metrics and NRF KPIs sections.
Maintain
If you encounter alerts at system or application levels, see NRF Alerts section for resolution steps.
In case the alerts still persists, perform the following:
- Collect the logs: For more information on how to collect logs, see Oracle Communications Cloud Native Core, Network Repository Function Troubleshooting Guide.
- Raise a service request: See My Oracle Support for more information on how to raise a service request.
4.25.1 NRF Last Known Response
When an NRF detects that the replication channel with its georedundant NRF(s) is down, it stops considering the NFs registered in the georedundant NRF(s) for any service operations. Due to unavailability of the replication channel, the latest status of the NFs registered in the georedundant NRF(s) will not get replicated. In this state the last replicated NfProfiles may be stale, hence NRF does not consider these profiles for any service operations.
During platform maintenance, network issues, or for any other reason, if the replication channels goes down, given that usually, the NFs do not register, deregister or change their profiles very often, it is acceptable for NRF to use the last known NfProfiles of remote NRFs for any service operations.
overrideReplicationCheck Helm
configurable parameter is provided to control the behavior when replication channels are
down. The parameter is applicable for the following NRF microservices only:
- nfregistration
- nfaccesstoken
- nfdiscovery
- nrfartisan
- nrfcachedata
Note:
overrideReplicationCheck is a global parameter. This is a
reference variable. The value of this parameter is applicable for the
above-mentioned microservices.
Enable
Note:
Perform the following steps only after Geo Redundancy Feature is enabled as described in Georedundancy Options.- Open the
ocnrf_custom_values_25.1.100.yamlfile. - Set
global.overrideReplicationCheckto true to enable the Last Known Response feature.Note:
global.overrideReplicationCheckis a reference variable.For more information about the parameters, see Oracle Communications Cloud Native Core, Network Repository Function Installation, Upgrade, and Fault Recovery Guide.
- Save the file.
- Run
helm upgrade. For more information about upgrade procedure, see Oracle Communications Cloud Native Core, Network Repository Function Installation, Upgrade, and Fault Recovery Guide.
NRF behavior When the Feature is Disabled
Following are the different scenarios that explain the behavior of each NRF microservices when this feature is disabled:
- Replication is Up
- NF Register Microservice:
- NfRegister, NfUpdate, and NfDeregister Processing: The service operations will be successful, irrespective of which site the NF was originally registered at the local site.
-
NfListRetrieval and NfProfileRetrieval Processing:
The NRF will consider:- The NFs registered and heartbeating at the local site.
- The NFs registered and heartbeating at the remote sites, which replicated from its Georedundant mate NRFs.
-
NF Discover and NF AccessToken Microservice:
The NRF will consider:- The NFs registered and heartbeating at the local site.
- The NFs registered and heartbeating at the remote sites, which replicated from its Georedundant mate NRFs.
- NrfArtisan Microservice: The SLFs registered at both
local site and remote sites are used for discovering UDRs for performing
SLF query, when
slfConfigModeis set to DISCOVERED_SLF_CONFIG_MODE. - NrfAuditor Microservice:
-
NRF will audit the NfProfiles and subscriptions of the local site.
When NRF discovers any of its registered profiles has missed heartbeats, it will be marked as SUSPENDED. The NF will thereafter not be included in the nfDiscovery or nfAccessToken response. The Consumer NFs that have subscribed for the change are notified about the change.
- When NRF discovers any of its subscriptions have crossed the validity period, it deletes the subscription.
- NRF will also audit the remote site NRFs NfProfiles and Subscriptions. If NRF discovers any of the registered Profiles at the remote site has missed heartbeats, it will be marked as PROBABLE_SUSPENDED (internal state). The NF will thereafter not be included in the nfDiscovery or nfAccessToken response. The NF will eventually be marked as SUSPENDED, if the NF continues to miss its heartbeat for a configurable period. The Consumer NFs that have subscribed for the change are not notified.
- When NRF discovers any of the subscriptions at the remote site have crossed the validity period, it marks the subscription as SUSPENDED.
Note:
global.overrideReplicationCheckattribute is not configurable for NrfAuditor microservice. Refer the behavior for nrfAuditor when replication channel status is UP or DOWN. -
- NF Register Microservice:
- Replication is Down
- NF Register Microservice:
- NfRegister, NfUpdate, and NfDeregister
Processing:
- The NfProfiles will be processed if the NF is registered at the local site
- If the NF is registered at the remote site,
then the NfProfile will be processed only if
geoRedundancyOptions.useRemoteDataWhenReplDownis true. Else, the request will be rejected with 404 Not Found.
- NfListRetrieval and NfProfileRetrieval
Processing:
- The NRF will consider the NFs registered and heartbeating with the local site.
- The NRF will not consider the NFs that are registered with remote NRF site with which the replication is down.
- NfRegister, NfUpdate, and NfDeregister
Processing:
-
NF Discover and NF AccessToken Microservice:
The NRF will consider:- The NFs registered and heartbeating at the local site.
- NRF will not consider the NFs registered and heartbeating at the remote sites with which the replication is down.
- NrfArtisan Microservice:
- When slfConfigMode is set to
DISCOVERED_SLF_CONFIG_MODE, NRF will consider
- The SLFs registered and heartbeating at the local site.
- The SLFs registered with remote site NRFs with which the replication is down will not be considered.
- When slfConfigMode is set to
DISCOVERED_SLF_CONFIG_MODE, NRF will consider
-
NrfAuditor Microservice:
-
NRF will audit the NfProfiles and subscriptions of the local site.
When NRF discovers any of its registered profiles has missed heartbeats, it will be marked as PROBABLE_SUSPENDED (internal state). The NF will thereafter not be included in the nfDiscovery or nfAccessToken response. The Consumer NFs that have subscribed for the change shall not be notified of the change.
When NRF discovers any of its subscriptions have crossed the validity period, it shall mark the Subscription as SUSPENDED (internal state).
-
NRF will not audit the remote site NRFs NfProfiles and Subscriptions.
-
- NF Register Microservice:
NRF behaviour When the Feature is Enabled, replication is UP or Down
- NF Register Microservice:
- NfRegister, NfUpdate, and NfDeregister
Processing:
- The profiles will be processed for the NFs
registered at the local site or at the remote sites,
irrespective of the value of the
geoRedundancyOptions.useRemoteDataWhenReplDownparameter.
- The profiles will be processed for the NFs
registered at the local site or at the remote sites,
irrespective of the value of the
-
NfListRetrieval and NfProfileRetrieval Processing:
The NRF will consider:- The NFs registered and heartbeating at the local site.
- The NFs registered and heartbeating at the remote sites (last known status) which replicated from its Georedundant mate NRFs.
- NfRegister, NfUpdate, and NfDeregister
Processing:
-
NF Discover and NF AccessToken Microservice:
The NRF will consider:- The NFs registered and heartbeating at the local site.
- The NFs registered and heartbeating at the remote sites (last known status) which replicated from its Georedundant mate NRFs.
- NrfArtisan Microservice:
The SLFs registered at both local site and remote sites (last known status) are used for discovering UDRs for performing SLF query, when
slfConfigModeis set to DISCOVERED_SLF_CONFIG_MODE. - NrfAuditor Microservice:
- If the replication channel status is up,
-
NRF will audit the NfProfiles and subscriptions of the local site.
When NRF discovers any of its registered profiles has missed heartbeats, it will be marked as SUSPENDED. The NF will thereafter not be included in the nfDiscovery or nfAccessToken response. The Consumer NFs that have subscribed for the change are notified about the change.
When NRF discovers any of its subscriptions have crossed the validity period, it deletes the subscription.
- NRF will also audit the remote site NRFs NfProfiles and Subscriptions. If NRF discovers any of the registered Profiles at the remote site has missed heartbeats, it will be marked as PROBABLE_SUSPENDED (internal state). The NF will thereafter not be included in the nfDiscovery or nfAccessToken response. The Consumer NFs that have subscribed for the change are not notified.
- When NRF discovers any of the subscriptions at the remote site have crossed the validity period, it marks the subscription as SUSPENDED.
-
- If the replication channel status is down,
-
NRF will audit the NfProfiles and subscriptions of the local site.
When NRF discovers any of its registered profiles has missed heartbeats, it will be marked as PROBABLE_SUSPENDED (internal state). The NF will thereafter not be included in the nfDiscovery or nfAccessToken response. The Consumer NFs that have subscribed for the change shall not be notified of the change.
- When NRF discovers any of its subscriptions have crossed the validity period, it shall mark the Subscription as SUSPENDED (internal state).
-
NRF will not audit the remote site NRFs NfProfiles and Subscriptions.
Note:
global.overrideReplicationCheckattribute is not configurable for NrfAuditor microservice. Refer the behavior for nrfAuditor when replication channel status is UP or DOWN. -
- If the replication channel status is up,
4.26 NF Heartbeat Enhancement
This feature allows the operator to configure minimum, maximum, default heartbeat timers and the maximum number of consecutive heartbeats that the NF is allowed to skip. Further, these values can be customized per NF type.
According to 3GPP 29.510, every NF registered with NRF keeps its operative status alive by sending NF heartbeat requests periodically. The NF can optionally send the heartbeatTimer value when it registers its NFProfile or when it wants to update its registered NFProfile.
NRF may modify the value of the heartbeatTimer based on its configuration and return the new value to the NF on successful registration. The NF will thereafter use the heartbeatTimer as received in the registration response as its heartbeat interval.
In case the configuration changes at the NRF for the heartbeatTimer, the changed value must be communicated to the NF in the response of the next periodic NF heartbeat request or when it next sends an NFUpdate request to the NRF.
NRF monitors the operative status of all the NFs registered with it, and when it detects that an NF has missed updating its NFProfile or sending a heartbeat for the heartbeat interval, NRF must mark the NFProfile as SUSPENDED. The NFProfile and its services may no longer be discoverable by the other NFs through the NfDiscovery service. The NRF notifies the subscribed NFs of the change in status of the NFProfile.
Managing NF Heartbeat Enhancement
The NF heartbeat is a core functionality of NRF. You do not need to enable or disable this feature.
Configure
- Configure NF Heartbeat using REST API: Perform the feature configurations as described in Oracle Communications Cloud Native Core, Network Repository Function REST Specification Guide.
- Configure NF Heartbeat using CNC Console: Perform the feature configurations as described in NF Management Options.
Observe
For more information on heartbeat metrics and KPIs, see NRF Metrics and NRF KPIs sections.
Maintain
If you encounter alerts at system or application levels, see NRF Alerts section for resolution steps.
In case the alerts still persists, perform the following:
- Collect the logs: For more information on how to collect logs, see Oracle Communications Cloud Native Core, Network Repository Function Troubleshooting Guide.
- Raise a service request: See My Oracle Support for more information on how to raise a service request.
4.27 Service mesh for intra-NF communication
Oracle NRF leverages the Istio or Envoy service mesh (Aspen Service Mesh) for all internal and external communication. The service mesh integration provides inter-NF communication and allows API gateway co-working with service mesh. The service mesh integration supports the services by deploying a special sidecar proxy in the environment to intercept all network communication between microservices. For more information on configuring ASM, see Oracle Communications Cloud Native Core, Network Repository Function Installation, Upgrade, and Fault Recovery Guide.
4.28 NF Screening
The incoming service requests from 5G Network Functions (NFs) must be screening before allowing access to Nnrf_NfManagement service operations to ensure security.
NF Screening feature screens the incoming service requests based on certain attributes in the NfProfile against a set of screening rules configured at NRF. NRF processes the incoming service requests, only if the screening is successful, and allows to invoke Nnrf_NfManagement service operations.
Table 4-18 Screening Rules List Type
| Screening Rule List | Description |
|---|---|
| "NF_FQDN" | Screening List type for NF FQDN. This screening
rule type is applicable for fqdn of a NfProfile
in NF_Register and NF_Update service operations.
|
| "NF_IP_ENDPOINT" | Screening list type for IP Endpoint. This
screening rule type is applicable for
ipv4address, ipv6address
attributes at NfProfile level and ipEndPoint
attribute at nfServices level for NF_Register and NF_Update
service operations.
|
| "CALLBACK_URI" | Screening list type for callback URIs in NF
Service and nfStatusNotificationUri in
SubscriptionData. This is also applicable for
nfStatusNotificationUri attribute of
SubscriptionData for NFStatusSubscribe service operation. This
screening rule type is applicable for
defaultNotificationSubscription attribute
at nfServices level for NF_Register and NF_Update service
operations.
|
| "PLMN_ID" | Screening list type for PLMN ID. This screening
rule type is applicable for plmnList attribute
at NfProfile level for NF_Register and NF_Update service
operations.
|
| "NF_TYPE_REGISTER" | Screening list type for allowed NF Types to
register. NRF supports 3GPP TS 29510 Release 15 and specific
Release 16 NF Types. For more information on the supported NF
Types list, see "Supported NF Types" section. This screening
rule type is applicable for nfTypeList
attribute at NfProfile level for NF_Register and NF_Update
service operations.
|
When a service request is received, NRF performs screening of the service request for each of the above mentioned screening rules list type, as follows:
- Checks if the global screening option is Enabled or Disabled.
You can configure the nfScreeningOptions.featureStatus parameter as "ENABLED" using REST or Console.
Note:
By default, the NF Screening feature is disabled globally. - If it is Enabled, NRF checks if the attribute in the NfProfile is
configured under BLOCKLIST or ALLOWLIST. For more information about these
attributes, see Table 4-19.
You can configure nfScreeningType parameter as BLOCKLIST or ALLOWLIST for the specific screening rule configuration. For more information about the screening rules applicable to different attributes in NfProfile, see Table 4-20.
Table 4-19 NF Screening Type
NfScreeningType Description BLOCKLIST If the attribute is configured as Blocklist and the attribute in the request matches with the configured value, the service request is not processed further. For example, nfFqdnis configured as Blocklist, then the service request withfqdnpresent in the NfProfile is not processed further.ALLOWLIST If the attribute is configured as Allowlist and the attribute in the request matches with the configured value, then the service request is processed further. For example, nfIpEndPointListis configured as Allowlist, then the service request with ipv4Addresses present in the NfProfile is processed further. - Based on the nfScreeningType parameter configuration, NRF checks screening rules, per NfType and global screening rules data level. Depending on the configuration, the service request is processed. For more information about the configuration, see Oracle Communications Cloud Native Core, Network Repository Function REST Specification Guide.
Table 4-20 Screening rules applicable to NfProfile attributes
| Management Service Operation | Screening Rules List | Attribute in NfProfile | Attribute in REST |
|---|---|---|---|
| NF_Subscribe | CALLBACK_URI | SubscriptionData.nfStatusNotificationUri | nfCallBackUriList |
| NF_Register, NF_Update | CALLBACK_URI | NfService.defaultNotificationSubscriptions | nfCallBackUriList |
| NF_Register, NF_Update | NF_FQDN | NfProfile.fqdn | nfFqdn |
| NF_Register, NF_Update | NF_IP_ENDPOINT |
|
nfIpEndPointList |
| NF_Register, NF_Update | PLMN_ID | NfProfile.plmnList | plmnList |
| NF_Register, NF_Update | NF_TYPE_REGISTER | NfProfile.nfType | nfTypeList |
Managing NF Screening Feature
You can enable the NF Screening feature using the CNC Console or REST API.
- Enable using REST API: Set
featureStatustoENABLEDin NF Screening Options configuration API. For more information about API path, see Oracle Communications Cloud Native Core, Network Repository Function REST Specification Guide. - Enable using CNC Console: Set Feature Status to ENABLED on the NF Screening Options page. For more information about enabling the feature using CNC Console, see NF Screening Options.
Configure
- Configure using REST API: Perform the feature configurations as described in Oracle Communications Cloud Native Core, Network Repository Function REST Specification Guide.
- Configure using CNC Console: Perform the feature configurations as described in NF Screening Options.
Observe
- ocnrf_nfScreening_nfFqdn_requestFailed_total
- ocnrf_nfScreening_nfFqdn_requestRejected_total
- ocnrf_nfScreening_nfIpEndPoint_requestFailed_total
- ocnrf_nfScreening_nfIpEndPoint_requestRejected_total
- ocnrf_nfScreening_callbackUri_requestFailed_total
- ocnrf_nfScreening_callbackUri_requestRejected_total
- ocnrf_nfScreening_plmnId_requestFailed_total
- ocnrf_nfScreening_plmnId_requestRejected_total
- ocnrf_nfScreening_nfTypeRegister_requestFailed_total
- ocnrf_nfScreening_nfTypeRegister_requestRejected_total
- ocnrf_nfScreening_notApplied_InternalError_total
For more information about NF Screening metrics and KPIs, see NF Screening Metrics and NRF KPIs sections.
Maintain
If you encounter alerts at system or application levels, see NRF Alerts section for resolution steps.
In case the alerts persists, perform the following:
- Collect the logs: For more information about how to collect logs, see Oracle Communications Cloud Native Core, Network Repository Function Troubleshooting Guide.
- Raise a service request: See My Oracle Support for more information about how to raise a service request.
4.29 REST Based NRF State Data Retrieval
REST based NRF state data retrieval feature provides options for Non-Signaling APIs to access NRF state data. It helps the operator to access the NRF state data to understand and debug in the event of failures.
This feature provides various queries which can help to get data as per the requirement.
Managing REST Based NRF State Data Retrieval Feature
Configure
You can configure the REST Based NRF State Data Retrieval feature using REST API. For more information on state data retrieval, see Oracle Communications Cloud Native Core, Network Repository Function REST Specification Guide.
Maintain
If you encounter alerts at system or application levels, see NRF Alerts section for resolution steps.
In case the alerts still persists, perform the following:
- Collect the logs: For more information on how to collect logs, see Oracle Communications Cloud Native Core, Network Repository Function Troubleshooting Guide.
- Raise a service request: See My Oracle Support for more information on how to raise a service request.
4.30 Key-ID for Access Token
Note:
You must perform OCNRF Access Token Service Operation configuration before configuring Key-ID for Access Token.Each NRF and NF producer(s) will have multiple keys with algorithm indexed with "kid" configured. NRF REST based configuration provides options to configure different key-ids and corresponding NRF private keys and public certificates along with corresponding oauth signing algorithms. One of the configured key-ids, can be set as current Key-ID. While generating the oauth access token, NRF uses the keys, algorithm and certificates corresponding to current Key-ID.
NRF configuration
provides "addkeyIDInAccessToken" attribute which tells to add Key-ID as
header in Access Token Response or not. If value is true, then currentKeyID value will
be added in "kid" header in AccessToken Response. If value is false, then "kid" header
will not be added in AccessToken Response.
See Oracle Communications Cloud Native Core, Network Repository Function REST Specification Guide for more information on how to check AccessToken Signing Key Status.
Managing Key-ID for Access Token Feature
You can enable the Key-ID for Access Token feature using the CNC Console or REST API.
- Use the API path as
{apiRoot}/nrf-configuration/v1/nfAccessTokenOptions. - Content type must be application/json.
- Run the PUT REST method using the following
JSON:
{ "addkeyIDInAccessToken": true }
- From the left navigation menu, navigate to NRF and then select NF Access Token Options. The NF Access Token Options page is displayed.
- Click Edit from the top right side to edit or update NF Access Token Options parameter. The page is enabled for modification.
- Select the Add KeyID in AccessToken under Token Signing Details section as True from the drop-down menu.
- Click Save to save the NF Access Token Options.
Configure
- Configure Key-ID for Access Token using REST API: Perform the feature configurations as described in Oracle Communications Cloud Native Core, Network Repository Function REST Specification Guide.
- Configure Key-ID for Access Token using CNC Console: Perform the feature configurations as described in NF Access Token Options.
Observe
For more information on Key-ID for Access Token metrics, see the NF Access token Metrics section.
For more information on Key-ID for Access Token KPIs, see the NRF KPIs section.
- OcnrfAccessTokenCurrentKeyIdNotConfigured
- OcnrfAccessTokenCurrentKeyIdInvalidDetails
- OcnrfAccessTokenCurrentKeyIdNotConfigured
- OcnrfOauthCurrentKeyDataHealthStatus
- OcnrfOauthNonCurrentKeyDataHealthStatus
- OcnrfOauthCurrentCertificateExpiringIn1Week
- OcnrfOauthNonCurrentCertificateExpiringIn1Week
- OcnrfOauthCurrentCertificateExpiringIn30days
- OcnrfOauthNonCurrentCertificateExpiringIn30days
For more information about the alerts raised for the feature, see the KeyID for AccessToken Feature section.
Maintain
If you encounter alerts at system or application levels, see NRF Alerts section for resolution steps.
In case the alerts still persists, perform the following:
- Collect the logs: For more information on how to collect logs, see Oracle Communications Cloud Native Core, Network Repository Function Troubleshooting Guide.
- Raise a service request: See My Oracle Support for more information on how to raise a service request.
4.31 NRF Access Token Service Usage Details
NRF implements Nnrf_AccessToken service (used for OAuth2 authorization), along with the "Client Credentials" authorization grant. It exposes a "Token Endpoint" where the Access Token Request service can be requested by NF service consumers.
- Access Token Request (Nnrf_AccessToken_Get)
Note:
This procedure is specific to the NRF Access Token service operation. NRF general configurations, database, and database-specific secret creation are not part of this procedure.Procedure to use NRF Access Token Service Operation
- Create NRF private key and public certificate
This step explains the need to create the NRF private keys and public certificates.
Private keys are used by NRF to sign the Access Token generated. It is available only with NRF.
Public certificates are used by producer NFs to validate the access token generated by NRF. So, public certificates are available with producer network functions. NRF does not need the public certificate while signing the access token.
The expiry time of the certificate is required to set appropriate validity time in the AccessTokenClaim.
Note:
For more details about the validity time of AccessTokenClaim, see "oauthTokenExpiryTime".Two types of signing algorithms are supported by NRF. For both types different keys and certificates required to be generated:Sample keys and certificates:- ES256: ECDSA digital signature with SHA-256 hash algorithm
- RS256: RSA digital signature with SHA-256 hash algorithm
Note:
The creation process for private keys, certificates, and passwords is at the discretion of the user or operator.After running this step, the private keys and public certificates of NRF (generated files depends upon algorithms chosen by operator or user) are created. There can be multiple such pairs of private keys and public certificates which will eventually be configured in NRF with different KeyIds.
For example:
ES256 based keys and certificates:-
ecdsa_private_key.pem
-
ecdsa_certificate.crt
RS256 based keys and certificates:-
rsa_private_key.pem
-
rsa_certificate.crt
Note:
- Unencrypted key and certificates are only supported.
- For RSA, the supported versions are PKCS1 and PKCS8.
- For ECDSA, the supported version is PKCS8.
- Namespace creation for Secrets
This step explains the need to create Kubernetes namespace in which Kubernetes secrets are created for NRF private keys and public certificates. For creating namespace, see the "Verifying and Creating NRF Namespace" section in Oracle Communications Cloud Native Core, Network Repository Function Installation, Upgrade, and Fault Recovery Guide.
Note:
- Different namespaces or the same namespace can be used for NRF private keys and public certificates.
- It can be the same namespace as for NRF deployment.
- Appropriate RBAC permission needs to be associated with the ServiceAccount, if the namespace is other than NRF's namespace.
- Secret creation for NRF private keys and public certificatesThis step explains commands to create the Kubernetes secret(s) in which NRF private keys and public certificates can be kept safely. For configuring secrets, see the "Configuring Secret for Enabling Access Token Service" section in Oracle Communications Cloud Native Core, Network Repository Function Installation, Upgrade, and Fault Recovery Guide.
Note:
The same secret can be used which is already there for NRF private keys.
A sample command is provided in the "Configuring Kubernetes Secret for Accessing NRF Database" section in Oracle Communications Cloud Native Core, Network Repository Function Installation, Upgrade, and Fault Recovery Guide to create or update the secret. In case, there is a need to create or update multiple secrets for each entity, then the same section can be followed.
- Perform NRF REST based configuration with outcome details of Steps 1 to
3
This step explains the NRF REST based configuration to use the NRF private keys, public certificates, secret(s), and secret namespace(s).
NRF REST based configuration provides options to configure different key-ids and corresponding NRF private keys and public certificates along with corresponding oauth signing algorithms. One of the configured key-ids, can be set as the current key-id.
While generating the oauth access token, NRF uses the keys, algorithm, and certificates corresponding to the current key-id.
For more information on NF Access Token options configuration using REST APIs, see Oracle Communications Cloud Native Core, Network Repository Function REST Specification Guide.
4.32 Access Token Request Authorization
NRF follows and supports the 3GPP TS 29.510 based verification for Access Token Authorization requests for specific NF producer based on the allowed NFType, PLMN present in the NFProfiles. Extension to this requirement is to include screening for Access Token requests based on NFType.
NRF plays a major role as an OAuth2.0 Authorization server in 5G Service based architecture. When an NF service Consumer needs to access the services of an NF producer of a particular NFType and NFInstanceId, it obtains an OAuth2 access token from the NRF. NRF performs the required authorization, and if the authorization is successful, a token is issued with the requested claims. NRF provides an option to the user to specify the authorization of the Producer-Consumer NF Types along with the producer NF's services.
Note:
When Access Token Authorization feature is enabled, it is expected that the requester and the target NFs are registered in NRF for the validation. So if the targetNfType is not specifically mentioned in the request, the targetNfType is extracted from the registered profile in the database using the targetNfInstanceId. Similarly if the requesterNFInstanceId is present in the request, the requesterNfType is extracted from the registered profile in the database.Access Token configurable attribute
"logicalOperatorForScope" is used while authorizing the services in
the Access Token Request's scope against the allowed services in the configuration. If
the logicalOperatorForScope is set to "OR", at least one of the
services in the scope will be present in the allowed services. If it is set to "AND",
all the services in the scope will be present in the allowed services.
The authFeatureConfig attribute under
nfAccessTokenOptions provides the support required to use
NRF Access Token Request
Authorization Feature. For more details, see Oracle Communications Cloud Native Core, Network Repository Function REST
Specification Guide.
authFeatureConfig attribute is
ENABLED, the nfType validation is performed as follows:
- targetNfType and requesterNfType is matched with the nfTypes used for accessToken generation. This configuration overrides the nfType validation against the allowedNfTypes in nfProfile or nfServices.
- If the above mentioned validation is not met, then:
- requesterNfType from the accessToken request is validated against the allowedNfTypes present in the producer NF's nfServices, if present.
- requesterNfType from the accessToken request is validated against the allowedNfTypes from the producer nfProfile, if allowedNfTypes is not present in the nfServices.
Managing Access Token Request Authorization Feature
You can enable the Access Token Request Authorization Feature using the REST API or CNC Console.
- Enable using REST API: Set
featureStatustoENABLEDin NF AccessToken Options configuration API. For more information about API path, see Oracle Communications Cloud Native Core, Network Repository Function REST Specification Guide. - Enable using CNC Console: Set Feature Status to ENABLED on the NF Access Token Options page. For more information about enabling the feature using CNC Console, see NF Access Token Options.
Configure
- Configure using REST API: Perform the feature
configurations as described in Oracle Communications Cloud Native Core, Network Repository Function REST
Specification Guide.
With
nfAccessTokenOptionsAPI,authFeatureConfigattribute provides the support required to use NRF Access Token Request Authorization Feature. For more details, see Oracle Communications Cloud Native Core, Network Repository Function REST Specification Guide. - Configure using CNC Console: Perform the feature configurations as described in NF Access Token Options.
Observe
Following are the Access Token ReSquest Authorization feature specific metrics:- ocnrf_accessToken_rx_requests_total
- ocnrf_accessToken_tx_responses_total
For more information on Access Token Request Authorization metrics and KPIs, see NF Access token Metrics and NRF KPIs sections.
Maintain
If you encounter alerts at system or application levels, see NRF Alerts section for resolution steps.
In case the alerts still persists, perform the following:
- Collect the logs: For more information on how to collect logs, see Oracle Communications Cloud Native Core, Network Repository Function Troubleshooting Guide.
- Raise a service request: See My Oracle Support for more information on how to raise a service request.
4.33 Preferred Locality Feature Set
- Preferred Locality
- Extended Preferred Locality with Location or Location Sets
- Limiting the Number of Producers Based on NF Set Ids
4.33.1 Preferred Locality
- NRF searches and collects all the NFs profiles matching the search criteria sent in the discovery query except the "preferred-locality" attribute.
- NF profiles collected in the above step are arranged as per
"preferred-locality". Here, the NFs matching the
"preferred-locality" are arranged as per the increasing order of
their priority and the NF profiles that do not have
"preferred-locality" are then placed in the increasing order of
post-processed priority value. Here, post-processed priority value means
adding the highest NF priority of the NFs that are matching with the
"preferred-locality" to the priority value of non-preferred NF
profiles with an additional increment offset value of 1.
For example: If the highest NF priority value of "preferred-locality" is 10 and the priority value of non-preferred NF profile is 5, then after post processing the priority value of non-preferred NF profile will be 16 (where, 10 is the highest priority value of NF profile with "preferred-locality", 5 is the priority of non-preferred NF and 1 is the offset value).
For service-name based discovery query, if there is single service in the NF profile after discovery processing, service level priority is updated.
For service-name based discovery query, if there are multiple services in the NF profile with same service name after discovery processing, along with priority value update at NF profile, service level priority is also updated.
Managing Preferred Locality feature
Enabling the Preferred Locality feature: This feature is enabled by default as per 3GPP TS29.510. There is no option to enable or disable it explicitly.
Observe
There are no specific metrics and alerts for this feature.
For the entire list of NRF metrics and alerts, see NRF Metrics and NRF Alerts section.
Maintain
If you encounter alerts at system or application levels, see NRF Alerts section for resolution steps.
In case the alerts still persists, perform the following:
- Collect the logs: For more information on how to collect logs, see Oracle Communications Cloud Native Core, Network Repository Function Troubleshooting Guide.
- Raise a service request: See My Oracle Support for more information on how to raise a service request.
4.33.2 Extended Preferred Locality
The limitation with the default "Preferred Locality" feature is that, it does not provide a mechanism to select matching producers from more than one "preferred-locality" because "preferred-locality" attribute allows to provide only one location in the discovery query.
To overcome this limitation, the "Extended Preferred Locality" feature is implemented where a preferred locality triplet, that is, collection of primary, secondary and tertiary preferred locality is associated with the given "preferred-locality" and "target-nf- type". The "Primary Preferred Locality", "Secondary Preferred Locality", and "Tertiary Preferred Locality" in "Preferred Locality Triplet" can be configured with single location or a location set. That is, the "Location" attribute under "Target Preferred Locations" can be an individual "Location" or a "Location Set Name" configured under the "Location Sets". You can configure a maximum of 255 location sets, and each location set can have upto 10 locations.
Managing Extended Preferred Locality and Limiting the Number of Producers Based on NF Set Ids
For enabling the features, see below:
- Enable using REST API: Set
featureStatustoENABLEDin NF Discovery Options configuration API. For more information about the API path, see Oracle Communications Cloud Native Core, Network Repository Function REST Specification Guide. - Enable using CNC Console: Set Feature Status to ENABLED on the NF Discovery Options page. For more information about enabling the feature using CNC Console, see NF Discovery Options.
Configure
- Configure using REST API: Perform the feature configurations in the {apiRoot}/nrf-configuration/v1/nfDiscoveryOptions as described in Oracle Communications Cloud Native Core, Network Repository Function REST Specification Guide.
- Configure using CNC Console: Perform the feature configurations as described in NF Discovery Options.
Maintain
If you encounter alerts at system or application levels, see NRF Alerts section for resolution steps.
In case the alerts still persists, perform the following:
- Collect the logs: For more information on how to collect logs, see Oracle Communications Cloud Native Core, Network Repository Function Troubleshooting Guide.
- Raise a service request: See My Oracle Support for more information on how to raise a service request.
4.33.2.1 Discovery Processing for Extended Preferred Locality Feature
Discovery query is processed with respect to Extended Preferred Locality Feature is as follows:
- NRF filters out all of the NFs profiles matching the search criteria sent in the discovery request except the "preferred-locality" query parameter.
- NFProfiles filtered in the above step are then arranged matching the locality attribute as per the configuration for "Primary Preferred Locality", "Secondary Preferred Locality", "Tertiary Preferred Locality" in "Preferred Locality Triplet". The NFs profiles that are not matching with the "preferred-locality" query parameter are kept in a different group.
- NFProfiles in each "Preferred Locality Triplet" will be arranged based on their priority. For NFProfiles having the same priority, load will be used for for arranging the NFProfiles. If load values are also same, then the NFProfiles will be arranged in a random order.
- Additionally, priorities of NFProfiles falling in the groups of
secondary, tertiary, and remaining non-matching locations are updated based upon
a similar way of post-processed priority as defined in the "Preferred Locality"
feature.
Note:
When the "Extended Preferred Locality" feature is enabled and in case, if any of the required configurations are not matched with the respective discovery query parameters, NRF will apply the "Preferred Locality" feature. - Locations or a set of locations can be defined in "Preferred Locality Triplet" for the discovery search query.
4.33.2.2 Configuring Extended Preferred Locality
According to 3GPP TS 29.510 V15.5.0, consumer NFs can send discovery query with preferred-locality, along with requester-nf-type, target-nf-type, and nf-services.
Note:
Only "preferred-locality", "target-nf-type", and "nf-services" attributes are considered for this feature, other attributes in the search query are not applicable.- Configure the location types as per the network deployment. Location
types can be configured using
locationTypesattribute.For Example: Category-S, Category-N, and so on.
Sample location types attribute value:
"locationTypes": ["Category-S", "Category-N", "Category-x"]Note:
- Maximum 25 location types can be configured.
locationTypescan have minimum 3 characters and maximum 36 characters. It can have only alphanumeric and special characters '-' and '_'. It cannot start and end with special characters.- Duplicate location types are not allowed to be configured in this attribute.
locationTypesare case sensitive it means Category-x and Category-X are different.
- Configure NF types (along with different services) under
locationTypeMappingattribute. This attribute allows the operator to create mapping between differentnfType(along withnfServices) and thelocationTypes. (Location types is already configured by following Step 1 above).For Example: PCF is the NF type, am_policy, bdt_policy are NF services and Category-x is the location type.
Sample output:"locationTypeMapping": [{ "nfType": "PCF", "nfServices": ["am_policy", "bdt_policy"], "locationType": "Category-x" }],Note:
- Configure nfType attribute to map it with the "target-nf-type" attribute in incoming discovery query.
nfServicesattribute of this configuration is used when "service-names" query parameter is present in discovery query. DifferentnfServicesalong withnfTypecan be mapped with different location types.- In case, if
nfServicesis not required to be mapped with any particular location type, then configure the value ofnfServicesas '*'. This indicates thatlocationTypemapped all NF services of that "target-nf-type". - '*' value record for "target-nf-type" is used
when no configuration is found corresponding to
service-namesattribute of discovery query. - If "service-names" attribute is unavailable in
the discovery query, then '*' value is used for
locationTypeselection. - "service-names" of discovery search query can be
subset of configured
nfServicesattribute.For Example:- If sm_policy is the only
service-namespresent in discovery query and configured value fornfServicesare sm_policy, bdt_policy. Then this configuration is used forlocationTypeselection. - If am_policy, nudr_policy are the
service-namespresent in discovery query and configured value fornfServicesare am_policy, nudr_policy, xyz_policy. Then this configuration is used forlocationTypeselection.
- If sm_policy is the only
- Same
nfServicescannot be mapped to different location type.For example:
One
locationTypesay Category-N is already mapped tonfServiceswith value 'sm_policy' withnfTypeas 'PCF', then sm_policy (individual or with group of NF services) cannot be mapped to another location type for 'PCF'. - In case, the
service-namesattribute of search query has multiplenfServicesbut in configurednfServicesattribute (individual or with group of NF services) are mapped to differentlocationTypethen '*' value record fortarget-nf-typeis used for location type selection. - Maximum 100
locationTypeMappingvalues can be configured.
Sample locationTypeMapping attribute value"locationTypeMapping": [{ "nfType": "PCF", "nfServices": ["am_policy", "bdt_policy"], "locationType": "Category-x" }, { "nfType": "PCF", "nfServices": ["sm_policy"], "locationType": "Category-N" }, { "nfType": "PCF", "nfServices": ["*"], "locationType": "Category-S" }, { "nfType": "AMF", "nfServices": ["*"], "locationType": "Category-S" } ] - Configure the
preferredLocationDetailscorresponding tolocationTypeselected andpreferred-locality. ThepreferredLocationattribute defines thepreferred-locality(derived from discovery search query) andlocationTypeselected from thelocationTypeMappingattribute maps to apreferredLocationDetails.Sample preferredLocationDetails attribute valueNote:
- Maximum 650
preferredLocationDetailsvalues can be configured. - Different priorities can be configured for preferred locations.
preferredLocationattribute for this configuration is mapped topreferred-locality(derived from discovery search query).targetLocationTypeattribute for this configuration is mapped tolocationTypeselected fromlocationTypeMappingattribute.- Corresponding to
preferredLocationandtargetLocationTypeattributes,targetPreferredLocationscan be configured.targetPreferredLocationsare defined by operator. targetPreferredLocationsattribute can have upto 3 target preferred locations.priorityis assigned totargetPreferredLocations. There cannot be same priority to differenttargetPreferredLocations.targetPreferredLocationscan be same aspreferredLocationattribute value.- In case the location attribute in
targetPreferredLocationsis a set of location, then configure thelocationSetsattribute:- Maximum of 255 locationSets can be configured.
- Length of the location name can be in the range of 5 to 100 characters.
- Maximum of 10 locations can be configured.
"preferredLocationDetails": [{ "preferredLocation": "Azusa", "targetLocationType": "Category-x", "maxNFProfilesFromFirstMatchLoc":0, "targetPreferredLocations": [{ "priority": 1, "location": "Azusa" }, { "priority": 2, "location": "Vista" }, { "priority": 3, "location": "Ohio" }] }, { "preferredLocation": "Azusa", "targetLocationType": "Category-y", "maxNFProfilesFromFirstMatchLoc":0, "targetPreferredLocations": [{ "priority": 1, "location": "RKL" }, { "priority": 2, "location": "CSP" }, { "priority": 3, "location": "West-Region-Edge-Set01" }] } ], "locationSets": [ { "locationSetName" : "West-Region-Edge-Set01", "locations": ["LA", "SFO"] } ]] - Maximum 650
4.33.2.3 Limiting the Number of Producers Based on NF Set Ids
"Limiting the Number of Producers Based on NF Set Ids" feature is a supplement to the "Extended Preferred Locality" feature.
In the Extended Preferred Locality feature, if there are more number of producers that are matching in each location (primary, secondary, tertiary), then NRF potentially returns all the matching producer NFs. For Example, If each location is having 10 matching producer, NRF ends up in sending 30 producers in discovery response. This results in returning all the 30 producers in a message being too long which ends up in not using the network resources efficiently.
To enhance the producer selection, NRF supports to limit the number of producers by usingnfSetIdList as follows:
- After NF profile selection is done based on the extended preferred locality logic, from the first matching location, only a limited number of NF profile will get selected based on the configuration attribute "Maximum number of NF Profiles from First Matching Location." The first matching location is the location where the first set of matching producers are found from the Preferred Locality Triplet.
- From the remaining locations, only those producers will be
shortlisted whose
nfSetIdListmatches with the NF Set Ids of the first matching location's producers (after limiting feature is applied). As these producers can be used as alternate producers during failover scenarios.
In case of the following scenarios, NRF fallbacks to the "Extended Preferred Locality" feature from the "Limiting the Number of Producers Based on NF Set Ids" feature.
- if the value of the Maximum number of NF Profiles from First Matching Location attribute is configured as 0.
- if any one of the NF profiles from the first matching location after
limiting the profiles, does not have the
nfSetIdListattribute (that is the profiles are registered without NF Set Ids).
Note:
- It is recommended to enable this feature only if NFs are
registered with the
nfSetIdListattribute. - In upgrade scenarios, if an extended preferred locality is configured, then for each preferred locality attribute the value of Maximum number of NF Profiles from First Matching Location attribute will become 0, which disables the feature by default.
Managing Limiting the Number of Producers Based on NF Set Ids
For enabling the features, see below:
- Enable using REST API: Enabling Limiting the Number
of Producers Based on NF Set Ids feature: Set the value of the
maxNFProfilesFromFirstMatchLocfield to a value greater than 0 in {apiRoot}/nrf-configuration/v1/nfDiscoveryOptions configuration API. For more information about the API path, see Oracle Communications Cloud Native Core, Network Repository Function REST Specification Guide. - Enable using CNC Console: Enabling Limiting the Number of Producers Based on NF Set Ids feature: Set the value of Maximum number of NF Profiles from First Matching Location attribute to a number greater than 0 under Preferred Location Details on the NF Discovery Options page. For more information about enabling the feature using CNC Console, see NF Discovery Options.
Note:
Extended Preferred Locality feature should be enabled prior enabling the Limiting the Number of Producers Based on NF Set Ids feature.Configure
- Configure using REST API: Perform the feature configurations in the {apiRoot}/nrf-configuration/v1/nfDiscoveryOptions URI as described in Oracle Communications Cloud Native Core, Network Repository Function REST Specification Guide.
- Configure using CNC Console: Perform the feature configurations as described in NF Discovery Options.
Observe
The following metrics are added for the Limiting the Number of Producers Based on NF Set Ids feature:ocnrf_nfDiscover_limiting_profile_count_for_nfSet_totalocnrf_nfDiscover_limiting_profiles_not_applied_for_nfSet_total
For more information on metrics, see NRF Metrics section.
Maintain
If you encounter alerts at system or application levels, see NRF Alerts section for resolution steps.
In case the alerts still persists, perform the following:
- Collect the logs: For more information on how to collect logs, see Oracle Communications Cloud Native Core, Network Repository Function Troubleshooting Guide.
- Raise a service request: See My Oracle Support for more information on how to raise a service request.
4.33.2.3.1 Discovery Processing for Limiting Number of Producers Based on NF Set Ids
Discovery query is processed with respect to Limiting the Number of Producers Based on NF Set Ids feature is as follows:
- Perform the same steps with the discovery processing as mentioned in Discovery Processing for Extended Preferred Locality Feature.
- When the attribute Maximum number of NF Profiles from First Matching Location
is configured to a value greater than 0, NRF allows the consumer NF to select the
top "n" number of producers from the first preferred locality. And from the
remaining preferred localities, only those producers are selected that have matching
nfsetIdListof the top "n" producers selected from the first preferred locality.
4.33.2.3.2 Configuring Limiting Number of Producers Based on NF Set Ids
This section describes about Configuring Limiting Number of Producers Based on NF Set Ids feature.
- Perform the same steps with the configuration as mentioned in Configuring Extended Preferred Locality.
- Configure the
maxNFProfilesFromFirstMatchLocattribute in thepreferredLocationDetailsto limit the number of producers based on NF Set Ids from the first matching location in a preferred locality triplet. If the value ofmaxNFProfilesFromFirstMatchLocattribute is greater than 0, then the feature is enabled.Sample output:"maxNFProfilesFromFirstMatchLoc":0, indicates feature is disabled."preferredLocationDetails": [{ "preferredLocation": "Azusa", "targetLocationType": "Category-x", "maxNFProfilesFromFirstMatchLoc":0, "targetPreferredLocations": [{ "priority": 1, "location": "Azusa" }, { "priority": 2, "location": "Vista" }, { "priority": 3, "location": "Ohio" }] }, { "preferredLocation": "Azusa", "targetLocationType": "Category-y", "maxNFProfilesFromFirstMatchLoc":0, "targetPreferredLocations": [{ "priority": 1, "location": "RKL" }, { "priority": 2, "location": "CSP" }, { "priority": 3, "location": "West-Region-Edge-Set01" }] } ], "locationSets": [ { "locationSetName" : "West-Region-Edge-Set01", "locations": ["LA", "SFO"] } ]]
4.33.3 NFService Priority Update
This feature is an extension of the existing functionality of the Preferred Locality Feature Set. For more details, see Preferred Locality and Extended Preferred Locality.
With this feature, NRF now updates the NFService level priority along with the NFProfile level priority while processing the discovery query. NRF updates the following:
- NFProfile level priority considering the lowest NFProfile level priority of NFProfiles
- NFService level priority considering the lowest NFService level priority of all NFServices
Impact on Preferred Locality feature
For the Preferred Locality feature, there can be two groups of NFProfiles. One group contains NFProfiles with locality attribute matching preferred-locality attribute query parameter and another group with the rest of the NFProfiles with non-matching preferred-locality query parameter.
With this NF Service priority feature, NFProfile level priority is updated for the second group using the Lowest NFProfile Level Priority value of the first group. Similarly, NFService level priority is updated for the second group using the Lowest NFService Level Priority value among all the NFServices present in the first group.
Priority Value Calculation:
- NFProfile Level Priority = Actual NFProfile Level Priority Value + Lowest NFProfile Level Priority of the first group + Offset Value (that is, 1)
- NFService Level Priority = Actual NFService Level Priority Value + Lowest NFService Level Priority among all the NFServices present in the first group + Offset Value (that is, 1)
Impact on Extended Preferred Locality feature
For the Extended Preferred Locality feature, there can be multiple groups of NFProfiles depending on the Extended Preferred locality feature configuration. The first group contains NFProfiles with locality attribute configured with the first matching location/location set. And subsequent group(s) can be present depending upon the configured locations and the matching NFProfiles.
With NF Service priority feature, NFProfile level priority is updated for the second group onwards using the Lowest NFProfile Level Priority of the previous group. Similarly, NFService level priority is updated for the second group onwards using the Lowest NFService Level Priority among all the NFServices of its previous group.
Priority Value Calculation:
- NFProfile Level Priority = Actual NFProfile Level Priority Value + Lowest NFProfile Level Priority of the previous group + Offset Value (that is, 1)
- NFService Level Priority = Actual NFService Level Priority Value + Lowest NFService Level Priority among all the NFServices present in the previous group + Offset Value (that is, 1)
In case, priority or load is not present in a NFService/NFProfile, then the values are considered as below:
- For NFProfile level, if priority or load values are not present,
then the configured
defaultPriorityanddefaultLoadvalues are considered respectively. Similarly, for NFService level, if priority or load values are not present, then the NFProfile level priority or load values are considered respectively. However, if priority or load values are not present in NFProfile as well, then the configureddefaultPriorityanddefaultLoadvalues are considered respectively.For more information about these parameters, see General Options section.
- In case, priority or load attributes are not present in the registered NFProfile
or its NFServices, then the final calculated value is set based on the
configured
defaultPriorityAssignmentanddefaultLoadAssignmentflags respectively.For more information about these parameters, see General Options section.
This feature can be enabled or disabled using the
servicePriorityUpdateFeatureStatus flag in the
{apiRoot}/nrf-configuration/v1/nfDiscoveryOptions API or
Service Priority Update Feature Status flag in the
NF Discovery Options page in the CNC
Console.
Managing NFService Priority Update
To enable the features, see below:
- Enable using REST API: Set the value of the
servicePriorityUpdateFeatureStatustoENABLEDin the {apiRoot}/nrf-configuration/v1/nfDiscoveryOptions configuration API. For more information about the API, see Oracle Communications Cloud Native Core, Network Repository Function REST Specification Guide. - Enable using CNC Console: Set the value of the Service Priority Update Feature Status to ENABLED on the NF Discovery Options page. For more information about enabling the feature using CNC Console, see NF Discovery Options.
Configure
- Configure using REST API: Perform the feature configurations as described in Oracle Communications Cloud Native Core, Network Repository Function REST Specification Guide.
"profilesCountInDiscoveryResponse": 3,
"discoveryResultLoadThreshold": 0,
"servicePriorityUpdateFeatureStatus": "ENABLED"
"discoveryValidityPeriodCfg":
- Configure using CNC Console: Perform the feature configurations as described in NF Discovery Options.
Observability
Metrics
There are no new metrics added to this feature.
Alerts
There are no alerts added or updated for this feature.
KPIs
There are no new KPIs related to this feature.
Maintain
If you encounter alerts at system or application levels, see the NRF Alerts section for the resolution steps.
In case the alerts still persist, perform the following:
1. Collect the logs: For more information on collecting logs, see Oracle Communications Cloud Native Core, Network Repository Function Troubleshooting Guide.
2. Raise a service request: See My Oracle Support for more information on how to raise a service request.
4.33.3.1 Discovery Processing in NFService Priority Update with preferred-locality
- Filter out the NF Profiles matching the preferred-locality attribute
of NFDiscover service operation query.
- With preferred locality feature, the NF Profiles can be
filtered into two groups:
- the matching location group
- the non-matching location group
- With the Extended Preferred Locality feature enabled, the NF
Profiles can be filtered into four groups:
- the first matching location group
- the second matching location group
- the third matching location group
- the non-matching location group
- With preferred locality feature, the NF Profiles can be
filtered into two groups:
- Order the NF Profiles based on both priority and load values of NFService level and/or NF Profile level depending on the scenarios where Extended Preferred Locality feature is enabled or disabled.
- Modify and Set the priority for both NFService and NFProfile level, based on the offset calculation logic. For more information, regarding the priority value calculation and offset calculation logic see the priority value calculation in NFService Priority Update.
- NRF continues with the rest of the discovery flow.
If the feature is disabled, NRF continues with the existing flow skipping the above steps.
4.33.3.2 Configuring NFService Priority Update
If the value of the servicePriorityUpdateFeatureStatus is
ENABLED, NRF updates the NFService level priority along with
the NFProfile level priority. NRF updates the NFProfile level priority considering the
lowest NFProfile level priority of NFProfiles based upon specific preferred locality
features and NFService level priority considering the lowest NFService level priority of
NFServices based upon specific preferred locality features.
By default, the value of this servicePriorityUpdateFeatureStatus is
DISABLED.
Enable this feature in the {apiRoot}/nrf-configuration/v1/nfDiscoveryOptions API.
"servicePriorityUpdateFeatureStatus": "ENABLED"
4.34 Roaming Support
NRF supports the 3GPP defined inter-PLMN routing for NRF specific service operations like NFDiscover, AccessToken, NFStatusSubscribe, NFStatusUnSubscribe, and NFStatusNotify. To serve 5G subscribers roaming in a non-home network also known as visited or serving networks, consumer network functions in visited or serving networks need to access the NF Profiles located in the home network of 5G subscribers.
In this process, the consumer NFs sends the NRF specific service operations towards NRF which is in visited or serving network. Then, the visited or serving NRF routes these service operations towards the home NRF through SEPPs in visited or serving and home networks. NFDiscover, AccessToken, NFStatus Subscribe, and NFStatus UnSubscribe service operations are routed from visited or serving NRF to home NRF. NFStatusNotify service operation is initiated by the home network NRF towards consumer NFs residing in visited or serving network for inter-PLMN specific subscriptions.
Note:
XFCC specific validations are not supported for inter-PLMN service operations.3GPP specific attributes defined for different service operations plays a deciding role during inter-PLMN message routing.
- vNRF - visited or serving NRF when subscribers are roaming in non-home network.
- hNRF - NRF in home network of the subscribers.
Table 4-21 3GPP Attributes
| Attribute Name | Service Operation | Details |
|---|---|---|
| requester-plmn-list | NFDiscover |
If the requester-plmn-list matches with NRF PLMN list, it means that the NRF will function as vNRF. If the requester-plmn-list not matches with NRF PLMN list, it means that the NRF will function as hNRF. |
| target-plmn-list | NFDiscover |
When an NRF is vNRF, the target-plmn-list becomes a mandatory attribute to decide the target PLMN. In case the NRF is hNRF, this value can be optional but if it is present, then the value matches with hNRF PLMN. |
| requesterPlmnList | AccessToken |
If the requesterPlmnList matches with the NRF PLMN list, it means that the NRF will function as vNRF. If the requesterPlmnList does not match with the NRF PLMN list, it means that the NRF will function as hNRF. |
| requesterPlmn | AccessToken |
If the requesterPlmn matches with the NRF PLMN list, it means that the NRF will function as vNRF. If the requesterPlmn does not match with the NRF PLMN list, it means that the NRF will function as hNRF. In case both the requesterPlmnList and requesterPlmn attributes are present, then combined PLMN values are used. |
| targetPlmn | AccessToken |
When an NRF is vNRF, the targetPlmn is considered to decide the target PLMN. In case the NRF is hNRF, this value must match with the hNRF PLMN. |
| nfType | AccessToken |
When an NRF is hNRF, then this value is used for NRF NfAccessToken Authorization Feature. But in case this value is not present, then the
user-agent header is used. User-Agent header is present with
3GPP defined nfType. In case this header is not present, see
|
| reqPlmnList | NFStatusSubscribe |
If the reqPlmnList matches with the NRF PLMN list, it means that the NRF will function as vNRF. If the reqPlmnList does not match with the NRF PLMN list, it means that the NRF will function as hNRF. |
| nfStatusNotificationURI | NFStatusSubscribe | In case reqPlmnList attribute is not present in
Subscription data, then NRF will check that nfStatusNotificationURI is in inter-PLMN
format which is 5gc.mnc(\d\d\d).mcc(\d\d\d).3gppnetwork.org
format.
Sample: 5gc.mnc310.mcc314.3gppnetwork.org In case nfStatusNotificationURI is in this format, then this is used to find the role of NRF. However, if reqPlmnList is present, then this attribute have to be in inter-PLMN format. This will help when hNRF generate the notification towards visited or serving network. |
| plmnId | NFStatusSubscribe |
When an NRF is vNRF, then the plmnId is considered to decide the target PLMN. In case the NRF is hNRF, this value can be optional but if it is present, then the value shall match with the hNRF PLMN. |
| subscriptionId |
NFStatusSubscribe, NFStatusUnSubscribe |
subscriptionId also plays an important role during roaming cases. Subscription Id generated by hNRF will have 'roam' keyword prefixed in beginning of subscriptionId. It helps to identify the inter-PLMN request for subsequent service operations NFStatusSubscribe - Update and NFStatusUnSubscribe. |
Enable
- Enable using REST API: Set
featureStatustoENABLEDin Roaming Options configuration API. For more information about API path, see Oracle Communications Cloud Native Core, Network Repository Function REST Specification Guide. - Enable using CNC Console: Set Feature Status to ENABLED on the Roaming Options page. For more information about enabling the feature using CNC Console, see Roaming Options.
Note:
Before enabling thefeatureStatus attribute, ensure that the corresponding
configurations are completed.
Configure
- Configure NRF Roaming Options using REST API: Perform the feature
configurations as described in Oracle Communications Cloud Native Core, Network Repository Function REST
Specification Guide.
- Create or update
{apiRoot}/nrf/nf-common-component/v1/egw/peerconfiguration. Updatehostwith SEPP host.curl -v -X PUT "http://10.75.226.126:30747/nrf/nf-common-component/v1/egw/peerconfiguration" -H "Content-Type: application/json" -d @peer.json peer.json sample:- [ { "id": "peer1", "host": "sepp-stub-service", "port": "8080", "apiPrefix": "/", } ] - Create or update the
{apiRoot}/nrf/nf-common-component/v1/egw/peersetconfigurationto assign these peers. - Create or update
{apiRoot}/nrf/nf-common-component/v1/egw/sbiroutingerrorcriteriasets. - Create or update
{apiRoot}/nrf/nf-common-component/v1/egw/sbiroutingerroractionsets. - Update the
{apiRoot}/nrf/nf-common-component/v1/egw/routesconfigurationas mentioned below:curl -v -X PUT "http://10.75.226.126:32247/nrf/nf-common-component/v1/egw/routesconfiguration" -H "Content-Type: application/json" -d @header.json sample header.json:- [ { "id":"egress_sepp_proxy1", "uri": "http://localhost:32068/", "order": 0, "sbiRoutingConfiguration": { "enabled": true, "peerSetIdentifier": "set0" }, "httpRuriOnly": true, "httpsTargetOnly": true, "predicates": [{ "args": { "header": "OC-MCCMNC", "regexp": "310014" }, "name": "Header" }], "filters": [{ "name": "SbiRouting" }, { "args": { "retries": "3", "methods": "GET, POST, PUT, DELETE, PATCH", "statuses": "BAD_REQUEST, INTERNAL_SERVER_ERROR, BAD_GATEWAY, NOT_FOUND, GATEWAY_TIMEOUT", "exceptions": "java.util.concurrent.TimeoutException,java.net.ConnectException,java.net.UnknownHostException" }, "name": "SBIReroute" },{ "args": { "name": "OC-MCCMNC" }, "name": "RemoveRequestHeader" }], "metadata": { } }, {"id":"default_route","uri":"egress://request.uri","order":100,"predicates":[{"args":{"pattern":"/**"},"name":"Path"}]} ]For more information about the routes configuration on different deployments, see Egress Gateway Route Configuration for Different Deployments.
- Create or update
- Configure NRF Roaming Options using CNC Console: Perform the feature configurations as described in Roaming Options.
Observe
- ocnrf_roaming_nfStatusSubscribe_rx_requests_total
- ocnrf_roaming_nfStatusSubscribe_tx_responses_total
- ocnrf_roaming_nfStatusSubscribe_tx_requests_total
- ocnrf_roaming_nfStatusSubscribe_rx_responses_total
- ocnrf_roaming_nfStatusSubscribe_rx_requests_total
- ocnrf_roaming_nfStatusSubscribe_tx_responses_total
- ocnrf_roaming_nfStatusSubscribe_tx_requests_total
- ocnrf_roaming_nfStatusSubscribe_rx_responses_total
- ocnrf_roaming_nfStatusUnSubscribe_rx_requests_total
- ocnrf_roaming_nfStatusUnSubscribe_tx_responses_total
- ocnrf_roaming_nfStatusUnSubscribe_tx_requests_total
- ocnrf_roaming_nfStatusUnSubscribe_rx_responses_total
- ocnrf_roaming_nfDiscover_rx_requests_total
- ocnrf_roaming_nfDiscover_tx_responses_total
- ocnrf_roaming_nfDiscover_tx_requests_total
- ocnrf_roaming_nfDiscover_rx_responses_total
- ocnrf_roaming_accessToken_rx_requests_total
- ocnrf_roaming_accessToken_tx_responses_total
- ocnrf_roaming_accessToken_tx_requests_total
- ocnrf_roaming_accessToken_rx_responses_total
- ocnrf_roaming_nfStatusNotify_tx_requests_total
- ocnrf_roaming_nfStatusNotify_rx_responses_total
- ocnrf_roaming_jetty_latency_seconds
For more information on NRF Roaming Options metrics and KPIs, see Roaming Support Metrics, and NRF KPIs sections.
Maintain
If you encounter alerts at system or application levels, see NRF Alerts section for resolution steps.
In case the alerts still persists, perform the following:
- Collect the logs: For more information on how to collect logs, see Oracle Communications Cloud Native Core, Network Repository Function Troubleshooting Guide.
- Raise a service request: See My Oracle Support for more information on how to raise a service request.
4.35 EmptyList in Discovery Response
NRF checks the NFStatus of the target-nf-type in the NRF state data. It identifies whether the current status of the matching NFProfile is SUSPENDED.
If the NFStatus of all matching profiles is SUSPENDED, then NRF modifies the NFStatus of these profiles as "REGISTERED". The modified NFStatus is sent in the discovery response with a shorter validity period so that a call can be established. Upon expiry of the validityPeriod, the Requester NF must rediscover the target NF.
Note:
Change in the NFStatus of target-nf-type to REGISTERED is not stored in the database.- If matching profiles are found, then that profile is sent in the discovery response.
- If the NFStatus of all the matching profiles are in SUSPENDED state, then these profiles are sent in the discovery response as REGISTERED with a shorter validity period.
Managing EmptyList Feature
- Enable using REST API: Set
emptyListFeatureStatustoENABLEDin nfDiscovery Options configuration API. Also, setfeatureStatustoENABLEDto configure EmptyList for a particular nfType. For more information about API path, see Oracle Communications Cloud Native Core, Network Repository Function REST Specification Guide. - Enable using CNC Console: Set Feature Status to ENABLED for Empty Discovery Response. Also, set Feature Status to ENABLED to configure EmptyList for a particular nfType. For more information about enabling the feature using CNC Console, see NF Discovery Options.
Observe
ocnrf_nfDiscover_emptyList_total metric is added for the EmptyList feature.
OcnrfNFDiscoveryEmptyListObservedNotification alert is added for the EmptyList feature.
Maintain
If you encounter alerts at system or application levels, see NRF Alerts section for resolution steps.
In case the alerts still persists, perform the following:
- Collect the logs: For more information on how to collect logs, see Oracle Communications Cloud Native Core, Network Repository Function Troubleshooting Guide.
- Raise a service request: See My Oracle Support for more information on how to raise a service request.
4.36 Overload Control Based on Percentage Discards
The Overload Control feature protects the system from overload and maintains the overall health of NRF. The system needs to detect overload conditions, protect, mitigate, and avoid entering into an overload condition, and take necessary actions for recovering from overload.
NRF provides the following means for overload management:
- Predefined threshold load levels.
- Tracks number of pending messages.
- Tracks CPU usage.
- Enforce load shedding during various overload levels.
- CPU Utilization
- Pending Message Count
- Failure Count
Note:
NRF has deprecated memory based overload control as it is already covered by pending message count overload control.
The overload level is configured for the following NRF microservices:
- Registration
- Discovery
- AccessToken
The Overload Manager module in Perf-Info is configured or updated with the
threshold value for services. A configurable flag is available for sampling interval as
ocPolicyMapping.samplingPeriod based on which Ingress Gateway
calculates rate per service in the current sampling period and applies appropriate
discard policies and actions in the subsequent sampling period.
Overload Manager triggers Rate Calculator to start calculating the rate of incoming requests per service per sampling period. Ingress Gateway receives a notification event per service with the calculated rates to the Overload Manager filter at the end of every sampling period. It applies an appropriate configured discard policy for a particular service based on the rate of requests.
Ingress Gateway calculates the number of requests to be dropped in the current sampling period based on configured percentage discard.
Overload Thresholds for each service is evaluated based on four metrics namely cpu, svc_failure_count, and svc_pending_count. Overload control is triggered if the thresholds for any one metrics are reached.
Managing Overload Control Feature
- Open the
ocnrf_custom_values_25.1.100.yamlfile. - Set
global.performanceServiceEnableparameter totrueinocnrf_custom_values_25.1.100.yamlfile. - Set
perf-info.overloadManager.enabledparameter totrueinocnrf_custom_values_25.1.100.yamlfile. - Configure the Prometheus URI in
perf-info.configmapPerformance.prometheusinocnrf_custom_values_25.1.100.yamlfile. - Save the
ocnrf_custom_values_25.1.100.yamlfile. - Ensure that the
autoscalingandappsapiGroups are configured under service account. For more information on configuration, see "Creating Service Account, Role and Role Binding Resources" section in Oracle Communications Cloud Native Core, Network Repository Function Installation, Upgrade, and Fault Recovery Guide. - Run
helm upgrade, if you are enabling this feature after NRF deployment. For more information on upgrade procedure, see Oracle Communications Cloud Native Core, Network Repository Function Installation, Upgrade, and Fault Recovery Guide.
- Configure using REST API: The Overload Control feature
related configurations are performed at Ingress Gateway and Perf-Info.
The following REST APIs must be configured for this feature:For more information about APIs, see "Common Services REST APIs" section in the Oracle Communications Cloud Native Core, Network Repository Function REST Specification Guide
{apiRoot}/nrf/nf-common-component/v1/perfinfo/overloadLevelThreshold{apiRoot}/nrf/nf-common-component/v1/igw/errorcodeprofiles{apiRoot}/nrf/nf-common-component/v1/igw/ocdiscardpolicies{apiRoot}/nrf/nf-common-component/v1/igw/ocpolicymapping{apiRoot}/nrf/nf-common-component/v1/igw/errorcodeserieslist{apiRoot}/nrf/nf-common-component/v1/igw/routesconfiguration
- Configure using CNC Console: Perform the following configurations:
- Create or update Error Code Profile.
- Create or update the Overload Control Discard Policy.
- Create or update Overload Control Policy Mapping.
- Create or update Error Code Series.
- Update the Routes Configuration as mentioned above.
Disable
- Use
{apiRoot}/nrf/nf-common-component/v1/igw/ocpolicymappingAPI and setenabledto false as follows:{ "enabled": false, "mappings": [ { "svcName": "ocnrf-nfdiscovery", "policyName": "nfdiscoveryPolicy" }, { "svcName": "ocnrf-nfaccesstoken", "policyName": "nfaccesstokenPolicy" }, { "svcName": "ocnrf-nfregistration", "policyName": "nfregistrationPolicy" } ], "samplingPeriod": 200 } - Open the
ocnrf_custom_values_25.1.100.yamlfile. - Set
perf-info.overloadManager.enabledparameter tofalseinocnrf_custom_values_25.1.100.yamlfile. - (Optional) Set
global.performanceServiceEnableparameter tofalseinocnrf_custom_values_25.1.100.yamlfile.Note:
Perform this step only if you want to disable complete Perf-Info service. - Save the
ocnrf_custom_values_25.1.100.yamlfile. - Run
helm upgrade, if you are disabling this feature after NRF deployment. For more information on upgrade procedure, see Oracle Communications Cloud Native Core, Network Repository Function Installation, Upgrade, and Fault Recovery Guide.
Observe
The following metric is added for the Overload Control feature:
load_level
For more information about the metric, see Overload Control.
There are no KPIs for this feature.
For more information on the entire list of KPIs, see NRF KPIs.
Identifying Kubernetes Tag for Overload Control
The following procedure explains how to identify the tags for different Kubernetes version:- Log in to Prometheus.
- Enter
cgroup_cpu_nanosecondsquery in Prometheus as shown:Figure 4-21 Prometheus Search

- In the response, search for the tags that contain the values for
name of the container, NRF deployment
namespace, and name of the NRF
services:
Figure 4-22 Tag Search

- Use the tags from the response to configure the following parameters
under Perf-Info microservice:
tagNamespacetagContainerNametagServiceName
For example, in the Figure 4-22 image,
namespaceis the tag that contain the value for NRF deployment namespace. You need to setnamespaceas the value fortagNamespaceparameter in Perf-Info microservice. For more information on the parameters, see Perf-Info section in Oracle Communications Cloud Native Core, Network Repository Function Installation, Upgrade, and Fault Recovery Guide.
Maintain
If you encounter alerts at system or application levels, see NRF Alerts section for resolution steps.
In case the alerts still persists, perform the following:
- Collect the logs: For more information on how to collect logs, see Oracle Communications Cloud Native Core, Network Repository Function Troubleshooting Guide.
- Raise a service request: See My Oracle Support for more information on how to raise a service request.
4.37 DNS NAPTR Update
Note:
NRF considers the priority of the peer only for peer selection.Enable
You must enable Artisan microservice for DNS NAPTR Update as follows:- Open the
ocnrf_custom_values_25.1.100.yamlfile. - Set
enableNrfArtisanServiceto true to enable Artisan microservice. - Save the file.
- Run Helm install. For more information about installation procedure, see Oracle Communications Cloud Native Core, Network Repository Function Installation, Upgrade, and Fault Recovery Guide.
- If you are enabling this parameter after NRF deployment, run helm upgrade. For more information about upgrade procedure, see Oracle Communications Cloud Native Core, Network Repository Function Installation, Upgrade, and Fault Recovery Guide.
- Set the DNS configuration as described in the "DNS NAPTR Configuration in Alternate Route Service" section of Oracle Communications Cloud Native Core, Network Repository Function REST Specification Guide.
- After enabling Artisan microservice, enable DNS NAPTR Update Options using the
REST API or CNC Console:
- Enable using REST API: Set
featureStatustoENABLEDin dnsNAPTRUpdateOptions configuration API. For more information about API path, see Oracle Communications Cloud Native Core, Network Repository Function REST Specification Guide. - Enable using CNC Console: Set Feature Status to ENABLED on the DNS NAPTR Update Options page. For more information about enabling the feature using CNC Console, see DNS NAPTR Update Options Options.
- Enable using REST API: Set
Configure
- Configure using REST API: Perform the feature configurations as described in Oracle Communications Cloud Native Core, Network Repository Function REST Specification Guide.
- Enable using CNC Console: Perform the feature configurations as described in DNS NAPTR Update Options Options.
Observe
- ocnrf_dns_naptr_tx_requests_total
- ocnrf_dns_naptr_rx_responses_total
- ocnrf_dns_naptr_audit_tx_requests_total
- ocnrf_dns_naptr_audit_rx_responses_total
- ocnrf_dns_naptr_failure_rx_responses
- ocnrf_dns_naptr_round_trip_time_seconds
- ocnrf_dns_naptr_nfRegistration_tx_requests_total
- ocnrf_dns_naptr_nfRegistration_rx_responses_total
- ocnrf_dns_naptr_nrfAuditor_tx_requests_total
- ocnrf_dns_naptr_nrfAuditor_rx_responses_total
- ocnrf_dns_naptr_trigger_rx_requests_total
- ocnrf_dns_naptr_trigger_tx_responses_total
- oc_alternate_route_upstream_dns_request_timeout_total
Maintain
If you encounter alerts at system or application levels, see NRF Alerts section for resolution steps.
In case the alerts still persists, perform the following:
- Collect the logs: For more information about how to collect logs, see Oracle Communications Cloud Native Core, Network Repository Function Troubleshooting Guide.
- Raise a service request: See My Oracle Support for more information about how to raise a service request.
4.38 Notification Retry
NRF supports notification retry
mechanism in case of the following scenarios in sending NfStatusNotify
message. Based on the configured Notification Retry Profile, the NRF attempts to re-send the
NfStatusNotify message on failures until the retry attempt is
exhausted.
- 4xx, 5xx Response Codes from notification callback server of the NF
- Connection Timeout between NRF Egress Gateway and notification callback server of the NF
- Request Timeout at NRF Egress Gateway
NfStatusNotify message to the Egress Gateway. Upon failure of the
request, Egress Gateway retries towards the notification callback server of the NF
depending on the configuration. The retries will happen depending upon the response
codes, exception list or timeout configuration in the
nfManagementOptions.
Note:
This is applicable only when direct routing is used for routing notification messages.Managing Notification Retry Feature
EnableYou can enable the Notification Retry feature using the CNC Console or REST API.
- Enable using REST API: Set
requestRetryDetails.featureStatusto ENABLED in NF Management Options configuration API. For more information about API path, see Oracle Communications Cloud Native Core, Network Repository Function REST Specification Guide. - Enable using CNC Console: Set Feature Status to ENABLED under Notification Retry section on the NF Management Options page. For more information about enabling the feature using CNC Console, see the NF Management Options section.
Configuring DefaultRouteRetry in Egress Gateway
DefaultRouteRetry filter must be added to the Egress Gateway
default route configuration.
Note:
- The value of
nfsubscription.jetty.request.idleTimeoutparameter must be greater than total request timeout value(totalRequestTimeout = ((retryCount+1) * requestTimeout) + 1000)if notification retry feature is enabled. For more information about the parameter, see the "NF Subscription Microservice(nfsubscription)" section in Oracle Communications Cloud Native Core, Network Repository Function Installation, Upgrade, and Fault Recovery Guide. - If attempts are done due to request
timeouts, then it is possible that the backend services may timeout
before all the attempts are completed. In order to avoid this, the
backend requestTimeout attributes must be configured considering the
total number of Egress reroutes and the Egress Gateway requestTimeout.
The discovery requestTimeout values are configured using
nfdiscovery.jetty.request.timeoutparameter.
DefaultRouteRetry:curl -X PUT "http://ocnrf-nrfconfiguration:8080/nrf/nf-common-component/v1/egw/routesconfiguration" -H 'Content-Type:application/json' -d
'[{
"id": "default_route",
"uri": "egress://request.uri",
"order": 100,
"filters": [{
"name": "DefaultRouteRetry"
}],
"predicates": [{
"args": {
"pattern": "/**"
},
"name": "Path"
}]
}]'This updates the hostname and port of the
ocnrf-nrfconfiguration and reflects the details to access the
NRF configuration.
Note:
To disable the notification retry, remove theDefaultRouteRetry filter from the
{apiRoot}/nrf/nf-common-component/v1/egw/routesconfiguration,
and retain the default_route configuration. This
default_route configuration is available by default during
fresh installation or upgrade. Following is the sample default route configuration:
{
"id": "default_route",
"uri": "egress://request.uri",
"order": 100,
"predicates": [{
"args": {
"pattern": "/**"
},
"name": "Path"
}]
}Configure
- Configure using REST API: Perform the feature configurations as described in Oracle Communications Cloud Native Core, Network Repository Function REST Specification Guide.
- Enable using CNC Console: Perform the feature configurations as described in the NF Management Options section.
Observe
ocnrf_nfStatusNotify_rx_responses_total metric in the NRF NF Metrics section:
- NotificationHostPort
- NumberOfRetriesAttempted
Alert
Maintain
If you encounter alerts at system or application levels, see NRF Alerts section for resolution steps.
In case the alerts still persists, perform the following:
- Collect the logs: For more information on how to collect logs, see Oracle Communications Cloud Native Core, Network Repository Function Troubleshooting Guide.
- Raise a service request: See My Oracle Support for more information about how to raise a service request.
4.39 NRF Message Feed
NRF supports copying of both request and response HTTP messages routed through Ingress and Egress Gateways, to a Data Director.
Data Director receives the messages from Gateways with a correlation-id and feeds the data securely to an external monitoring system.
The correlation-id in the messages is used as a unique identifier for every transaction. If the request does not have the correlation-id, the Gateway generates the correlation-id and then passes it to Data Director.
Upon receiving an Ingress Gateway requests containing a correlation-Id, the NRF microservices includes this correlation-Id in following Egress Gateway requests that may be generated by the NRF based on the Ingress Gateway transaction:
- Inter-PLMN
- SLF
- Forwarding
- Notification
The communication between the Gateways and the Data Director is encrypted using TLS. Also, the Gateways authenticate itself to Data Director using Simple Authentication and Security Layer (SASL). For more information on configuring SASL, see Configuring SASL.
Note:
NRF does not copy the following messages to Data Director:- NRF Discovery for SLF (Artisan to Discovery query for filling SLF Candidate List)
- NRF Getting AccessToken for SLF (Egress Gateway Microservice to AccessToken for fetching Token for SLF request)
Managing NRF Message Feed Feature
Enable
You can enable Message Feed feature using the Helm:
- Open the
ocnrf_custom_values_25.1.100.yamlfile. - Set
ingress-gateway.message-copy.enabledto true to enable message copying at the Ingress Gateway. - Set
egress-gateway.message-copy.enabledto true to enable message copying at the Egress Gateway. - Save the file.
- Install NRF. For more information about installation procedure, see Oracle Communications Cloud Native Core, Network Repository Function Installation, Upgrade, and Fault Recovery Guide.
- If you are enabling this parameter after NRF deployment, upgrade
NRF. For more
information about upgrade procedure, see Oracle Communications Cloud Native Core, Network Repository Function
Installation, Upgrade, and Fault Recovery Guide.
Note:
Enabling the Message Feed feature on both the Ingress and Egress Gateways may affect pod capacity, depending on your usage model and configuration.
Configure
There is no configurations to be performed using the REST API or CNC Console.
Configuring SASL
- Generate your SSL Certificates.
Note:
Creation process for private keys, certificates and passwords is based on discretion of user or operator. -
Before copying the certificates into the secret, add the DD Root certificates contents into the CA certificate (caroot.cer) generated for NRF as follows:
Note:
Make sure you have added 8 hyphens "-"between 2 certificates.-----BEGIN CERTIFICATE----- <existing caroot-certificate content> -----END CERTIFICATE----- -------- -----BEGIN CERTIFICATE----- <DD caroot-certificate content> -----END CERTIFICATE----- - Create secrets for both Ingress and Egress Gateway for
authentication with Data Director. To create a secret you need to store the
password in a text file and using same file need to create a new secret. Run the
following command to create secret:
For more information on creating secrets, see Oracle Communications Cloud Native Core, Network Repository Function Installation, Upgrade, and Fault Recovery Guide.
kubectl create secret generic ocingress-secret --from-file=ssl_ecdsa_private_key.pem --from-file=rsa_private_key_pkcs1.pem --from-file=ssl_truststore.txt --from-file=ssl_keystore.txt --from-file=caroot.cer --from-file=ssl_rsa_certificate.crt --from-file=ssl_ecdsa_certificate.crt --from-file=sasl.txt -n <namespace> kubectl create secret generic ocegress-secret --from-file=ssl_ecdsa_private_key.pem --from-file=ssl_rsa_private_key.pem --from-file=ssl_truststore.txt --from-file=ssl_keystore.txt --from-file=ssl_cabundle.crt --from-file=ssl_rsa_certificate.crt --from-file=ssl_ecdsa_certificate.crt --from-file=sasl.txt -n <namespace> - Configure the SSL section as described in Oracle Communications Cloud Native Core, Network Repository Function Installation, Upgrade, and Fault Recovery Guide.
- Configure the message copy feature as described in Oracle Communications Cloud Native Core, Network Repository Function Installation, Upgrade, and Fault Recovery Guide.
- Configure the SASL_SSL port in the kafka.bootstrapAddress attribute.
Observe
- oc_ingressgateway_msgcopy_requests_total
- oc_ingressgateway_msgcopy_response_total
- oc_ingressgateway_dd_unreachable
- oc_egressgateway_msgcopy_requests_total
- oc_egressgateway_msgcopy_response_total
- oc_egressgateway_dd_unreachable
Maintain
If you encounter alerts at system or application levels, see NRF Alerts section for resolution steps.
In case the alerts still persists, perform the following:
- Collect the logs: For more information on how to collect logs, see Oracle Communications Cloud Native Core, Network Repository Function Troubleshooting Guide.
- Raise a service request: See My Oracle Support for more information on how to raise a service request.
4.40 Subscription Limit
In 5G architecture, Network Functions (NFs) subscribe to be notified for a change in the producer NF Profile in a network using the NFStatusSubscribe service Operation. This subscription is managed by NRF Management microservice and maintained in the database for a particular period. A notification is triggered when there is change in the producer NF Profile to the Consumer NFs by the NRF subscription microservice.
If the number of subscriptions created is very high, it may trigger a huge number of notification requests. This might lead to the overload of the NRF subscription microservice.
NRF restricts the number of allowed subscriptions to avoid overload condition at NRF subscription microservice. NRF regulates the maximum number of allowed subscriptions in the database using a configurable Global Subscription Limit. In case of georedundant NRF, the limit is applied across all the mated sites.
Note:
The subscription limit must be configured with the same across all georedundant site.NRF evaluates the global subscription limit condition every time an NF tries to create a new subscription or update an existing subscription. If the limit is breached, new subscriptions are not created or renewed, and the subscription requests are rejected with configured error code. Upon the global subscription limit is breached as well as approaching the breach threshold, specific alerts are raised based on the threshold level.
Managing NRF Subscription Limit Feature
Prerequisites
Following are the prerequisites to enable the feature:
- All the georedundant sites must be upgraded to NRF 25.1.100 release.
- Replication link between all the georedundant sites must be up. The
OcnrfDbReplicationStatusInactivealert indicates if the replication link is inactive. If this alert is raised in any of the sites, wait till it is cleared. - Wait until all the subscription records are migrated. The OcnrfSubscriptionMigrationInProgressWarn and OcnrfSubscriptionMigrationInProgressCritical alerts indicate whether the migration is complete. If this alert is raised in any of the sites, wait till it is cleared.
Enable
- Enable using REST API: Set
subscriptionLimit.featureStatusto ENABLED in NF Management Options configuration API. For more information about API path, see Oracle Communications Cloud Native Core Network Repository Function REST Specification Guide. - Enable using CNC Console: Set Feature Status to ENABLED under Subscription Limit section on the NF Management Options page. For more information about enabling the feature using CNC Console, see the NF Management Options section.
Configure
- Configure using REST API: Perform the feature configurations as described in Oracle Communications Cloud Native Core, Network Repository Function REST Specification Guide
- Enable using CNC Console: Perform the feature configurations as described in the NF Management Options section.
Observe
RejectionReason=SubscriptionLimitExceededdimension is added forocnrf_nfStatusSubscribe_tx_responses_totalmetric.
- ocnrf_nfset_active_subscriptions
- ocnrf_nfset_limit_level
- ocnrf_subscription_migration_status
Alerts
KPIs
Maintain
If you encounter alerts at system or application levels, see NRF Alerts section for resolution steps.
In case the alerts still persists, perform the following:
- Collect the logs: For more information on how to collect logs, see Oracle Communications Cloud Native Core, Network Repository Function Troubleshooting Guide.
- Raise a service request: See My Oracle Support for more information on how to raise a service request.
4.41 Automated Test Suite Support
NRF provides Automated Test Suite (ATS) for validating the functionalities. ATS allows you to run NRF test cases using an automated testing tool, and then compares the actual results with the expected or predicted results. In this process, there is no intervention from the user. For more information on installing and configuring ATS, see Oracle Communications Cloud Native Core, Automated Test Suite User Guide.