4 Action Sets
This chapter describes the components and functions of an NPP Action Set.
Action Sets
NPP allows customized numbering plan processing behavior to be provisioned as an Action Set. Up to 1024 Actions Sets are supported by an EAGLE.
An Action Set consists of three types of Actions and an outgoing FNAI class:
- Conditioning Actions (CAs; up to 12 per Action Set) determine how a digit string is manipulated prior to applying service-specific behavior Digit manipulation includes number conditioning to international format and extraction of digits to use in formatting the outgoing digit string.
- Service Actions (SAs; up to 8 per Action Set) determine what service-specific behavior to apply to a digit string (such as corrective dialing and number portability checking).
- Formatting Actions (FAs; up to 12 per Action Set) determine how the outgoing digit string is formatted after Service Action execution.
- Outgoing FNAI Class (outgoing FNAI or OFNAI ; one per Action Set) setting communicates the NAI of the outgoing digit string to the calling service.
Figure 4-1 shows the relationship between Actions and Action Sets.
Figure 4-1 Action and Action Set Relationship

Action Set Examples
- Properly formatted NATL calls
- Messages with unknown NAI, a National Escape Code of 1, and 10 digits
Table 4-1 Action Set Actions Scenarios
| Filter Nature of Address | Filter Prefix | Filter Digit Length | Conditioning Actions | Service Actions | Format | Outgoing NAI |
|---|---|---|---|---|---|---|
| NATL | * | * | Add Default Country Code | Number portability | RN+DN | NATL |
| Unknown | 1 | 11 | Delete matched prefix, add Default Country Code | Number portability | RN+DN | Incoming |
Conditioning Actions
NPP defines a set of Conditioning Actions (CAs) that are available to all NPP services. Conditioning Actions determine how a digit string is manipulated before service-specific behavior is applied to the digit string. The behavior of CAs does not differ between services; however, each service defines which CAs it supports. NPP allows up to 12 CAs per Action Set; certain CAs can occur more than once in an Action Set.
Table 6-2 lists CAs and their purpose.
Conditioning Actions are executed in the order of the consecutive numbers of the provisioned Conditioning Action parameters, or in thesequence of the values in the CA parameter comma-separated list. Enough Conditioning Actions must be provisioned to process all of the digits in the incoming digit string from the beginning to the end of the string.
Conditioning Actions determine whether or not digit strings that represent subscriber numbers are in international format. International format is defined as "CC + AC + SN" or "CC + DN" or "ZN" (see Table 6-2 for definitions). If a digit string is not in international format, the Conditioning Actions are used to convert the digit string to international format, which is required for performing RTDB lookup.
Conditioning Actions extract digits from the incoming digit string and assign the digits as values that are later used to format the outgoing digit string.
For filters with FDL=* (wildcard), the associated Conditioning Action group must contain a ZNX, DNX, or SNX Conditioning Action. For filters with specific FDL (Filter Digit Length) values, the associated Conditioning Action group must process the entire number of digits (by either ignoring or processing them).
Conditioning Action Examples
The following examples illustrate simple to more complex Conditioning Action scenarios:
- EXAMPLE 1: Standard national calls all receive the same handling where NAI=NATL, digits XXXXXXXXXX
To condition this number to international format, the Country Code must be prefixed. The conditioning action (CA) for this is Country Code Default (CCDEF)
If CCDEF = 55 (for example), and the digit string is 87654321, then the digit string will become 5587654321
- Filter NAI = national (FNAI = NATL)
- Filter Prefix = wildcard (FPFX = *)
- Filter Digit Length = wildcard (FDL = *)
- EXAMPLE 2: International calls with International Escape Code where NAI = international (INTL), digits 011 + XXXXXXXXXXXX
It is common that international calls need only to "escape" any service processing. In these cases, no CAs are required.
- FNAI = INTL
- FPFX = 011
- FDL = *
- EXAMPLE 3: Collect calls with Operator Code, Area Code follows the Operator Code, NAI=Unknown, digits 'b' + AC + 9090 + XXXXXXXX
If the digit string is b33909087654321, FPFX = b339090 is matched. To achieve standard international format, "b" and "9090" must be stripped, Area Code "33" must be placed next to Directory Number "87654321", and the Country Code must be prefixed. The Conditioning Actions for this scenario are shown in Table 4-2.
- FNAI = UNKNOWN
- FPFX = b (or FPFX = b339090 or FPFX = b349090, etc. -- there are many options for this configuration)
- FDL = 15
Table 4-2 Conditioning Actions for Collect Calls with Operator Code
| Conditioning Action... | Consisting of Formatting Actions... | Resulting Digit String |
|---|---|---|
| [incoming digit string = b33909087654321] | ||
| IGN1 | [no Formatting Action, just ignore first digit] | 33909087654321 |
| AC2 | AC =33 | 909087654321 |
| PFXA4 | AC=33, PFXA=9090 | 87654321 |
| SNX | AC=33, PFXA=9090, SN=87654321 | |
| CCDEF | AC=33, PFXA=9090, SN=87654321, CC=55 |
Conditioning Action Execution
Conditioning Actions process the incoming digit string from the beginning to the end of the string, and extract digits from the string to be used in Service Action execution and Formatting Action execution. All digits must be ignored, assigned as Formatting Action values, or replaced by a Formatting Action value with a provisioned default value.
Conditioning Action execution identifies the digit strings that correspond to the subscriber number in international format, and populates the appropriate Formatting Action values to encode the outgoing digit string. A digit string in international format is passed to each Service Action that is executed for the service.
Service Actions
Service Actions (SAs) determine the EAGLE behavior to apply to a digit string. NPP allows up to 8 SAs to be associated with a single Action Set. Service Actions are provisioned and executed in order of an assigned precedence (see Service Action Precedence).
Service Action behavior is determined by the EAGLE feature or function (service) that invokes NPP. The service must provide a Service Action Handler for each Service Action that it supports. Such behavior includes Number Portability Release and Relay, RTDB lookup, and simple number substitution, and use of Additional Subscriber Data (ASD)and Generic Routing Number (GRN).
Table 6-3 describes valid Service Actions, the precedence for each Service Action, and EAGLE features and functions that use each Service Action.
Service Action Examples
The following examples illustrate Service Action scenarios:
- Example 1: Standard national calls all receive the same handling; NAI=NATL XXXXXXXXXX
If number portability service is needed here, then the IDP Relay Service Action can be just CDPNNP.
- Example 2: International calls with International Escape Code; NAI=INTL 011+XXXXXXXXXXXX
This call just wants to "escape" any service processing. There is no Service Action in this rule.
- Example 3: Collect Calls with Operator Code, Area Code in-between; NAI=Unknown ‘b’+AC+9090+XXXXXXXX
For this filter, the desired actions are number portability and forward the message to the Service Creation System (SCS). The Service Actions for TIF are NPRELAY and FWDSCS.
- Example 4: Fraudulent Calls
The FRAUDCHK Service Action uses the conditioned digit string for the RTDB lookup to determine whether the message Calling Party belongs to the network and to determine whether the call is fraudulent.
- Example 5: Prepaid calls
The PPRELAY Service Action uses the conditioned digit string for RTDB lookup to determine whether the Calling Party or Called Party is a prepaid subscriber, and for prepaid calls sets the message to be routed to a Prepaid Server.
Service Action Execution
Each service can support one or more Service Actions that can be assigned to the Action Sets in the Service Rule Set for the service.
Each Service Actions performs service-specific behavior for a conditioned digit string that it receives from a Conditioning Action that is executed for the service. The behavior is determined by feature-specific provisioned data and feature-specific logic. NPP verifies that the service status is ON for the calling service before executing Service Actions for the service.
When multiple Service Actions can be associated with an NPP Action Set for a service, the service must define the precedence value for each Service Action that it supports. The precedence determines the order in which multiple Service Actions will be executed for the service. Service Action precedence is represented by a number between 0 and 100. Higher precedence Service Actions are always executed before lower precedence Service Actions; execution of a lower precedence Service Action ahead of higher precedence Service Action is prevented. Service Actions can be defined with equal precedence. NPP executes Service Actions of equal precedence in the order of the consecutive numbers of the provisioned SAx parameters, or in the sequenced list of comma-separated SA parameter values.
NPP processes messages for MO SMS features when the smsmr service selector is provisioned. NPP verifies that the required MO SMS feature is enabled and on before executing a Service Action that is provisioned for an MO SMS service. The Service Actions are executed in precedence sequence first for Calling Party numbers (IS41 Original Originating Address digits or GSM MSISDN digits), then for Called Party numbers (IS41 Destination Address or Original Destination Address, or GSM TP-DA digits).
When the TIF Subscr CgPN Blacklist feature, the TIF Range CgPN Blacklist feature, or the TIF Selective Screening feature is on, two Service Action Data (SA Data) values can be associated with each provisioned TIF CgPN/CdPN Blacklist Service Action to provide configurable Release Cause values for the blacklist scenarios. The first value is used for ANSI ISUP and the second value is used for ITU ISUP.
NPP Formatting Action values can be populated during Service Action execution (see Provisioning Formatting Actions).
Upon execution completion, the Service Action indicates whether to continue executing another Service Action and whether to execute Formating Actions. The CDIAL Service Action can be provisioned to execute Formatting Actions even when a Service Action indicates that Formatting Action execution should not occur.
Service Action Precedence
Multiple service actions (SAs) can be associated with an NPP Action Set. To provide a systematic method for Service Action provisioning and execution, SA precedence value is assigned. Each service defines the order in which SAs are executed. SA execution order follows the defined SA precedence value.
SA precedence is represented by a number between 0 and 100. Higher precedence SAs are always executed before lower precedence SAs; provisioning of a lower precedence SA ahead of higher precedence SA is prevented. SAs can be defined with equal precedence. NPP executes SAs of equal precedence in the order of the consecutive numbers of the provisioned SAx parameters, or in the sequence of the values in the SA parameter comma-separated list.
Table 4-3 shows an example group of SAs and their precedence values.
Table 4-3 Service Action Precedence Example
| Example Service Action Name | Precedence | Notes |
|---|---|---|
| EXSA1 | 100 | Always executed first regardless of provisioning order |
| EXSA2 | 50 | Always executed after EXSA1 and prior to EXSA4; EXSA2 and EXSA3 execution order is dependent on the order provisioned. |
| EXSA3 | 50 | Always executed after EXSA1 and prior to EXSA4; EXSA2 and EXSA3 execution order is dependent on the order provisioned. in consecutively numbered :sa[x] parameters. |
| EXSA4 | 10 | Always executed last |
Given the SA precedence values defined in Table 4-3, the SA groups defined in Table 4-4 are allowed and the SA groups defined in Table 4-5 are prevented.
Table 4-4 Valid Service Action Group Examples
| Service Action Group | Validity | Notes |
|---|---|---|
|
:sa1=EXSA1 :sa=EXSA1 |
Valid | Single Service Actions always execute in the correct order [100] |
|
:sa1=EXSA2 :sa=EXSA2 |
Valid | Single Service Actions always execute in the correct order [50] |
|
:sa1=EXSA3 :sa=EXSA3 |
Valid | Single Service Actions always execute in the correct order [50] |
|
:sa1=EXSA4 :sa=EXSA4 |
Valid | Single Service Actions always execute in the correct order [10] |
|
:sa1=EXSA1:sa2=EXSA2 :sa=EXSA1,EXSA2 |
Valid | Service Actions executed in order of precedence [100, 50] |
|
:sa1=EXSA1:sa2=EXSA3 :sa=EXSA1,EXSA3 |
Valid | Service Actions executed in order of precedence [100, 50] |
|
:sa1=EXSA1:sa2=EXSA4 :sa=EXSA1,EXSA4 |
Valid | Service Actions executed in order of precedence [100, 10] |
|
:sa1=EXSA1:sa2=EXSA2:sa3=EXSA3 :sa=EXSA1,EXSA2,EXSA3 |
Valid | Service Actions executed in order of precedence [100,50,50] – Service Actions of equal precedence execute in the order provisioned (EXSA2 then EXSA3). |
|
:sa1=EXSA1:sa2=EXSA2:sa3=EXSA4 :sa=EXSA1,EXSA2,EXSA4 |
Valid | Service Actions executed in order of precedence [100,50, 10] |
|
:sa1=EXSA1:sa2=EXSA3:sa3=EXSA2 :sa=EXSA1,EXSA3,EXSA2 |
Valid | Service Actions executed in order of precedence [100,50,50] – Service Actions of equal precedence execute in the order provisioned (EXSA3 then EXSA2). |
|
:sa1=EXSA1:sa2=EXSA3:sa3=EXSA4 :sa=EXSA1,EXSA3,EXSA4 |
Valid | Service Actions executed in order of precedence [100,50,10] |
|
:sa1=EXSA1:sa2=EXSA2:sa3=EXSA3:sa4=EXSA4 :sa=EXSA1,EXSA2,EXSA3,EXSA4 |
Valid | Service Actions executed in order of precedence [100,50,50,10] – Service Actions of equal precedence execute in the order provisioned (EXSA2 then EXSA3). |
|
:sa1=EXSA1:sa2=EXSA3:sa3=EXSA2:sa4=EXSA4 :sa=EXSA1,EXSA3,EXSA2,EXSA4 |
Valid | Service Actions executed in order of precedence [100,50,50,10] – Service Actions of equal precedence execute in the order provisioned (EXSA3 then EXSA2) |
|
:sa1=EXSA2:sa2=EXSA3 :sa=EXSA2,EXSA3 |
Valid | Service Actions executed in order of precedence [50,50] – Service Actions of equal precedence execute in the order provisioned (EXSA2 then EXSA3) |
|
:sa1=EXSA2:sa2=EXSA3:sa3=EXSA4 :sa=EXSA2,EXSA3,EXSA4 |
Valid | Service Actions executed in order of precedence [50,50, 10] – Service Actions of equal precedence execute in the order provisioned (EXSA2 then EXSA3) |
|
:sa1=EXSA2:sa2=EXSA4 :sa=EXSA2,EXSA4 |
Valid | Service Actions executed in order of precedence [50,10] |
|
:sa1=EXSA3:sa2=EXSA2 :sa=EXSA3,EXSA2 |
Valid | Service Actions executed in order of precedence [50,50] – Service Actions of equal precedence execute in the order provisioned (EXSA3 then EXSA2). |
|
:sa1=EXSA3:sa2=EXSA2:sa3=EXSA4 :sa=EXSA3,EXSA2,EXSA4 |
Valid | Service Actions executed in order of precedence [50,50,10] – Service Actions of equal precedence execute in the order provisioned (EXSA3 then EXSA2) |
|
:sa1=EXSA3:sa2=EXSA4 :sa=EXSA3,EXSA4 |
Valid | Execution follows Service Action precedence in decreasing order [50, 10] |
Table 4-5 Invalid Service Action Group Examples
| Service Action Group | Validity | Notes |
|---|---|---|
|
:sa1=EXSA4:sa2=EXSA1 :sa1=EXSA4,EXSA1 |
Invalid | Violated Service Action precedence (10 < 100) |
|
:sa1=EXSA4:sa2=EXSA2 :sa=EXSA4,EXSA2 |
Invalid | Violated Service Action precedence (10 < 50) |
|
:sa1=EXSA4:sa2=EXSA3 :sa=EXSA4,EXSA3 |
Invalid | Violated Service Action precedence (10 < 50) |
|
:sa1=EXSA2:sa2=EXSA1 :sa=EXSA2,EXSA1 |
Invalid | Violated Service Action precedence (50 < 100) |
|
:sa1=EXSA3:sa2=EXSA1 :sa=EXSA3,EXSA1 |
Invalid | Violated Service Action precedence (50 < 100) |
|
:sa1=EXSA1:sa2=EXSA4:sa3=EXSA2 :sa=EXSA1,EXSA4,EXSA2 |
Invalid | Violated Service Action precedence (10 < 50) |
|
:sa1=EXSA1:sa2=EXSA4:sa3=EXSA3 :sa=EXSA1,EXSA4,EXSA3 |
Invalid | Violated Service Action precedence (10 < 50) |
Formatting Actions
Formatting Actions (FAs) are applied after Service Action execution and determine how the outgoing digit string is formatted. The digits associated with each provisioned Formatting Action are made available during Conditioning Action execution and Service Action execution. The outgoing digit string is constructed by inserting digits associated with each FA into the string. If values are empty (no digit value assigned), they are skipped.
The behavior of a Formatting Action does not differ between services; however, each service defines the Formatting Actions that it supports. NPP allows up to 12 Formatting Actions to be associated with one Action Set. Formatting Actions are executed in the order of the consecutive numbers of the provisioned Formatting Action parameters, or in the sequenced list of comma-separated FA parameter values.
Valid Formatting Actions are listed in Table 6-4.
- CC + AC + SN
- CC + DN
- ZN
Service Actions might also have to be provisioned, depending on the particular Formatting Action.
Formatting Action List Type for Response Messages (FATYPE)
In addition to the Formatting Actions used to format the outgoing digits of the relayed message, Formatting Action List Types are used to format outgoing digits in the response messages generated by the services using NPP. These Formatting Action List Types are provisioned with the Formatting Actions to provide various combinations of digit formatting for different conditions. The service using NPP defines the service-specific usage of the Formatting Actions List Types. Valid values for Formatting Action List Types are shown in Table 6-5.
Formatting Action Execution
Conditioning Actions and Service Actions populate Formating Action digit string values that are used to construct the outgoing digit string during Formatting Action execution.
Formatting Action execution occurs after Service Action execution is complete for a digit string. The Service Action can indicate whether Formatting Action execution will or will not occur for the string.
NPP begins with an empty outgoing digit string, and inserts digits into the string in the order in which the Formatting Action values are provisioned in a sequenced list of comma-separated parameter values consecutively number parameter values. If a provisioned Formatting Action is not populated, the outgoing digit string is not modified for that Formatting Action.
After successful digit string processing and Formatting Action execution, NPP sends an outgoing NAI value (see Outgoing FNAI Class with the outgoing digit string to the calling service.
Formatting Actions Examples
The effects of Formatting Actions on digit strings are shown in Table 4-6, Table 4-7, Table 4-8, and Table 4-9. The examples include assumptions for required Conditioning Actions and Service Actions.
Table 4-6 FA Example 1
| Example 1: Standard national calls all receive the same handling | ||
|---|---|---|
Assumptions:
|
||
| Formatting Action set = {FA1=RN, FA2=DN}{FA=RN, DN} | ||
| Formatting Action | ==> | Resulting Outgoing Digit String |
| Begin | ==> | |
| RN | ==> | 7777 |
| DN | ==> | 7777559192252645 |
Table 4-7 FA Example 2
| Example 2: International calls with International Escape Code | ||
|---|---|---|
Assumptions:
|
||
| Formatting Action set = {FA1=ORIG}{FA=ORIG} | ||
| Formatting Action | ==> | Resulting Outgoing Digit String |
| Begin | ==> | |
| ORIG | ==> | 011449192252645 |
Table 4-8 FA Example 3
| Example 3: Collect calls with Operator Code, Area Code in-between | ||
|---|---|---|
Assumptions:
|
||
| Formatting Action set = {FA1=DLMA, FA2=AC, FA3=PFX3, FA4=RN, FA5=SN}{FA=DLMA, AC, PFX4, RN, SN} | ||
| Formatting Action | ==> | Resulting Outgoing Digit String |
| Begin | ==> | |
| DLMA | ==> | d |
| AC | ==> | d33 |
| PFX4 | ==> | d339090 |
| RN | ==> | d3390905555 |
| SN | ==> | d339090555587654321 |
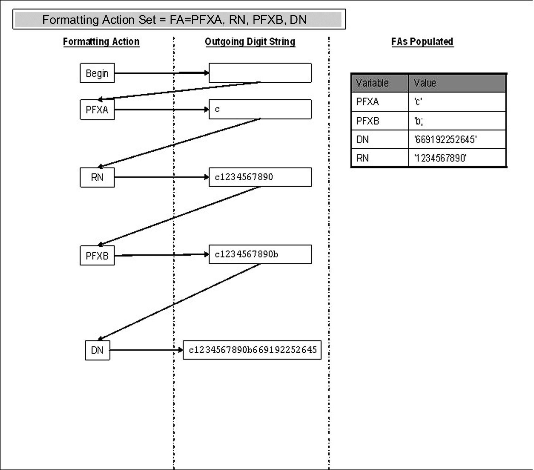
Figure 4-2 shows the Formatting Action Execution for FA Example 4.
Table 4-9 FA Example 4
| Generic Example | ||
|---|---|---|
Assumptions:
|
||
| Formatting Action set = {FA1=PFXA, FA2=RN, FA3=PFXB, FA4=DN}{FA=PFXA, RN, PFXB, DN} | ||
| Action | ==> | Resulting Outgoing Digit String |
| Begin | ==> | |
| PFXA | ==> | c |
| RN | ==> | c1234567890 |
| PFXB | ==> | c1234567890b |
| DN | ==> | c1234567890b669192252645 |
Figure 4-2 Formatting Action Execution Example


Outgoing FNAI Class
The calling service sends an incoming NAI value to NPP with the incoming digit string to be processed. NPP maps NAI numerical values to provisioned Filter NAI (FNAI) mnemonic values (NATL, INTL, NAI1, NAI2, NAI3, UNKN). The FNAI values are used in filtering incoming digit strings and NAI values for a service, to determine if NPP will process the string for the calling service.
After successful digit string processing and Formatting Action execution, NPP returns an outgoing NAI value with the outgoing digit string to the calling service.
- The OFNAI mnemonic value will be mapped to a corresponding numerical value to be sent as the outgoing NAI value.
- The incoming numerical NAI value will be returned to the calling service.