7 Installing the Drive in a Multi-Tape Backup Tray





Make sure you have read the Preface for the safety precautions and Chapter 1 for an overview of the installation and replacement procedures and the list of required tools before proceeding with this chapter.

Before you can install the 5.0 Gbyte 8 mm tape drive in the Multi-Tape Backup Tray, you must determine if you need to edit the configuration file for your system. The two factors that determine if you need to edit the configuration file for your system are:

Refer to Table 7-1 to determine if you need to edit the configuration file for your system.

    Figure 7-1 Drive Bays in the Multi-Tape Backup Tray

    Table 7-1 Determining the Need to Edit the Configuration File

---------------------------------------------------------------------------------------
Drive Bay I Drive Bay II Drive Bay III Drive Bay IV ---------------------------------------------------------------------------------------
                                                                        
Solaris 1.x    Do not edit        Edit the con       Edit the con       Do not edit 
(SunOS 4.1.x)  the configura      figuration         figuration         the configura
               tion file. Go to   file. Go to        file. Go to        tion file. Go to 
               Section 7.1.       Appendix A.        Appendix A.        Section 7.1.
                                                                        
Solaris 2.x    Do not edit        Do not edit        Do not edit        Do not edit 
               the configura      the configura      the configura      the configura
               tion file. Go to   tion file. Go to   tion file. Go to   tion file. Go to 
               Section 7.1.       Section 7.1.       Section 7.1.       Section 7.1.

---------------------------------------------------------------------------------------

For example, if your system is running on the Solaris 1.x (SunOS(TM) 4.1.x) operating system and you are installing the tape drive in drive bay II, you would have to edit the configuration file for your system before you could install the tape drive.

7.1 Preparing the System

You must power off the system cabinet or 56-Inch Data Center Expansion Cabinet before proceeding with the following sections. Refer to the installation manual you received with your system for instructions on safely powering off the cabinet:

7.1.1 Extending the Anti-Tilt Bar

Extend the anti-tilt bar from the cabinet bottom by grasping it underneath the front edge and pulling it out to its fully-extended position (see Figure 7-2).

    Figure 7-2 Extending the Anti-Tilt Bar

7.1.2 Removing the Panels

Follow the instructions in the following sections to remove the necessary panels from your system.

7.1.2.1 Removing/Opening the Top Front Panel

If you have a SPARCserver 690MP system, pull on the left side of the top front panel on the cabinet to open the panel (see Figure 7-3).

    Figure 7-3 Opening the Top Panel on the SPARCserver 690MP System

If you have a 56-Inch Data Center Expansion Cabinet, pull on both sides of the top front panel on the cabinet to remove the panel (see Figure 7-4).

Note - Figure 7-4 shows the generic front panel being removed from the 56- Inch Data Center Expansion Cabinet; the front panel for the Multi-Tape Backup Tray will look slightly different.

    Figure 7-4 Removing the Top Panel from the 56-Inch Data Center Expansion Cabinet

7.1.2.2 Removing the Vented Rear Panel

Follow these steps to remove the vented rear panel:

    1. Face the rear of the cabinet and use a Phillips screwdriver to unscrew the two screws at the top of the vented rear panel (see Figure 7-5).

    Figure 7-5 Removing the Vented Rear Panel

    2. Pull the top of the vented rear panel away from the cabinet.
    3. Lift the vented rear panel until the bottom is clear and lift the panel away.

    Set the vented rear panel aside.

7.1.3 Preparing the Tray

Note - If you are installing or removing a 5.0 Gbyte 8 mm tape drive in a Multi-Tape Backup Tray that is not yet installed in the cabinet, go to Step 5.

Follow these instructions to prepare the Multi-Tape Backup Tray for installing or removing the 5.0 Gbyte 8 mm tape drive:

    1. Face the rear of the cabinet and disconnect the power cord from the power receptacle at the rear of the Multi-Tape Backup Tray (see Figure 7-6).

    Figure 7-6 Multi-Tape Backup Tray Power Receptacle and Ports

    2. Disconnect the SCSI data cable from the IN port at the rear of the Multi- Tape Backup Tray (see Figure 7-6).

    Do not remove the terminator from the OUT port

    3. Face the front of the cabinet and use the Phillips screwdriver to unscrew the two screws that secure the side brackets at the front of the tray to the cabinet (see Figure 7-7).

    Figure 7-7 Removing the Tray Assembly in the Cabinet

    4. Fully extend the tray until the slide rail button clicks.
    5. Use the flat-head screwdriver to loosen the ten top captive cover screws (see Figure 7-7).

    There are three at each side and two at the front and back.

    6. Remove the cover from the tray and set it aside.

7.2 Unpacking and Inspecting the Tape Drive

Caution -

Circuit board components can be damaged by electrostatic discharge (ESD). An electrostatic charge can build up on the human body and then discharge when you touch a board or a magnetic storage device, such as a tape drive. Such discharge can be produced by walking across a carpet and touching a board, or by any other similar action. Before handling any board or magnetic storage device, make sure you dissipate your body's charge by carefully following these instructions.

Follow these instructions to unpack and inspect the drive:

    1. Unpack the 5.0 Gbyte 8 mm tape drive.
    2. Place the tape drive on top of the bag it was shipped in.

    Placing the drive on the bag will prevent static discharge from accumulating in the device.

    3. Inspect the tape drive for evidence of damage.

    If damaged, keep all contents and packing materials for the carrier's agent to inspect.

    4. Verify that the shipping container has all the contents you will need to install the 5.0 Gbyte 8 mm tape drive.

    The shipping container should have the following items:

    5. Save packing materials for future use.
    6. Verify that the jumpers have been removed from the SCSI ID connector at the rear of the tape drive (see Figure 7-8).

    A jumper is a small sleeve that slides over two adjacent pins in the SCSI ID connector to provide an electrical connection. If the jumpers have not been removed, use the needle-nose pliers to remove them from the SCSI ID connector at the rear of the tape drive.

    Figure 7-8 Location of the SCSI ID Connector and the SCSI ID Dip Switch for the 5.0 Gbyte 8 mm Tape Drive

    7. Verify that all the SCSI ID dip switches at the rear of the tape drive are in the down (OFF) positions (see Figure 7-8).
    8. Determine if you will be installing an additional tape drive or replacing an existing tape drive.

7.3 Installing a 5.0 Gbyte 8 mm Tape Drive

The 5.0 Gbyte 8 mm tape drive can be installed in a Multi-Tape Backup Tray with two to four drives per tray. Follow these instructions to install a 5.0 Gbyte 8 mm tape drive in a Multi-Tape Backup Tray:

    1. Get the mounting brackets for the tape drive from the ship kit.

    If you are replacing the 5.0 Gbyte 8 mm tape drive, you can use the mounting brackets you removed from the old tape drive.

    2. Use the Phillips screwdriver to secure the mounting brackets to the sides of the tape drive (see Figure 7-9).

    When installing the mounting brackets to the tape drive, make sure the following items are done properly:

    Figure 7-9 Installing the Mounting Brackets to a 5.0 Gbyte 8 mm Tape Drive

    3. Determine where you will be installing the 5.0 Gbyte 8 mm tape drive.

    The 5.0 Gbyte 8 mm tape drives must be installed in the drive bays in the following order:

    See Figure 7-10 for the location of each drive bay. The drive bays are also labelled on the tray.

    Figure 7-10 Drive Bays in the Multi-Tape Backup Tray

    4. Determine if there is a cover plate covering the selected drive bay.
      a. Use the 9 mm hex-head socket to unscrew and remove the screws that secure the plate to the tray and remove the plate (see Figure 7-11).

    Figure 7-11 Removing the Plate from the Tray

      b. Determine if there is a cover plate secured to the top of the fan assembly in the tray (see Figure 7-12).

    Figure 7-12 Location of the Fan Assembly in the Multi-Tape Backup Tray

    5. Use the handles on the mounting brackets to slide the 5.0 Gbyte 8 mm tape drive into the bay until the mounting brackets rest flush against the front of the tray.
    6. Use the 9 mm hex-head socket to screw in the four screws at the front of the mounting brackets to secure the drive to the tray (see Figure 7-13).

    Figure 7-13 Securing the Tape Drive to the Tray

    7. Locate the power connector on the 5.0 Gbyte 8 mm tape drive (see Figure 7-14).

    Figure 7-14 Power, SCSI, and SCSI ID Connector Locations on the Drive

    8. Reach inside the tray from the top and connect the DC harness cable to the power connector on the drive.

    Table 7-2 gives the correct DC harness connections for each 5.0 Gbyte 8 mm tape drive in the Multi-Tape Backup Tray, and Figure 7-15 shows how the DC harness cables should be routed in the tray.

    Table 7-2 Connections for the DC Harness Cable in the Multi-Tape Backup Tray

------------------------------------------
Tape Drive Location DC Harness Connector ------------------------------------------
                     
I                    P7
                     
II                   P8
                     
III                  P5
                     
IV                   P6

------------------------------------------

    Figure 7-15 Connecting the DC Harness Cable

    9. Locate the SCSI connector on the 5.0 Gbyte 8 mm tape drive (see Figure 7-14).
    10. Connect the SCSI data cable to the SCSI connector on the drive.

    Table 7-3 gives the correct SCSI connections for each 5.0 Gbyte 8 mm tape drive in the Multi-Tape Backup Tray, and Figure 7-16 shows how the SCSI data cables should be routed in the tray. The connector is keyed so that you cannot install the cable incorrectly.

    Table 7-3 Connections for the SCSI Data Cable in the Multi-Tape Backup Tray

-----------------------------------------
Tape Drive Location SCSI Data Connector -----------------------------------------
                     
I                    P2
                     
II                   P3
                     
III                  P4
                     
IV                   P5

-----------------------------------------

    Figure 7-16 Connecting the SCSI Data Cable

    11. Locate the SCSI ID connector on the 5.0 Gbyte 8 mm tape drive (see Figure 7-14).
    12. Connect the address cable to the SCSI ID connector on the drive.

    Table 7-4 gives the correct SCSI ID connections for each 5.0 Gbyte 8 mm tape drive in the Multi-Tape Backup Tray, and Figure 7-17 shows how the address cables should be routed in the tray. Position the address cable so that the black wire is located at the lower right corner of the SCSI ID connector (see Figure 7-18).

    Table 7-4 Connections for the Address Cable in the Multi-Tape Backup Tray

---------------------------------------
Tape Drive Location Address Connector ---------------------------------------
                     
I                    SWI
                     
II                   SWII
                     
III                  SWIII
                     
IV                   SWIV

---------------------------------------

    Figure 7-17 Connecting the Address Cable

    Figure 7-18 Positioning the Address Cable

    13. Determine what the SCSI address will be for the 5.0 Gbyte 8 mm tape drive you just installed in the Multi-Tape Backup Tray.

    The SCSI addresses for the 5.0 Gbyte 8 mm tape drives within the Multi- Tape Backup Tray will vary depending on the location of the tape drive in the tray. Table 7-5 shows the SCSI addresses for tape drives in a tray in a SPARCserver 690MP system, and Table 7-6 shows the SCSI addresses for tape drives in a tray installed in a 56-Inch Data Center Expansion Cabinet.

    Table 7-5 SCSI Addresses for Multi-Tape Backup Tray Drives in a SPARCserver 690MP System

------------------------
Drive Bay SCSI Address ------------------------
           
I          0
           
II         3
           
III        2
           
IV         4

------------------------

    Table 7-6 SCSI Addresses for Multi-Tape Backup Tray Drives in a 56-Inch Data Center Expansion Cabinet

------------------------
Drive Bay SCSI Address ------------------------
           
I          5
           
II         3
           
III        2
           
IV         4

------------------------

Note - The SCSI addresses given in Table 7-5 and Table 7-6 for tape drives in drive bays II and III are valid only if you followed the recommended procedure for editing the configuration file for a three- or four-drive tray given earlier in this chapter. If you give the new tape drive a different SCSI address than those listed above, you may have a conflict in SCSI addressing if you install a tape drive in the cabinet at a later date.

    14. Face the front of the tray and set the SCSI address for the drive.

    There are four device select switches at the front of each Multi-Tape Backup Tray, one for each drive within the tray. The addresses range from 0 to 7, but you can only use addresses from 0 to 5 for the drives within the Multi-Tape Backup Tray. Figure 7-19 shows the location of the device select switches on the Multi-Tape Backup Tray.

    To set the SCSI address for the 5.0 Gbyte 8 mm tape drive, press the button marked "+" to increment the address shown, or press the button marked
    "-" to decrement the address shown until you see the proper address in the window.

    Figure 7-19 Location of the Device Select Switches on the Multi-Tape Backup Tray

    15. Go to Section 7.5, "Securing the Tray," to replace the tray.

7.4 Removing a 5.0 Gbyte 8 mm Tape Drive

Follow these instructions to remove an existing 5.0 Gbyte 8 mm tape drive from the tray:

    1. Unplug the three cables from the rear of the 5.0 Gbyte 8 mm tape drive.

    Figure 7-20 shows the three connectors that should have cables installed.

    Figure 7-20 Connector Locations on the 5.0 Gbyte 8 mm Tape Drive

      For the cables connected to the SCSI ID and power connectors, grasp each cable connector on both sides and firmly, but gently, pull the cable away from the connector at the rear of the tape drive.

      For the cable connected to the SCSI connector, press out on the ejectors at the sides of the SCSI connector on the 5.0 Gbyte 8 mm tape drive to release the SCSI data cable from the tape drive (see Figure 7-21). Then grasp the cable connector by the attached strain relief tab and firmly, but gently, pull the cable away from the SCSI connector on the tape drive (see Figure 7-22).

    Figure 7-21 Releasing the Ejectors

    Figure 7-22 Disconnecting the SCSI Data Cable

    2. Use the 9 mm hex-head socket to unscrew and remove the four screws that secure the mounting brackets and drive to the front of the tray (see Figure 7-23).

    Figure 7-23 Removing the Tape Drive from the Tray

    3. Use the handles on the mounting brackets to pull the drive out of the tray.
    4. Use the Phillips screwdriver to unscrew and remove the screws that secure the two mounting brackets to the drive (see Figure 7-24).

    Each mounting bracket is secured to the drive with two screws. Save the screws for the new drive or the cover plate.

    Figure 7-24 Removing the Mounting Brackets from the Drive

    5. Determine if you will be installing a new 5.0 Gbyte 8 mm tape drive in the tray.
      a. Locate the cover plate attached to the top of the fan assembly inside the tray (see Figure 7-25).

    Figure 7-25 Location of the Fan Assembly in the Multi-Tape Backup Tray

      b. Use the 9 mm hex-head socket to unscrew the two screws that secure the cover plate to the fan assembly (see Figure 7-25).
      c. Place the cover plate in front of the drive bay that you just removed the tape drive from and align the holes on the sides of the cover plate with the holes in the front of the drive bay.
      d. Use the 9 mm hex-head socket to screw in the four screws to secure the cover plate to the tray (see Figure 7-26).

    Figure 7-26 Installing the Plate on the Tray

      e. Proceed to Section 7.5, "Securing the Tray," to replace the tray.

7.5 Securing the Tray

Follow these instructions to secure the Multi-Tape Backup Tray to the cabinet:

    1. Reinstall the top cover after you have installed or removed the tape drive(s).
    2. Use the flat-head screwdriver to tighten in the ten top cover captive screws to secure the cover to the Multi-Tape Backup Tray (see Figure 7-27).

    Figure 7-27 Securing the Tray Assembly in the Cabinet

    3. Press the button in the center rail and push the tray completely in the cabinet.
    4. Use the Phillips screwdriver to install and tighten the two 10-32 screws in the side brackets at the front of the tray (one for each side bracket at the side of the tray, as shown in Figure 7-27).
    5. Face the rear of the cabinet and connect the power cord to the power receptacle at the rear of the Multi-Tape Backup Tray (see Figure 7-28).

    Figure 7-28 Location of the Power Receptacle on the Tray

    6. Connect the SCSI data cable to the IN port at the rear of the Multi-Tape Backup Tray (see Figure 7-28).

    The OUT port should have a terminator already installed.

7.6 Replacing the Panels

Follow the instructions in the following sections to replace the panels on your SPARCserver 690MP system or 56-Inch Data Center Expansion Cabinet.

7.6.1 Installing the Vented Rear Panel

Follow these steps to install the vented rear panel:

    1. Locate the vented rear panel.
    2. Place the bottom of the vented rear panel in the groove on the top of the kick panel.
    3. Swing the top of the vented rear panel towards the cabinet until the top of the panel is touching the cabinet.
    4. Use a Phillips screwdriver to screw in the two screws at the top of the vented rear panel (see Figure 7-29).

    Figure 7-29 Installing the Vented Rear Panel

7.6.2 Installing/Closing the Top Front Panel

If you have a SPARCserver 690MP system, push on the left side of the top front panel on the cabinet to close the panel (see Figure 7-30).

    Figure 7-30 Closing the Top Panel on the SPARCserver 690MP System

If you have a 56-Inch Data Center Expansion Cabinet, place the vented front panel in the proper position and press on both sides of the panel until it engages (see Figure 7-31).

Note - Figure 7-31 shows the generic front panel being installed on the 56-Inch Data Center Expansion Cabinet; the front panel for the Multi-Tape Backup Tray will look slightly different.

    Figure 7-31 Replacing the Top Panel from the 56-Inch Expansion Cabinet

7.7 Powering On the System

Refer to the installation manual you received with your system for instructions on safely powering on the cabinet:

You may have to enter a specific software command when booting the system so that the system will recognize the new drive; refer to the software handbook for your operating system for more information. For example, if your system is running on the Solaris 2.x operating system, you would enter the following command to boot up the system so that it would recognize the new drive:

7.8 Taking Stock of Leftover Items

Once you have completed the procedure for installing the 5.0 Gbyte 8 mm tape drive in the Multi-Tape Backup Tray, you should have the following items remaining:

The remaining items will be used when you operate the 5.0 Gbyte 8 mm tape drive.

7.9 Verifying Connection (Optional)

The method for verifying connection for a Multi-Tape Backup Tray will vary from system to system.

7.9.1 Probing for SCSI Devices Off a SPARCserver 690MP System

Follow these instructions to probe for SCSI devices off a SPARCserver 690MP system or off a 56-Inch Data Center Expansion Cabinet connected to a SPARCserver 690MP system. Refer to the section entitled "When You Need Help with UNIX Commands" in the Preface of this manual if you need references to help with the commands or system administration procedures given below.

    1. Notify users that the system is going down.
    2. Halt the system using the appropriate commands.
    3. Wait for the system-halted message and boot monitor prompt.

    Once you have halted your system, you will see several system messages.

    type "n" at the "" prompt and press <return:

    This will bring you to the "ok" prompt.

    4. Enter the appropriate command to probe your system for SCSI devices.

    The command you enter to probe your system for SCSI devices will vary depending on which SCSI port you have the Multi-Tape Backup Tray connected to:

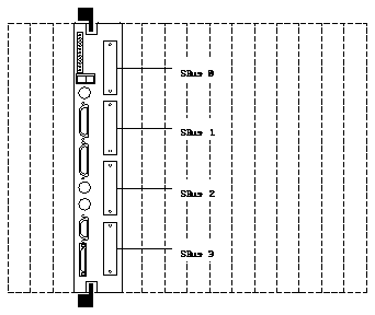
    Figure 7-32 Location of SBus Slots in the SPARCserver 690MP System Board

    5. Verify that the 5.0 Gbyte 8 mm tape drives in the tray are listed.

    You should see a list of drives similar to the following:

    The "Target #" lines will tell you the SCSI addresses of the devices you have connected to your system.

    6. Enter the following command to reboot your system:

    Your screen will go blank for several seconds after you've entered this command, and then the system will reboot.

7.9.2 Probing for SCSI Devices Off a SPARCcenter 2000 System

Follow these instructions to probe for SCSI devices off a 56-Inch Data Center Expansion Cabinet connected to a SPARCcenter 2000 system. Refer to the section entitled "When You Need Help with UNIX Commands" in the Preface of this manual if you need references to help with the commands or system administration procedures given below.

    1. Notify users that the system is going down.
    2. Halt the system using the appropriate commands.
    3. Wait for the system-halted message and boot monitor prompt.

    Once you have halted your system, you will see several system messages.

    type "n" at the "" prompt and press <return:

    This will bring you to the "ok" prompt.

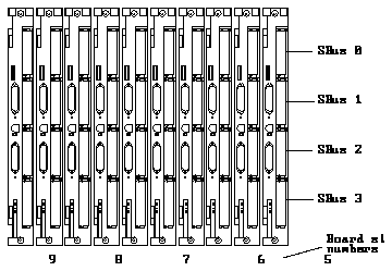
    4. Locate the system board in the SPARCcenter 2000 card cage that the SCSI tray is connected to.
    5. Determine which board slot the board is installed in and write that number here: ____

    Figure 7-33 shows the board slot numbers for the SPARCcenter 2000 system.

    Figure 7-33 Location of Boards and SBus Slot in the Boards

    6. Determine which SBus slot holds the card for the Multi-Tape Backup Tray in the system board and write that number here: ____

    Figure 7-33 shows the SBus slot numbers in the system board.

    7. Enter the appropriate command to probe your system for SCSI devices.

    Enter the following command to probe your system for SCSI devices, leaving a space after every quotation mark ("), where A is the board slot number (given in Step 5) and B is the SBus slot number within the board (given in Step 6):

    For example, if the tray is connected to a card installed in SBus slot 1 in a board, and the board is installed in board slot 2 in the SPARCcenter 2000 card cage, you would enter the following command:

    8. Verify that the 5.0 Gbyte 8 mm tape drives in the tray are listed.

    You should see a list of drives similar to the following:

    The "Target #" lines will tell you the SCSI addresses of the devices you have connected to your system.

    9. Enter the following command to reboot your system:

    Your screen will go blank for several seconds after you've entered this command, and then the system will reboot.