3 Illustrated Parts Breakdown





The illustrations and tables on the following pages are intended to supplement the removal/replacement procedures discussed in Chapters 1 and 2.

3.1 Field Replaceable Units

    Table 3-1 Field Replaceable Units

-------------------------------------------------------------------
Part Number Description Figure -------------------------------------------------------------------
                                                      
330-1192     Blank Bezel                              Figure 3-1
                                                      
330-1284     Tape Bezel                               Figure 3-1
                                                      
540-1939     Front Panel Assembly                     Figure 3-1
                                                      
540-1847     Rear Bezel                               Figure 3-1
                                                      
540-1749     Rear Bumper                              Figure 3-1
                                                      
540-1846     Side Panel                               Figure 3-1
                                                      
340-1898     Top Cover                                Figure 3-1
                                                      
300-1091     Power Supply, 800W                       Figure 3-14
                                                      
300-1106     IEC Power Supply, 800W                   Figure 3-14
                                                      
540-2157     Fan Tray Assembly                        Figure 3-6
                                                      
340-2292     EMI Cover Assembly                       Figure 3-2
                                                      
340-2535     Rear EMI Cover Assembly                  Figure 3-5
                                                      
540-2136     EMI Door Cover Assembly                  Figure 3-3
                                                      
530-1676     Cable, SCSI Embedded Drive Tray          Figure 3-9
                                                      
530-1811     DC Harness to Drive Tray                 Figure 3-13
                                                      
530-1841     Power Harness Assembly Cable             Figure 3-13
                                                      
530-1675     Power Harness Assembly                   Figure 3-11
                                                      
501-1873     LED/Switch PCB Assembly                  Figure 3-4
                                                      
540-2136     Remote Switch Assembly                   Figure 3-4
                                                      
370-1347     SunCD Drive                              Figure 3-7
                                                      
370-1377     1.3 Gbyte 5.25" SCSI Drive               Figure 3-7
                                                      
370-1405     2.3 Gbyte 8mm Tape Drive                 N/A
                                                      
370-1415     5.0 Gbyte 8mm Tape Drive                 N/A
                                                      
370-1412     2.1 Gbyte 5.25" Differential SCSI Drive  Figure 3-8
                                                      
240-1926     Screwlock                                N/A
                                                      
340-2828     Bracket for Differential SCSI Drive      Figure 3-8
                                                      
340-2884     Differential SCSI Drive Tray             Figure 3-8
                                                      
530-1903     Differential SCSI Cable                  Figure 3-10
                                                      
530-2034     Power Harness for the Differential       Figure 3-12
             SCSI Drive Tray                                         

-------------------------------------------------------------------

    Figure 3-1 Cabinet Trim

----------------------------------
Key Description Part Number ----------------------------------
                       
1    Top Cover         340-1898
                       
2    Rear Bezel        540-1847
                       
3    Side Panel        540-1846
                       
4    Front Panel Assy  540-1939
                       
5    Rear Bumper       540-1749
                       
6    Blank Bezel       330-1192
                       
7    Tape Bezel        330-1284

----------------------------------

    Figure 3-2 EMI Cover Assembly

------------------------------------
Key Description Part Number ------------------------------------
                         
1    EMI Cover Assembly  340-2292

------------------------------------

    Figure 3-3 EMI Door Covers

-----------------------------------------
Key Description Part Number -----------------------------------------
                              
1    EMI Door Cover Assembly  540-2136

-----------------------------------------

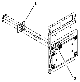
    Figure 3-4 LED/Switch and PCB/Remote Switch Assemblies

-----------------------------------------
Key Description Part Number -----------------------------------------
                              
1    LED/Switch PCB Assembly  501-1873
                              
2    Remote Switch Assembly   540-2136

-----------------------------------------

    Figure 3-5 Rear EMI Cover Assembly

------------------------------------------
Key Description Part Number ------------------------------------------
                               
1     Rear EMI Cover Assembly  340-2535

------------------------------------------

    Figure 3-6 Fan Tray Assembly

------------------------------------
Key Description Part Number ------------------------------------
                         
1     Fan Tray Assembly  540-2157

------------------------------------

    Figure 3-7 SCSI Disk Tray Assembly

--------------------------------------------
Key Description Part Number --------------------------------------------
                                 
1    1.3 Gbyte 5.25" SCSI Drive  370-1377
                                 
2    SunCD Drive                 370-1347

--------------------------------------------

    Figure 3-8 Differential SCSI Disk Tray Assembly

---------------------------------------------------------
Key Description Part Number ---------------------------------------------------------
                                              
1    2.1 Gbyte 5.25" Differential SCSI Drive  370-1412
                                              
2    Differential SCSI Drive Tray             340-2884
                                              
3    Differential SCSI Drive Bracket          340-2828

---------------------------------------------------------

    Figure 3-9 Cable, SCSI Embedded Drive Tray

--------------------------------------------------
Key Description Part Number --------------------------------------------------
                                       
1     Cable, SCSI Embedded Drive Tray  530-1676

--------------------------------------------------

    Figure 3-10 Cable, Differential SCSI Embedded Drive Tray

---------------------------------------------------------------
Key Description Part Number ---------------------------------------------------------------
                                                    
1     Cable, Differential SCSI Embedded Drive Tray  530-1903

---------------------------------------------------------------

    Figure 3-11 Power Harness Assembly

-----------------------------------------
Key Description Part Number -----------------------------------------
                              
1     Power Harness Assembly  530-1675

-----------------------------------------

    Figure 3-12 Power Harness for the Differential SCSI Drive Tray

---------------------------------------------------------------------
Key Description Part Number ---------------------------------------------------------------------
                                                          
1     Power Harness for the Differential SCSI Drive Tray  530-2034

---------------------------------------------------------------------

    Figure 3-13 DC Power Harnesses

--------------------------------------------
Key Description Part Number --------------------------------------------
                                 
1    DC Harness to Drive Tray    530-1811
                                 
2    Assy, Cable, Power Harness  530-1841

--------------------------------------------

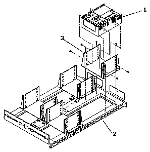
    Figure 3-14 Power Supply, 800W

----------------------------------------
Key Description Part Number ----------------------------------------
                             
1    Power Supply, 800W      300-1091
                             
2    IEC Power Supply, 800W  300-1106

----------------------------------------