3 Installing the Drive in a Multi-Tape Backup Tray





Make sure you read the Preface for the safety precautions and perform the tasks described in Chapter 1 before proceeding with this chapter.

Note - The 20 Gbyte 4 mm tape auto-loader is only supported for systems running on the Solaris 2.x operating system and above. If your Multi-Tape Backup Tray is installed in a system running an earlier version of the operating system, you must upgrade to the 2.x version before you can use the auto- loader.

3.1 Preparing the System

Complete the procedures in the following sections to prepare the system for installing the auto-loader.

3.1.1 Powering Off the System

    Power off the cabinet before proceeding with the following sections.

    Refer to the Sun 56-Inch Data Center Expansion Cabinet Installation Manual (P/N 800-5936-xx) for instructions.

3.1.2 Extending the Anti-Tilt Bar

    Extend the anti-tilt bar from the bottom of the cabinet.

    Grasp it underneath the front edge and pull it out to its fully-extended position. See Figure 3-1.

    Figure 3-1 56-Inch Expansion Cabinet Anti-Tilt Bar and Top Front Panel

3.1.3 Removing the Panels

Removing the Top Front Panel
    Pull on both sides of the top front panel on the 56-Inch Data Center Expansion Cabinet to remove the panel. See Figure 3-1.
Removing the Vented Rear Panel.
    1. Face the rear of the cabinet and use a Phillips screwdriver to remove the two screws at the top of the vented rear panel. See Figure 3-2.

    Figure 3-2 Removing the Vented Rear Panel

    2. Pull the top of the vented rear panel away from the cabinet.
    3. Lift the vented rear panel until the bottom is clear and lift the panel away.

3.1.4 Preparing the Tray

Note - If you are installing a 20 Gbyte 4 mm tape auto-loader in a tray that is not yet installed in the cabinet, go to Step 5.

    1. Face the rear of the cabinet and disconnect the power cord from the power receptacle at the rear of the tray. See Figure 3-3.

    Figure 3-3 Multi-Tape Backup Tray Power Receptacle and Ports

    2. Disconnect the SCSI data cable from the IN port at the rear of the tray. See Figure 3-3.

    Do not remove the terminator from the OUT port.

    3. Remove the four Phillips screws (at the front of the tray) that secure the side brackets to the cabinet. See Figure 3-4.

    Figure 3-4 Removing the Tray Assembly in the Cabinet

    4. Fully extend the tray until the slide rail buttons click.
    5. Use the flat-head screwdriver to loosen the ten top cover captive screws. See Figure 3-4.

    There are three screws on each side and two each on the front and back of the tray.

    6. Remove the cover from the tray.
    7. Attach new side brackets to the tray.

    Use the side brackets that were shipped with your auto-loader.

      a. Use the 7 mm hex-head socket to remove the two hex-head nuts that secure the side brackets to each side of the tray. See Figure 3-4.
      b. Get the side brackets from the auto-loader shipping kit.
      c. Position each side bracket with the flat portion facing the rear of the tray, as shown in Figure 3-5.

    Figure 3-5 Side Brackets on a 56-Inch Expansion Cabinet

      d. Use the 7 mm hex-head socket and the M4 hex-head nuts to secure the two side brackets to the sides of the tray.
    8. If you are replacing an existing drive, proceed to Section 3.2, "Removing an Existing Drive. If you are installing an additional auto-loader, proceed to Section 3.3, "Installing a 20 Gbyte 4 mm Tape Auto-Loader," on page 3-9.

3.2 Removing an Existing Drive

    1. Locate the drive you want to remove.

    There are four locations for tape drives in the Multi-Tape Backup Tray. See Figure 3-6.

    Figure 3-6 Drive Bays in the Multi-Tape Backup Tray

    2. Reach inside the tray from the top and unplug the power cable, the SCSI ID cable, and SCSI data cable from the rear of the drive.

    Firmly, but gently, pull the cable away from the connector at the rear of the tape drive. (For the power and SCSI ID cables, grasp each cable connector on both sides; for the SCSI data cable, use the strain relief tab.)

    3. Use the 7 mm hex-head socket to remove the four mounting screws that secure the drive to the cabinet. See Figure 3-7.

    Figure 3-7 Drive Bay Mounting Screws

    4. Slide the drive out of the tray. See Figure 3-8.

    Figure 3-8 Removing the Drive from the Tray

    5. If you are installing a new auto-loader in the tray, proceed to Section 3.3, "Installing a 20 Gbyte 4 mm Tape Auto-Loader."
    6. If you are not installing a new auto-loader in the tray:
      a. Install a filler panel over the empty drive bay.
      b. Proceed to Section 3.4, "Securing the Tray," on page 3-16.

3.3 Installing a 20 Gbyte 4 mm Tape Auto-Loader

Note - Make sure you have attached the mounting brackets to the auto-loader, as described in Chapter 1, "Preparing for Installation."

    1. Determine where you will install the auto-loader.

    Auto-loaders must be installed in the drive bays in the following order:

    See Figure 3-6 for the location of each drive bay. The drive bays are also labelled on the tray.

    2. If there is a cover plate on the selected drive bay:
      a. Remove the plate.

      Use the 7 mm hex-head socket to remove the screws that secure the plate to the tray. See Figure 3-9.

    Figure 3-9 Removing the Cover Plate from the Drive Bay

      b. Secure the plate to the top of the fan assembly using two 7 mm
      hex-head screws. See Figure 3-10.

      If another cover plate is already secured to the top of the fan assembly, put the cover plate you just removed in a safe place.

    Figure 3-10 Attaching the Cover Plate to the Fan Assembly

    3. Slide the auto-loader into the bay until the mounting brackets rest flush against the front of the tray.
    4. Install the four screws that secure the mounting brackets and drive to the tray. See Figure 3-7.

    Use the 7 mm hex-head socket.

    5. Reach inside the tray from the top, and connect the DC harness cable to the fan power cable on the auto-loader.

    Table 3-1 gives the correct DC harness connections for each auto-loader in the tray, and Figure 3-11 shows how the DC harness cables should be routed in the tray.

    Table 3-1 DC Harness Cable Connections (Multi-Tape Backup Tray)

-------------------------------------
Drive Location DC Harness Connector -------------------------------------
                
I               P7
                
II              P8
                
III             P5
                
IV              P6

-------------------------------------

    Figure 3-11 Connecting the DC Harness Cable

    6. Connect the SCSI data cable to the SCSI connector on the drive.

    Table 3-2 gives the correct SCSI connections for each auto-loader in the tray, and Figure 3-12 shows how the SCSI data cables should be routed in the tray. The connector is keyed so that you cannot install the cable incorrectly.

    Table 3-2 SCSI Data Cable Connections (Multi-Tape Backup Tray)

------------------------------------
Drive Location SCSI Data Connector ------------------------------------
                
I               P2
                
II              P3
                
III             P4
                
IV              P5

------------------------------------

    Figure 3-12 Connecting the SCSI Data Cable

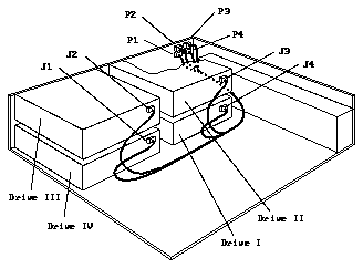
    7. Connect the address cable to the SCSI ID connector on the drive.

    Table 3-3 gives the correct SCSI ID connections for each auto-loader in the tray, and Figure 3-13 shows how the address cables should be routed in the tray.

    Table 3-3 Address Cable Connections (Multi-Tape Backup Tray)

----------------------------------
Drive Location Address Connector ----------------------------------
                
I (J1)          P1
                
II (J2)         P2
                
III (J3)        P3
                
IV (J4)         P4

----------------------------------

    Figure 3-13 Connecting the Address Cable

    Position the address cable so that the black wire is located at the lower right corner of the SCSI ID connector. See Figure 3-14.

    Figure 3-14 Positioning the Address Cable

    8. Determine the SCSI address for the newly-installed auto-loader.

    The SCSI addresses for the auto-loaders in the Multi-Tape Backup Tray depend on the location of the drives in the tray. Table 3-4 shows the SCSI addresses for drives in a tray installed in a 56-Inch Data Center Expansion Cabinet.

    Table 3-4 SCSI Addresses for the Auto-Loader

------------------------
Drive Bay SCSI Address ------------------------
           
I          5
           
II         3
           
III        2
           
IV         4

------------------------
    9. Set the SCSI address for the drive.

    Figure 3-15 shows the four device select switches at the front of the Multi- Tape Backup Tray. Select the appropriate switch for the new drive, and press the buttons marked "+" or "-" until you see the correct address in the window.

    Figure 3-15 Device Select Switches on the Tray

3.4 Securing the Tray

    1. Reinstall the top cover after you have installed or removed the drive(s).

    Use the flat-head screwdriver to tighten the ten top cover captive screws.

    2. Press the button in the center rail and push the tray completely into the cabinet.
    3. Use the Phillips screwdriver to install the four screws in the side brackets.
    4. Connect the power cord to the power receptacle and the SCSI data cable to the IN port on the rear of the tray. See Figure 3-3.

    The OUT port should have a terminator already installed.

3.5 Reassembling the System

    1. Replace the vented rear panel and secure it to the cabinet with the two screws at the top of the panel.
    2. Place the top front panel in the proper position on the cabinet and press on both sides of the panel until it engages.
    3. Retract the anti-tilt bar at the bottom of the cabinet.
    4. Power on the system.

    Refer to the Sun 56-Inch Data Center Expansion Cabinet Installation Manual (P/N 800-5936-xx) for instructions on safely powering on the cabinet.

Caution -

If you want to move the cabinet around the room, you must first install the shipping restraints on the auto-loader to keep the auto-loader drawer secure. Follow the instructions on the label on the main restraint piece to install the shipping restraints; follow the instructions on the same label to remove the shipping restraints once you have stopped moving the cabinet.

3.6 Verifying Connection (Optional)

    To make sure that your system recognizes the newly-installed auto-loader, use the procedures in Appendix A, "Probing for SCSI Devices."