1Àå


Sun Fire Áß±Þ ½Ã½ºÅÛ¿¡ ´ëÇÑ DR ¼Ò°³

Solaris 9 ¹× Solaris 10 ¿î¿µ üÁ¦°¡ DRÀÇ ¸ðµç ±â´ÉÀ» Áö¿øÇÏ´Â ¹Ý¸é, ÀϺΠSolaris ¼ÒÇÁÆ®¿þ¾îÀÇ ÀÌÀü ¹öÀüÀº I/O º¸µåÀÇ À籸¼ºÀ» Áö¿øÇÏÁö ¾Ê½À´Ï´Ù. Solaris 8 2/02 ¼ÒÇÁÆ®¿þ¾î´Â µµ¸ÞÀο¡¼­ DRÀÇ ¸ðµç ±â´ÉÀ» Áö¿øÇÏ´Â Solaris 8 ¼ÒÇÁÆ®¿þ¾îÀÇ Ã¹ ¹øÂ° ¸±¸®½ºÀÔ´Ï´Ù. Solaris 8 ¼ÒÇÁÆ®¿þ¾î¸¦ ½ÇÇàÇÏ´Â ½Ã½ºÅÛ¿¡¼­ DRÀ» »ç¿ëÇϱâ À§ÇÑ Àüü Á¤º¸ ¹× Áöħ¿¡ ´ëÇØ¼­´Â ´ÙÀ½À» ¹æ¹®ÇϽʽÿÀ.

http://www.sun.com/servers/midrange/dr_sunfire



ÁÖ - DR Á¶ÀÛÀ» ¼öÇàÇÏ·Á¸é root ¾×¼¼½º°¡ ÀÖ¾î¾ß ÇÕ´Ï´Ù.




µ¿Àû À籸¼º(DR)

DR ¼ÒÇÁÆ®¿þ¾î´Â Solaris ¼ÒÇÁÆ®¿þ¾îÀÇ ÀϺÎÀÔ´Ï´Ù. DR ¼ÒÇÁÆ®¿þ¾î¸¦ »ç¿ëÇÏ¸é ¿î¿µ üÁ¦°¡ ½ÇÇàÇÏ´Â µ¿¾È µµ¸ÞÀο¡¼­ ½ÇÇà ÁßÀÎ »ç¿ëÀÚ ÇÁ·Î¼¼½º¿¡ ´ëÇÑ ¼Õ»óÀ» ÃÖ¼ÒÈ­Çϸ鼭 ½Ã½ºÅÛ º¸µå¸¦ µ¿ÀûÀ¸·Î À籸¼ºÇÏ°í ½Ã½ºÅÛ º¸µå¸¦ ¾ÈÀüÇÏ°Ô Á¦°ÅÇϰųª ½Ã½ºÅÛ¿¡ ¼³Ä¡ÇÒ ¼ö ÀÖ½À´Ï´Ù.

DRÀ» »ç¿ëÇÏ¿© ´ÙÀ½À» ¼öÇàÇÒ ¼ö ÀÖ½À´Ï´Ù.

¸í·ÉÁÙ ÀÎÅÍÆäÀ̽º

DR ¼ÒÇÁÆ®¿þ¾î¿¡´Â cfgadm ¸í·ÉÀ» »ç¿ëÇÏ´Â ¸í·ÉÁÙ ÀÎÅÍÆäÀ̽º(CLI)°¡ Àִµ¥, À̰ÍÀº ±¸¼º °ü¸® ÇÁ·Î±×·¥ÀÔ´Ï´Ù. DR ¿¡ÀÌÀüÆ®´Â ¶ÇÇÑ Sunª Management Center ±×·¡ÇÈ »ç¿ëÀÚ ÀÎÅÍÆäÀ̽º¿¡ ´ëÇÑ ¿ø°Ý ÀÎÅÍÆäÀ̽º¸¦ Á¦°øÇÕ´Ï´Ù.

±×·¡ÇÈ »ç¿ëÀÚ ÀÎÅÍÆäÀ̽º

¼±ÅÃÀûÀÎ Sun Management Center ¼ÒÇÁÆ®¿þ¾î(3.0 ¹öÀüÀ¸·Î ½ÃÀÛ)´Â cfgadm DR ¸í·ÉÁÙ ÀÎÅÍÆäÀ̽º(CLI)¿¡ ´ëÇÑ ±×·¡ÇÈ »ç¿ëÀÚ ÀÎÅÍÆäÀ̽º(GUI) »Ó ¾Æ´Ï¶ó µµ¸ÞÀÎ °ü¸® °°Àº ±â´ÉÀ» Á¦°øÇÕ´Ï´Ù. GUI »ç¿ëÀ» ¼±È£ÇÏ´Â °æ¿ì, ½Ã½ºÅÛ Á¦¾î±â ¼ÒÇÁÆ®¿þ¾î ¹× DR ¼ÒÇÁÆ®¿þ¾îÀÇ ¸í·ÉÁÙ ÀÎÅÍÆäÀ̽º ´ë½Å Sun Management Center ¼ÒÇÁÆ®¿þ¾î¸¦ »ç¿ëÇϽʽÿÀ.

Sun Management Center ¼ÒÇÁÆ®¿þ¾î¸¦ »ç¿ëÇÏ·Á¸é, ½Ã½ºÅÛ Á¦¾î±â º¸µå¸¦ ³×Æ®¿öÅ©¿¡ ¿¬°áÇØ¾ß ÇÕ´Ï´Ù. ³×Æ®¿öÅ©¿¡ ¿¬°áµÇ¸é, ¸í·ÉÁÙ ÀÎÅÍÆäÀ̽º¿Í ±×·¡ÇÈ »ç¿ëÀÚ ÀÎÅÍÆäÀ̽º¸¦ ¸ðµÎ º¼ ¼ö ÀÖ½À´Ï´Ù. Sun Management Center ¼ÒÇÁÆ®¿þ¾î »ç¿ë¹ý¿¡ ´ëÇÑ ÁöħÀºSun Management Center »ç¿ë ¼³¸í¼­ ¹× Sun Management Center Supplement for Sun Fire Midrange Systems¸¦ ÂüÁ¶ÇϽʽÿÀ. ½Ã½ºÅÛ Á¦¾î±â¸¦ ½Ã½ºÅÛ Á¦¾î±â º¸µåÀÇ ³×Æ®¿öÅ© ¿¬°á¿¡ ¿¬°áÇÏ´Â ¹æ¹ý¿¡ ´ëÇØ¼­´Â ½Ã½ºÅÛ ¼³Ä¡ ¹®¼­¸¦ ÂüÁ¶ÇϽʽÿÀ.


DR °³³ä

ÀÌ Àý¿¡¼­´Â Sun Fire Áß±Þ ½Ã½ºÅÛ µµ¸ÞÀΰú °ü·ÃµÈ ÀϹÝÀûÀÎ DR °³³äÀ» ¼³¸íÇÕ´Ï´Ù.

µµ¸ÞÀÎ

Sun Fire Áß±Þ ¼­¹ö´Â ÀÌ ¹®¼­¿¡¼­ µµ¸ÞÀÎÀ̶ó°í ºÎ¸£´Â µ¿Àû ½Ã½ºÅÛ µµ¸ÞÀÎÀ¸·Î ºÐ·ùÇÒ ¼ö ÀÖ½À´Ï´Ù. ÀÌ·¯ÇÑ µµ¸ÞÀÎÀº µµ¸ÞÀο¡ ÇÒ´çµÇ´Â ½Ã½ºÅÛ º¸µå ½½·ÔÀ» ±â¹ÝÀ¸·Î ÇÕ´Ï´Ù. °¢ µµ¸ÞÀÎÀº Çϵå¿þ¾î ÆÄƼ¼ÇÀ¸·Î Àü±âÀûÀ¸·Î ºÐ¸®µÇ´Âµ¥, À̰ÍÀº ÇÑ µµ¸ÞÀο¡¼­ÀÇ ¹®Á¦°¡ ¼­¹öÀÇ ´Ù¸¥ µµ¸ÞÀο¡ ¿µÇâÀ» ÁÖÁö ¾Êµµ·Ï ÇÕ´Ï´Ù.

µµ¸ÞÀÎ ±¸¼º Á¤º¸´Â SC¿¡¼­ À¯Áö º¸¼öµÇ¸ç ½Ã½ºÅÛ º¸µå ½½·ÔÀÌ ³í¸®ÀûÀ¸·Î µµ¸ÞÀÎÀ¸·Î ÆÄƼ¼ÇµÇ´Â ¹æ¹ýÀ» ¼³¸íÇÕ´Ï´Ù. µµ¸ÞÀÎ ±¸¼º¿¡´Â ºó ½½·Ô°ú Á¡À¯µÈ ½½·ÔÀÌ Æ÷ÇԵ˴ϴÙ.

ÁÖ¾îÁø µµ¸ÞÀο¡ »ç¿ëÇÒ ¼ö ÀÖ´Â ½½·ÔÀÇ ¼ö´Â ½Ã½ºÅÛ Á¦¾î±â¿¡¼­ À¯ÁöµÇ´Â »ç¿ë °¡´ÉÇÑ ±¸¼º¿ä¼Ò ¸ñ·Ï¿¡ ÀÇÇØ Á¦¾îµË´Ï´Ù. ½½·ÔÀº µµ¸ÞÀο¡ ÇÒ´çµÈ ÈÄ ÇØ´ç µµ¸ÞÀο¡´Â º¸ÀÌÁö¸¸ ´Ù¸¥ ¸ðµç µµ¸ÞÀο¡´Â º¸ÀÌÁö ¾Ê°í »ç¿ëÇÒ ¼ö ¾ø½À´Ï´Ù. ¿ªÀ¸·Î, ½½·ÔÀ» ÇÒ´çÇÏ°í ´Ù¸¥ µµ¸ÞÀο¡ ±¸¼ºÇÏ·Á¸é ½½·ÔÀ» µµ¸ÞÀο¡¼­ ´ÜÀýÇϰí ÇÒ´ç Ãë¼ÒÇØ¾ß ÇÕ´Ï´Ù.

³í¸® µµ¸ÞÀÎÀº µµ¸ÞÀο¡ ÇÒ´çµÈ ½½·ÔÀÇ ÁýÇÕÀÔ´Ï´Ù. ½ÇÁ¦ µµ¸ÞÀÎÀº ½ÇÁ¦·Î »óÈ£¿¬°áµÇ´Â º¸µåÀÇ ÁýÇÕÀÔ´Ï´Ù. ½½·ÔÀº ½ÇÁ¦ µµ¸ÞÀÎÀÇ ÀϺÎÀÏ ÇÊ¿ä ¾øÀÌ ³í¸® µµ¸ÞÀÎÀÇ ±¸¼º¿øÀÏ ¼ö ÀÖ½À´Ï´Ù. µµ¸ÞÀÎÀÌ ½Ãµ¿µÈ ÈÄ ½Ã½ºÅÛ º¸µå´Â ³í¸® µµ¸ÞÀÎÀ¸·Î ÇÒ´çµÉ ¼ö ÀÖ½À´Ï´Ù. ±×·¯³ª, ¿î¿µ üÁ¦°¡ ¿äûÇÒ ¶§±îÁö´Â ½ÇÁ¦ µµ¸ÞÀÎÀÇ ÀϺΰ¡ µÇÁö ¾Ê½À´Ï´Ù. µµ¸ÞÀο¡ ÇÒ´çµÇÁö ¾ÊÀº ½Ã½ºÅÛ º¸µå ¶Ç´Â ½½·ÔÀº º¸µå ¶Ç´Â ½½·ÔÀÌ »ç¿ë °¡´ÉÇÑ ±¸¼º¿ä¼Ò ¸ñ·Ï¿¡ ÀÖ´Â ¸ðµç µµ¸ÞÀο¡¼­ »ç¿ëÇÒ ¼ö ÀÖ½À´Ï´Ù. º¸µå´Â Ç÷§Æû ÄַܼκÎÅÍ µµ¸ÞÀο¡ ÇÒ´çµÇ°Å³ª ¶Ç´Â º¸µå°¡ ÇØ´ç µµ¸ÞÀο¡ ´ëÇÑ »ç¿ë °¡´ÉÇÑ ±¸¼º¿ä¼Ò ¸ñ·Ï¿¡ ÀÖ´Â °æ¿ì µµ¸ÞÀÎ ÄַܼκÎÅÍ µµ¸ÞÀο¡ ÇÒ´çµÉ ¼ö ÀÖ½À´Ï´Ù. µµ¸ÞÀο¡ ´ëÇÑ »ç¿ë °¡´ÉÇÑ ±¸¼º¿ä¼Ò ¸ñ·ÏÀº Ç÷§Æû Äֿܼ¡ ÀÇÇØ¼­¸¸ ¼öÁ¤µÉ ¼ö ÀÖ½À´Ï´Ù.

ºÐ¸®¼º(Detachability)

ÀåÄ¡°¡ ºÐ¸® °¡´ÉÇÏ·Á¸é, ´ÙÀ½ Ç׸ñÀ» ÁؼöÇØ¾ß ÇÕ´Ï´Ù.

ÀϺΠº¸µå´Â ±×ÀÇ ÀÚ¿øÀ» Á¦°ÅÇÒ ¼ö ¾ø±â ¶§¹®¿¡ ºÐ¸®ÇÒ ¼ö ¾ø½À´Ï´Ù. ¿¹¸¦ µé¾î, µµ¸ÞÀο¡ ´Ü ÇϳªÀÇ CPU º¸µå°¡ ÀÖ´Â °æ¿ì, ÇØ´ç CPU º¸µå´Â ºÐ¸®ÇÒ ¼ö ¾ø½À´Ï´Ù. ½Ãµ¿ ÀåÄ¡¿¡ Àå¾Ö Á¶Ä¡ ±â´ÉÀÌ ±¸ÇöµÇÁö ¾Ê´Â °æ¿ì, ÇØ´ç ÀåÄ¡¿¡ ¿¬°áµÈ I/O º¸µå´Â ºÐ¸®ÇÒ ¼ö ¾ø½À´Ï´Ù.

I/O º¸µå¿¡ ´ëÇÑ º¹¼ö °æ·Î°¡ ¾ø´Â °æ¿ì, ´ÙÀ½À» ¼öÇàÇÒ ¼ö ÀÖ½À´Ï´Ù.

Á¤Áö(Quiescence)

¿µ±¸ ¸Þ¸ð¸®(OpenBootª PROM ¶Ç´Â Ä¿³Î ¸Þ¸ð¸®)¸¦ °®´Â ½Ã½ºÅÛ º¸µå¿¡ ´ëÇÑ ±¸¼º ÇØÁ¦ Á¶ÀÛ Áß¿¡, ¿î¿µ üÁ¦°¡ ÀϽÃÀûÀ¸·Î ÀϽÃÁߴܵǸç, À̰ÍÀ» ¿î¿µ üÁ¦ Á¤Áö¶ó°í ÇÕ´Ï´Ù. Á¶ÀÛÀÇ Áß¿äÇÑ ´Ü°è Áß¿¡´Â Áß¾ÓÆÇ¿¡¼­ÀÇ ¸ðµç ¿î¿µ üÁ¦ ¹× ÀåÄ¡ Ȱµ¿ÀÌ ÁߴܵǾî¾ß ÇÕ´Ï´Ù.

º¸µå°¡ ¿µ±¸ ¸Þ¸ð¸®¸¦ ±¸¼ºÇÏ´ÂÁö ¿©ºÎ¸¦ ÆÇ´ÜÇÏ´Â ºü¸¥ ¹æ¹ýÀº ½´ÆÛÀ¯Àú·Î½á ´ÙÀ½ ¸í·É¾î¸¦ ½ÇÇàÇÏ´Â °ÍÀÔ´Ï´Ù.


# cfgadm -av | grep permanent

 

½Ã½ºÅÛÀº ´ÙÀ½°ú °°Àº Ãâ·ÂÀ» ³ªÅ¸³»¸ç ½Ã½ºÅÛ º¸µå 0À» ¼³¸íÇÕ´Ï´Ù.


N0.SB0::memory connected configured ok base address 0x0, 4194304
 KBytes total, 668072 KBytes permanent

 

¿î¿µ üÁ¦°¡ Á¤Áö(quiescence)¸¦ ´Þ¼ºÇϱâ Àü¿¡, ÀϽÃÀûÀ¸·Î ¸ðµç ÇÁ·Î¼¼½º, CPU ¹× ÀåÄ¡ Ȱµ¿À» ÀϽÃÁß´ÜÇØ¾ß ÇÕ´Ï´Ù. ¿î¿µ üÁ¦°¡ Á¤Áö(quiescence)¸¦ ´Þ¼ºÇÒ ¼ö ¾ø´Â °æ¿ì, ±× ÀÌÀ¯¸¦ Ç¥½ÃÇÏ¸ç ´ÙÀ½À» Æ÷ÇÔÇÒ ¼ö ÀÖ½À´Ï´Ù.

ÇÁ·Î¼¼½º°¡ ÀϽÃÁß´ÜÇÏÁö ¸øÇÏ°Ô ÇÏ´Â Á¶°ÇÀº Á¾Á¾ ÀϽÃÀûÀÔ´Ï´Ù. Àå¾Ö°¡ ¹ß»ýÇϸé Àå¾Ö¿¡ ´ëÇÑ ÀÌÀ¯¸¦ Á¶»çÇϽʽÿÀ. ¿î¿µ üÁ¦´Â ÀϽÃÀûÀÎ »óÅÂ(ÇÁ·Î¼¼½º ÀϽÃÁß´Ü ½ÇÆÐ)°¡ ¹ß»ýÇÑ °æ¿ì, Á¶ÀÛÀ» ´Ù½Ã ½ÃµµÇÒ ¼ö ÀÖ½À´Ï´Ù.

¿µ±¸ ¸Þ¸ð¸®´Â Solaris Ä¿³Î ¹× µ¥ÀÌÅͰ¡ Á¸ÀçÇÏ´Â °÷ÀÔ´Ï´Ù. ´Ù¸¥ º¸µå¿¡ »óÁÖÇÏ´Â »ç¿ëÀÚ ÇÁ·Î¼¼½º°¡ ½º¿Ò ÀåÄ¡·Î ÆäÀÌÁö¸¦ ¿Å°Ü ¸Þ¸ð¸®¸¦ ÇØÁ¦ÇÏ´Â °Í°ú °°ÀÌ Ä¿³ÎÀº ¸Þ¸ð¸®¿¡¼­ ÇØÁ¦µÉ ¼ö ¾ø½À´Ï´Ù. ´ë½Å, cfgadmÀº º¹»ç-À̸§º¯°æÀ» ½ÇÇàÇÏ¿© ¸Þ¸ð¸®¸¦ ÇØÁ¦ÇÒ ¼ö ÀÖ½À´Ï´Ù.

º¹»ç-À̸§º¯°æ µ¿ÀÛÀ» ÇÏ·Á¸é ¿ì¼± ¸ðµç I/O µ¿ÀÛÀ» ÁßÁö½ÃÄÑ ½Ã½ºÅÛÀÇ ¸ðµç ¸Þ¸ð¸® Ȱµ¿À» ÁßÁöÇØ¾ß Çϸç, À̰ÍÀ» Á¤Áö¶ó°í ÇÕ´Ï´Ù. Á¤Áö ½Ã°£ µ¿¾È ½Ã½ºÅÛÀº Áß´ÜµÇ¸ç ³×Æ®¿öÅ© ÆÐŶ°ú °°Àº ¿ÜºÎ Ȱµ¿¿¡ ÀÀ´äÇÏÁö ¾Ê½À´Ï´Ù. Á¤Áö ±â°£Àº ´ÙÀ½ µÎ °¡Áö ¿äÀο¡ µû¶ó ´Ù¸¨´Ï´Ù. ÁßÁöµÇ¾î¾ß ÇÒ I/O ÀåÄ¡ ¹× ½º·¹µå °³¼ö ¹× ÇÊ¿äÇÑ ¸Þ¸ð¸® ¿ë·®. ÀϹÝÀûÀ¸·Î, I/O ÀåÄ¡´Â ÁßÁö/µ¿À۵Ǿî¾ß ÇϹǷΠI/O ÀåÄ¡ÀÇ ¼ö´Â ÇÊ¿äÇÑ Á¤Áö ½Ã°£À» ÆÇ´ÜÇÕ´Ï´Ù. Á¤Áö »óÅ´ ÀϹÝÀûÀ¸·Î 2ºÐ ÀÌ»ó Áö¼ÓµË´Ï´Ù.

Á¤Áö µ¿ÀÛÀº ¸íÈ®ÇÑ ¿µÇâÀ» ³¢Ä¡¹Ç·Î, cfgadmÀº Á¤Áö ½ÇÇà Àü¿¡ È®ÀÎÀ» ¿äûÇÕ´Ï´Ù. ´ÙÀ½°ú °°ÀÌ ÀÔ·ÂÇÒ °æ¿ì,


# cfgadm -c configure N0.SB1

 

½Ã½ºÅÛÀº È®ÀÎÀ» ¿ä±¸ÇÏ´Â ÇÁ·ÒÇÁÆ®·Î ÀÀ´äÇÕ´Ï´Ù.


System may be temporarily suspended, proceed (yes/no)?

 

Sun Management Center¸¦ »ç¿ëÇÏ¿© DR µ¿ÀÛÀ» ½Ç½ÃÇÏ´Â °æ¿ì, ÆË¾÷ âÀÌ ÀÌ ÇÁ·ÒÇÁÆ®¸¦ ³ªÅ¸³À´Ï´Ù.

ÁßÁö¸¦ °è¼Ó ÇÏ·Á¸é Yes¸¦ ÀÔ·ÂÇϽʽÿÀ.

ÀϽÃÁß´Ü ¾ÈÀü(Suspend-Safe) ¹× ÀϽÃÁß´Ü ºÒ¾ÈÀü(Suspend-Unsafe) ÀåÄ¡

DRÀÌ ¿î¿µ üÁ¦¸¦ ÀϽÃÁß´ÜÇÒ ¶§, ¿î¿µ üÁ¦¿¡ ¿¬°áµÈ ¸ðµç ÀåÄ¡ µå¶óÀ̹öµµ ÀϽÃÁߴܵǾî¾ß ÇÕ´Ï´Ù. µå¶óÀ̹ö°¡ ÀϽÃÁß´ÜµÉ ¼ö ¾ø´Â(¶Ç´Â ¹Ù·Î µÚ¿¡ Àç°³µÇ´Â) °æ¿ì, DR Á¶ÀÛÀÌ ½ÇÆÐÇÕ´Ï´Ù.

ÀϽÃÁß´Ü ¾ÈÀü(suspend-safe) ÀåÄ¡´Â ¿î¿µ üÁ¦°¡ Á¤Áö(quiescence) »óÅ¿¡ ÀÖ´Â µ¿¾È ¸Þ¸ð¸®¿¡ ¾×¼¼½ºÇϰųª ½Ã½ºÅÛÀ» ÀÎÅÍ·´Æ®ÇÏÁö ¾Ê½À´Ï´Ù. µå¶óÀ̹ö°¡ ¿î¿µ üÁ¦ Á¤Áö(ÀϽÃÁß´Ü/Àç°³)¸¦ Áö¿øÇÏ´Â °æ¿ì, ÀÌ µå¶óÀ̹ö´Â ÀϽÃÁß´Ü¿¡ ¾ÈÀüÇÕ´Ï´Ù. ¶ÇÇÑ ÀϽÃÁß´Ü ¾ÈÀü(suspend-safe) µå¶óÀ̹ö´Â ÀϽÃÁß´Ü ¿äûÀÌ ÀÌ·ç¾îÁú ¶§ µå¶óÀ̹ö°¡ °ü¸®ÇÏ´Â ÀåÄ¡°¡ ¿­¸° °æ¿ì¿¡µµ, ÀϽÃÁß´Ü ¿äûÀÌ ¼º°øÀûÀ¸·Î ¿Ï·áµÉ ¶§ ÇØ´ç ÀåÄ¡°¡ ¸Þ¸ð¸®¿¡ ¾×¼¼½ºÇÏ·Á°í ½ÃµµÇÏÁö ¾ÊÀ» °ÍÀ» º¸ÀåÇÕ´Ï´Ù.

ÀϽÃÁß´Ü ºÒ¾ÈÀü(suspend-unsafe) ÀåÄ¡´Â ¿î¿µ üÁ¦°¡ Á¤Áö(quiescence) »óÅ¿¡ ÀÖ´Â µ¿¾È ¸Þ¸ð¸® ¾×¼¼½º ¶Ç´Â ½Ã½ºÅÛ ¹æÇظ¦ Çã¿ëÇÕ´Ï´Ù.

Á¢¼Ó ÁöÁ¡

Á¢¼Ó ÁöÁ¡Àº º¸µå ¹× ±×ÀÇ ½½·Ô¿¡ ´ëÇÑ ÁýÇÕÀû ¿ë¾îÀÔ´Ï´Ù. DRÀº ½½·Ô, º¸µå ¹× Á¢¼Ó ÁöÁ¡ÀÇ »óŸ¦ Ç¥½ÃÇÒ ¼ö ÀÖ½À´Ï´Ù. º¸µåÀÇ DR Á¤ÀÇ´Â ¶ÇÇÑ º¸µå¿¡ ¿¬°áµÈ ÀåÄ¡¸¦ Æ÷ÇÔÇϹǷÎ, "Á¡À¯ÀÚ"¶ó´Â ¿ë¾î´Â º¸µå ¹× Á¢¼ÓµÈ ÀåÄ¡ÀÇ Á¶ÇÕÀ» ÀǹÌÇÕ´Ï´Ù.

Á¢¼Ó ÁöÁ¡À» ÀǹÌÇÒ ¶§ »ç¿ëµÇ´Â µÎ °¡Áö Çü½ÄÀÌ ÀÖ½À´Ï´Ù.

 

¿©±â¼­ N0´Â ³ëµå 0(¿µ),

SB´Â ½Ã½ºÅÛ º¸µå,

IB´Â I/O º¸µå, ±×¸®°í

x´Â ½½·Ô ¹øÈ£ÀÔ´Ï´Ù. ½½·Ô ¹øÈ£ÀÇ ¹üÀ§´Â ½Ã½ºÅÛ º¸µåÀÇ °æ¿ì 0ºÎÅÍ 5±îÁö, I/O º¸µåÀÇ °æ¿ì 6ºÎÅÍ 9±îÁöÀÔ´Ï´Ù.

 

DR Á¶ÀÛ

4°¡Áö ±âº» À¯ÇüÀÇ DR Á¶ÀÛÀÌ ÀÖ½À´Ï´Ù.


Á¶ÀÛ

¼³¸í

¿¬°á

½½·ÔÀÌ º¸µå¿¡ Àü¿øÀ» °ø±ÞÇÏ°í º¸µå ¿Âµµ¸¦ ¸ð´ÏÅÍÇÕ´Ï´Ù. I/O º¸µåÀÇ °æ
¿ì, ¿¬°á Á¶ÀÛÀº ±¸¼º Á¶ÀÛ¿¡ Æ÷ÇԵ˴ϴÙ.

±¸¼º

¿î¿µ üÁ¦°¡ º¸µå¿¡ ±â´É ¿ªÇÒÀ» ÁöÁ¤ÇÏ°í º¸µå ¹× º¸µå¿¡ Á¢¼ÓµÈ ÀåÄ¡¿¡ ´ëÇÑ ÀåÄ¡ µå¶óÀ̹ö¸¦ ·ÎµåÇÕ´Ï´Ù.

±¸¼º ÇØÁ¦

½Ã½ºÅÛÀÌ ¿î¿µ üÁ¦¿¡¼­ º¸µå¸¦ ³í¸®ÀûÀ¸·Î ºÐ¸®ÇÏ°í ¿¬°üµÈ ÀåÄ¡ µå¶óÀ̹ö¸¦ ¿ÀÇÁ¶óÀÎÀ¸·Î ¸¸µì´Ï´Ù. ȯ°æ ¸ð´ÏÅ͸µÀº °è¼ÓµÇÁö¸¸, º¸µåÀÇ ÀåÄ¡¸¦ ½Ã½ºÅÛÀÌ »ç¿ëÇÒ ¼ö ¾ø½À´Ï´Ù.

´ÜÀý

½Ã½ºÅÛÀÌ º¸µå ¸ð´ÏÅ͸µÀ» ÁßÁöÇϰí, ½½·Ô Àü¿øÀÌ ²¨Áý´Ï´Ù.


 

½Ã½ºÅÛ º¸µå°¡ »ç¿ë ÁßÀÎ °æ¿ì, »ç¿ëÀ» ÁßÁöÇÏ°í »ç¿ëÀÚ°¡ Àü¿øÀ» ²ô±â Àü¿¡ µµ¸ÞÀο¡¼­ ´ÜÀýÇÕ´Ï´Ù. »õ ½Ã½ºÅÛ º¸µå ¶Ç´Â ¾÷±×·¹À̵åµÈ ½Ã½ºÅÛ º¸µå¸¦ »ðÀÔÇϰí Àü¿øÀ» ÄÒ ÈÄ, ÇØ´ç Á¢¼Ó ÁöÁ¡À» ¿¬°áÇÏ°í ¿î¿µ üÁ¦°¡ »ç¿ëÇϵµ·Ï ±¸¼ºÇÕ´Ï´Ù.

cfgadm(1M) ¸í·ÉÀÌ ÇϳªÀÇ ¸í·É¿¡¼­ ¿¬°á ¹× ±¸¼º(¶Ç´Â ±¸¼º ÇØÁ¦ ¹× ´ÜÀý)ÇÒ ¼ö ÀÖÁö¸¸, ÇÊ¿äÇÑ °æ¿ì °¢ Á¶ÀÛ(¿¬°á, ±¸¼º, ±¸¼º ÇØÁ¦ ¶Ç´Â ´ÜÀý)À» º°µµ·Î ¼öÇàÇÒ ¼ö ÀÖ½À´Ï
´Ù.

ÇÖ Ç÷¯±× Çϵå¿þ¾î

ÇÖ Ç÷¯±× º¸µå¿Í ¸ðµâÀº µ¥ÀÌÅÍ ÇÉÀÌ Á¢ÃËÇϱâ Àü¿¡ º¸µå³ª ¸ðµâ¿¡ Àü·ÂÀ» °ø±ÞÇϴ Ư¼öÇÑ Ä¿³ØÅ͸¦ °®½À´Ï´Ù. ÇÖ Ç÷¯±× Ä¿³ØÅͰ¡ ÀÖ´Â º¸µå¿Í ÀåÄ¡´Â ½Ã½ºÅÛÀÌ ½ÇÇà ÁßÀÎ µ¿¾È »ðÀÔÇϰųª Á¦°ÅÇÒ ¼ö ÀÖ½À´Ï´Ù.

Sun Fire Áß±Þ ¼­¹ö¿¡¼­ »ç¿ëµÇ´Â I/O º¸µå¿Í CPU/¸Þ¸ð¸® º¸µå´Â ÇÖ Ç÷¯±× ÀåÄ¡ÀÔ´Ï
´Ù. ÁÖº¯ÀåÄ¡ Àü¿ø °ø±ÞÀåÄ¡ °°Àº ÀϺΠÀåÄ¡´Â ÇÖ Ç÷¯±× ¸ðµâÀÌ ¾Æ´Ï¸ç ½Ã½ºÅÛÀÌ ½ÇÇà ÁßÀÏ ¶§´Â Á¦°ÅÇÒ ¼ö ¾ø½À´Ï´Ù.

Á¶°Ç ¹× »óÅÂ

»óÅ´ Äܼ¾Æ®(½½·Ô) ¶Ç´Â Á¡À¯ÀÚ(º¸µå) Áß ÇϳªÀÇ µ¿ÀÛ »óÅÂÀÔ´Ï´Ù. Á¶°ÇÀº Á¢¼Ó ÁöÁ¡ÀÇ µ¿ÀÛ »óÅÂÀÔ´Ï´Ù.

µµ¸ÞÀÎÀÇ º¸µå³ª ±¸¼º¿ä¼Ò¿¡ ´ëÇØ DR Á¶ÀÛÀ» ¼öÇàÇÏ·Á°í ½ÃµµÇϱâ Àü¿¡, »óÅÂ¿Í Á¶°ÇÀ» ÆÇº°ÇØ¾ß ÇÕ´Ï´Ù. µµ¸ÞÀο¡ ÀÖ´Â °¢ ±¸¼º¿ä¼ÒÀÇ À¯Çü, »óÅ ¹× Á¶°Ç°ú °¢ º¸µå ½½·ÔÀÇ »óÅÂ¿Í Á¶°ÇÀ» Ç¥½ÃÇÏ·Á¸é -la ¿É¼ÇÀ» °®´Â cfgadm(1M) ¸í·ÉÀ» »ç¿ëÇϽʽÿÀ. ±¸¼º¿ä¼Ò À¯ÇüÀÇ ¸ñ·ÏÀº ±¸¼º¿ä¼Ò À¯Çü ÀýÀ» ÂüÁ¶ÇϽʽÿÀ.


º¸µåÀÇ »óÅÂ, Á¶°Ç ¹× Ŭ·¡½º

ÀÌ Àý¿¡¼­´Â ½Ã½ºÅÛ º¸µå(½Ã½ºÅÛ ½½·ÔÀ̶ó°íµµ ÇÔ)ÀÇ »óÅÂ, Á¶°Ç ¹× Ŭ·¡½º¸¦ ¼³¸íÇÕ´Ï´Ù.

º¸µå Äܼ¾Æ® »óÅÂ

º¸µå´Â empty(ºñ¾î ÀÖÀ½), disconnected(´ÜÀýµÊ) ¶Ç´Â connected(¿¬°áµÊ)ÀÇ ¼¼ °¡Áö »óÅ Áß Çϳª¸¦ °¡Áú ¼ö ÀÖ½À´Ï´Ù. º¸µå¸¦ »ðÀÔÇÒ ¶§¸¶´Ù, Äܼ¾Æ® »óŰ¡ empty¿¡¼­ disconnected·Î º¯°æµË´Ï´Ù. º¸µå¸¦ Á¦°ÅÇÒ ¶§¸¶´Ù, Äܼ¾Æ® »óŰ¡ disconnected¿¡¼­ empty·Î º¯°æµË´Ï´Ù.



caution icon

ÁÖÀÇ - ¿¬°áµÈ(connected) »óÅ¿¡ Àְųª, Àü¿øÀÌ ÄÑÁö°í ´ÜÀýµÈ(disconnected) »óÅ¿¡ ÀÖ´Â º¸µå¸¦ ¹°¸®ÀûÀ¸·Î Á¦°ÅÇÏ¸é ¿î¿µ üÁ¦¿Í Ãæµ¹Çϰí ÇØ´ç ½Ã½ºÅÛ º¸µå°¡ ¿µ±¸ÀûÀ¸·Î ¼Õ»óµÉ ¼ö ÀÖ½À´Ï´Ù.




À̸§

¼³¸í

empty

º¸µå°¡ Á¸ÀçÇÏÁö ¾Ê½À´Ï´Ù.

disconnected

º¸µå°¡ ½Ã½ºÅÛ ¹ö½º¿¡¼­ ´ÜÀýµË´Ï´Ù. º¸µå´Â Àü¿øÀ» ²ôÁö ¾Ê°í ´ÜÀýµÈ(disconnected) »óÅ¿¡ ÀÖÀ» ¼ö ÀÖ½À´Ï´Ù. ±×·¯³ª, º¸µå¸¦ ½½·Ô¿¡¼­ Á¦°ÅÇϱâ Àü¿¡ º¸µåÀÇ Àü¿øÀÌ ²¨Áö°í ´ÜÀýµÈ(disconnected) »óÅ¿¡ ÀÖ¾î¾ß ÇÕ´Ï´Ù.

connected

º¸µå°¡ ÄÑÁö°í ½Ã½ºÅÛ ¹ö½º¿¡ ¿¬°áµÇ¾î ÀÖ½À´Ï´Ù. º¸µå°¡ ¿¬°áµÈ(connected) »óÅ¿¡ ÀÖÀ» ¶§¸¸ º¸µåÀÇ ±¸¼º¿ä¼Ò¸¦ º¼ ¼ö ÀÖ½À´Ï´Ù.


º¸µå Á¡À¯ÀÚ »óÅÂ

º¸µå´Â ±¸¼º(configured) ¶Ç´Â ±¸¼º ÇØÁ¦(unconfigured)ÀÇ µÎ °¡Áö Á¡À¯ÀÚ »óÅ Áß Çϳª¸¦ °¡Áú ¼ö ÀÖ½À´Ï´Ù. ´ÜÀýµÈ º¸µåÀÇ Á¡À¯ÀÚ »óÅ´ Ç×»ó ±¸¼º ÇØÁ¦(unconfigured)ÀÔ´Ï´Ù.


À̸§

¼³¸í

configured

º¸µå¿¡ ÀÖ´Â ÃÖ¼ÒÇÑ ÇϳªÀÇ ±¸¼º¿ä¼Ò°¡ ±¸¼ºµË´Ï´Ù.

unconfigured

º¸µåÀÇ ¸ðµç ±¸¼º¿ä¼Ò°¡ ±¸¼º ÇØÁ¦µÇ¾î ÀÖ½À´Ï´Ù.


 

º¸µå Á¶°Ç

º¸µå´Â unknown(¾Ë·ÁÁöÁö ¾ÊÀ½), ok(Á¤»ó), failed(°íÀå) ¶Ç´Â unusable(»ç¿ë ºÒ°¡´É)ÀÇ 4°¡Áö Á¶°ÇÀ» °®½À´Ï´Ù.


À̸§

¼³¸í

unknown

º¸µå°¡ Å×½ºÆ®µÇÁö ¾Ê¾Ò½À´Ï´Ù.

ok

º¸µå°¡ ÀÛµ¿ÇÕ´Ï´Ù.

failed

º¸µå Å×½ºÆ®°¡ ½ÇÆÐÇß½À´Ï´Ù.

unusable

º¸µå ½½·ÔÀÌ »ç¿ë ºÒ°¡´ÉÇÕ´Ï´Ù.


 

º¸µå Ŭ·¡½º

cfgadm ¸í·ÉÀ» ½ÇÇàÇϸé "sbd" Ŭ·¡½ºÀÇ Sun Fire Áß±Þ ¼­¹ö ½Ã½ºÅÛ º¸µå¿Í "pci" Ŭ·¡½ºÀÇ CompactPCI (cPCI) Ä«µå°¡ Ç¥½ÃµË´Ï´Ù.

Á¢¼Ó ÁöÁ¡°ú ¿¬°áµÈ Ŭ·¡½º¸¦ º¸·Á¸é, ½´ÆÛÀ¯Àú·Î½á ´ÙÀ½ÀÇ ¸í·É¾î¸¦ ½ÇÇàÇÕ´Ï´Ù.


# cfgadm -s "cols=ap_id:class"

 

µ¿Àû Á¢¼Ó ÁöÁ¡ ¹× ÇØ´ç Ŭ·¡½º¸¦ ³ª¿­ÇÏ·Á¸é, cfgadm ¸í·É¾îÀÇ -a ¿É¼ÇÀ» ÀÌÀü ¸í·É¿¡ ´ëÇÑ Àμö·Î½á Ãß°¡ÇÕ´Ï´Ù.


±¸¼º¿ä¼Ò »óÅÂ, Á¶°Ç ¹× À¯Çü

ÀÌ Àý¿¡¼­´Â ±¸¼º¿ä¼ÒÀÇ »óÅ ¹× Á¶°Ç, ±×¸®°í À¯Çü¿¡ ´ëÇØ ¼³¸íÇÕ´Ï´Ù.

±¸¼º¿ä¼Ò Äܼ¾Æ® »óÅÂ

±¸¼º¿ä¼Ò´Â °³º°ÀûÀ¸·Î ¿¬°á ¶Ç´Â ´ÜÀýÇÒ ¼ö ¾ø½À´Ï´Ù. µû¶ó¼­, ±¸¼º¿ä¼Ò´Â connected
(¿¬°áµÊ)¶ó´Â ÇϳªÀÇ »óŸ¸À» °¡Áú ¼ö ÀÖ½À´Ï´Ù.

±¸¼º¿ä¼Ò Á¡À¯ÀÚ »óÅÂ

±¸¼º¿ä¼Ò´Â configured(±¸¼º) ¶Ç´Â unconfigured(±¸¼º ÇØÁ¦)ÀÇ µÎ °¡Áö Á¡À¯ÀÚ »óÅ Áß Çϳª¸¦ °¡Áú ¼ö ÀÖ½À´Ï´Ù.


À̸§

¼³¸í

configured

Solaris ¼ÒÇÁÆ®¿þ¾î°¡ ±¸¼º¿ä¼Ò¸¦ »ç¿ëÇÒ ¼ö ÀÖ½À´Ï´Ù.

unconfigured

Solaris ¼ÒÇÁÆ®¿þ¾î°¡ ±¸¼º¿ä¼Ò¸¦ »ç¿ëÇÒ ¼ö ¾ø½À´Ï´Ù.


 

±¸¼º¿ä¼Ò Á¶°Ç

±¸¼º¿ä¼Ò´Â unknown(¾Ë ¼ö ¾øÀ½), ok(Á¤»ó), failed(°íÀå)ÀÇ ¼¼ °¡Áö Á¶°Ç Áß Çϳª¸¦ °®½À´Ï´Ù.


À̸§

¼³¸í

unknown

±¸¼º¿ä¼Ò°¡ Å×½ºÆ®µÇÁö ¾Ê¾Ò½À´Ï´Ù.

ok

±¸¼º¿ä¼Ò°¡ µ¿ÀÛÇÕ´Ï´Ù.

failed

±¸¼º¿ä¼Ò Å×½ºÆ®°¡ ½ÇÆÐÇß½À´Ï´Ù.


 

±¸¼º¿ä¼Ò À¯Çü

DRÀ» »ç¿ëÇÏ¿© ¿©·¯ °¡Áö À¯ÇüÀÇ ±¸¼º¿ä¼Ò¸¦ ±¸¼º ¶Ç´Â ±¸¼º ÇØÁ¦ÇÒ ¼ö ÀÖ½À´Ï´Ù.


À̸§

¼³¸í

cpu

°³º° CPU

memory

º¸µåÀÇ ¸ðµç ¸Þ¸ð¸®

pci

¸ðµç I/O ÀåÄ¡, Á¦¾î±â ¶Ç´Â ¹ö½º


 


I/O º¸µå¿¡ ´ëÇÑ DR

I/O ÀåÄ¡¸¦ °®´Â ½Ã½ºÅÛ º¸µå¸¦ Ãß°¡ ¶Ç´Â Á¦°ÅÇÒ ¶§ ÁÖÀÇÇØ¾ß ÇÕ´Ï´Ù. I/O ÀåÄ¡¸¦ °®´Â º¸µå¸¦ Á¦°ÅÇϱâ Àü¿¡, ±×ÀÇ ¸ðµç ÀåÄ¡°¡ ´ÝÈ÷°í ±×ÀÇ ¸ðµç ÆÄÀÏ ½Ã½ºÅÛÀÌ ¸¶¿îÆ® ÇØÁ¦µÇ¾î¾ß ÇÕ´Ï´Ù.

I/O ÀåÄ¡°¡ ÀÖ´Â ´Ù¸¥ º¸µå°¡ Ãß°¡ ¶Ç´Â Á¦°ÅµÇ±â Àü¿¡ µµ¸ÞÀο¡¼­ I/O ÀåÄ¡°¡ ÀÖ´Â º¸µå¸¦ ÀϽÃÀûÀ¸·Î Á¦°ÅÇÑ ÈÄ ´Ù½Ã Ãß°¡ÇØ¾ß ÇÏ´Â °æ¿ì, À籸¼ºÀº ÇÊ¿äÇÏÁö ¾ÊÀ¸¸ç ¼öÇàÇÒ Çʿ䵵 ¾ø½À´Ï´Ù. ÀÌ °æ¿ì, º¸µå ÀåÄ¡¿¡ ´ëÇÑ ÀåÄ¡ °æ·Î°¡ º¯°æµÇÁö ¾ÊÀº ä·Î ³²¾Æ ÀÖ½À´Ï´Ù.

I/O (IBx) º¸µå¿¡¼­ DR µ¿ÀÛÀ» ¼öÇàÇϱâ Àü¿¡ vold µ¥¸óÀ» ÁßÁöÇÏ·Á¸é ´ÙÀ½ ¸í·ÉÀ» ÀÔ·ÂÇϽʽÿÀ.


# sh /etc/init.d/volmgt stop

 

DR µ¿ÀÛÀÌ ¼º°øÀûÀ¸·Î ¿Ï·áµÈ ÈÄ ´ÙÀ½ ¸í·ÉÀ» ÀÔ·ÂÇÏ¿© vold µ¥¸óÀ» Àç½ÃÀÛ ÇϽʽÿÀ.


# sh /etc/init.d/volmgt start

 

Sun Fire Áß±Þ ½Ã½ºÅÛ¿¡¼­ DRÀº SAI/P (BugID 4466378) ¹× HIPPI/P ¸ðµÎ¸¦ Áö¿øÇÏÁö ¾Ê½À´Ï´Ù. ÀÌÀü ¸±¸®½º´Â SunHSI/P µå¶óÀ̹ö¸¦ Áö¿øÇÏÁö ¾Ê¾ÒÁö¸¸, Áö¿øÀ» ¹æÇØÇß´ø ¹ö±× 4496362°¡ 106922 (2.0) ¹×109715 (3.0) ÆÐÄ¡¿¡¼­ ¼öÁ¤µÇ¾ú½À´Ï´Ù. ÀÚ¼¼ÇÑ ³»¿ëÀº SunSolve¸¦ ÂüÁ¶ÇϽʽÿÀ.

ƯÈ÷ PCI ¿¡¼­ cPCIÀÇ º¯°æ°ú °ü·ÃÇÏ¿© ÁøÇàµÈ ¼öÁ¤»çÇ×À» º¸·Á¸é devfsadm(1M) ¸í·ÉÀ» ½ÇÇàÇØ¾ß ÇÕ´Ï´Ù.

CompactPCI¿¡ ÇÑÁ¤µÈ Á¦ÇÑ»çÇ×

´ÙÀ½ÀÇ Á¦ÇÑ»çÇ×ÀÌ CompactPCI ¾î¼Àºí¸®¸¦ Æ÷ÇÔÇÏ´Â À籸¼º¿¡ Àû¿ëµË´Ï´Ù.

cPCI Ä«µå¸¦ ÀÚµ¿À¸·Î ±¸¼º ÇØÁ¦ÇÏ·Á¸é cPCI Ä«µå¸¦ ´ÜÀýÇÕ´Ï´Ù. ÀÚµ¿ ±¸¼ºÀÌ °¡´ÉÇÒ °æ¿ì, cPCI Ä«µå¸¦ ¿¬°áÇÏ¿© Ä«µå¸¦ ±¸¼ºÇÒ ¼öµµ ÀÖ½À´Ï´Ù. ÀÚµ¿ ±¸¼ºÀÌ ºÒ°¡´ÉÇÒ °æ
¿ì, ¼öµ¿À¸·Î ±¸¼ºÇØ¾ß ÇÕ´Ï´Ù.

I/O ÀåÄ¡ ¹®Á¦ ÇØ°á

¸ðµç I/O ÀåÄ¡´Â ´ÝÀº ÈÄ¿¡ ±¸¼º ÇØÁ¦ÇØ¾ß ÇÕ´Ï´Ù. I/O ÀåÄ¡¿¡ ¹®Á¦°¡ ÀÖ´Â °æ¿ì, ´ÙÀ½ ¸ñ·ÏÀÌ ¹®Á¦¸¦ ±Øº¹ÇÏ´Â µ¥ µµ¿òÀÌ µÉ ¼ö ÀÖ½À´Ï´Ù.



ÁÖ - ndd(1M) ¸í·ÉÀ» »ç¿ëÇÏ¿© ³×Æ®¿öÅ© µå¶óÀ̹ö¿¡ ´ëÇÑ ±¸¼º ¸Å°³º¯¼ö¸¦ ¼³Á¤ÇÏ´Â °æ¿ì, ¸Å°³º¯¼ö°¡ DR Á¶ÀÛ ÈÄ¿¡ Áö¼ÓµÇÁö ¾ÊÀ» ¼ö ÀÖ½À´Ï´Ù. /etc/system ÆÄÀÏ ¶Ç´Â driver.conf ÆÄÀÏÀ» »ç¿ëÇÏ¿© ¸Å°³º¯¼ö¸¦ ¿µ±¸ÀûÀ¸·Î ¼³Á¤ÇϽʽÿÀ.




¿µ±¸ ¹× ºñ¿µ±¸ ¸Þ¸ð¸®

º¸µå¸¦ »èÁ¦Çϱâ Àü¿¡, ¿î¿µ üÁ¦°¡ ÇØ´ç º¸µåÀÇ ¸Þ¸ð¸®¸¦ ºñ¿ö¾ß ÇÕ´Ï´Ù. º¸µå¸¦ ºñ¿î´Ù´Â °ÍÀº º¸µåÀÇ ºñ¿µ±¸Àû ¸Þ¸ð¸®ÀÇ ³»¿ëÀ» ½º¿Ò °ø°£À¸·Î ¿Å±â°í º¸µåÀÇ ¿µ±¸ ¸Þ¸ð¸®(Áï, Ä¿³Î ¹× OpenBootª PROM ¼ÒÇÁÆ®¿þ¾î)ÀÇ ³»¿ëÀ» ´Ù¸¥ ¸Þ¸ð¸® º¸µå·Î º¹»çÇÏ´Â °ÍÀ» ³ªÅ¸³À´Ï´Ù.

¿µ±¸ ¸Þ¸ð¸®¸¦ Àç¹èÄ¡ ÇÏ·Á¸é µµ¸ÞÀÎÀÇ ¸ðµç Ȱµ¿À» ÁßÁöÇÏ¿© ¿î¿µ üÁ¦°¡ ÀϽÃÀûÀ¸·Î ¹Ýµå½Ã Á¤ÁöµÇ¾î¾ß ÇÕ´Ï´Ù. Á¤Áö ±æÀÌ´Â µµ¸ÞÀÎ I/O ±¸¼º ¹× ½ÇÇàÁßÀÎ ÀÛ¾÷ºÎÇÏ¿¡ µû¶ó ´Ù¸¨´Ï´Ù.

¿µ±¸ ¸Þ¸ð¸®¸¦ °®´Â º¸µå ºÐ¸®´Â ¿î¿µ üÁ¦°¡ ÀϽÃÁß´ÜµÉ ¶§»ÓÀ̹ǷÎ, ¿µ±¸ ¸Þ¸ð¸®°¡ »óÁÖÇÏ´Â À§Ä¡¸¦ ¾Ë¾Æ¼­ µµ¸ÞÀÎÀÇ µ¿ÀÛ¿¡ ½É°¢ÇÏ°Ô ¿µÇâÀ» ÁÖ´Â °ÍÀ» ÇÇÇÒ ¼ö ÀÖ¾î¾ß ÇÕ´Ï´Ù. ¿µ±¸ ¸Þ¸ð¸®ÀÇ Å©±â¸¦ Ç¥½ÃÇÏ·Á¸é -av ¿É¼ÇÀ¸·Î cfgadm(1M) ¸í·ÉÀ» »ç¿ëÇÕ´Ï´Ù. ¿µ±¸ ¸Þ¸ð¸®·Î ±¸¼ºµÈ º¸µå¸¦ ºñ¿ì·Á¸é, ¿î¿µ üÁ¦´Â ¿µ±¸ ¸Þ¸ð¸®ÀÇ ÇöÀç ³»¿ëÀ» º¹»çÇÏ°Ô µÉ ¼Ò½º ¸Þ¸ð¸®¸¦ ÀǹÌÇÏ´Â ´ë»ó ¸Þ¸ð¸®¶ó ºÎ¸£´Â Å« ºí·ÏÀÇ »ç¿ë °¡´ÉÇÑ ¸Þ¸ð¸®°¡ ÀÖ¾î¾ß ÇÕ´Ï´Ù.

´ë»ó ¸Þ¸ð¸® Á¦ÇÑ»çÇ×

DRÀº ´ë»ó º¸µå°¡ ¼Ò½º º¸µå¿Í ºñ½ÁÇϰųª ´õ Å« ¸Þ¸ð¸®¸¦ °¡Áö°í ÀÖ´Â °æ¿ì¿¡¸¸ ÇϳªÀÇ ½Ã½ºÅÛ º¸µå¿¡¼­ ´Ù¸¥ ½Ã½ºÅÛ º¸µå·Î ¿µ±¸ ¸Þ¸ð¸®ÀÇ À籸¼ºÀ» Áö¿øÇÕ´Ï´Ù. ¸Þ¸ð¸®°¡ ÃæºÐÇÏÁö ¾ÊÀ» °æ¿ì ½Ã½ºÅÛÀº DR µ¿ÀÛÀ» Çã¿ëÇÏÁö ¾Ê½À´Ï´Ù. ¸Þ¸ð¸®°¡ ÃæºÐÇÒ °æ¿ì Ãß°¡ ¸Þ¸ð¸®°¡ °¡¿ë ¸Þ¸ð¸® Ç®¿¡ Ãß°¡µË´Ï´Ù.


DR °³³äÀÇ ½Ç·Ê

DRÀ» »ç¿ëÇÏ¸é ½Ã½ºÅÛÀ» Á¤Áö½ÃŰÁö ¾Ê°í ½Ã½ºÅÛ º¸µå¸¦ ´ÜÀýÇÑ ÈÄ ´Ù½Ã ¿¬°áÇÒ ¼ö ÀÖ½À´Ï´Ù. DRÀ» »ç¿ëÇÏ¿© ½Ã½ºÅÛÀÌ °è¼Ó ÀÛµ¿ÇÏ´Â µ¿¾È ½Ã½ºÅÛ ÀÚ¿øÀ» Ãß°¡Çϰųª Á¦°ÅÇÒ ¼ö ÀÖ½À´Ï´Ù.

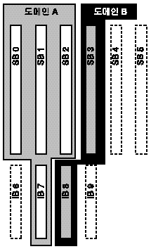
½Ã½ºÅÛ ÀÚ¿øÀÇ À籸¼º ¿¹·Î¼­, ¾Æ·¡ ±×¸²¿¡ ¹¦»çµÈ °Íó·³ ´ÙÀ½ Sun Fire ½Ã½ºÅÛ ±¸¼ºÀ» °í·ÁÇϽʽÿÀ. µµ¸ÞÀÎ A¿¡ ½Ã½ºÅÛ º¸µå 0°ú 2 ¹× I/O º¸µå 7ÀÌ µé¾î ÀÖ½À´Ï´Ù. µµ¸ÞÀÎ B¿¡´Â ½Ã½ºÅÛ º¸µå 1°ú 3 ¹× I/O º¸µå 8ÀÌ µé¾î ÀÖ½À´Ï´Ù.



ÁÖ - DR Á¶ÀÛÀ» ¼öÇàÇϱâ Àü¿¡, Ç×»ó ½Ã½ºÅÛÀÌ Á¦ÇÑ»çÇ׿¡ ¼³Á¤µÈ Á¦ÇÑÁ¶°ÇÀ» ÁؼöÇÏ´ÂÁö È®ÀÎÇϽʽÿÀ.




±×¸² 1-1 À籸¼º ÀüÀÇ µµ¸ÞÀÎ ¿¹


½Ã½ºÅÛ º¸µå 1À» µµ¸ÞÀÎ B¿¡¼­ µµ¸ÞÀÎ A·Î ÀçÇÒ´çÇϱâ À§ÇØ, Sun Management Center ¼ÒÇÁÆ®¿þ¾î GUI¸¦ »ç¿ëÇÒ ¼ö ÀÖ½À´Ï´Ù. ¶Ç´Â °¢ µµ¸ÞÀÎÀÇ CLI¿¡¼­ ´ÙÀ½ ´Ü°è¸¦ ¼öµ¿À¸·Î ¼öÇàÇÒ ¼ö ÀÖ½À´Ï´Ù.

1. ¼öÆÛÀ¯Àú·Î¼­ µµ¸ÞÀÎ BÀÇ ¸í·ÉÁÙ¿¡ ´ÙÀ½ ¸í·ÉÀ» ÀÔ·ÂÇÏ¿© ½Ã½ºÅÛ º¸µå 1À» ´ÜÀýÇÕ´Ï´Ù.


# cfgadm -c disconnect -o unassign N0.SB1

 

2. ±×·± ´ÙÀ½, µµ¸ÞÀÎ AÀÇ ¸í·ÉÁÙ¿¡ ´ÙÀ½ ¸í·ÉÀ» ÀÔ·ÂÇÏ¿© µµ¸ÞÀÎ A¿¡ ½Ã½ºÅÛ º¸µå 1À» ÇÒ´ç, ¿¬°á ¹× ±¸¼ºÇÕ´Ï´Ù.


# cfgadm -c configure N0.SB1

 

´ÙÀ½ ½Ã½ºÅÛ ±¸¼ºÀÌ ±× °á°úÀÔ´Ï´Ù. º¸µå°¡ ¿¬°áµÇ´Â ¹æ¹ý¸¸ÀÌ º¯°æµÇ¾úÀ¸¸ç ijºñ´Ö ¾È¿¡¼­ º¸µåÀÇ ½ÇÁ¦ ¹èÄ¡´Â º¯°æµÇÁö ¾Ê¾ÒÀ½À» À¯ÀÇÇϽʽÿÀ.


±×¸² 1-2 ±¸¼º ÈÄÀÇ µµ¸ÞÀÎ ¿¹



Á¦ÇÑ»çÇ×

¸Þ¸ð¸® ÀÎÅ͸®ºù

½Ã½ºÅÛ ¸Þ¸ð¸®°¡ º¹¼ö CPU/¸Þ¸ð¸® º¸µå »çÀÌ¿¡¼­ ÀÎÅ͸®ºêµÇ´Â °æ¿ì ½Ã½ºÅÛ º¸µå¸¦ µ¿ÀûÀ¸·Î À籸¼ºÇÒ ¼ö ¾ø½À´Ï´Ù.



ÁÖ - ¸Þ¸ð¸® ÀÎÅ͸®ºù¿¡ ´ëÇÑ ÀÚ¼¼ÇÑ Á¤º¸´Â setupdomain ¸í·ÉÀÇ interleave-scope ¸Å°³º¯¼ö¸¦ ÂüÁ¶ÇϽʽÿÀ. ÀÌ ³»¿ëÀº Sun Fire Midrange Systems Platform Administration Manual°ú Sun Fire Midrange Systems Controller Command Reference Manual ¸ðµÎ¿¡ ¼³¸íµÇ¾î ÀÖ½À´Ï´Ù.



¿ªÀ¸·Î, CompactPCI Ä«µå¿Í I/O º¸µå´Â ¸Þ¸ð¸®°¡ ÀÎÅ͸®ºêµÇ´ÂÁö ¿©ºÎ¿Í °ü°è¾øÀÌ µ¿ÀûÀ¸·Î À籸¼ºÇÒ ¼ö ÀÖ½À´Ï´Ù.