랙 마운트 키트는 어댑터 브래킷, 후면 브레이스, 선반 레일, 케이지 너트 및 나사로 구성됩니다.
![]() | 주의 - 구성 요소가 완전히 장착된 서버의 무게는 약 100kg(180파운드)입니다. 심각한 신체 상해 또는 장비 손상이 발생할 위험을 줄이려면 기중기를 이용해서 서버를 랙에 설치하십시오. 리프트를 사용할 수 없는 경우 구성 요소를 제거하여 무게를 줄이는 방법에 설명된 대로 구성 요소를 제거합니다. 그러면 서버 무게가 45kg(80파운드)으로 줄어듭니다. 랙에 장비를 넣을 때는 위쪽이 무거워서 뒤집히지 않도록 항상 아래에서 위로 넣으십시오. 장비 설치 중에 랙이 기울어지지 않도록 기울임 방지 막대를 배치하십시오. |
이 작업에는 다음과 같은 나사와 커넥터가 필요합니다.
|
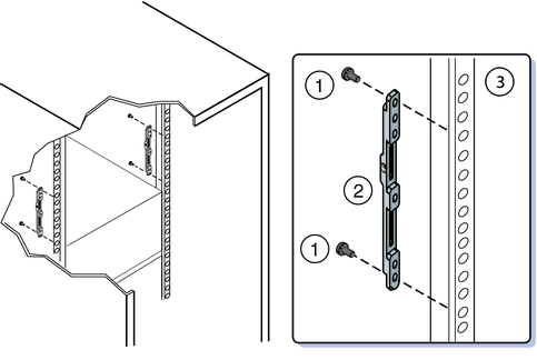
서버는 어댑터 브래킷 두 세트와 함께 제공됩니다. 하나는 사각형 구멍이 있는 랙에 사용되고(1) 다른 하나는 둥근 구멍이 있는 랙에 사용됩니다(2). 사각형 구멍 랙에 사용되는 어댑터 브래킷(1)에는 나사산이 있습니다. 둥근 구멍(나사 구멍) 랙에 사용되는 어댑터 브래킷(2)에는 나사산이 없습니다. 다음 그림을 참조하십시오.
주 - 어댑터 브래킷의 화살표(3)는 브래킷 방향을 나타냅니다. 모든 브래킷을 “Top” 화살표(3)가 위를 가리키도록 설치하십시오.

어댑터 브래킷의 밑면이 서버를 장착할 공간(5RU)의 바닥과 일치하고 “Top”이라는 레이블이 위를 가리키도록 어댑터 브래킷을 배치하십시오.
각 면에 M6 x 12 또는 10-32 x 10 나사 3개를 사용하십시오. 랙 안쪽에서 어댑터 브래킷을 통과해 포스트의 나사산에 나사를 끼웁니다.
주 - 액세서리 상자에는 어댑터 브래킷을 정렬하는 데 도움이 되는 인쇄된 템플릿이 있습니다.
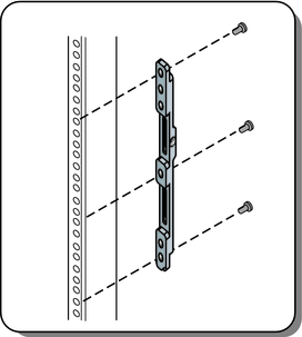
어댑터 브래킷의 밑면이 서버를 장착할 공간(5RU)의 바닥과 일치하고 “Top”이라는 레이블이 위를 가리키도록 어댑터 브래킷을 배치하십시오.
랙 안쪽에서 어댑터 브래킷의 상단 및 하단 구멍을 통과해(2) 포스트에 끼워지도록(3) 나사 2개(1)를 삽입합니다.
M6 랙의 경우 한 쪽당 M6 x 12 나사 2개를 사용합니다.
10-32 랙의 경우 한 쪽당 10-32 숄더 나사 2개를 사용합니다.

한 쪽당 M6 x 16 또는 10-32 x 10mm 나사 2개(3)를 사용합니다.
나사를 조이기 전에 브레이스(1)를 최대한 위로 미십시오. 그러면 나사가 느슨해진 경우 위/아래로 약간 이동할 수 있도록 브레이스의 구멍이 타원형이 됩니다.

서버를 랙에 설치하기 전에 선반 익스텐더를 제거해야 합니다. 제거한 선반 익스텐더는 다른 제품에 사용됩니다.

선반 레일을 랙에 맞게 확장(1)하고 어댑터 브래킷(2)의 슬롯에 밀어넣어 제자리에 끼웁니다(3).
선반 레일을 올바른 방향으로 배치해야 합니다. 레일에는 “FRONT LEFT” 및 “FRONT RIGHT”라는 레이블이 있습니다.

그러면 선반 레일이 잘못해서 어댑터 브래킷에서 이탈하는 것이 방지됩니다.

다음 순서