| Omitir Vínculos de navegación | |
| Salir de la Vista de impresión | |
|
Administración de Oracle Solaris: servicios IP Oracle Solaris 10 1/13 Information Library (Español) |
Parte I Introducción a la administración del sistema: servicios IP
1. Conjunto de protocolos TCP/IP de Oracle Solaris (descripción general)
Parte II Administración de TCP/IP
2. Planificación de la red TCP/IP (tareas)
3. Introducción a IPv6 (descripción general)
4. Planificación de una red IPv6 (tareas)
5. Configuración de servicios de red TCP/IP y direcciones IPv4 (tareas)
6. Administración de interfaces de red (tareas)
7. Configuración de una red IPv6 (tareas)
8. Administración de redes TCP/IP (tareas)
9. Resolución de problemas de red (tareas)
10. Descripción detallada de TCP/IP e IPv4 (referencia)
11. IPv6 en profundidad (referencia)
12. Acerca de DHCP (descripción general)
13. Planificación del servicio DHCP (tareas)
14. Configuración del servicio DHCP (tareas)
15. Administración de DHCP (tareas)
16. Configuración y administración del cliente DHCP
17. Solución de problemas de DHCP (referencia)
18. Comandos y archivos DHCP (referencia)
19. Arquitectura de seguridad IP (descripción general)
20. Configuración de IPsec (tareas)
21. Arquitectura de seguridad IP (referencia)
22. Intercambio de claves de Internet (descripción general)
23. Configuración de IKE (tareas)
24. Intercambio de claves de Internet (referencia)
25. Filtro IP en Oracle Solaris (descripción general)
27. Introducción a IPMP (descripción general)
28. Administración de IPMP (tareas)
Parte VI Calidad de servicio IP (IPQoS)
29. Introducción a IPQoS (descripción general)
30. Planificación para una red con IPQoS (tareas)
Planificación de configuración IPQoS general (mapa de tareas)
Planificación de la distribución de la red Diffserv
Estrategias de hardware para la red Diffserv
IPQoS en una red de conjuntos de servidores
Planificación de la política de calidad de servicio
Ayudas para planificar la política QoS
Planificación de la política QoS (mapa de tareas)
Cómo preparar una red para IPQoS
Cómo definir las clases de la política QoS
Cómo definir filtros en la política QoS
Cómo planificar el control de flujo
Cómo planificar el comportamiento de reenvío
Cómo planificar la recopilación de datos de flujo
31. Creación del archivo de configuración IPQoS (tareas)
32. Inicio y mantenimiento de IPQoS (tareas)
33. Uso de control de flujo y recopilación de estadísticas (tareas)
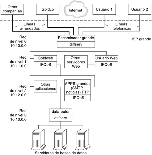
Las tareas de los siguientes capítulos de la guía utilizan la configuración IPQoS de ejemplo de esta sección. El ejemplo muestra la solución de servicios diferenciados de la intranet pública de BigISP, un proveedor de servicios ficticio. BigISP ofrece servicios a grandes empresas que acceder a BigISP a través de líneas arrendadas. Los individuos que se conectan desde módems también pueden adquirir servicios de BigISP.
La siguiente figura muestra la distribución de red que utiliza la intranet pública de BigISP.
Figura 30-4 Ejemplo de distribución IPQoS
BigISP utiliza cuatro niveles en su intranet pública:
Nivel 0: la red 10.10.0.0 incluye un enrutador Diffserv llamado Bigrouter, con interfaz externa e interna. Varias empresas, entre ellas una organización llamada Goldco, han alquilado servicios de línea arrendada que finalizan en Bigrouter. EL nivel 0 también gestiona los clientes individuales que llaman desde líneas telefónicas o RDSI.
Nivel 1: la red 10.11.0.0 proporciona servicios web. El servidor Goldweb aloja el sitio web adquirido por Goldco como parte del servicio de alto nivel que Goldco ha adquirido de BigISP. El servidor Userweb aloja sitios web pequeños adquiridos por clientes individuales. Ambos servidores, Goldweb y Userweb utilizan IPQoS.
Nivel 2: la red 10.12.0.0 proporciona aplicaciones para todos los clientes. BigAPPS, uno de los servidores de aplicaciones, utiliza IPQoS. BigAPPS proporciona servicios SMTP, de noticias y FTP.
Nivel 3: la red 10.13.0.0 aloja grandes servidores de base de datos. El acceso al Nivel 3 está controlado por datarouter, un enrutador Diffserv.