E Referenz zur Bibliotheksadressierung

Hinweis:

Sofern nicht anders angegeben, beziehen sich "links" und "rechts" jeweils auf die Anzeige der Bibliothek von der CAP-Seite (Vorderansicht).

Siehe auch

Vergleich von Adressierungsschemas

  • Internes Firmware-Adressierungsschema (Bibliothek, Schiene, Säule, Seite, Zeile): Verwendung in Firmware und internen Kommunikationen zur Darstellung aller Geräte und Speicherorte innerhalb der Bibliothek.

    • Beginnt bei 1 und verwendet negative Zahlen.

    • Die Seite gibt die Stirn- bzw. Rückwand der Bibliothek an.

    • Laufwerkschächte besitzen die Säulenwerte 1 bis 4 (BM) bzw. -1 bis -4 (DEM).

  • HLI-PRC-Adressierungsschema (LSM, Feld, Zeile und Säule): Verwendung durch HLI-Clients wie ACSLS und ELS zur Darstellung von Bibliotheksspeicherorten und Komponenten.

    • Beginnt bei 0 ohne negative Zahlen.

    • Das Feld gibt die Stirn- bzw. Rückwand eines bestimmten Moduls an.

    • Laufwerkschächte besitzen immer den Säulenwert 0.

  • FC-SCSI-Elementnummerierung — Verwendung durch Hosts mit FC-SCSI-Verbindungen zur Bibliothek.

    • Verwendet eine einzelne positive Zahl für die Element-ID.

    • Einschubfächer für Kassetten beginnen bei 2000, Bandlaufwerke bei 1000, CAPs bei 10.

    • Inaktive Einschubfächer und leere Laufwerkschächte werden bei der Zuweisung von Elementnummern übersprungen.

    • Die Standardelementnummerierung wird bei jeder Änderung der Bibliothekskonfiguration neu zugewiesen.

    • Die Elementnummerierung hängt von der aktiven Kapazität ab.

  • Hardwarenummerierung des Bandlaufwerks — Positionen der Laufwerkseinschubfächer, die von der HLI-Karte zugewiesen werden.

Mittelachse

Die interne Firmware- und HLI-Adressierung verwenden die Mittelachse der Bibliothek als Referenzpunkt. Wenn Sie Module an einem der Bibliotheksenden hinzufügen, werden die Adressnummern vorhandener Komponenten nicht geändert.

In Abbildung E-1 wird die Position der Mittelachse für verschiedene Bibliothekskonfigurationen angezeigt.

Abbildung E-1 Position der Mittelachse in Beispielbibliotheken

Layouts einer Beispielbibliothek mit Position der Mittelachse

Internes Firmware-Adressierungsschema

Überblick über die interne Firmwareadressierung

Bei der internen Firmwareadressierung wird der physische Speicherort Bibliothek, Schiene, Säule, Seite, Zeile (L,R,C,S,W) angegeben.

Bibliothek

Der Wert beträgt immer 1.

Schiene

Der Wert beträgt immer 1.

Säule

Gibt die Horizontalposition einer Kassette oder eines Laufwerks von der Mittelachse aus gesehen an (siehe Mittelachse).

  • Positiver Wert (+) bedeutet rechts von der Mittelachse

  • Negativer Wert (-) bedeutet links von der Mittelachse

Grundmodul

  • Enthält die Säulen 1 bis 6 für Bandkassetten und 1 bis 4 für Bandlaufwerke.

DEM

  • Enthält die Säulen -1 bis -6 für Bandkassetten und -1 bis -4 für Bandlaufwerke.

CEM

  • Enthält sechs Säulen für Datenkassetten.

  • Die Säulennummerierung wird beim angrenzenden Modul fortgesetzt. Ist jedoch kein DEM vorhanden, enthält ein CEM direkt links neben einem Grundmodul die Säulen -7 bis -12 (die Säulen -1 bis -6 werden übersprungen).

PEM

  • Enthält nur drei Säulen für Datenkassetten. Die äußersten drei Säulen sind inaktiv.

AEM

  • Bei der Nummerierung der AEM-Säulen wird zugrunde gelegt, dass ein DEM sowie vier CEMs auf der linken sowie vier CEMs auf der rechten Seite des Grundmoduls installiert sind.

  • AEM-Säulen auf der linken Seite werden immer von -33 bis -31 nummeriert.

  • AEM-Säulen auf der rechten Seite werden immer von 31 bis 33 nummeriert.

Seite

Gibt die Stirnwand (CAP-Seite) oder Rückwand (Laufwerksseite) der Bibliothek an.

  • Rückwand = 1

  • Stirnwand = 2

Reihe

Die vertikale Position einer Bandkassette, fortlaufend von oben (1) bis unten (52) nummeriert.

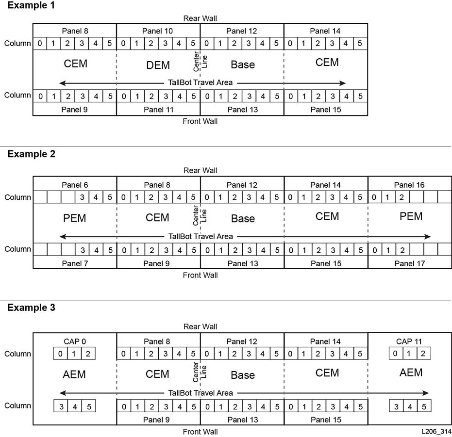
Abbildung E-2 Beispiele für interne Firmwareseiten- und Säulenadressierung (von der Oberseite der Bibliothek aus betrachtet)

Drei Bibliothekslayouts, die die interne Firmwareadressierung zeigen

Interne Firmwareadressierung von Bandlaufwerken

Bei der Firmwareadressierung (Bibliothek, Schiene, Säule, Seite, Zeile) werden Laufwerke anhand der jeweiligen Säule und Zeile unterschieden. Bibliothek, Schiene und Seite haben immer den Wert 1.

Hinweis:

Abbildung E-3 wird von der Laufwerkseite (Rückseite) der Bibliothek aus betrachtet.

Abbildung E-3 Interne Firmwareadressierung von Bandlaufwerken (von der Rückseite der Bibliothek aus betrachtet)

Interne Firmwarenummerierung von Laufwerksschächten

Interne Firmwareadressierung von Robotern

Säule

Der Säulenwert ist immer 0.

Seite

Wenn nur ein Roboter vorhanden ist, beträgt der Seitenwert immer 1.

Für redundante Roboterkonfigurationen:

  • Linker Roboter = 1

  • Rechter Roboter = 2

Reihe

Bei der Adressierung des Geräts lautet die Zeile 0.

Bei der Adressierung eines bestimmten Einschubfachs hat die Zeile den Einschubfachwert (1).

Beispiel - Roboter-Firmwareadressierung

In diesem Beispiel bezieht sich die Adresse auf den rechten Roboter in einer redundanten Roboterbibliothek.

Die Firmwareadresse lautet: (1, 1, 0, 2, 0)

Interne Firmwareadressierung von CAPs

Rotations- CAP-Adressierung

Säule

Der Säulenwert hängt von der Größe der Bibliothek und von der Position des Moduls ab, das den CAP enthält.

Bei Modulen links der Mittelachse entspricht der CAP-Säulenwert dem der zweiten Säule rechts vom Modul. Beispiel: In einem DEM entspricht der Säulenwert für den CAP -2, und ein CEM links vom DEM besitzt den CAP-Säulenwert -8.

Bei Modulen rechts der Mittelachse entspricht der CAP-Säulenwert dem der fünften Säule links vom Modul. Beispiel: Ein CAP im Grundmodul hat den Säulenwert 5, und ein CEM rechts vom Grundmodul hat den CAP-Säulenwert 11.

Seite

Der Seitenwert ist immer 2, da CAPs nur auf der Vorderseite des Moduls positioniert sind.

Reihe

Bei der Adressierung des Geräts lautet der Zeilenwert 0.

Bei der Adressierung eines bestimmten Einschubfachs entspricht der Zeilenwert dem Einschubfach im CAP-Magazin (Werte 1 bis 26).

Beispiel - Rotations-Firmwareadressierung

In diesem Beispiel besitzt die Bibliothek ein Grundmodul, ein DEM und vier CEMs (zwei auf jeder Seite). Die Adresse bezieht sich auf das sechste Einschubfach von oben im CAP in dem CEM ganz außen links.

Die Firmwareadresse lautet: (1, 1, -14, 2, 6)

AEM-CAP-Adressierung

Säule

Der Säulenwert beim Referenzieren des CAPs lautet:

  • -31 für das linke AEM

  • 31 für das rechte AEM

Der Säulenwert beim Referenzieren eines Einschubfachs im CAP:

  • -31 bis -33 für das linke AEM

  • 31 bis 33 für das rechte AEM

Seite

Gibt die Vorder- oder Rücktüren des CAPs in der Bibliothek an.

  • Rückwand = 1

  • Stirnwand = 2

Reihe

Bei der Adressierung des Geräts lautet der Zeilenwert 0.

Bei der Adressierung eines bestimmten Einschubfachs entspricht der Zeilenwert dem Einschubfach im CAP (Werte 1 bis 26).

Beispiel - AEM-CAP-Firmwareadressierung

In diesem Beispiel verweist die Adresse auf ein Kassetteneinschubfach im rechten AEM. Das Einschubfach ist das 37. von oben in der äußersten rechten Säule in der hinteren CAP-Tür.

Die Firmwareadresse lautet: (1, 1, 33, 1, 37)

HLI-PRC-Adressierungsschema

HLI-Adressierung - Überblick

Bei der HLI-PRC-Adressierung wird der physische Speicherort mit LSM, Feld, Zeile und Säule angegeben.

LSM (Bibliotheksnummer)

Der Wert beträgt immer 0.

Feld

Gibt die Stirnwand (CAP-Seite) oder Rückwand (Laufwerksseite) eines Moduls an. Je nach Konfiguration der Bibliothek kann die Feldnummer im Bereich 0 bis 23 liegen.

  • Rückwand = gerade Zahlen

  • Stirnwand = ungerade Zahlen

Die Feldposition wird relativ zum Grundmodul definiert (Felder 12 und 13). Feldwerte niedriger als 12 geben an, dass sich das Modul links vom Grundmodul befindet, während Werte höher als 13 angeben, dass sich das Modul rechts vom Grundmodul befindet.

Grundmodul

  • Felder 12 und 13

DEM

  • Felder 10 und 11

CEM

  • Felder werden vom angrenzenden Modul ausgehend fortlaufend durchnummeriert. Ist jedoch kein DEM vorhanden, enthält ein CEM direkt links neben einem Grundmodul die Felder -8 und -9 (die Felder -10 und -11 werden übersprungen).

AEM

  • AEMs werden von der HLI-Adressierung als CAPs angesehen. Daher haben AEMs eine CAP-ID anstelle einer Feldnummer (siehe HLI-Adressierung von CAPs)

  • Die linke AEM-CAP-ID trägt immer die Nummer 0

  • Die rechte AEM-CAP-ID trägt immer die Nummer 11

Reihe

Die vertikale Position eines Einschubfachs, fortlaufend von oben nach unten (0 bis 51) durchnummeriert. Laufwerkschachte hingegen haben eine Zeilennummerierung von 0 bis 23 für das Grundmodul bzw. 0 bis 31 im DEM.

Säule

Die horizontale Position eines Einschubfachs von links nach rechts (0 bis 5). Laufwerkschächte hingegen besitzen immer den Säulenwert 0 (siehe Hardwarenummerierung des Bandlaufwerks").

Die AEM-Säulennummerierung wird beginnend an der Rückwand von links nach rechts vorgenommen (Säulen 0–2) und wird auf der Stirnwand von links nach rechts fortgeführt (Säulen 3–5).

Abbildung E-4 Beispiele für HLI-PRC-Feld- und Säulenadressierung (von der Oberseite der Bibliothek aus betrachtet)

Drei Bibliothekslayouts, die die HLI-Adressierung zeigen

HLI-Adressierung von CAPs

Bei der HLI-Adressierung werden CAP-Positionen mit einer CAP-ID anstatt mit einem Feldwert definiert. Adressierung: LSM, CAP-ID, Reihe, Säule.

Rotations- CAP-Adressierung

LSM (Bibliotheksnummer)

Der Wert beträgt immer 0.

CAP-ID

Liegt im Bereich von 1 bis 10

  • CEMs links der Mittelachse = 1 bis 4 (von links nach rechts)

  • DEM = 5

  • Grundmodul = 6

  • CEMs rechts der Mittelachse = 6 bis 10 (von links nach rechts)

Reihe

Der Wert entspricht dem Einschubfach im CAP (Werte können im Bereich 0 bis 25 liegen).

Säule

Der Wert beträgt immer 0.

Beispiel - Rotations-CAP-HLI-Adressierung

In diesem Beispiel besitzt die Bibliothek ein Grundmodul, ein DEM und acht CEMs (vier auf jeder Seite). Die Adresse bezieht sich auf das sechste Einschubfach von oben im CAP in dem CEM ganz außen links.

Die HLI-Adresse lautet: (0, 1, 5, 0)

AEM-CAP-Adressierung

LSM (Bibliotheksnummer)

Der Wert beträgt immer 0.

CAP-ID

Das linke AEM hat den Wert 0.

Das rechte AEM hat den Wert 11.

Reihe

Der Wert entspricht dem Einschubfach in einer Säule (Werte können im Bereich 0 bis 38 liegen).

Säule

Rückwand = Säulen 0 bis 2

Vorderwand = Säulen 3 bis 5

HLI-Adressierung von Bandlaufwerken

Bei der HLI-Adressierung werden Bandlaufwerke mit einer Laufwerks-ID anstatt mit einem Zeilenwert definiert. Die Adressierung lautet LSM, Feld, Laufwerks-ID, Säule (siehe Hardwarenummerierung des Bandlaufwerks). Bei HLI werden Laufwerke anhand des jeweiligen Feld- und Laufwerkswertes unterschieden. LSM und Säule haben immer den Wert 0.

Hinweis:

Abbildung E-5 wird von der Laufwerkseite (Rückseite) der Bibliothek aus betrachtet.

Abbildung E-5 HLI-PRC-Adressierung von Bandlaufwerken (von der Rückseite der Bibliothek aus betrachtet)

HLI-Nummerierung von Laufwerksschächten

FC-SCSI-Elementnummerierung

Hinweis:

Wenn die Bibliothekskonfiguration geändert wird, kann die Bibliothek möglicherweise Elementnummern neu zuweisen.

Bei der FC-SCSI-Elementnummerierung hat jede aktive Komponente in der Bibliothek eine eindeutige Element-ID. Die SCSI-Elementnummerierung besteht aus drei Elementtypen:

  • Speicherelemente (aktive Speichereinschubfächer)

    • Beginnt bei 2000.

    • Nummerierung erfolgt von oben nach unten, von links nach rechts und von hinten nach vorne.

  • Import-/Exportelemente (Rotations-CAPs)

    • Beginnt beim äußersten linken CAP in der Bibliothek bei 10. Speicher- und Import-/Exportelemente werden fortlaufend nach Einschubfach nummeriert. Es werden keine Einschubfächer übersprungen.

    • Nummeriert von oben nach unten, von links nach rechts (siehe Abbildung E-9)

  • Datenübertragungselemente (Laufwerke)

    • Wird beginnend bei 1000 für jedes installierte Laufwerk hochgezählt.

    • Die Nummerierung erfolgt von links nach rechts, von oben nach unten beginnend an der Mittelachse im Grundmodul und wird im DEM fortgesetzt, sofern installiert.

      Hinweis:

      Beim Hochfahren der Bibliothek werden keine leeren Laufwerksschächte in die Elementnummernfolge aufgenommen. Backupanwendungen offener Systeme tolerieren keine Datenübertragungselemente, die beim Hochfahren der Bibliothek nicht reagieren oder nicht reagieren können.

Standard-SCSI-Nummerierung

Hinweis:

Bei dem Standardnummerierungsmuster wird von einer nicht-partitionierten Bibliothek mit der Standardkapazitätskonfiguration "von links nach rechts" ausgegangen.

Standardnummerierungsschema für SCSI-Speicherelemente (Kassetten)

  1. Die Nummerierung beginnt bei 2000 am oberen linken Einschubfach an der Rückwand des äußersten linken Moduls.

  2. Die Nummerierung erfolgt fortlaufend von oben nach unten und von links nach rechts.

  3. Wenn die Nummerierung am letzten Einschubfach an der Rückwand ankommt, wird sie an der Stirnwand des äußersten linken Moduls fortgesetzt (von A nach B in Abbildung E-6).

  4. Die Nummerierung wird fortlaufend von oben nach unten und von links nach rechts fortgesetzt und endet am unteren rechten Einschubfach des äußersten rechten Moduls.

Abbildung E-6 SCSI-Speicherelementnummerierung

Standardadressierungsreihenfolge in einer FC-SCSI-Bibliothek

Standardnummerierungsschema für SCSI-Datenübertragungselemente (Laufwerke)

  1. Die Nummerierung beginnt am oberen linken Laufwerksschacht im Grundmodul.

  2. Die Nummerierung erfolgt fortlaufend von links nach rechts und von oben nach unten (leere Laufwerkschächte werden übersprungen).

  3. Wenn die Nummerierung den unteren rechten Laufwerkschacht im Grundmodul erreicht, wird sie im Laufwerkserweiterungsmodul fortgesetzt (von A nach B in Abbildung E-7).

  4. Die Nummerierung wird fortlaufend von links nach rechts und von oben nach unten fortgesetzt und endet am unteren rechten Einschubfach des DEM.

Abbildung E-7 Nummerierung der SCSI-Datenübertragungselemente (von der Stirnseite der Bibliothek aus betrachtet)

Standardadressierungsreihenfolge von Laufwerken für FC-SCSI

Standardnummerierungsbeispiel

Hinweis:

Die Bibliothek in diesem Beispiel wurde vereinfacht. Sie ist keine genaue Darstellung einer SL3000.

Die Beispielbibliothek umfasst:

  • Vier Module: ein Grundmodul, ein DEM und zwei CEMs

  • 166 Einschubfächer für Datenkassetten: von 2000 bis 2165 durchnummeriert

  • 40 Bandlaufwerkschächte (zwei Bandlaufwerke fehlen, in jedem Modul eines): von 1000 bis 1037 durchnummeriert

  • Zwei CAPs mit je sieben Einschubfächern: von 10 bis 23 durchnummeriert

Die Standardnummerierung wird in den Abbildungen unten dargestellt.

Abbildung E-8 Standard-SCSI-Elementnummerierung - Rückwand (von Stirnseite der Bibliothek aus betrachtet)

Beispiel für SCSI-Elementnummerierung

Abbildung E-9 Standard-SCSI-Elementnummerierung - Stirnwand (von Stirnseite der Bibliothek aus betrachtet)

Beispiel für FC-SCSI-Elementnummerierung

SCSI-Nummerierung in nicht-partitionierter Bibliothek mit benutzerdefinierter Kapazität

Nach der Aktivierung eines Bereichs der Bibliothek beginnt die Nummerierung mit dem Einschubfach ganz außen links auf der Rückwand innerhalb des aktiven Bereichs. Das Nummerierungsschema folgt dann für alle aktiven Einschubfächer dem unter Standardnummerierungsschema für SCSI-Speicherelemente (Kassetten) definierten Muster. Inaktive Zellen werden hingegen übersprungen.

Wenn Sie später zusätzliche Kapazität aktivieren, ändert sich die SCSI-Nummerierung der vorher aktivierten Einschubfächer nicht. Die Bibliothek hängt die SCSI-Nummerierung für neu aktivierte Einschubfächer an.

Wenn Sie Bandlaufwerke hinzufügen, weist die Bibliothek die Nummerierung der SCSI-Datenübertragungselemente gemäß Standardnummerierungsschema für SCSI-Datenübertragungselemente (Laufwerke) neu zu. Anschließend wird die Bibliothek neu gestartet.

Beispiel für benutzerdefinierte Kapazitätsnummerierung

Hinweis:

Die Bibliothek in diesem Beispiel wurde vereinfacht. Sie ist keine genaue Darstellung einer SL3000.

In diesem Beispiel aktiviert der Benutzer 50 Einschubfächer, beginnend mit dem DEM. Daher beginnt die SCSI-Speicherelementnummerierung bei 2000, ausgehend von dem ersten aktiven Einschubfach im DEM oben links (siehe Abbildung E-10).

Abbildung E-10 SCSI-Elementnummerierung für benutzerdefinierte Kapazität - Rückwand

Beispiel für SCSI-Elementnummerierung

Zu einem späteren Zeitpunkt aktiviert der Benutzer die restlichen 30 Einschubfächer in der Bibliothek. Die Bibliothek nummeriert die Einschubfächer ab 2050 in der oberen linken Ecke des CEM (siehe Abbildung E-11 unten).

Abbildung E-11 Angehängte SCSI-Elementnummerierung für hinzugefügte Kapazität - Rückwand

Beispiel für SCSI-Elementnummerierung

SCSI-Nummerierung in einer partitionierten Bibliothek

Wenn Sie eine Partition definieren, beginnt die Nummerierung mit dem äußersten linken Einschubfach auf der Rückwand innerhalb der Partition. Das Nummerierungsschema folgt für alle aktiven Einschubfächer dem in Standardnummerierungsschema für SCSI-Speicherelemente (Kassetten) definierten Muster. Inaktive Einschubfächer sowie Einschubfächer außerhalb der Partition werden hingegen übersprungen. Daher wird die Elementnummerierung innerhalb von jeder Partition fortlaufend vorgenommen, auch dann, wenn die Einschubfachpositionen für die Partition nicht nebeneinander liegen.

Wenn Sie der Partition weitere Ressourcen zuweisen, ändert sich die SCSI-Nummerierung der vorher nummerierten Elemente in der Partition nicht. Die Bibliothek hängt die SCSI-Nummerierung für neu aktivierte Einschubfächer oder neu in die Partition eingefügte Bandlaufwerke einfach hinten an.

Hardwarenummerierung des Bandlaufwerks

Die Hardwarenummerierung wird von der HBC-Controllerkarte zugewiesen. Sie wird zur Identifizierung eines Einschubfachs im Bandlaufwerk verwendet. Die Karte weist jedem Laufwerkeinschubfach automatisch eine Zahl zwischen 1 und 56 zu.

Hinweis:

Abbildung E-12 wird von der Laufwerkseite (Rückseite) der Bibliothek aus betrachtet.

Abbildung E-12 Physische Hardwarenummerierung von Bandlaufwerken (von der Rückseite der Bibliothek aus betrachtet)

Physische Hardwarenummerierung von Laufwerksschächten

Siehe auch

Wanddiagramme

Abbildung E-13 Grundmodul, Stirnwand

Grundmodul, Wanddiagramm, Stirnwand

Abbildung E-14 Grundmodul, Rückwand

Grundmodul, Wanddiagramm, Rückwand

Abbildung E-15 Grundmodul, Rückwand mit 24 Laufwerken

Grundmodul, Wanddiagramm, Rückwand mit 24 Laufwerken

Abbildung E-16 DEM-Stirnwand

Wanddiagramm, DEM-Stirnwand

Abbildung E-17 DEM-Stirnwand (Fortsetzung)

DEM-Stirnwand mit CAPs

Abbildung E-18 DEM-Rückwand

DEM-Rückwand

Abbildung E-19 DEM-Rückwand (Fortsetzung)

DEM-Rückwand

Abbildung E-20 Kassettenerweiterungsmodul, Stirnwand

CEM-Stirnwand

Abbildung E-21 Kassettenerweiterungsmodul, Rückansicht

CEM-Rückwand

Abbildung E-22 Erweiterungsmodul zum Parken, links

Linke PEM-Rück- und Stirnwände

Abbildung E-23 Erweiterungsmodul zum Parken, rechts

Rechte PEM-Rück- und Stirnwände

Abbildung E-24 Zugriffserweiterungsmodul, links

Linke AEM-Stirn- und Rückwände

Abbildung E-25 Zugriffserweiterungsmodul, rechts

Rechte AEM-Stirn- und Rückwände