5 VSM 6 物理的なサイト準備計画

この章では、VSM 6 システム機器の電力、安全性、環境、HVAC、およびデータ処理要件に対応できるサイトを準備するために設計された作業に関する情報を提供します。主なサイト準備計画の考慮事項には次のものが含まれますが、これだけに限りません。

  • VSM 6 システム機器の搬入、設置、運用に悪い影響を与える可能性のある要因を評価し、除去または軽減するためのサイトの調査

  • 効率的な使用と簡単な保守を可能にする VSM 6 システム機器と配線のレイアウトと位置、および Oracle サポート担当者とそれらの機器に適したスペースと設備の計画

  • VSM 6 システム機器および担当者に最適なオペレーティング環境、および安全な床と火災、洪水、汚染、その他の潜在的な危険からの保護を提供する設備の構築

  • 設備のアップグレード、担当者トレーニング、搬入、実装、設置、テスト、認証作業の重要なイベントおよびタスク完了日のスケジューリング

お客様は最終的に、VSM 6 システム機器を受け取り、運用する物理的な準備がサイトで整っていること、およびこのガイドで説明するとおりに機器の運用の最小仕様をサイトが満たしていることを確認する責任があります。

サイト準備計画プロセス

サイトの計画アクティビティー、タスク、および参加者は次のとおりです。

主要概略アクティビティー

  1. サイト準備チームのメンバーを選定し、役割と責任を定義します

  2. 次のためサイト調査を行います。

    • 環境に関する外部または内部の既存または潜在的な障害をドキュメントに記します。

    • サイトの電源、安全性、環境、HVAC およびデータ処理機能を、VSM 6 システム要件と比較して評価します。

    • VSM 6 VTSS キャビネットの移動経路および設置場所の床荷重定格を確認します。

    • 天井、廊下、およびドア周りの空き、エレベーターの容量、および傾斜路角度を、VSM 6 VTSS キャビネット要件と比較して評価します。

  3. 計画ミーティングに参加します。

主要サブタスク

  1. サイトの電源、安全性、環境、HVAC およびデータ処理機能が VSM 6 VTSS 要件を満たしていることを確認します。

  2. 環境的な障害を除去/軽減するための計画を定義します。

  3. VSM 6 VTSS の移動経路および設置場所の床荷重定格を評価します。

  4. サイトのドア、廊下、および天井周りの空き、エレベーターの容量、および傾斜路角度が VSM 6 VTSS 要件を満たしていることを確認します。

  5. 必要なインフラストラクチャー変更/アップグレードを確認し、作業完了スケジュールを設定します。

  6. 準備の進捗を評価し、サイト準備の完了を認証します。

主要参加者

  • 顧客: サイトエンジニア、設備マネージャー、データセンターマネージャー、ネットワーク管理者

  • Oracle: 技術サポートスペシャリスト、システムエンジニア

サイトの評価 – 外部の考慮事項

VSM 6 システム機器の搬入数ヶ月前に、準備計画チームは既存または潜在的な危険があり、システムの搬入、設置、または運用に悪い影響を与える可能性のあるすべてのサイト外的要因を特定し、評価してください。評価すべき外的要因は次のとおりです。

  • 地域の公益事業会社から提供される電力、バックアップ用発電機、および無停電電源 (UPS) の信頼性と品質

  • 高周波電磁放射線源 (高圧電線、テレビ、無線機、レーダー送信機など) の近さ

  • 自然または人工の氾濫原の近さと、その結果データセンターに洪水が発生する可能性

  • 近接の発生源 (工場など) からの汚染物質の影響の可能性

既存または潜在的なマイナス要因が見つかった場合、サイト準備計画チームは、VSM 6 システム機器を搬入する前に、それらの要因を除去するか軽減するための適切な手順をとるようにしてください。Oracle Global Services は、そうした問題を特定し、解決するためのコンサルティングサービスやその他の支援を提供しています。詳細については、Oracle のアカウント担当者にお問い合わせ下さい。

サイトの評価 – 内部の考慮事項

VSM 6 システム機器の搬入数ヶ月前に、準備計画チームは既存または潜在的な危険があり、システムの搬入、設置、または運用に悪い影響を与える可能性のあるすべてのサイト内的要因を特定し、評価してください。評価すべき内的要因は次のとおりです。

  • 配送拠点、ステージングエリア、データセンターの設置場所の間の 2 地点間で機器を移動する際の構造寸法、エレベータの容量、床の耐荷重量、傾斜路の傾斜、およびその他の考慮事項

  • サイトの電源システム設計および容量

  • VSM 6 システム機器の電源システム設計および容量

  • データセンターの安全システム設計の機能

  • データセンターの環境 (HVAC) 設計の機能

  • 腐食性材料、電気的干渉、またはシステム機器の近くにある発生源からの過剰な振動による潜在的な影響。

既存または潜在的なマイナス要因が見つかった場合、サイト準備計画チームは、VSM 6 システム機器を搬入する前に、それらの要因を除去するか軽減するための適切な手順をとるようにしてください。Oracle Global Services は、そうした問題を特定し、解決するためのコンサルティングサービスやその他の支援を提供しています。詳細については、Oracle のアカウント担当者にお問い合わせ下さい。

2 地点間の機器の移動

サイトの状況を確認して、すべての VSM 6 システム機器が、寸法の制限、障害物、安全上の危険に遭遇したり、吊り上げ装置、搬出装置、床、またはその他のインフラストラクチャーの定格荷重を超えたりせずに、配送拠点、ステージングエリア、データセンター間で、安全に輸送できるようにする必要があります。確認する必要がある条件を次に説明します。

構造寸法および障害物

VSM 6 キャビネット (該当する場合、運送用コンテナ内の) を配送拠点からデータセンターの設置場所までスムーズに運搬できるように、エレベータ、ドア、廊下などの寸法が十分である必要があります。VSM 6 キャビネットの寸法の詳細については、VSM 6 全体寸法を参照してください。

エレベータ積載量

VSM 6 キャビネットの移動に使用するすべてのエレベータでは、最低 1050 kg (2312 ポンド) の認証定格荷重が必要です。これにより、最大重量であるフル装備の VSM 6 キャビネット (約 751 kg (1652 ポンド)、パレットジャッキ (100 kg/220 ポンド許容)、および 2 人 (200 kg/440 ポンド許容) を積載するための十分な収容能力を提供します。追加のキャビネットの重量の詳細については、VSM 6 重量を参照してください。

床荷重定格

VSM 6 キャビネットの移動経路にあるベタ床、上げ床、傾斜面が、装備済みのキャビネット、キャビネットを持ち上げるためのパレットジャッキ、および 2 地点間でキャビネットを移動する人の重量から発生する集中荷重および転動荷重に耐えられる必要があります。

移動経路にある上げ床板は、床板のどの場所も最大 2 mm (0.08 インチ) のたわみで 751 kg (1652 ポンド) の集中荷重および 181 kg (400 ポンド) の転動荷重に耐えられる必要があります。上げ床の台座は、2268 kg (5000 ポンド) の軸荷重に耐えられる必要があります。追加の床荷重の詳細については、床荷重要件を参照してください。

VSM 6 キャビネットは、場所の移動時に、静止状態のおよそ 2 倍の床荷重が発生します。移動経路に 19 mm (0.75 インチ) の合板を使うと、キャビネットによって発生する転動荷重が軽減されます。

傾斜面の傾斜

2 地点間の移動中に、VSM 6 キャビネットが傾斜面でひっくり返らないように、サイトエンジニアや設備マネージャーが移動経路のすべての傾斜面の傾斜角度を確認する必要があります。傾斜は 10 度 (176 mm/m、2.12 インチ/フィート) を超えていてはなりません。

データセンターの安全性

VSM 6 システム機器の設置の計画において、安全性は第一の考慮事項であり、機器の配置場所、運用環境をサポートする、電気、HVAC、および防火システムの定格と機能、担当者のトレーニングのレベルなどの選択に反映されます。地方自治体および保険会社の要件により、特定の環境における適切な安全性レベルを構成する要素に関する決定が左右されます。

占有レベル、資産価値、事業中断の可能性、防火システムの運用および保守コストも評価すべきです。これらの問題に対処するため、Standard for the Protection of Electronic Computer/Data Processing Equipment (NFPA 75)National Electrical Code (NFPA 70)、および地域と国の条例と規制を参照できます。

緊急電源制御

データセンターにはすぐにアクセス可能な緊急電源切断スイッチを装備し、VSM 6 システム機器の電力を即時に切断できるようにしてください。緊急時に電源切断システムをすみやかにアクティブにできるように、主要な各出口の近くに 1 つずつスイッチを取り付けてください。電源切断システムの要件を判断するには、地域および国の条例を確認してください。

防火

データセンターの建設、保守、および使用では、次の防火のガイドラインを考慮してください。

  • ガスやその他の爆発物はデータセンター環境から離して保管してください。

  • データセンターの壁、床、天井が耐火および防水であることを確認してください。

  • 地域または国の条例の定めるところにより、火災報知機および消火システムを取り付け、すべてのシステムに定期的な保守を実行します。

    注記:

    ハロン 1301 はデータセンターの消火システムにもっともよく使用されている消火剤です。この物質は液体で保存され、無色無臭の非導電性蒸気として放出されます。人に無害で占有領域に安全に放出できます。さらに、残留物がないため、コンピュータストレージメディアを破損させないことがわかっています。
  • 条例に準拠した壁とドアには飛散防止窓のみ取り付けてください。

  • 漏電による火災用に二酸化炭素消火器、通常の可燃物用に加圧水型消火器を取り付けます。

  • 不燃性の廃物コンテナを提供し、可燃性破棄物は認められたコンテナにのみ廃棄するように担当者を教育します。

  • 火災の危険を避けるため、適切な清掃の慣習を守ります。

サイトの配電システム

VSM 6 システム機器の安全な運用を確保するためには、適切に設置された配電システムが必要です。電力は、照明、空調、およびその他の電気系統とは別の給電線から供給されるようにします。

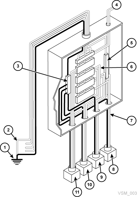
図5-1 に示す一般的な入力電力構成は、引込口または個別に誘導された電源からの三相供給、および過電流保護と適切な接地を備えた 5 線式高圧タイプまたは 4 線式低圧タイプのいずれかです。三相 5 線式配電システムは、三相機器と単相機器のどちらにも電力を供給できるため、最大の構成の柔軟性を実現します。

図5-1 の各部は、次のとおりです。

1 - 引込口接地または適切な建屋接地

2 - 引込口または個別に誘導されたシステム (変圧器) でのみ有効

3 - 中性点端子と同サイズの接地端子 (筺体に結合)

4 - リモート操作による電力サービス切断

5 - ニュートラルバス

6 - 適切なサイズのブレーカー

7 - 分岐回路

8 - 120V 単相

9 - 208/240V 単相

10 - 208/240V 三相 (4 線)

11 - 208/240V 三相 (5 線

図5-1 サイトの配電システム

図5-1 については、周囲のテキストで説明しています。

機器の接地

安全と ESD 保護のため、VSM 6 システム機器は適切に接地する必要があります。VSM 6 キャビネットの電源ケーブルには絶縁された緑/黄色の接地線が付いており、これを使用して VSM 6 フレームを AC 電源差し込み口の接地端子に接続します。分岐回路パネルと各キャビネットに接続する電源コンセントの間には、少なくとも相線と同じ直径の同様の絶縁された緑/黄色の接地線が必要です。

電源入力

VSM 6 システム機器に電力を供給する AC 電源コンセントの電圧と周波数の範囲を測定して検証し、次の仕様を満たす必要があります。

  • 電源: AC、単相、3 線

  • 電圧範囲: 170-240

  • 周波数範囲 (Hz): 47-63

VSM 6 キャビネットを北米、南米、日本、台湾で設置する場合、指定する電源が NEMA L6‐30R レセプタクルであること、およびキャビネット電源コードが必要な NEMA L6-30P プラグで終端処理されていることを確認してください。工場では北米および南米、日本、台湾に NEMA L6-30P プラグ付きの電源コードを出荷しています。EMEA および APAC 向けの場合、IEC309 32A 3 PIN 250VAC IP44 プラグ付きが出荷されます。図5-2 は、NEMA L6-30P プラグと L6‐30R レセプタクルを示しています。

図5-2 NEMA L6-30P プラグおよび L6‐30R レセプタクル

図5-2 については、周囲のテキストで説明しています。

VSM 6 キャビネットを北米、南米、日本、台湾以外で設置する場合、指定する電源レセプタクルが該当するすべての地域および国の電気コード要件を満たしていることを確認してください。次に、必要なコネクタをキャビネット電源コードの 3 線の終端に接続します。

独立したデュアル電源

VSM 6 キャビネットには、1 つの電源障害でシステムの運用が中断されないように設計された冗長配電アーキテクチャーがあります。4 つの 30 アンペア電源プラグが必要です。継続的な運用を確保するため、すべての電源ケーブルが、同時に障害が発生する可能性のない個別の独立した電源に接続されている必要があります (たとえば、1 本を地域の電力会社の電源へ、他を無停電電源装置 (UPS) システムへなど)。複数の電源ケーブルを同じ電源に接続すると、この冗長電源機能が有効になりません。

過渡的電気ノイズおよび電気系統擾乱

VSM 6 システム機器の最適なパフォーマンスには、干渉や擾乱のない信頼できる AC 電源が必要です。ほとんどの電気会社では、システム機器を適切に運用できる電力を提供しています。ただし、機器に提供される電力に、外部 (放射性または伝導性) の過渡的電気ノイズ信号が重なると、機器のエラーや障害が発生することがあります。

さらに、VSM 6 システム機器は運用にほとんどまたはまったく影響せずに、ほとんどの一般的な電気系統擾乱のタイプに耐えるように設計されていますが、落雷などの極度な電気系統の擾乱を軽減する手順を取らないと、そうした擾乱によって機器の電源障害やエラーが発生することがあります。

外部の電気ノイズ信号や電力の擾乱の影響を軽減するには、データセンター電源パネルに、図5-3 に示すような過渡接地プレートを備えてください。

図5-3 の各部は、次のとおりです。

1 - フラット編組線/張設線

2 - 電源パネル

3 - プレート

4 - コンクリート床

図5-3 過渡的電気接地プレート

図5-3 については、周囲のテキストで説明しています。

静電放電

静電放電 (ESD) は人、家具、機器の移動によって発生します。ESD により、回路カードコンポーネントが損傷し、磁気メディアの情報が変更され、ほかの機器に問題が発生する可能性があります。データセンターで ESD の可能性を最小にするために、次の手順が推奨されます。

  • 上げ床から地面までの導電性パスを提供します。

  • 非導電性芯材の床板を使用します。

  • 推奨される制御パラメータ内の湿度レベルを維持します。

  • 機器を操作する場合は、接地された静電気防止用作業マットとリストストラップを使用します。

HVAC 要件

冷房および空調システムには、機器とデータセンター担当者から発生する熱を除去できる十分な能力が必要です。上げ床領域では、気流を促進するため、床下の正の気圧が保たれるようにします。データセンター内の条件が変わった場合 (たとえば、新しい機器が追加されたり、既存の機器が再配置されたりした場合など) は、気流チェックを実行し、十分な気流があることを確認してください。

環境要件と危険

VSM 6 システムコンポーネントは、データセンターなどの閉鎖環境の腐食、振動、電気的干渉に敏感です。この敏感性のため、有害物質または腐食性物質が製造、使用、または保管されている領域の近く、または標準を超える電気的干渉や振動レベルのある領域に、機器を置かないでください。

最適なパフォーマンスのため、機器は公称環境条件で運用してください。VSM 6 システム機器を悪条件の環境内またはその近くに配置する必要がある場合は、機器の設置の前に、それらの要因を軽減するための追加の環境制御を考慮してください。

床の構造要件

VSM 6 システム機器は上げ床またはべた床で使用するように設計されています。カーペット敷きの表面はほこりが溜まり、破損の可能性のある静電帯電の蓄積の原因となるため、推奨されません。上げ床は、床の人の往来やその他の可能性のある床レベルの危険を避けて、電源ケーブルやデータケーブルを安全に配置できるため、ベタ床より推奨されます。

床荷重要件

490 kg/m2 (100 ポンド/平方フィート) の全体の (積載) 定格荷重のある床をお勧めします。床がこの定格を満たさない場合、サイトエンジニアまたは設備マネージャーは、床の製造元や構造エンジニアに問い合わせて、実際の荷重を計算し、特定の VSM 6 システム構成の重量を安全に支えることができるかどうかを判断する必要があります。

警告:

推奨される上げ床荷重を超えると、床を破損させ、それによって深刻なけがや死亡、機器の損傷、インフラストラクチャーの損傷に至る可能性があります。VSM 6 システム機器の設置を開始する前に、構造エンジニアに床荷重解析を実施してもらうことをお勧めします。

注意:

VSM 6 キャビネットは、移動時に、静止状態の約 2 倍の床荷重が発生します。VSM 6 の移動時の床荷重および応力と破損やけがの可能性を減らすには、キャビネットを移動する経路の床に 19 mm/0.75 インチの合板を使用することを考慮してください。

床荷重の仕様と参照

  • 基本的な床荷重は 730 kg/m2 (149 ポンド/平方フィート) です。

    これは最大重量 620 kg/1365 ポンド (192 台のアレイディスクドライブをフル装備した場合) のパッケージされていない VSM 6 キャビネットの接地面積 (7093.7 cm2/1099.5 平方インチ) の荷重です。

  • 最大積載床荷重は、485 kg/m2 (99 ポンド/平方フィート) です。

    これは、最小 Z+Z 軸寸法 185.3 cm/73.0 インチ (キャビネット奥行き 77.1 cm/30.4 インチ + 前面の保守用スペース 54.1 cm/21.3 インチ + 背面の保守用スペース 54.1 cm/21.3 インチ)、最小 X+X 軸寸法 104.9 cm/41.2 インチ (キャビネット幅 92.1 cm/36.3 インチ + 左スペース 6.4 cm/2.5 インチ + 右スペース 6.4 cm/2.5 インチ) を想定しています。

上げ床の横安定性定格

地震活動が活発な地域では、上げ床の横安定性を考慮する必要があります。VSM 6 システム機器が設置される上げ床は、台座上部にかかった次の水平力レベルに耐えられる必要があります。

  • 地震リスクゾーン 1: 13.5 kg / 29.7 ポンドの水平力

  • 地震リスクゾーン 2A: 20.2 kg / 44.6 ポンドの水平力

  • 地震リスクゾーン 2B: 26.9 kg / 59.4 ポンドの水平力

  • 地震リスクゾーン 3: 40.4 kg / 89.1 ポンドの水平力

  • 地震リスクゾーン 4: 53.9 kg / 118.8 ポンドの水平力

    注記:

    水平力は 1991 Uniform Building Code (UBC) Sections 2336 および 2337 に基づき、複数の VSM 6 キャビネットの最小動作スペースを想定しています。UBC の対象となっていない地域での設置は、地域の管轄が提供する耐震基準を満たすように設計してください。

上げ床板定格

上げ床板は、床板のどの場所も最大 2 mm (0.08 インチ) のたわみで 620 kg (1365 ポンド) の集中荷重および 181 kg (400 ポンド) の転動荷重に耐えられる必要があります。VSM 6 システム機器には有孔床板は必要ありませんが、使用する場合は、同じ定格に準拠している必要があります。

上げ床台座定格

上げ床の台座は、2268 kg (5000 ポンド) の軸荷重に耐えられる必要があります。保守アクセスを提供するため、床板が切り取られている場所には、床板の耐荷重能力を維持するため、追加の台座が必要になることがあります。

VSM 6 の環境仕様

注記:

電力および冷却データの統計情報は、データレートや発生する操作数で異なるため、概算です。

VSM 6 基本の構成

VSM 6 は基本ユニットとオプションの容量アップグレードで構成されます。基本ユニットは最小構成の VSM 6 で、次が含まれています。

  • 標準の Sun Rack II キャビネット、モデル 1242

  • 配電盤 (PDU)。VLE50HZ-POWER-Z (x 2) または VLE60HZ-POWER-Z (x 2) (国によって異なる)

  • Sun SPARC T4-2 サーバー (x 2)。VSM 6 用の構成で工場で事前構成されたもの

  • ディスクシェルフ (x 2)。構成は製造日によって異なります。

    • 2013 年 12 月以降に製造された VSM 6 ユニットは、基本ユニットに Oracle DE2-24C ディスクシェルフ (x 2) が含まれ、それぞれに 73G バイトまたは 200G バイトのフラッシュ SSD (x 3) と 4T バイトの SAS HDD ドライブ (x 21) が搭載されており、ユーザー容量は約 370T バイトです (構成済み、4:1 圧縮)。

    • 2013 年 12 月より前に製造された VSM 6 には、基本ユニットに Sun J4410 ディスクシェルフ (x 2) が含まれ、それぞれに 73G バイトのフラッシュ SSD (x 3) と 3T バイトの SAS HDD ドライブ (x 21) が搭載されており、ユーザー容量は約 270T バイトです (構成済み、4:1 圧縮)。

VSM 6 の容量

合計の概算ユーザー容量は (構成済み、4:1 圧縮) は次のようになります。

Oracle DE2-24C ディスクシェルフ:

  • Oracle DE2-24C ディスクシェルフ (x 2) を含む VSM 6: 370T バイト

  • Oracle DE2-24C ディスクシェルフ (x 4) を含む VSM 6: 800T バイト

  • Oracle DE2-24C ディスクシェルフ (x 6) を含む VSM 6: 1200T バイト

  • Oracle DE2-24C ディスクシェルフ (x 8) を含む VSM 6: 1600T バイト

Sun J4410 ディスクシェルフ:

  • Sun J4410 ディスクシェルフ (x 2) を含む VSM 6: 270T バイト

  • Sun J4410 ディスクシェルフ (x 4) を含む VSM 6: 600T バイト

  • Sun J4410 ディスクシェルフ (x 6) を含む VSM 6: 900T バイト

  • Sun J4410 ディスクシェルフ (x 8) を含む VSM 6: 1200T バイト

VSM 6 全体寸法

SunRack II 1242 キャビネット (インチ):

  • 高さ: 78.7

  • 幅: 23.6

  • 奥行き: 47.2

VSM 6 保守用スペース

SunRack II 1242 キャビネット (インチ):

  • 上: 36 インチ。これは汎用 Sun Rack II の仕様です。VSM 6 の場合、上面からのアクセスはケーブル配線時のみです。

  • 前面: 42

  • 背面: 36

VSM 6 重量

ポンド: (基本 712 ポンド、最大 1372 ポンド)

  • サーバー: [80 ポンド] x [サーバー (x 2)] = [160 ポンド]

  • キャビネット: 332 ポンド

  • ディスクシェルフ: [110 ポンド] x [ディスクシェルフ (x 2)] = [220 ポンド]

  • [ディスクシェルフ (最大の x 8)] = [880 ポンド]

  • 合計最大重量: 1372 ポンド

  • 梱包材: 280 ポンド

  • [合計最大重量] + [梱包材] = [1652 ポンド]

キログラム: (基本: 323.64 kg、最大 623.64 kg)

  • サーバー: [36.36 kg] x [サーバー (x 2)] = [72.73 kg]

  • キャビネット: 150.91 kg

  • ディスクシェルフ: [50 kg] x [ディスクシェルフ (x 2)] = [100 kg]

  • [ディスクシェルフ (最大の x 8)] = [400 kg]

  • 合計最大重量: 623.64 kg

  • 梱包材: 127.27 kg

  • [合計最大重量] + [梱包材] = [750.91 kg]

VSM 6 電源

基本ワット数 2834、最大ワット数 5852

  • サーバー: [914 (ピーク時) 590 (アイドル時)] x [サーバー (x 2)] = [1828 (ピーク時) 1180 (アイドル時)]

  • 各ディスクシェルフ: 503 (ピーク時) 201 (アイドル時)

  • ディスクシェルフ (x 8): 4024 (ピーク時) 1608 (アイドル時)

  • 最大合計電力 (ディスクシェルフ (x 2)): 2834 (ピーク時) 1582 (アイドル時)

  • 最大合計電力 (ディスクシェルフ (x 8)): 5852 (ピーク時) 2788 (アイドル時)

VSM 6 HVAC

基本ワット数 2834、最大ワット数 5852

  • サーバー: [914 (ピーク時) 590 (アイドル時)] x [サーバー (x 2)] = [1828 (ピーク時) 1180 (アイドル時)]

  • 各ディスクシェルフ: 503 (ピーク時) 201 (アイドル時)

  • ディスクシェルフ (x 8): 4024 (ピーク時) 1608 (アイドル時)

  • 最大合計電力 (ディスクシェルフ (x 2)): 2834 (ピーク時) 1582 (アイドル時)

  • 最大合計電力 (ディスクシェルフ (x 8)): 5852 (ピーク時) 2788 (アイドル時)

x3.414 BTU/ワット: 基本 BTU 9670、最大 BTU 19968

  • サーバー: [3119 (ピーク時) 2013 (アイドル時)] x [サーバー (x 2)] = [6238 (ピーク時) 4026 (アイドル時)]

  • 各ディスクシェルフ: 1716 (ピーク時) 686 (アイドル時)

  • ディスクシェルフ (x 8): 13730 (ピーク時) 5487 (アイドル時)

  • 最小合計電力 (ディスクシェルフ (x 2)): 9670 (ピーク時) 5398 (アイドル時)

  • 最小合計電力 (ディスクシェルフ (x 8)): 19968 (ピーク時) 9513 (アイドル時)