5 Planification de la préparation du site physique VSM 6

Ce chapitre fournit des informations sur les activités conçues pour s'assurer que le site est correctement équipé et adapté aux conditions requises d'alimentation, de sécurité, d'environnement, HVAC et de gestion des données du système VSM 6. Voici une liste non exhaustive de points clés pour mener la planification de la préparation du site :

  • Etudes du site visant à évaluer et éliminer ou atténuer les facteurs susceptibles de nuire à la livraison, à l'installation et au fonctionnement du système VSM 6.

  • Plan de la disposition et de l'emplacement du système VSM 6, ainsi que de la disposition du câblage assurant une utilisation efficace et un entretien simplifié, plus désignation d'un espace et d'installations adéquats pour le personnel de support Oracle et son équipement.

  • Construction des installations assurant un environnement de fonctionnement optimal pour le système VSM 6 et le personnel, ainsi qu'un plancher sécurisé et une protection contre les incendies, les inondations, les contaminations et autres dangers potentiels.

  • Prévision d'événements clés et de délais précis pour la mise à niveau des installations, la formation du personnel et les opérations de livraison, d'implémentation, d'installation, de tests et de certification

Il incombe aux clients d'assurer que leur site est préparé à recevoir et opérer le système VSM 6 et qu'il répond aux spécifications minimum d'exploitation du système, décrites dans ce guide.

Processus de planification de la préparation du site

Les activités, tâches et participants à la planification de la préparation du site incluent :

Des activités clés de haut niveau

  1. Sélectionner les membres de l'équipe de préparation du site et définir les rôles et les responsabilités

  2. Compléter les études du site pour :

    • Documenter les dangers environnementaux externes ou internes, avérés ou potentiels.

    • Evaluer les capacités d'alimentation du site, de sécurité, d'environnement, HVAC et de gestion des données en comparaison avec les conditions requises du système VSM 6.

    • Confirmer les capacités de charge subies par le plancher sur le circuit de transition et à l'emplacement d'installation pour les armoires VSM 6 VTSS.

    • Evaluer les espaces libres de plafond, de couloir, de porte et les capacités de l'ascenseur, ainsi que les angles de pente en comparaison avec les conditions requises des armoires VSM 6 VTSS.

  3. Participez aux réunions de planification

Sous-tâches clés

  1. Vérifier que les capacités d'alimentation du site, de sécurité, d'environnement, HVAC et de gestion des données correspondent aux conditions requises du système VSM 6 VTSS.

  2. Définir un plan pour éliminer/limiter les dangers environnementaux.

  3. Evaluer les capacités de charge subies par le plancher sur le circuit de transition et à l'emplacement d'installation de VSM 6 VTSS.

  4. Vérifier que les espaces libres de porte, de couloir et de plafond, que les capacités de l'ascenseur et que les angles de pente correspondent aux conditions requises de VSM 6 VTSS.

  5. Identifier les modifications/mises à niveau requises de l'infrastructure ; définir un planning d'accomplissement des tâches.

  6. Evaluer la progression de préparation et certifier la préparation du site.

Participants clés

  • Client : ingénieur de site, directeur des installations, gestionnaire du centre de données, administrateur réseau

  • Oracle : spécialiste du support technique, ingénieur système

Evaluation du site - Facteurs externes

Plusieurs mois avant la livraison du système VSM 6, une équipe de planification de la préparation doit identifier et évaluer tous les facteurs de site externes présentant des dangers avérés ou potentiels, ou encore susceptibles de nuire au bon déroulement de la livraison et de l'installation ou au fonctionnement du système. Les facteurs externes à évaluer sont notamment les suivants :

  • Fiabilité et qualité de l'alimentation électrique fournie par les services publics, les groupes électrogènes et les ASI (alimentations sans interruption)

  • Proximité des sources de rayonnement électromagnétique haute fréquence (par exemple, lignes électriques à haute tension, émetteurs de télévision, radio et radar)

  • Proximité de plaines inondables naturelles ou créées par l'homme et risque résultant d'inondation du centre de données

  • Effets potentiels d'agents polluants provenant de sources proches (par exemple, des installations industrielles)

Si tout facteur négatif existant ou potentiel est découvert, l'équipe de planification de la préparation de site doit prendre les mesures appropriées pour éliminer ces facteurs ou atténuer leur impact, ce avant la livraison du système VSM 6. Les services internationaux d'Oracle proposent des services de consultation et d'assistance pour identifier et résoudre ce type de problèmes. Pour plus d'informations à ce sujet, contactez votre chargé de compte Oracle.

Evaluation du site - Facteurs internes

Plusieurs mois avant la livraison du système VSM 6, une équipe de planification de la préparation doit identifier et évaluer tous les facteurs de site internes présentant des dangers avérés ou potentiels, ou encore susceptibles de nuire au bon déroulement de la livraison et de l'installation ou au fonctionnement du système. Les facteurs internes à évaluer sont notamment les suivants :

  • Dimensions de la structure, capacités des ascenseurs, capacités de charge du plancher, inclinaisons des pentes et autres facteurs à prévoir lors du transfert du système d'un point à un autre (aire de livraison, aire de transit et site d'installation du centre de données)

  • Conception et capacité du système d'alimentation du site

  • Conception et capacité du système d'alimentation de VSM 6

  • Fonctionnalités de conception et capacités du système de sécurité du centre de données

  • Fonctionnalités de conception et capacités d'environnement du centre de données (HVAC)

  • Effets potentiels de matériaux corrosifs, interférence électrique ou vibrations excessives de sources proches du système.

Si tout facteur négatif existant ou potentiel est découvert, l'équipe de planification de la préparation de site doit prendre les mesures appropriées pour éliminer ces facteurs ou atténuer leur impact, ce avant la livraison du système VSM 6. Les services internationaux d'Oracle proposent des services de consultation et d'assistance pour identifier et résoudre ce type de problèmes. Pour plus d'informations à ce sujet, contactez votre chargé de compte Oracle.

Transfert d'équipement point à point

Les conditions du site doivent être vérifiées pour garantir le transport sécurisé de tous les composants du système VSM 6 entre l'aire de livraison, l'aire de transit et le centre de données sans restrictions de dimensions, obstructions ni risques pour la sécurité et sans dépassement des capacités nominales de l'équipement de levage et de charge, du plancher ou d'autres infrastructures. Les conditions à vérifier sont décrites ci-dessous.

Dimensions de la structure et obstructions

Les dimensions des ascenseurs, des portes, des couloirs, etc. doivent être suffisantes pour permettre le passage sans entrave des armoires VSM 6 (dans des conteneurs d'expédition, si nécessaire) de l'aire de livraison à l'emplacement d'installation du centre de données. Pour plus de détails concernant les dimensions des armoires de VSM 6, reportez-vous à la section Dimension générales de VSM 6.

Capacités de charge des ascenseurs

Les ascenseurs qui seront empruntés pour transférer les armoires VSM 6 doivent présenter une capacité de charge certifiée d'au moins 1 050 kg. Cette capacité permet de lever l'armoire VSM 6 la plus lourde complètement remplie (environ 751 kg), un transpalette (prévoir 100 kg) et deux personnes (prévoir 200 kg). Reportez-vous à la section Poids de VSM 6 pour obtenir plus d'informations sur le poids des armoires.

Capacité de charge du plancher

Les dalles pleines, les planchers techniques et les pentes qui se trouvent sur le chemin de transfert des armoires VSM 6 doivent être capable de supporter des charges concentrées et mobiles générées par le poids d'une armoire remplie, d'un transpalette utilisé pour lever une armoire et du personnel chargé de déplacer l'armoire d'un point à un autre.

Les panneaux du plancher technique situés sur un chemin de transfert doivent être capables de résister à une charge concentrée de 751 kg et une charge mobile de 181 kg à tout endroit du panneau, avec un fléchissement maximum de 2 mm. Les plots du plancher technique doivent être capables de résister à une charge axiale de 2 268 kg. Reportez-vous à la section Conditions de charge exercée sur le plancher pour obtenir plus d'informations sur la capacité de charge du plancher.

Lorsqu'elle est déplacée d'un emplacement à l'autre, une armoire VSM 6 génère environ deux fois la charge qu'elle génère à l'état statique. L'application de panneaux de contreplaqué de 19 mm sur le chemin de transfert réduit la charge mobile générée par une armoire.

Inclinaisons

Pour éviter le basculement des armoires VSM 6 sur les pentes au cours du transfert d'un point à un autre, l'ingénieur ou le responsable du site peut vérifier l'angle d'inclinaison de toutes les pentes rencontrées sur le chemin de transfert. L'angle ne peut pas dépasser les 10 degrés (176 mm/m).

Sécurité du centre de données

La sécurité doit constituer une priorité dans la préparation de l'installation du système VSM 6 et peser dans les choix de localisation de l'équipement, des capacités nominales des systèmes électriques, HVAC et de prévention incendie utilisés dans l'environnement d'exploitation et du niveau de formation du personnel. Les exigences des autorités locales et des compagnies d'assurance guideront les décisions en ce qui concerne les niveaux de sécurité appropriés à adopter dans un environnement donné.

Les taux d'occupation, la valeur des propriétés, les risques d'interruption de l'activité et les coûts d'exploitation et de la maintenance du système de prévention incendie doivent également être évalués. Il est possible de consulter les normes Standard for the Protection of Electronic Computer/Data Processing Equipment (NFPA 75) et National Electrical Code (NFPA 70) ainsi que les codes et réglementations locaux et nationaux pour aborder ces questions.

Commande de mise hors tension d'urgence

Le centre de données doit être équipé de commutateurs de mise hors tension d'urgence aisément accessibles pour permettre une déconnexion immédiate de l'alimentation électrique du système VSM 6. Un commutateur doit être installé à côté de chaque sortie de secours pour permettre une activation rapide du dispositif de mise hors tension en cas d'urgence. Consultez les codes locaux et nationaux pour déterminer les critères auxquels doivent répondre les systèmes de déconnexion de l'alimentation.

Prévention incendie

Les indications de prévention incendie suivantes doivent être prises en compte dans la construction, la maintenance et l'utilisation du centre de données :

  • Entreposez les gaz et autres explosifs à l'écart de l'environnement du centre de données.

  • Assurez-vous que les murs, le plancher et le plafond du centre de données sont ignifugés et imperméables.

  • Installez des détecteurs de fumée et des systèmes d'extinction des incendies comme l'exigent les codes locaux ou nationaux et effectuez toute les opérations de maintenance planifiées sur les systèmes.

    Remarque :

    Le gaz Halon 1301 est l'agent d'extinction d'incendies le plus couramment utilisé dans les systèmes d'extinction des incendies des centres de données. L'agent est stocké à l'état liquide et libéré à l'état de vapeur incolore, inodore et non conductrice de l'électricité. Il peut être utilisé en toute sécurité dans des zones occupées, sans risque pour le personnel. De plus, il ne laisse aucun résidu et il n'a pas été établi qu'il puisse causer des dommages aux médias de stockage informatiques.
  • Installez uniquement des fenêtres en verre incassable dans des murs et des portes conformes aux codes.

  • Installez des extincteurs au dioxyde de carbone pour les incendies d'origine électrique et des extincteurs à eau sous pression pour les matériaux combustibles ordinaires.

  • Fournissez des poubelles coupe-feu et formez le personnel à la mise au rebut des déchets combustibles dans les conteneurs appropriés.

  • Observez des pratiques responsables pour prévenir les risques d'incendie.

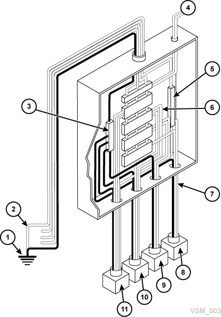
Systèmes de distribution électrique du site

Un système de distribution électrique correctement installé est nécessaire pour assurer le fonctionnement sécurisé du système VSM 6. L'alimentation doit être fournie par des dispositifs d'alimentation distincts de ceux utilisés pour l'éclairage, la climatisation et les autres systèmes électriques.

La configuration de l'alimentation type, illustrée à la Figure 5-1, correspond soit au type haute tension à cinq fils, soit au type basse tension à quatre fils, avec une alimentation triphasée provenant d'un branchement au réseau public ou d'une source dérivée distincte, et une protection contre les surintensités et une mise à la terre appropriée. Un système de distribution triphasé à cinq fils constitue la configuration la plus flexible, car elle permet la distribution de l'alimentation à la fois aux équipements triphasés et aux équipements monophasés.

Légende de la Figure 5-1:

1 - Mise à la terre avec le réseau public ou mise à la terre appropriée du bâtiment

2 - Valide uniquement au niveau du branchement au réseau public ou du système dérivé distinct (transformateur)

3 - Bornier de mise à la terre (attaché au boîtier). Même taille que la phase neutre

4 - Débranchement du service d'alimentation à activation distante

5 - Barre omnibus neutre

6 - Disjoncteurs de taille appropriée

7 - Circuits de dérivation

8 - 120 V monophasé

9 - 208/240 V monophasé

10 - 208/240 V triphasé (4 fils)

11 - 208/240 V triphasé (5 fils)

Figure 5-1 Système de distribution électrique du site

Le texte environnant décrit Figure 5-1 .

Mise à la terre des équipements

Pour des raisons de sécurité et de protection ESD, le système VSM 6 doit être correctement relié à la terre. Les câbles d'alimentation des armoires VSM 6 contiennent un fil de mise à la terre isolé vert/jaune qui connecte la trame VSM 6 au bornier de mise à la terre à la source de prise de courant CA. Un fil similaire de mise à la terre isolé vert ou vert/jaune, possédant au moins le même diamètre que le fil de phase, est nécessaire entre le panneau du circuit de dérivation et la prise d'alimentation qui connecte chaque armoire.

Source d'alimentation

Les plages de tension et de fréquence au niveau de la ou des prises d'alimentation CA qui alimenteront le système VSM 6 doivent être mesurées et répondre aux spécifications :

  • Source d'alimentation : CA, monophasée, à 3 fils

  • Plage de tension : 170-240

  • Plage de fréquence (Hz) : 47-63

Si vous installez l'armoire VSM 6 en Amérique du Nord ou du Sud, au Japon ou à Taïwan, assurez-vous que les sources d'alimentation désignées sont des prises NEMA L6‐30R et que les extrémités des cordons d'alimentation des armoires sont équipées de fiches NEMA L6-30P. L'usine expédie des cordons d'alimentation dotés de fiches NEMA L6-30P en Amérique du Nord et du Sud, au Japon et à Taïwan. Les expéditions vers la zone Europe, Moyen Orient, Asie et Asie Pacifique sont envoyées avec des fiches IEC309 32A 3 PIN 250VAC IP44. La Figure 5-2 présente une fiche NEMA L6-30P et une prise L6‐30R.

Figure 5-2 Fiche NEMA L6-30P et prise L6‐30R

Le texte environnant décrit Figure 5-2 .

Si vous installez l'armoire VSM 6 en dehors de l'Amérique du Nord et du Sud, du Japon et de Taïwan, assurez-vous que les prises d'alimentation désignées répondent à toutes les spécifications des codes électriques locaux et nationaux applicables. Ensuite, reliez les connecteurs requis aux extrémités à trois fils des cordons d'alimentation des armoires.

Blocs d'alimentation à deux sources indépendantes

Les armoires VSM 6 possèdent une architecture de distribution d'électricité redondante conçue pour prévenir toute interruption des opérations du système causée par la panne d'une source d'électricité. Quatre fiches d'alimentation 30 A. Pour assurer un fonctionnement continu, tous les câbles d'alimentation doivent être connectés à des sources d'alimentation distinctes et indépendantes non susceptibles de tomber en panne en même temps (par exemple, une source reliée au réseau public local, les autres à une ASI (alimentation sans interruption)). Le fait de connecter plusieurs câbles d'alimentation à la même source d'alimentation ne crée pas de capacité de redondance.

Bruits électriques et perturbations des lignes électriques

Une source d'alimentation CA fiable exempte d'interférences ou de perturbations est requise pour assurer des performances optimales du système VSM 6. La plupart des compagnies de services publics fournissent une alimentation qui permet le bon fonctionnement du système. Toutefois, des erreurs ou pannes du système peuvent se produire lorsque des signaux électriques transitoires extérieurs (par rayonnement ou conduction) sont superposés au courant qui alimente le système.

De plus, même si le système VSM 6 est conçu pour supporter les types les plus courants de perturbation des lignes électriques avec peu ou pas d'impact sur les opérations, les cas extrêmes de perturbation de l'alimentation, telles que la foudre, peuvent provoquer des pannes ou des erreurs du système si aucune mesure n'est prise pour les atténuer.

Pour réduire les effets des signaux électriques extérieurs et les perturbations de l'alimentation électrique, les tableaux d'alimentation du centre de données doivent être équipés d'une plaque de mise à la terre transitoire semblable à celle présentée à la Figure 5-3 :

Légende de la Figure 5-3:

1 - Fil tressé/contraint plat

2 - Tableau d'alimentation

3 - Plaque

4 - Plancher en béton

Figure 5-3 Plaque de mise à la terre transitoire

Le texte environnant décrit Figure 5-3 .

Décharge électrostatique

Les décharges électrostatiques (électricité statique) sont provoquées par le mouvement des personnes, des meubles et des équipements. L'électricité statique peut endommager les composants de carte de circuit imprimé, modifier les informations enregistrées sur les médias magnétiques et causer d'autres problèmes aux équipements. Il est recommandé de suivre les mesures ci-dessous pour réduire le potentiel d'électricité statique dans le centre de données :

  • Créez un chemin conducteur reliant le plancher technique au sol.

  • Utilisez des panneaux de plancher dotés de noyaux non conducteurs.

  • Maintenez des niveaux d'humidité conformes aux paramètres de contrôle recommandés.

  • Utilisez des tapis antistatiques mis à la terre et des bracelets antistatiques pour travailler sur l'équipement.

Configuration HVAC requise

Les systèmes de refroidissement et de climatisation doivent être capables d'éliminer la chaleur générée par l'équipement et le personnel du centre de données. Les zones équipées d'un plancher technique doivent présenter une pression d'air sous plancher positive pour faciliter la circulation de l'air. Si les conditions d'un centre de données viennent à changer (par exemple, lorsqu'un nouvel équipement est ajouté ou qu'un équipement existant est réorganisé), des contrôles de circulation de l'air doivent être effectués pour vérifier que la circulation est satisfaisante.

Conditions environnementales requises et risques

Les composants du système VSM 6 sont sensibles à la corrosion, aux vibrations et aux interférences électriques dans les environnements clos tels que les centres de données. En raison de cette sensibilité, l'équipement ne doit pas être situé à proximité de zones où des matériaux dangereux ou corrosifs sont fabriqués, utilisés ou stockés, ou dans des zones présentant des niveaux d'interférences électriques ou de vibrations supérieurs à la moyenne.

Pour des performances optimales, il convient d'opérer l'équipement dans des conditions environnementales nominales. Si le système VSM 6 doit être situé dans ou à proximité d'environnements défavorables, des contrôles environnementaux supplémentaires doivent être envisagés afin d'atténuer ces facteurs avant l'installation de l'équipement.

Conditions requises quant à la construction du plancher

Le système VSM 6 est conçu pour être utilisé sur un plancher technique ou une dalle pleine. Les moquettes ne sont pas recommandées car elles retiennent la poussière et contribuent à l'accumulation de charges électrostatiques potentiellement nuisibles. Les planchers techniques sont à privilégier par rapport aux dalles pleines car ils permettent de protéger les câbles d'alimentation et de données contre les passages répétés et d'autres risques potentiels au niveau du sol.

Conditions de charge exercée sur le plancher

Un revêtement avec une capacité de charge nominale globale (par superposition) de 490 kg/m2 est recommandé. Si le plancher ne présente pas la capacité recommandée, l'ingénieur du site ou le responsable du site doit consulter le fabricant du plancher ou un ingénieur architecte pour calculer les charges réelles et déterminer si le poids d'une configuration particulière du système VSM 6 peut être supportée.

AVERTISSEMENT :

Ne pas respecter les limites de charge recommandées du plancher technique peut entraîner un effondrement du plancher, et par là même des risques de blessures graves et de décès et des dégâts causés au matériel et à l'infrastructure. Il est recommandé de demander à un ingénieur architecte d'effectuer une analyse des charges exercées sur le plancher avant de commencer l'installation du système VSM 6.

Mise en garde :

Lorsqu'elle est déplacée, une armoire VSM 6 exerce une charge sur le plancher presque deux fois plus élevée que lorsqu'elle est immobile. Pour réduire la charge subie par le plancher et ainsi le risque de dommages et de blessures lors du transfert d'un système VSM 6, pensez à utiliser des panneaux de contreplaqué de 19 mm sur le plancher sur lequel sera déplacé l'armoire.

Spécifications et références liées aux capacités de charge du plancher

  • La charge de base exercée sur le plancher est de 730 kg/m2.

    Il s'agit du rapport entre la charge et la surface (7 093,7 cm2/1 099,5 pouces carrés) d'une armoire VSM 6 emballée, avec un poids maximum de 620 kg/1 365 livres (si elle est entièrement remplie de 192 unités de baie de disques).

  • La charge de base exercée sur le plancher est de 485 kg/m2.

    Cela suppose une dimension de l'axe Z+Z minimale de 185,3 cm (une profondeur d'armoire de 77,1 cm + espace libre à l'avant pour la maintenance de 54,1 cm + espace libre à l'arrière pour la maintenance de 54,1 cm), une dimension de l'axe X+X minimale de 104,9 cm (une largeur d'armoire de 92,1 cm + espace libre à gauche pour la maintenance de 6,4 cm + espace libre à droite pour la maintenance de 6,4 cm).

Capacités nominales de stabilité latérale du plancher technique

Dans les régions à risque sismique élevé, la stabilité latérale du plancher technique doit être prise en compte. Les planchers surélevés où le système VSM 6 est installé doivent pouvoir résister aux niveaux de force horizontale suivants, appliqués en haut du plot :

  • Zone de risque sismique 1 : 13,5 kg / 29,7 livres de force horizontale

  • Zone de risque sismique 2A : 20,2 kg / 44,6 livres de force horizontale

  • Zone de risque sismique 2B : 26,9 kg / 59,4 livres de force horizontale

  • Zone de risque sismique 3 : 40,4 kg / 89,1 livres de force horizontale

  • Zone de risque sismique 4 : 53,9 kg / 118,8 livres de force horizontale

    Remarque :

    Les forces horizontales sont basées sur les sections 2336 et 2337 du code UBC (Uniform Building Code) de 1991 et supposent l'observation d'espaces libres minimum pour plusieurs armoires VSM 6. Les installations effectuées dans des zones non couvertes par l'UBC doivent être étudiées de sorte à répondre aux conditions du code sismique de l'autorité locale.

Capacités nominales des panneaux du plancher technique

Les panneaux du plancher technique doivent être capables de résister à une charge concentrée de 620 kg et une charge mobile de 181 kg à tout endroit du panneau, avec un fléchissement maximum de 2 mm. Il n'est pas nécessaire d'utiliser des panneaux de plancher perforés pour le système VSM 6, mais s'ils sont utilisés, ils doivent répondre aux mêmes capacités nominales.

Capacités nominales des plots du plancher technique

Les plots du plancher technique doivent être capables de résister à une charge axiale de 2 268 kg. Si des panneaux sont coupés afin de libérer un accès pour la maintenance, des plots supplémentaires peuvent être nécessaires pour maintenir la capacité de charge du panneau de plancher.

Spécifications environnementales VSM 6

Remarque :

Les statistiques données en termes de données d'alimentation et de refroidissement sont approximatives en raison des variations des débits de données et du nombre d'opérations effectuées.

Configuration de base de VSM 6

VSM 6 comprend une unité de base et des mises à niveaux de capacité facultatives. L'unité de base est un système VSM 6 dans sa configuration minimum, y compris :

  • Une armoire Sun Rack II standard, modèle 1242

  • Selon le pays, deux unités de distribution de courant (PDU) VLE50HZ-POWER-Z ou deux unités de distribution de courant VLE60HZ-POWER-Z

  • Deux serveurs Sun SPARC T4-2 dans une configuration spécifique et préconfigurés par le fabricant pour VSM 6

  • Deux étagères de disques, dans une configuration spécifique en fonction de la date de fabrication :

    • Pour les unités VSM 6 construites à partir de décembre 2013, l'unité de base dispose de deux étagères de disques Oracle DE2-24C, chacune possédant trois disques durs Flash de 73 Go ou 200 Go et 21 lecteurs SAS HDD de 4 To, ce qui représente environ 370 To de capacité d'utilisateur (configurés avec une compression 4:1).

    • Pour les unités VSM 6 construites avant décembre 2013, l'unité de base dispose de deux étagères de disques Sun J4410, chacune possédant trois disques durs Flash de 73 Go et 21 lecteurs SAS HDD de 3 To, ce qui représente environ 270 To de capacité d'utilisateur (configurés avec une compression 4:1).

Capacité VSM 6

La capacité d'utilisateur totale approximative (configurée avec une compression 4:1) se présente comme suit :

Etagères de disques Oracle DE2-24C :

  • VSM 6 avec deux étagères de disques Oracle DE2-24C : 370 To

  • VSM 6 avec quatre étagères de disques Oracle DE2-24C : 800 To

  • VSM 6 avec six étagères de disques Oracle DE2-24C : 1 200 To

  • VSM 6 avec huit étagères de disques Oracle DE2-24C : 1 600 To

Etagères de disques Sun J4410 :

  • VSM 6 avec deux étagères de disques Sun J4410 : 270 To

  • VSM 6 avec quatre étagères de disques Sun J4410 : 600 To

  • VSM 6 avec six étagères de disques Sun J4410 : 900 To

  • VSM 6 avec huit étagères de disques Sun J4410 : 1 200 To

Dimension générales de VSM 6

Armoire SunRack II 1242 (pouces) :

  • Hauteur : 78,7

  • Largeur : 23,6

  • Profondeur : 47,2

Espace libre pour la maintenance VSM 6

Armoire SunRack II 1242 (pouces) :

  • Sommet : 36 pouces (91 cm). Il s'agit de la spécification générique de Sun Rack II. VSM 6 ne requiert pas d'accès par le haut sauf pour le câblage.

  • Avant : 42

  • Arrière : 36

Poids de VSM 6

En livre : (base : 712 livres, maximum : 1 372 livres)

  • Serveurs : [80 livres] multiplié par [deux serveurs] égal [160 livres]

  • Armoire : 332 livres

  • Etagères de disques : [110 livres] multiplié par [deux étagères de disques] égal [220 livres]

  • [Maximum huit étagères de disques] égal [880 livres]

  • Poids total maximum : 1 372 livres

  • Matériel d'expédition : 280 livres

  • [Poids total maximum] plus [matériel d'expédition] égal [1 652 livres]

En kilogrammes : (base : 323,64 kilogrammes, maximum : 623,64 kilogrammes)

  • Serveurs : [36,36 kilogrammes] multiplié par [deux serveurs] égal [72,73 kilogrammes]

  • Armoire : 150,91 kilogrammes

  • Etagères de disques : [50 kilogrammes] multiplié par [deux étagères de disques] égal [100 kilogrammes]

  • [Maximum huit étagères de disques] égal [400 kilogrammes]

  • Poids total maximum : 623,64 kilogrammes

  • Matériel d'expédition : 127,27 kilogrammes

  • [Poids total maximum] plus [matériel d'expédition] égal [750,91 kilogrammes]

Alimentation VSM 6

Watts de base : 2 834, Watts maximum : 5 852

  • Serveurs : [914 (pic) 590 (repos)] multiplié par [deux serveurs] égal [1 828 (pic) 1 180 (repos)]

  • Chaque étagère de disque : 503 (pic) 201 (repos)

  • Huit étagères de disques : 4 024 (pic) 1 608 (repos)

  • Minimum du total d'alimentation (avec deux étagères de disques) : 2 834 (pic) 1 582 (repos)

  • Maximum du total d'alimentation (avec huit étagères de disques) : 5 852 (pic) 2 788 (repos)

HVAC VSM 6

Watts de base : 2 834, Watts maximum : 5 852

  • Serveurs : [914 (pic) 590 (repos)] multiplié par [deux serveurs] égal [1 828 (pic) 1 180 (repos)]

  • Chaque étagère de disque : 503 (pic) 201 (repos)

  • Huit étagères de disques : 4 024 (pic) 1 608 (repos)

  • Minimum du total d'alimentation (avec deux étagères de disques) : 2 834 (pic) 1 582 (repos)

  • Maximum du total d'alimentation (avec huit étagères de disques) : 5 852 (pic) 2 788 (repos)

x3,414 BTU/Watt : BTU de base 9 670, BTU maximum 19 968

  • Serveurs : [3 119 (pic) 2 013 (repos)] multiplié par [deux serveurs] égal [6 238 (pic) 4 026 (repos)]

  • Chaque étagère de disque : 1 716 (pic) 686 (repos)

  • Huit étagères de disques : 13 730 (pic) 5 487 (repos)

  • Minimum du total d'alimentation (avec deux étagères de disques) : 9 670 (pic) 5 398 (repos)

  • Maximum du total d'alimentation (avec huit étagères de disques) : 19 968 (pic) 9 513(repos)