この章では、ハードウェアを移動、設置および構成する方法(Oracle Big Data Applianceを開梱してからシステムに電源を投入するまで)について説明します。この章は次の項で構成されます。
Oracle Big Data Applianceが到着する前に、次の安全対策について調査し、サイトが安全で配送準備が完了していることを確認してください。これらの対策に従わないと、負傷、機器の損傷または誤動作につながる可能性があります。
換気口をふさがないでください。
直射日光が当たる場所や高温になる可能性のある機器の近くにOracle Big Data Applianceを設置しないでください。
大量のほこり、腐食性ガス、または塩分濃度の高い空気が存在する場所にOracle Big Data Applianceを設置しないでください。
振動の多い場所にOracle Big Data Applianceを設置しないでください。起伏のない水平面に設置してください。
適切に接地された電源出力を使用してください。共用接地では、接地抵抗が10オームを超えないようにします。施設の管理者または資格を持つ電気技術者が建物の接地方法を確認して接地作業を実行する必要があります。
Oracle Big Data Applianceで使用する各接地線が、Oracle Big Data Appliance専用であることを確認してください。機器のラベルに記載されている操作上の安全対策、警告および注意に従ってください。
機器の下にケーブルを配置したり、ケーブルをきつく伸ばさないでください。
電源がオンの間は、機器から電源コードを外さないでください。
LANケーブルを外すときにコネクタ・ロックに手が届かない場合は、マイナスドライバーでコネクタ・ロックを押してケーブルを外してください。マイナスドライバーを使用せずに、すき間に無理に指を押し込むと、システム・ボードを破損するおそれがあります。
Oracle Big Data Applianceの最上部に物を置いたり、その上で直接作業をしないでください。
室温を急激に上げないでください(特に冬場)。急激な温度変化は、Oracle Big Data Applianceの内部に結露が形成される原因となります。稼働の前に、十分な暖機運転を行ってください。
コピー機、空調装置、溶接機、またはその他の大規模な電子ノイズの発生する機器の近くにOracle Big Data Applianceを設置しないでください。
設置場所では静電気を避けてください。静電気がOracle Big Data Applianceに移動すると、誤動作の原因となります。静電気は、カーペットで生成されることがよくあります。
供給電圧および周波数が、Oracle Big Data Applianceに指定されている電気定格と一致していることを確認してください。
手順の一部として記載されていないかぎり、Oracle Big Data Applianceの開口部には何も挿入しないでください。
警告:
Oracle Big Data Applianceには、高電圧部品が含まれます。金属などの導電性の物体がOracle Big Data Applianceの開口部に入ると、ショートする可能性があります。これにより、人的傷害、火事、感電および機器の損傷が発生する危険性があります。
単相配電ユニット(PDU)を使用する場合、次のことに注意してください。
PDU Aの入力0とPDU Bの入力2は同相である必要があります。
PDU Aの入力1とPDU Bの入力1は同相である必要があります。
PDU Aの入力2とPDU Bの入力0は同相である必要があります。
入力には、PDUの接続先がラベルで示されています。説明どおりにケーブルを接続することで、フェイルオーバーのときにAとBの両方で相のバランスが取れます。
関連項目:
ラックに付属しており、次の場所からオンラインでも入手できるSunハードウェア・システムの重要な安全情報(816-7190)
http://docs.oracle.com/cd/E19115-01/mod.dc.d20/816-7190-12/816-7190-12.pdf
Oracle Big Data Appliance安全およびコンプライアンス・ガイドおよび梱包に印刷されているすべての安全上の注意
Sun Rack II配電ユニット・ユーザーズ・ガイド
サイト計画プロセス中に開梱場所を決定する必要があります。「Oracle Big Data Applianceのサイト要件」を参照してください。
図6-1に、Oracle Big Data Applianceの貨物箱を示します。
関連項目:
ラックの開梱の詳細は、Sun Rack II開梱ガイドを参照してください。このガイドは次の場所から入手できます。
注意:
専門の運送業者に依頼してOracle Big Data Applianceの開梱と設置を行うことを強くお薦めします。
関連項目:
梱包に付属するSun Rack IIの開梱指示
Oracle Big Data Applianceを開梱するには、次の手順を実行します。
Oracle Big Data Applianceを梱包材および輸送用パレットから慎重に取り出します。
輸送用段ボールのバンドを取り外します。
黄色の留め具と一番上の段ボールを取り外します。
両側面と内側一番上の段ボールを取り外します。
警告:
ラックを揺らしたり傾けたりすると、ラックが倒れて、重傷や死を招く可能性があります。
出荷キットを取り外します。
次のように輸送用パレットに傾斜路を取り付けます。
次のように輸送用パレットからOracle Big Data Applianceを慎重に降ろします。
ラックを輸送用パレットに固定する取付けブラケットは保管しておいてください。これらの取付けブラケットを使用して、設置サイトのフロアにOracle Big Data Applianceを確実に固定できます。
注意:
交換用のブラケットは注文できないため、これらのブラケットは処分しないでください。
梱包材は適切にリサイクルしてください。資材を処分する場合は、現地の法令やガイドラインに従ってください。
この項では、Oracle Big Data Applianceを設置、固定および接地する方法について説明します。この項の内容は次のとおりです。
Oracle Big Data Applianceを設置サイトに移動する場合、前部のキャスタは回転しません。図6-2に示すとおり、後部のキャスタを動かしてユニットを操縦する必要があります。慎重に押すことで、Oracle Big Data Applianceを安全に動かすことができます。
図6-2に、Oracle Big Data Applianceの正しい移動方法を示します。
ラックは2人で移動してください(前部に1人と、ラックを誘導するために後部に1人)。構成済のラックをある場所から別の場所に移動する場合、1秒当たり0.65m (2フィート)以下の速度でゆっくりと動かしてください。
移動経路は、十分に調査してください。出入り口、エレベータ口など、突然の停止や衝撃につながる障害物は避ける必要があります。傾斜台やリフトを使用して障害物を迂回し、円滑な移動を可能にしてください。
警告:
側面パネルを押してOracle Big Data Applianceを移動しようとすることは絶対に避けてください。サイド・パネルを押すと、ラックが転倒する場合があります。これは、重傷または死亡、および機器の損傷の原因となります。
ラックが倒れる可能性があるため、Oracle Big Data Applianceを傾けたり揺らしたりすることは絶対に避けてください。
Oracle Big Data Applianceを設置サイトに移動した後、動いたり倒れたりしないようにラックを固定します。ラックのレベリング・フィートを広げるか、マウンティング・ブラケットを使用することによって(あるいはその両方)、ラックを固定できます。
水平調整脚を調整するには、次の手順を実行します。
ラックの一番下の隅にある水平調整脚の場所を確認します。
図6-3に示すとおり、SW 12mmレンチを使用して水平調整脚をフロアに対して下げます。4つの水平調整脚は、正しく下げれば、ラックの全重量を支えることができます。
取付けブラケットを設置するには、次の手順を実行します。
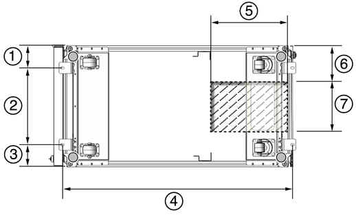
設置フロアにドリルで取付け用の穴を開けます。図6-4に、取付けブラケットの場所と寸法を示します。
4つのボルトとワッシャを入手して、Oracle Big Data Applianceラックをフロアに取り付けます。取付けブラケットのボルト穴は、10.0mm径です。フロアごとに必要となるボルト・タイプおよび強度は異なるため、オラクル社では取付けボルトは提供していません。ユーザー固有の場所に適切なボルトを選択してください。
前もって開けておいた穴の上にラックの位置を揃えます。図6-5に、Oracle Big Data Applianceラックの底面図と、取付け穴およびフロア・カット寸法の場所を示します。
1: 取付けブラケットの中心からラックの端までの距離は、113mm (4.45インチ)です。
2: 取付け穴スロットの中心間の幅は、374mm (14.72インチ)です。
3: 取付けブラケットの中心からラックの端までの距離は、113mm (4.45インチ)です。
4: 前部および後部の取付け穴スロットの中心間の距離は、1120mm (44.1インチ)です。
5: ケーブル配線用のフロア・カット部分の深さは、330mm (13インチ)です。
6: フロア・カット部分とラックの端との間の距離は、160mm (6.3インチ)です。
ラックの底面を通じてデータまたはPDU電源コードを配線する予定の場合、設置フロア・サイトに穴を開ける必要があります。ラックの背面部の下(後部の2つのキャスタ間で、後部のRETMA (無線電子装置/テレビジョン製造業者協会)レールの後ろ)に矩形を切り取ります。
注意:
ラックのキャスタやレベリング・フィート・ブラケットが置かれる場所に穴を開けないでください。
図6-6に、底面からのラックの基準位置を示します。
前面と背面のドアを開けます。
図6-7に示すとおり、6mm六角アレン・レンチを使用してラックに取付けブラケットを固定します。
図6-7 取付けブラケットを使用したOracle Big Data Applianceラックの固定

手順2で入手したボルトとワッシャを使用して、図6-7に示すとおり、4つの取付けブラケットを固定してシステムをフロアに恒久的に取り付けます。
すべてのボルトを固く締め付け、ラックとフロアに取付けブラケットを固定します。
Oracle Big Data Applianceラックの配電ユニット(PDU)は、電源コードを通じて接地を行います。最終的に、シャーシは、電源コードをソケットに接続するときに接地プロングを経由して接地されます。追加の接地を行うには、シャーシの接地ケーブルをラックに接続します。接地ポイントを追加することにより、漏洩電流をより効率的に消散できます。
警告:
PDUの電源入力リード・コードおよび接地ケーブルは、共通の接地を使用する必要があります。そうでない場合、接地ポテンシャルの相違が生じる可能性があります。施設のPDUレセプタクル接地がわからない場合は、正しいPDUレセプタクル接地があることを確認するまで、接地ケーブルは取り付けないでください。接地ポテンシャルの相違が明らかな場合は、修正処置を取る必要があります。
接地ケーブルを接続するには、次の手順を実行します。
接地ケーブルを入手します。これはシステムには付属していません。
設置サイトでデータ・センターの電源が適切に接地されていることを確認します。施設のPDUには、接地が必要です。
すべての接地点(上げ床や電源レセプタクルなど)が施設の地面を基準としていることを確認します。
設置をするときに、金属同士が直接接触していることを確認してください。製造時に、接地ケーブルの接続部分がペイントまたはコーティングされていることがあります。
図6-8に示すとおり、システム・フレームの背面底部にある接続点に接地ケーブルを接続します。接続点は、キャビネットの背面内部にある調整可能なボルトです。
システムの初回の電源投入前に、システムを検査して電源コードを接続する必要があります。この項の内容は次のとおりです。
この手順では、Oracle Big Data Applianceの物理システムを設置した後、電源を供給する前にシステムを目視調査する方法について説明します。
Oracle Big Data Applianceラックを検査するには、次の手順を実行します。
ラックに損傷がないかどうかを確認します。
ラックのねじが緩んでいないか、または欠けていないかどうかを確認します。
ラックが手順どおりに構成されていることを確認します。梱包側面にある顧客情報シート(CIS)を参照します。
次のように、すべてのケーブル接続がしっかりと固定されていることを確認します。
電源ケーブルを確認します。データ・センター施設の電源用に正しいコネクタが用意されていることを確認します。
ネットワーク・データ・ケーブルを確認します。
設置場所におけるケーブル・アクセスおよび通気用のタイル配置を確認します。
データ・センターの空気の流れが、ラックの前面に向かっていることを確認します。
関連項目:
詳細は、「通気および冷却要件」を参照してください
注意:
Oracle Big Data Applianceノードは、通常のBIOS POSTテストを実行して起動するのに最大で15分かかる可能性があります。
Oracle Big Data Applianceの電源を投入するには、次の手順を実行します。
PDU Bの各サーキット・ブレーカのスイッチを1つずつ入れます。PDU Bは、背面から見たときにラックの右側にあります。サーキット・ブレーカは、図6-12に示すとおり、ラックの背面にあります。トグル・スイッチのON (|)側を押します。ブレーカをオンにすると、スイッチがPDUの側面と同一平面に重なります。
正常に電源の発光ダイオード(LED)が点灯していることを確認します。LEDは次の場所にあります。
サーバー: 最上部のLED
Ciscoスイッチ: (前面から見て)左側のLEDが緑、他のLEDが赤
インフィニバンド・スイッチ: (前面から見て)右側のLED (PS1というラベル付き)
KVMスイッチ: 下部のLED B (Sun Fire X4270 M2ベース・ラックのみ)
KMMスイッチ: PDU Bでのみ提供 (Sun Fire X4270 M2ベース・ラックのみ)
電源をPDU Aに接続します。電源ケーブルを接続する前に、ブレーカ・スイッチがオフの位置にあることを確認します。
関連項目:
単相PDUおよびケーブル配線の詳細は、「安全ガイドラインの確認」を参照してください
PDU Aの入力2とPDU Bの入力0
PDU Aの入力1とPDU Bの入力1
PDU Aの入力0とPDU Bの入力2
PDU Aの各サーキット・ブレーカのスイッチを1つずつ入れます。
ラック全体で正常に電源のLEDが点灯していることを確認します。
ラックのすべてのケーブル接続を目視で確認します。すべてのコネクタを押して接続を確認しないでください。
すべてのシステムでOK LEDが点滅してスタンバイ状態にあることを確認します。OK LEDは、スタンバイ・モードにある場合、3秒間隔で点滅します。これは、スタンバイ・モードに移行する前に、Oracle ILOMの起動中に2、3分消灯します。
システムがスタンバイ・モードにならない場合、次の手順を実行します。
ラップトップをサービス・プロセッサのSET MGTポートにボー設定115200,8,N,1で接続します。
pre-bootプロンプトでbootと入力します。
システムが再起動するたびに、検証チェックの結果を含むファイルが/rootディレクトリに生成されます。ファイルの名前は、検証チェックの成功または失敗に応じて、BDA_REBOOT_SUCCEEDEDまたはBDA_REBOOT_FAILEDになります。
注意:
Oracle Big Data Applianceの電源を投入した後、「Oracle Big Data Applianceのフル・ラックまたはスタータ・ラックの構成」の説明に従ってシステムを構成します。